патент
№ RU 2669113
МПК F16J15/00

Уплотнительное устройство для герметизации элементов отделяемых летательных аппаратов

Авторы:
Ивашин Александр Фёдорович
Номер заявки
2017134224
Дата подачи заявки
02.10.2017
Опубликовано
08.10.2018
Страна
RU
Как управлять
интеллектуальной собственностью
Чертежи 
3
Реферат

Уплотнительное устройство для герметизации элементов отделяемых летательных аппаратов, содержащее плату с канавкой и уплотнительным кольцом, поджимаемым к седлу. Плата уплотнительного устройства имеет возможность ее перемещения с сохранением условий герметичности в пределах хода срабатывания элемента ЛА при его отделении от носителя, а седлом в уплотнительном устройстве служит поверхность ЛА, охватывающая элемент ЛА в пределах зоны уплотнительного кольца. Технический результат - достижение герметичности при разделении частей летательного аппарата. 3 ил.

Формула изобретения

Уплотнительное устройство для герметизации элементов отделяемых летательных аппаратов, содержащее плату с канавкой и уплотнительным кольцом, поджимаемым к седлу, отличающееся тем, что плата уплотнительного устройства имеет возможность ее перемещения с сохранением условий герметичности в пределах хода срабатывания элемента летательного аппарата при его отделении от носителя, а седлом в уплотнительном устройстве служит поверхность летательного аппарата, охватывающая элемент летательного аппарата в пределах зоны уплотнительного кольца.

Описание

[1]

Изобретение относится к машиностроению и может быть использовано в авиации и ракетостроении в уплотнительных устройствах для герметизации элементов отделяемых летательных аппаратов (ЛА) от внешней среды на носителе.

[2]

Многие элементы отделяемых ЛА на носителе для обеспечения надежности требуют защиты от воздействия внешней среды: осадков, температуры, давления. Известны простые стандартные устройства герметизации при разновидности канавок и уплотнительных колец, но в ряде случаев для решения задачи герметизации в особо ответственных объектах требуются специальные уплотнительные устройства:

[3]

- схема герметизации неподвижных соединений [1. Башта Т.М. Машиностроительная гидравлика: Справ, пособие. - М.: Машиностроение, 1971. - С. 576, рис. 344]. Указанное устройство предназначено для уплотнения неподвижных поверхностей, не допускающее перемещений при эксплуатации с сохранением условий герметичности, что является недостатком;

[4]

- клапанное уплотнение [2. Уплотнения и уплотнительная техника: Справочник / Под общ. ред. А.И. Голубева, Л.А. Кондакова / - М.: «Машиностроение», 1986. - С. 221, 222, рис. 7.1] не обеспечивает высокой степени герметичности: требуется плотный контакт под действием повышенной сжимающей нагрузки, герметичность определяется допускаемыми утечками при высоком контактном давлении, что не допустимо для герметизации элементов отделяемых ЛА от воздействия внешней среды;

[5]

- клапанное уплотнение [2. Уплотнения и уплотнительная техника: Справочник / Под общ. ред. А.И. Голубева, Л.А. Кондакова / - М.: Машиностроение, 1986. - С. 222, рис. 7.2 г, с. 232 рис. 7.10 (б-в)] обеспечивает высокую степень герметичности при малом контактном давлении, но неприемлемо для герметизации элементов отделяемых ЛА от воздействия внешней среды, так как взаимное поперечное перемещение контактирующих поверхностей, обязательно присутствующее в конструктивной схеме подвеса ЛА на носителе, приведет к потере герметичности при эксплуатации и снижению надежности ЛА;

[6]

- канавка под уплотнение [3. Макаров Г.В. Уплотнительные устройства. - Л.: Машиностроение, 1973. - С. 16, 17, рис. 3 а]с наклоном рабочих стенок снижает силы трения при движении, но собственно уплотнение не обеспечивает сохранение условий герметичности при отделении ЛА до момента срабатывания элемента герметизации ЛА, например, концевого выключателя задействования бортовых электрических систем.

[7]

Ближайшим техническим устройством, выбранным в качестве прототипа, является клапанное уплотнение [2. Уплотнения и уплотнительная техника: Справочник / Под общ. ред. А.И. Голубева, Л.А. Кондакова / - М.: Машиностроение, 1986. - С. 232, рис. 7.10 г]. Прототип обладает недостатком уплотнительного устройства [3]: не обеспечивает сохранение условий герметичности при отделении ЛА до момента срабатывания элемента герметизации ЛА.

[8]

Анализ устройств, принятых в качестве аналогов и прототипа, показал, что герметичность стыка зависит от выбранной конструктивной схемы уплотнительного устройства, возможности взаимного перемещения контактирующих поверхностей в поперечном и перпендикулярном ему направлении.

[9]

Целью изобретения является создание уплотнительного устройства для герметизации элементов отделяемых ЛА, обеспечивающего условия герметичности по элементу ЛА при эксплуатации на носителе и отделении его до момента срабатывания элемента ЛА.

[10]

В предлагаемом техническом решении исключаются недостатки аналогов и прототипа.

[11]

Осуществление поставленной цели достигается тем, что плата уплотнительного устройства для герметизации элементов отделяемых летательных аппаратов имеет возможность ее перемещения с сохранением условий герметичности в пределах хода срабатывания элемента летательного аппарата при его отделении от носителя, а седлом в уплотнительном устройстве служит поверхность летательного аппарата, охватывающая элемент летательного аппарата в пределах зоны уплотнительного кольца.

[12]

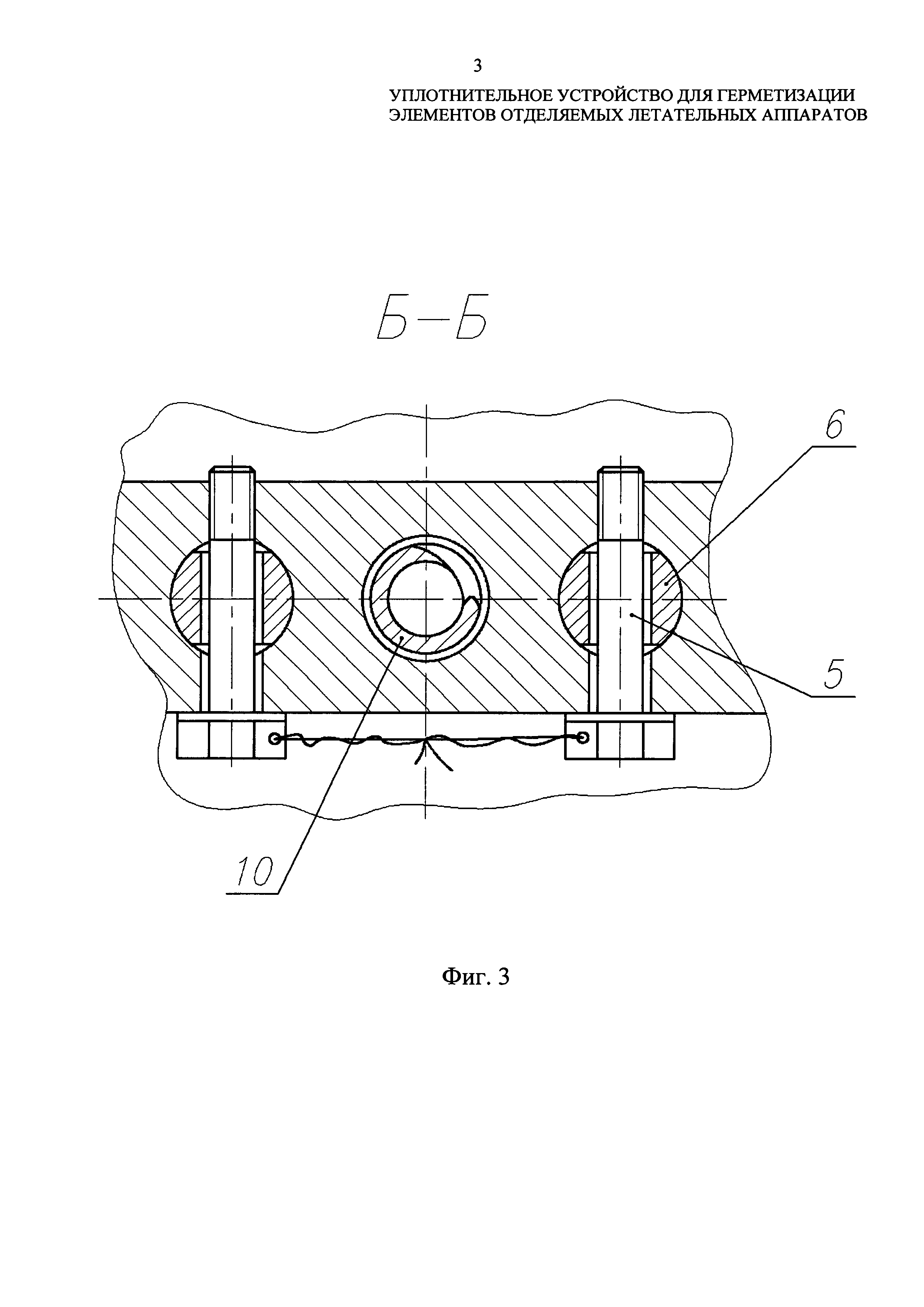
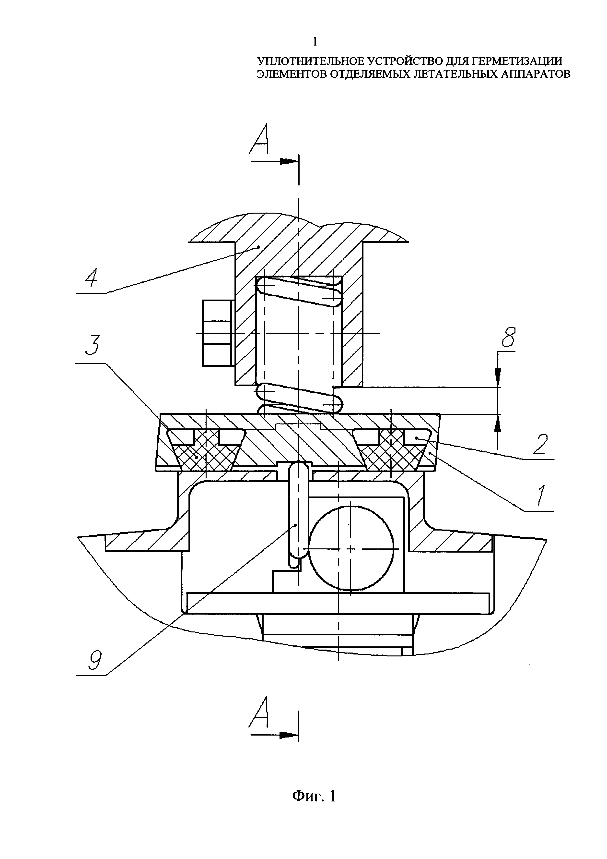
Сущность изобретения поясняется чертежами (фиг. 1-3), где представлено уплотнительное устройство для герметизации элементов отделяемых летательных аппаратов, состоящее из клапана виде платы 1, содержащей известную канавку 2 с уплотнительным кольцом 3 (варианты колец могут быть различными, например [3], и в данном проекте не рассматриваются). Плата 1 закреплена в корпусе 4 болтами 5 по направляющим 6 с возможностью осевого перемещения в пазах 7 в пределах хода срабатывания 8 элемента 9 летательного аппарата при его отделении от носителя. Перемещение платы 1 и обжатие уплотнительного кольца 3 осуществляется пружиной 10. Одновременно с тем плата 1 удерживает в исходном положении элемент 9 до отделения летательного аппарата от носителя. Седлом в уплотнительном устройстве служит поверхность ЛА, охватывающая элемент 9 в пределах зоны уплотнительного кольца 3.

[13]

Особенность предлагаемого уплотнительного устройства заключается в том, что герметизация элементов отделяемых летательных аппаратов обеспечивается как при эксплуатации на носителе, так и при его отделении до момента срабатывания элемента ЛА.

[14]

Работа устройства заключается в следующем.

[15]

Исходное положение платы 1 заложено при выборе конструктивной схемы летательного аппарата на носителе по минимальному (исходному) размеру хода 8, обеспечивающего расчетное обжатие уплотнительного кольца 3 и условия герметичности при эксплуатации усилием пружины 10. Усилие пружины 10 при перемещении платы 1 в пределах хода 8 обеспечивает контактную нагрузку обжатого уплотнительного кольца 3 от максимальной при эксплуатации до минимальной - при срабатывании элемента 9 ЛА до его отделения от носителя и сохранении герметичности до отделения.

[16]

Технический результат: повышена надежность летательного аппарата при эксплуатации на носителе и при его отделении до момента срабатывания элемента ЛА.

[17]

Устройство может быть выполнено с помощью стандартного оборудования и материалов отечественного производства. Таким образом, устройство соответствует критерию «промышленная применимость».

[18]

Источники, принятые во внимание

[19]

1. Башта Т.М. Машиностроительная гидравлика: Справ, пособие. - М.: Машиностроение, 1971. - С. 576, рис. 344.

[20]

2. Уплотнения и уплотнительная техника: Справочник / Под общ. ред. А.И. Голубева, Л.А. Кондакова / - М.: Машиностроение, 1986. - С. 221; с. 222, рис. 7.1; с. 222, рис. 7.2 г); с. 232 рис. 7.10 (б-в).

[21]

3. Макаров Г.В. Уплотнительные устройства. - Л.: Машиностроение, Ленингр. отд., 1973. - С. 16, 17, рис. 3 а).

[22]

4. Патент 95111977 A1 RU. МПК6 F16J 15/00. Торцевое уплотнение Х-образного поперечного сечения / В.А. Башкиров и др. Опубл. 27.06.1997.

[23]

5. Патент 2599086 RU. МПК6 F16J 15/00. Уплотнительное устройство / Н.В. Ломачинский. (Опубл. 10.10.2016).

[24]

6. Патент 2344323 RU. МПК6 F16J1 5/00. Уплотнительная прокладка для фланцевого соединения / А.П. Епишов, И.П. Клепцов. (Опубл. 20.01.2009).

[25]

7. Патент 2129681 RU. МПК6 F16K 25/00, F16J 15/00. Уплотнительное соединение / A.M. Долотов. (Опубл. 27.04.1999).

[26]

8. Патент 2234048 RU. МПК6 F42B 15/00, B64G 1/22. Соединение корпуса летательного аппарата с днищем / А.В. Береснев и др. (Опубл. 10.08.2004).

Как компенсировать расходы
на инновационную разработку
Похожие патенты