патент
№ RU 2620126
МПК H01Q9/04

КОЛЬЦЕВАЯ ЩЕЛЕВАЯ АНТЕННА

Авторы:
Двуреченский Виктор Дмитриевич Федотов Александр Юрьевич Телепнев Павел Петрович
Все (4)
Номер заявки
2015157196
Дата подачи заявки
31.12.2015
Опубликовано
23.05.2017
Страна
RU
Как управлять
интеллектуальной собственностью
Чертежи 
2
Реферат

Изобретение относится к радиотехнике и может быть использовано в радиосистемах передачи информации, предъявляющих требования высокой степени электромагнитной совместимости конструктивных элементов системы, например, в малогабаритных космических аппаратах (КА). Решаемой задачей является уменьшение габаритных размеров антенны в кольцевой щелевой антенне, состоящей из металлического цилиндра и резонатора, который вместе с цилиндром образует кольцевую излучающую щель, предложено резонатор выполнять в виде двух одинаковых металлических дисков, которые расположены в параллельных плоскостях соосно с цилиндром и гальванически с ним соединены. Под нижним диском можно располагать конструктивные элементы, над верхним диском также могут располагаться конструктивные элементы, размеры которых меньше самого верхнего диска. Согласно изобретению, резонатор выполнен в виде двух одинаковых металлических дисков диаметром D, которые расположены в параллельных плоскостях соосно с цилиндром на расстоянии h друг от друга и гальванически с ним соединены. Под нижним диском можно располагать конструктивные элементы. Над верхним диском располагаются элементы конструкции по размеру меньше, чем верхний диск. Диски антенны, работающей в диапазоне дециметровых длин волн, расположены на круглом волноводе питающего излучающую в сантиметровом диапазоне длин волн зеркальную антенну малого космического аппарата, диаметр основного зеркала которой D≤D. 3 з.п. ф-лы, 3 ил.

Формула изобретения

1. Кольцевая щелевая антенна, состоящая из металлического цилиндра и резонатора, который вместе с цилиндром образует кольцевую излучающую щель шириной h<<λ (λ - длина волны) и диаметром D, отличающаяся тем, что резонатор выполнен в виде двух одинаковых металлических дисков диаметром Dд, которые расположены в параллельных плоскостях соосно с цилиндром на расстоянии h друг от друга и гальванически с ним соединены, при этом диаметр цилиндра Dц от 0.005 до 0.35λ, а диаметр дисков равен Dд=(D+Δ), где величина Δ зависит от диаметра цилиндра (подбирается экспериментально) и не превышает λ, или для увеличения отношения γ излучения вперед/назад диаметр верхнего диска Dв (0.9D≤Dв≤Dд) уменьшается, а диаметр нижнего диска Dн увеличивается, причем чем больше разница диаметров (Dн-Dв), тем больше отношение γ.

2. Кольцевая щелевая антенна по п. 1, отличающаяся тем, что под нижним диском можно располагать конструктивные элементы.

3. Кольцевая щелевая антенна по п. 1, отличающаяся тем, что над верхним диском располагаются элементы конструкции по размеру меньше, чем верхний диск.

4. Кольцевая щелевая антенна по п. 1 отличается тем, что диски антенны, работающей в диапазоне дециметровых длин волн, расположены на круглом волноводе питающего излучающую в сантиметровом диапазоне длин волн зеркальную антенну малого космического аппарата, диаметр основного зеркала которой Dз≤Dв.

Описание

[1]

Изобретение относится к радиотехнике и может быть использовано в радиосистемах передачи информации, предъявляющих требования высокой степени электромагнитной совместимости конструктивных элементов системы, например, в малогабаритных космических аппаратах (КА).

[2]

Кольцевая щелевая антенна, состоящая из металлического цилиндра и резонатора, который вместе с цилиндром образует кольцевую излучающую щель шириной h<<λ (λ - длина волны) и диаметром D.

[3]

Из предшествующего уровня техники известны вибраторные антенны, расположенные на металлических трубах и излучающие в направлении оси трубы, как в обе стороны [1], так и в одном направлении [2]. При этом сама труба должна иметь две противоположно расположенные продольные щели длиной λ/2 (где λ - длина волны), а внутри трубы ничего не должно находиться, кроме коаксиального кабеля (см. RU 2223576, H01Q 9/04, опубликовано 10.07.2001). Недостатками этих антенн является то, что антенна имеет большие продольные размеры (не менее λ/2), а труба является оплеткой питающего коаксиального кабеля.

[4]

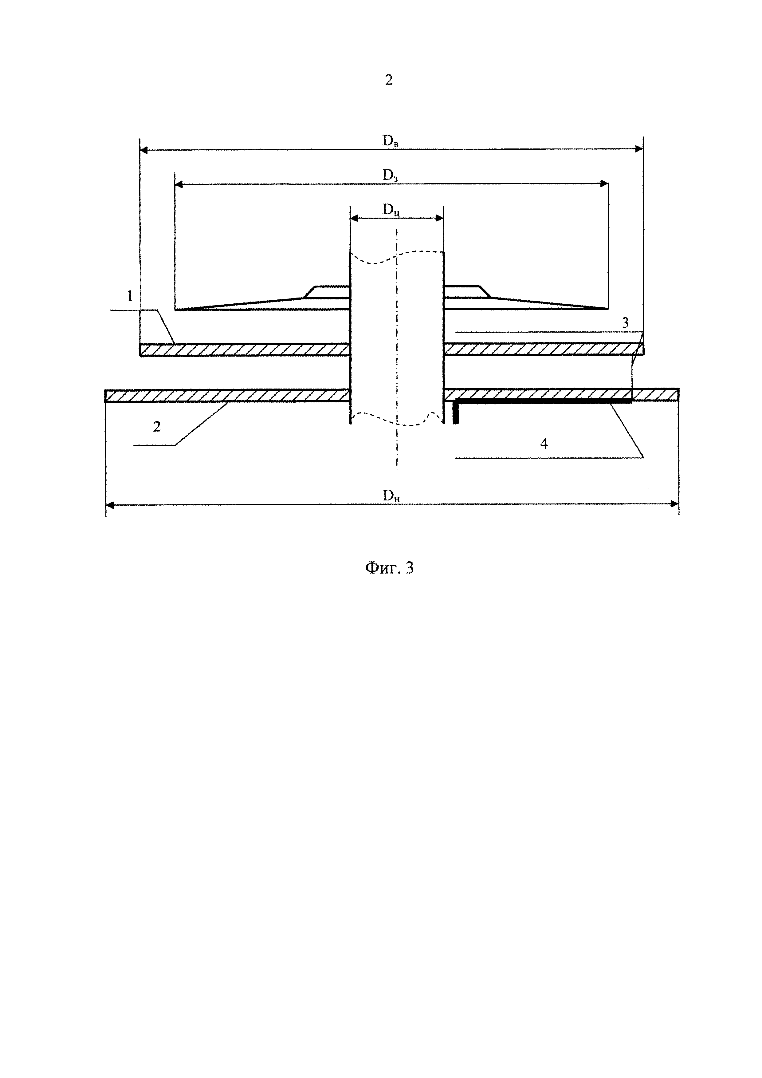
Известны кольцевые щелевые антенны, располагаемые на телах вращения, в частности на круглом металлическом цилиндре [1] (см. Г.Т. Марков, Д.М. Сазонов Антенны. Учебник для студентов радиотехнических специальностей вузов. Изд. 2-е. М.: «Энергия», 1975, стр. 352), показаны на фигуре 1.

[5]

Кольцевая щелевая антенна состоит из металлического цилиндра 1 и резонатора 2, который вместе с цилиндром образует кольцевую излучающую щель 3 шириной h<<λ (λ - длина волны) и диаметром D. Питание к антенне подводится коаксиальным кабелем 4 в точке А.

[6]

Напряженность электрического поля вдоль щели распределена по закону синуса. Вследствие этого щель излучает вдоль оси цилиндра и диаграмма направленности слабо зависит от его длины. Указанная антенна является наиболее близким аналогом и выбрана в качестве прототипа предполагаемого изобретения.

[7]

Недостатками такой антенны являются значительные ее габаритные размеры, которые определяются длиной коаксиального резонатора (λ/2) и его необходимым диаметром [0.5π(D+Dц)≥λв] (где λв - длина волны в резонаторе), так и то, что антенна излучает вдоль металлического цилиндра как вверх, так и вниз (отношение вверх/вниз γ=1), что затрудняет использование таких антенн из-за значительного влияния на процесс излучения окружающих антенну элементов конструкции устройства (например, космического аппарата).

[8]

Технической задачей настоящего изобретения является устранение вышеуказанных недостатков, а также уменьшение габаритных размеров антенны.

[9]

Поставленная задача решается тем, что кольцевая щелевая антенна состоит из металлического цилиндра и резонатора, который вместе с цилиндром образует кольцевую излучающую щель шириной h<<λ, (λ - длина волны) и диаметром D, резонатор выполнен в виде двух одинаковых металлических дисков диаметром Dд, которые расположены в параллельных плоскостях соосно с цилиндром на расстоянии h друг от друга и гальванически с ним соединены, при этом диаметр цилиндра Dц от 0.005 до 0.35λ, а диаметр дисков равен Dд=(D+Δ), где величина Δ зависит от диаметра цилиндра (подбирается экспериментально) и не превышает λ.

[10]

Преимущественно, для увеличения отношения γ излучения вперед/назад диаметр верхнего диска Dв (0.9D≤Dв≤Dд) уменьшается, а диаметр нижнего диска Dн увеличивается, причем чем больше разница диаметров (Dн-Dв), тем больше отношение γ.

[11]

Преимущественно, под нижним диском можно располагать конструктивные элементы.

[12]

Преимущественно, над верхним диском располагаются элементы конструкции по размеру меньше, чем верхний диск.

[13]

Преимущественно, диски антенны, работающей в диапазоне дециметровых длин волн, расположены на круглом волноводе питающего излучающую в сантиметровом диапазоне длин волн зеркальную антенну малого космического аппарата, диаметр основного зеркала которой Dз≤Dв

[14]

Предложенное изобретение поясняется чертежами:

[15]

фиг. 1 - кольцевая щелевая антенна на металлическом цилиндре (прототип);

[16]

фиг. 2 - диаграмма направленности при одинаковых дисках;

[17]

фиг. 3 - поперечное сечение предлагаемой антенны.

[18]

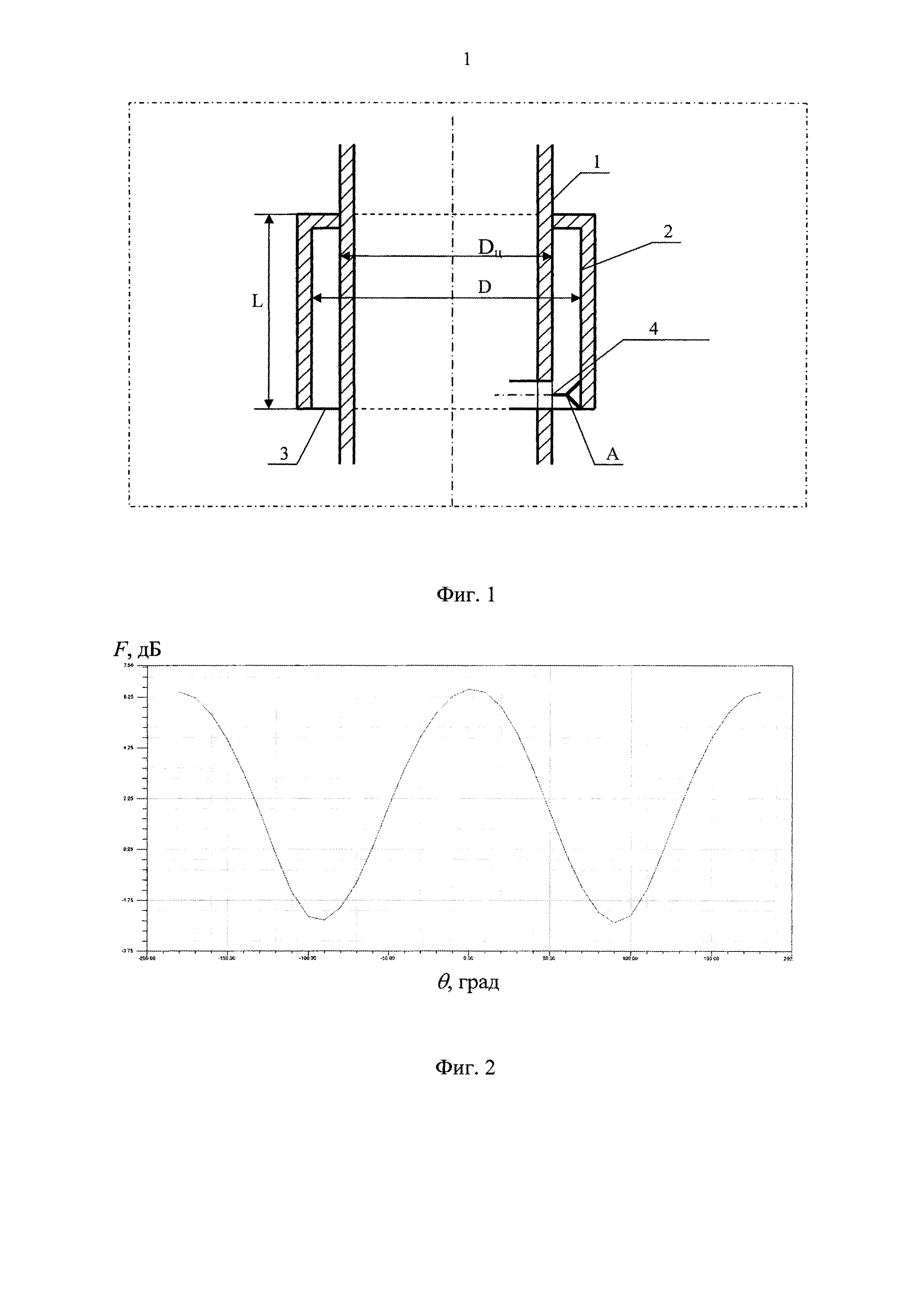
Как показано на фиг. 1, кольцевая щель 3 выполняется в виде короткозамкнутого с одной стороны отрезка коаксиальной линии передачи (резонатора), образованной металлическим цилиндром 1, диаметром Dц и металлическим стаканом 2 диаметром D. Работа антенны не зависит от материала заполнения цилиндра 1. Питание к антенне подводится коаксиальным кабелем 4 в точке А. Толщина щели h=0.5(D-Dц)<<λ. Если выполняется условие 0.5π(D+Dц)>λв (где λв - длина волны в резонаторе) в резонаторе кроме волны типа ТЕМ, возбуждается волна типа H11коаксиальной линии. Если длина стакана L=λ/2, то волна типа ТЕМ в щели будет подавлена, а будет существовать волна типа H11, у которой длина волны в линии λв>λ.

[19]

Как показано на фиг. 3, в предлагаемой кольцевой щелевой антенне, резонатор выполнен в виде двух одинаковых металлических дисков диаметром Dд (в этом случае Dд=Dв=Dн), которые расположены в параллельных плоскостях соосно с цилиндром на расстоянии h друг от друга и гальванически с ним соединены, при этом диаметр цилиндра Dц от 0.005 до 0.35λ, а диаметр дисков равен Dд=(D+Δ), где величина Δ зависит от диаметра цилиндра (подбирается экспериментально) и не превышает λ.

[20]

Для увеличения отношения γ излучения вперед/назад диаметр верхнего диска DB (0.9D≤Dв≤Dд) уменьшается, а диаметр нижнего диска Dн увеличивается, причем чем больше разница диаметров (Dн-Dв), тем больше отношение γ.

[21]

Под нижним диском можно располагать конструктивные элементы.

[22]

Над верхним диском располагаются элементы конструкции по размеру меньше, чем верхний диск.

[23]

Диски антенны, работающей в диапазоне дециметровых длин волн, расположены на круглом волноводе питающего излучающую в сантиметровом диапазоне длин волн зеркальную антенну малого космического аппарата, диаметр основного зеркала которой Dз≤Dв.

[24]

При одинаковых дисках предлагаемая антенна имеет ДН [зависимость F(θ)], показанную на фиг. 2.

[25]

Такая антенна имеет отношение γ вперед/назад, равное единице (0 дБ), что ограничивает применение ее в малогабаритных радиосистемах из-за влияния металлических элементов конструкции системы, расположенных сзади антенны. Для увеличения величины γ предлагается увеличить диаметр нижнего диска Dн тем больше, чем больше величина γ. При этом необходимо скорректировать диаметр верхнего диска Dв, уменьшив его не более чем на 10% (подбирается экспериментально).

[26]

Далее приведены характерные соотношения для диаметров и величины γ.

[27]

При Dц=0.075λ и Dн=Dв=0.62λ, γ=0 дБ.

[28]

При Dц=0.075λ Dн=0.64λ и Dв=0.56λ, γ=4.4 дБ.

[29]

При Dц=0.075λ Dн=0.67λ, и Dв=0.556λ, γ=6.3 дБ.

[30]

Экспериментально установлено, что предлагаемая антенна позволяет размещать над верхнем диском элементы конструкции радиоустройств, поперечный размер которых Dз не превышает Dв. Так же можно расположить элементы конструкции под нижним диском. Это свойство предлагаемой антенны позволило обеспечить электромагнитную совместимость антенн КА, работающих в сантиметровом диапазоне волн (f=8.2 ГГц) и дециметровом (f=435 МГц). Эскиз такого устройства показан на фигуре 3.

[31]

Устройство работает следующим образом.

[32]

Питающий коаксиальный кабель 4 располагается на нижнем диске 2, экран кабеля гальванически соединен с нижним диском, центральная жила коаксиального кабеля 3 гальванически соединена с верхним диском 1. При этом происходит возбуждение токов на поверхности верхнего и нижнего диска, что приводит к излучению электромагнитных волн антенны в заданных направлениях. У этой антенны Dц=45 мм, Dн=450 мм, Dв=382 мм, Dз=320 мм, величина γ у этой антенны равна 7.7 дБ.

Как компенсировать расходы
на инновационную разработку
Похожие патенты