патент
№ RU 2544944
МПК E21B37/00

СПОСОБ УДАЛЕНИЯ ПЕСЧАНО-ГЛИНИСТОЙ ПРОБКИ В СКВАЖИНЕ И ЕЕ ОСВОЕНИЕ В УСЛОВИЯХ АНОМАЛЬНО НИЗКИХ ПЛАСТОВЫХ ДАВЛЕНИЙ

Авторы:
Деняк Константин Николаевич Машков Виктор Алексеевич Граб Алексей Николаевич
Все (5)
Номер заявки
2013108556/03
Дата подачи заявки
26.02.2013
Опубликовано
20.03.2015
Страна
RU
Как управлять
интеллектуальной собственностью
Чертежи 
1
Реферат

Изобретение относится к нефтегазодобывающей промышленности и может найти применение при подземном, капитальном ремонте и освоении скважин с применением колтюбинговых установок. На нижнем конце гибкой трубы устанавливается гидроударник и спускается в скважину к месту расположения песчано-глинистой пробки. На устье скважины располагается колтюбинговая установка. В осевом канале гибкой трубы формируется пачка пенообразующей жидкости (ПОЖ) расчетной длины. Механическое воздействие на поверхность песчаной пробки осуществляют гидроударником в момент его осевого перемещения и прокачки через него пачек ПОЖ с последующей генерацией пены в межтрубном пространстве в каждой пачке путем барботирования через нее пачки газа, подаваемого из осевого канала гибкой трубы через ударник. Освоение скважины после удаления пробки осуществляют путем непрерывной подачи газа в осевой канал гибкой колонны труб и вызовом притока при снижении давления ниже пластового. Повышается эффективность удаления песчано-глинистой пробки и освоения скважины. 1 ил.

Формула изобретения

Способ удаления песчано-глинистой пробки в осевом канале лифтовой колонны труб при аномально низком пластовом давлении с применением гибкой колонны труб, оснащенной гидроударником, с ее осевым перемещением и подачей внутрь рабочей жидкости при поддержании заданной депрессии на пласт, отличающийся тем, что в качестве рабочей жидкости применяют пенообразующую жидкость, например сульфанол, а объем каждой пачки пенообразующей жидкости определяют из условия получения ее минимальной длины при транспортировке пачки пенообразующей жидкости по гибкой колонне труб, причем механическое воздействие на поверхность песчаной пробки осуществляют гидроударником в момент его осевого перемещения и прокачки через него пачек пенообразующей жидкости с последующей генерацией пены в межтрубном пространстве в каждой пачке путем барботирования через нее пачки газа, подаваемой из осевого канала гибкой трубы через ударник, а освоение скважины после удаления песчаной пробки осуществляют путем непрерывной подачи газа в осевой канал гибкой колонны труб и вызовом притока при снижении давления ниже пластового.

Описание

[1]

Изобретение относится к нефтегазодобывающей промышленности и может найти применение при подземном, капитальном ремонте и освоении скважины с применением колтюбинговых установок.

[2]

Известно устройство для промывки скважин аэрированными жидкостями (см. а.с. №1613567, М кл. Е21В 21/00). Устройство предназначено для управления процессом промывки в условиях поглощения промывочной жидкости в зависимости от глубины скважины и мощности накопленного шлама в осевом канале лифтовой колонны труб и стволе скважины.

[3]

Известен способ промывки песчаной пробки в условиях ремонта скважин (см. пат. РФ №2.188.304 М кл. Е21В 37/00; 19/22, опубл. 27.08.2002 г).

[4]

Способ промывки осуществляется в следующей последовательности. После монтажа колтюбинговой установки и необходимого оборудования готовят промывочную жидкость с добавлением ПАВ.

[5]

Осуществляют подачу гибкой трубы, оснащенной гидромониторной насадкой, регулируемой скоростью в осевой канал лифтовой колонны трубдо места расположения песчаной пробки. При этом насадка находится над ее уровнем. Снижают скорость подачи гибкой трубы V=0,001 м/сек и ведут закачку пенообразующей жидкости, с контролем наличия циркуляции по пламени факела на факельной линии. Доводят гидромониторную насадку (разрушающий инструмент) до пробки, малой скоростью подачи гибкой трубы с передачей осевой нагрузки на насадку в пределах Q=300÷500 нс.

[6]

Поддерживают установившиеся параметры промывки по контролю давления промывочной жидкости и осевой нагрузки. Проводят промывку песчаной пробки с подъемом механических частиц из скважины при достаточной скорости восходящего потока в кольцевом пространстве скважины. При использовании вспенивающихся жидкостей, с высокой степенью аэрации, скорость восходящего потока принимается V=0,1÷0,4 м/с. При этом давление закачки промывочной жидкости определяется из условия снижения усталостного износа гибкой трубы и не должно превышать ΔР=21 МПа.

[7]

При промывке песчаной пробки площадь проходного сечения штуцера на выкидной линии устанавливают меньше, чем площадь проходного канала наиболее узкого участка этой линии.

[8]

После окончания процесса разрушения песчаной пробки осуществляют промывку скважины полуторакратным объемом рабочей жидкости от объема осевого канала лифтовой колонны труб и ведут продувку гибкой колонны газом, с отработкой скважины на факельную линию.

[9]

К недостаткам способа следует отнести:

[10]

- ограничение по пропускной способности гибкой колонны труб за счет высоких гидравлических потерь, что снижает эффективность ведения процесса разрушения песчаных пробок и удаления механических частиц на поверхность. Это связано с тем, что сложно получить высокую скорость восходящего потока, достаточную для транспортировки частиц на поверхность.

[11]

В случае применения в качестве рабочего агента многофазных пен, которые обладают большей несущей способностью, чем жидкость, можно удалить механические примеси, но при прокачке последней по осевому каналу гибкой колонны труб имеют место более высокие гидравлические потери, что также снижает эффективность ведения процесса. Следует также отметить, что воздействие потоком пены на поверхность песчаной пробки с целью ее разрушения обладает очень низкой эффективностью.

[12]

Известен способ прямой промывки песчаной пробки в скважине (см. а.с. №1.234.576, М кл. Е21В 21/00, опубл. 30.05.86, бюл. №20).

[13]

Способ осуществляется путем спуска труб до пробки и ее промывкой через обратный клапан после наращивания каждой трубы.

[14]

Промывку осуществляют с частичным выносом песка на поверхность. Наращивание очередной трубы проводят после подъема песчаной пульпы на высоту, большую по расстоянию, которое проходит за время наращивания трубы самая крупная частица песка. После промывки песчаной пробки на всю величину допущенной трубы продолжают циркуляцию до создания под взвешенной песчаной пульпой буферной зоны из промывочной жидкости расчетной высоты, препятствующей осаждению частиц на забой, с повторным образованием песчаной пробки.

[15]

После завершения наворачивания продолжают циркуляцию и допуск трубы. Полный вынос размытой песчаной пульпы осуществляют только по достижению трубами забоя скважины.

[16]

К недостаткам способа следует отнести:

[17]

- сложность контроля процесса размыва и удаления песчаных частиц на поверхность;

[18]

- при наличии низкого и аномального низкого пластового давления имеет место поглощение промывочной жидкости, что негативно скажется на всем процессе, поскольку неконтролируемо изменяется в меньшую сторону скорость восходящего потока промывочной жидкости. При этом существует вероятность осаждения механических частиц и прихватка промывочных труб.

[19]

После окончания процесса промывки песчаной пробки необходимо осуществить процесс освоения скважины. Для этого необходимо осуществить глушение скважины, с подъемом промывочных труб.

[20]

Переоснащение скважины и ее освоение осуществляется как отдельная технологическая операция.

[21]

Известен способ разрушения и удаления песчано-глинистых пробок (см. К способу удаления проблемы эксплуатации и капитального ремонта скважин на месторождениях и ПХГ. Сб. научных трудов ОАО «СевкавНИПИгаз». Ставрополь: - 2003 г. С.162-171. Опытно-промышленные испытания технологии и технических средств по удалению глинистопесчаных пробок в условиях «АНПП» Р.А. Гасумов, В.А. Машков, А.А. Сингуров и др.), принятый за прототип.

[22]

Эффективность процесса разрушения песчано-глинистых пробок резко возрастает при использовании специальных гидроударных устройств (см., например, пат. РФ №2446271 С2 37/00 (2006.01). Опубл. 27.03.2012 г., бюл. №9).

[23]

Гидроударное устройство включают в состав гибкой колонны труб колтюбинговой установки. В колонну гибких труб подается пачка пенообразующей жидкости (ПОЖ) с высоконапорным газом от бустерной установки.

[24]

При прокачке рабочей жидкости при расчетном перепаде давления происходит резкое перемещение внешней коронки в сторону песчано-глинистой пробки с сохранением подачи рабочей жидкости на насадки внешнего ударника. Тем самым используется гидромониторный эффект струи рабочей жидкости. Из-за выброса жидкости через осевой канал седла с резким увеличением расхода, происходит падение давления в осевом канале гибкой колонны труб, что приводит к возврату ударников сжатыми пружинами в исходное положение.

[25]

ПОЖ подавалась в таком объеме, чтобы не заглушить скважину. Образовавшаяся аэрированная жидкость в межтрубном пространстве скважин является жидкостью с меньшей плотностью, чем исходная ПОЖ, что позволяет обеспечить гидромониторный эффект на насадке. Аэрированная жидкость при выходе из насадки образует пену, что позволяет повысить эффект промывки и выноса механических частиц на поверхность.

[26]

Существующие методы пенообразования позволяют реализовать технологию в полном объеме.

[27]

К недостаткам способа следует отнести:

[28]

- поскольку в скважину подается достаточно большой объем аэрированной жидкости, то в межтрубном пространстве образуется столб с гидростатическим давлением, превышающим пластовое, что при низком пластовом давлении способствует проникновению последней в продуктивный пласт и ухудшению его фильтрационных характеристик в призабойной зоне. Такое положение требует дополнительных затрат рабочего времени для освоения скважины.

[29]

Снижением гидростатического давления в столбе аэрированной жидкости достаточно большой мощности путем барботирования через него газа в данном случае сложно получить пену. Это в свою очередь снижает эффективность процесса транспортировки механических частиц на поверхность восходящим потоком аэрированной жидкости.

[30]

После промывки песчано-глинистой пробки с применением колтюбинговых установок необходимо осуществить процесс освоения и запуска скважины в эксплуатацию.

[31]

Известен способ освоения скважины (см. пат. РФ. №2.127.805, М кл. Е21В 43/25, опубл. 20.03.99 г.) после бурения и капительного ремонта. Сущность изобретения - в скважине устанавливают колонну насосно-компрессорных труб и вытесняют скважинную жидкость в межтрубное пространство путем закачки газа. Закрывают межтрубное пространство в момент снижения уровня до башмака НКТ.

[32]

В колонну НКТ подают порцию раствора ПАВ с созданием буферной зоны при продолжении закачки газа до полного газирования скважинной жидкости в поровом пространстве по формуле.

[33]

Вызов притока ведут при минимальных депрессиях на пласт.

[34]

К недостаткам способа относится:

[35]

- неконтролируемое и неполное оттеснение порции ПАВ в глубь продуктивного пласта с возможностью прорыва закачиваемого газа в пропластки с наибольшей проницаемостью. Тем самым в будущем могут возникнуть осложнения при освоении скважины, поскольку затруднено освобождение призабойной зоны от скважинной жидкости.

[36]

Полное газирование достаточно мощной пачки пластовой жидкости в призабойной зоне и межтрубном пространстве происходит за достаточно длительный промежуток времени. Вызов притока пластовой жидкости из скважины путем снижения избыточного давления в колонне НКТ происходит перед газированием скважинной жидкости в поровом пространстве призабойной зоны при создании буферной зоны из раствора ПАВ.

[37]

Однако продавливание скважинной жидкости в продуктивный пласт может привести к изменению емкостно-фильтрационных характеристик и осложнениям при вызове притока пластового флюида. При низких и аномально низких пластовых давлениях освоить скважину таким путем более чем проблематично из-за наличия высокого гидростатического давления в межтрубном пространстве.

[38]

Известен способ освоения скважин (см. а.с. №1.765.375, М кл. Е21В 43/25, опубл. 30.09.92 г., бюл. №36).

[39]

Изобретение реализуется путем закачки в затрубное пространство многоступенчатой подушки из газа и загущенной жидкости с доведением ее до башмака насосно-компрессорных труб. На каждой ступени давление подушки газа превышает вышенаходящийся столб загущенной жидкости. Затем производится разрядка воздуха (газа) с выносом вышенаходящегося столба загущенной жидкости из затрубного пространства. Этому способствует и давление столба жидкости в насосно-компрессорных трубах, превышающее давление в затрубном пространстве.

[40]

Время разрядки затрубного пространства регулируется установкой насадок или путем ступенчатых остановок процесса разрядки. Давление столба жидкости в НКТ превышает давление в затрубном пространстве на величину избыточного давления. Жидкость при разрядке перемещается из полости НКТ в затрубное пространство. Использование загущенной жидкости уменьшает скорость всплытия газовых пузырьков, что способствует существованию поршневого вытеснения.

[41]

Высоту столба загущенной жидкости (Нж) принимают из условия, чтобы гидростатическое давление было меньше, чем давление газа в воздушной пачке.

[42]

К недостаткам способа следует отнести:

[43]

- сложно управлять процессом, поскольку приходится постоянно контролировать высоту пачки загущенной жидкости. Осуществить аэрацию (вспенивание) такой большой пачки загущенной жидкости в межтрубном пространстве скважины за короткий промежуток времени представляется проблематичным.

[44]

Известен способ освоения скважин (см. а.с. №872.732 М кл. Е21В 43/25, опубл. 18.10.81, бюл. №38).

[45]

Сущность способа - создание депрессии на продуктивный горизонт нагнетанием в трубы из газовых подушек и продавочной жидкости. При освоении скважин с продуктивными пластами, имеющими низкое пластовое давление и низкую проницаемость, после каждого продавливания газовой подушки до расчетной глубины продавочную жидкость выпускают, а освободившийся объем труб вновь заполняют газообразным агентом, который продавливают до следующей расчетной глубины, определяемой по математической зависимости. Для разделения продавочной жидкости и газовой подушки между ними размещают разделительную пробку.

[46]

Реализация способа позволяет получать как плавное, так и резкое понижение уровня.

[47]

По мнению авторов, можно обеспечить динамическое воздействие на испытуемый горизонт, что позволяет добиться притока даже из пластов с низкими гидродинамическими характеристиками, при возможности хорошей очистки призабойной зоны и увеличения добывных возможностей скважины.

[48]

Однако способ освоения скважины не может быть применен в скважинах, имеющих плотную песчано-глинистую пробку в осевом канале лифтовой колонны труб. Для этого необходимо выполнить работу по ее удалению с переоснащением устья скважины для ее освоения. Это требует дополнительных затрат рабочего времени.

[49]

Освоение скважины пачками жидкости и газа, разделяемых пробками, требует выполнения дополнительных операций по их удалению из осевого канала лифтовой колонны для обеспечения в дальнейшем добычи пластового флюида.

[50]

Заполнение освободившегося пространства газом высокого давления требует также дополнительных затрат рабочего времени, что снижает эффективность процесса освоения.

[51]

Технический результат, который может быть получен при реализации предлагаемого изобретения, заключается в следующем:

[52]

- возможность попеременной подачи пачек пенообразующей жидкости и пачек газа по осевому каналу гибкой колонны труб, оснащенной гидроударниками, с сохранением четочной структуры потока ПОЖ до места расположения гидроударника;

[53]

- возможность генерации гидроударных импульсов на гидроударнике и механическим воздействием на поверхность песчано-гидратной пробки в осевом канале труб лифтовой колонны;

[54]

- возможность генерации пены из каждой пачки пенообразующей жидкости в межтрубном пространстве скважины путем барботирования газа из пачки с выносом механических частиц разрушенной пробки на поверхность;

[55]

- возможность освоения скважины после разрушения и удаления песчано-глинистой пробки путем непрерывной подачи газа по осевому канала гибкой колонны труб в осевой канал лифтовой колонны и вызовом притока при снижении давления подачи газа ниже пластового.

[56]

Технический результат достигается тем, что в осевой канал лифтовой колонны труб вводится гибкая колонна труб, оснащенная гидроударником, с осевым перемещением и подачей внутрь рабочей жидкости при поддержании заданной депрессии на пласт.

[57]

В качестве рабочей жидкости применяется пенообразующая жидкость, например сульфонол, а объем каждой пачки пенообразующей жидкости определяется из условия получения ее минимальной длины по соотношению ,

[58]

где Q - секундный расход пенообразующей жидкости, см3/сек;

[59]

Vж - скорость подачи пенообразующей жидкости, см/сек;

[60]

Vпуз - скорость всплытия пузырьков газа в пачке ПОЖ, см/сек;

[61]

Fmp - площадь сечения осевого канала гибкой трубы, см2,

[62]

причем механическое воздействие на поверхность песчаной пробки осуществляют гидроударником в момент его осевого перемещения и прокачки через него пачек пенообразующей жидкости с последующей генерацией пены в межтрубном пространстве в каждой пачке путем барботирования через нее пачки газа, подаваемой из осевого канала гибкой трубы через гидроударник, а освоение скважины, после удаления песчаной пробки осуществляют путем непрерывной подачи газа в осевой канал гибкой трубы и вызовом притока при снижении давления ниже пластового.

[63]

При проведении патентных исследований по научно-технической и патентной литературе нами не обнаружено описание способа, в котором совмещены разрушение и удаление плотных песчано-глинистых пробок, с использованием колтюбинговых установок, при последовательной подаче пачек пенообразующей жидкости и пачек газа по гибкой колонне труб. Поддержание необходимого перепада давления на гидроударнике, с генерацией гидродинамического и механического воздействия на поверхность плотной песчано-глинистой пробки, в момент прохождения через устройство пачки пенообразующей жидкости.

[64]

Не обнаружено технологии попеременной подачи пачки пенообразующей жидкости и газа расчетных объемов под равным давлением по гибкой трубе с генерацией пены на забое скважины при барботировании через каждую пачку пенообразующей жидкости в межтрубном пространстве газа из осевого канала гибкой колонны труб и выносом механических частиц на поверхность по межтрубному кольцевому пространству, организованному между внутренней поверхностью гибкой колонны труб и наружной поверхностью гибкой колонны труб колтюбинговой установки.

[65]

Сразу после разрушения и удаления плотной песчано-глинистой пробки осуществляют непрерывную подачу газа по гибкой колонне труб в межтрубное пространство с поддержанием депрессии на пласт и вызовом притока пластового флюида.

[66]

Таким образом, достигаемый технический результат обусловлен неизвестными техническими приемами и совокупностью приемов, направленных на удаление механических частиц с забоя газовой скважины при АНПД с сохранением депрессии на пласт и освоение скважин за один спуск подъем с использованием гибкой колонны труб колтюбинговой установки снабженной гидроударником.

[67]

Реализация технологии удаления плотной песчано-глинистой пробки из осевого канала лифтовой колонны труб и интервала перфорации в условиях АНПД проводится с применением гибкой трубы колтюбинговой установки. На нижнем конце гибкой трубы устанавливается гидроударник известной конструкции (см. например пат. РФ №2.242.585 М кл Е21В 37/00; 21/00), и монтируется устьевое оборудование.

[68]

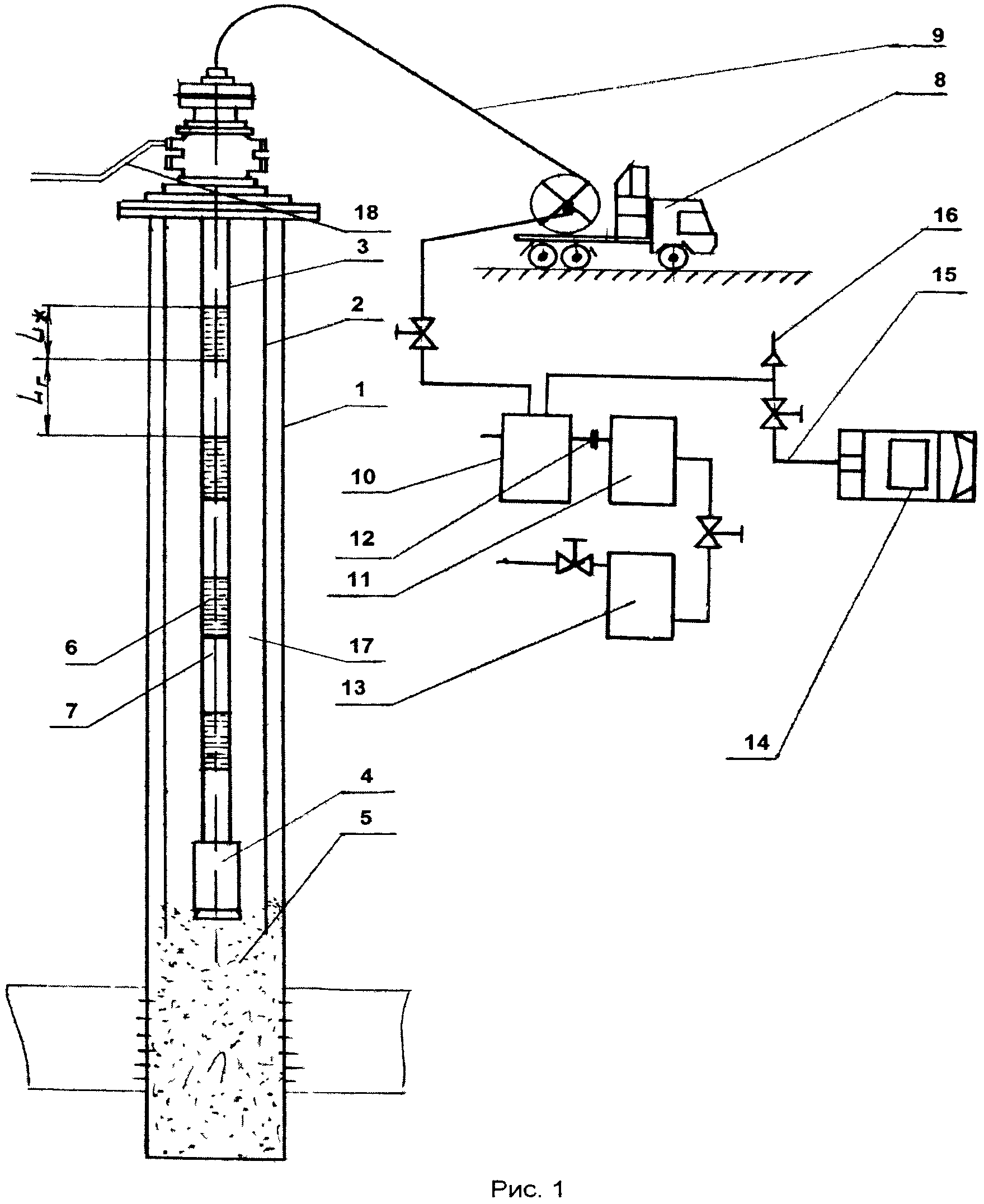
На рис.1 - показана технологическая схема обвязки устьевого оборудования с оборудованием для осуществления технологического процесса.

[69]

Скважина состоит из обсадной колонны 1, с лифтовой колонной труб 2 в осевом канале. В осевой канале лифтовой колонны труб 2, через устьевое оборудование пропущена гибкая труба 3, с гидроударником 4, располагающимся на плотной песчано-глинистой пробкой 5. В осевом канале гибкой трубы 3 располагаются пачки пенообразующей жидкости 6 и пачки газа 7.

[70]

Гибкая труба 3 навита на барабан колтюбинговой установки 8 и связана соединительной трубой 9 с дозатором - распределителем 10, с которым связан напорный резервуар 11, для регулируемой подачи через дроссель 12 пенообразующей жидкости в дозатор - распределитель 10. Напорный резервуар 11 связан с емкостью 13, с запасом пенообразующей жидкости.

[71]

Компрессор 14 связан напорной линией 15 с дозатором - распределителем 10. Напорная линия 15 снабжена предохранительным клапаном 16, связанным с атмосферой. Межтрубное пространство 17 между лифтовой колонной труб 2 и гибкой трубой 3 связано коллектором 18 с факелом.

[72]

Способ промывки плотной песчано-глинистой пробки 5 заключается в следующем .

[73]

На гибкой трубе 3 колтюбинговой установки 8 гидроударник 4 доводится до уровня расположения песчано-глинистой пробки 5. Из дозатора-распределителя 10, в котором накапливается и подается расчетная порция пенообразующей жидкости через дроссель 12 под действием давления газа, подаваемого по напорной линии 15, порция пенообразующей жидкости (ПОЖ) по трубопроводу поступает через соединительную трубу 9 в гибкую трубу 3 на барабане колтюбинговой установки 8, откуда вводится в скважину с получением пачки 6 пенообразующей жидкости расчетной длины. После подачи первой пачки 6 пенообразующей жидкости, автоматически под тем же давлением происходит подача порции газа 7 высокого давления с продавливанием пачки 6 пенообразующей жидкости по осевому канале гибкой трубы 3 к гидроударнику 4. Количество таких чередующихся пачек пенообразующей жидкости 6 и пачек 7 газа по длине гибкой трубы 3 может быть несколько.

[74]

При прохождении пенообразующей жидкости через гидроударник 4 последний генерирует гидродинамические импульсы с механическим воздействием на поверхность плотной песчано-глинистой пробки 5 и ее разрушением.

[75]

Количество объема пенообразующей жидкости в пачке 6 позволяет осуществить многократное гидродинамическое и механическое воздействие на поверхность плотной песчано-глинистой пробки с ее разрушением. Пенообразующая жидкость, выходящая в скважину из гидроударника 4, располагается в скважине, пачка 7 газа следом истекает из гидроударника 4 и воздействует на пенообразующую жидкость в межтрубном пространстве с ее вспениванием. Тем самым обеспечивается захват пеной механических частиц, полученных при разрушении песчано-глинистой пробки, 5 и их транспортировка в межтрубное пространство. При подходе очередной пачки пенообразующей жидкости 6 к гидроударнику 4 вновь происходит генерация гидродинамических и механических импульсов с воздействием и разрушением очередного участка песчано-глинистой пробки. После истечения пачки 6 пенообразующей жидкости из гидроударника 4 вновь происходит истечение потока газа из пачки 7 с воздействием на пенообразующую жидкость с ее вспениванием и подъемом механических частиц генерированной пеной по межтрубному пространству.

[76]

По мере разрушения песчано-глинистой пробки 5 осуществляют перемещение гибкой трубы 3 с гидроударником 4 вниз в осевом канале лифтовой колонны труб 2, со слежением за поверхностью разрушаемой песчано-глинистой пробки 5.

[77]

После удаления песчано-глинистой пробки 5 из осевого канала лифтовой колонны труб 2 осуществляют подачу газа от компрессора 14 в осевой канал гибкой трубы 3 с выходом через гидроударник 4 в межтрубное пространство между лифтовой колонной 2 и гибкой трубой 3.

[78]

Пена в межтрубном пространстве перемещается газом на устье скважины, где она сепарируется (на фиг. сепаратор не показан), и газ по коллектору 18 подается на факел для утилизации.

[79]

Прокачка газа ведется до полного выноса пены из межтрубного пространства с контролем давления на устье скважины. Плавным снижением давления ниже гидростатического и пластового вызывают приток газа из пласта. После этого осуществляют подъем гибкой трубы 3 с гидроударником 4 из скважины с сохранением герметичности системы и скважина запускается в эксплуатацию.

[80]

Необходимость подачи расчетного объема пенообразующей жидкости в осевой канал гибкой трубы с формированием в нем пачки расчетной длины, определяемой по формуле , связано с тем, чтобы сохранить четочную структуру ПОЖ потока по всей длине гибкой трубы 3 с доставкой до места расположения каждой пачки ПОЖ до гидроударника 4. Это позволит обеспечить эффективность генерации гидродинамических ударов воздействием на поверхность плотной песчано-глинистой пробки 5.

[81]

Количество ударов, генерируемых гидроударником 4, напрямую зависит от объема ПОЖ в каждой пачке 6 и находится в пределах n=5+7 импульсов.

[82]

Такой объем ПОЖ в каждой пачке 6, после истечения в межтрубное пространство 17, образует слой над песчано-глинистой пробкой 5 высотой, достаточной для эффективной продувки через этот слой газа из пачки 7, с генерацией пены, в которой удерживаются механические частицы. Пена с механическими частицами из разрушенного слоя песчано-глинистой пробки 5 по межтрубному пространству 17 транспортируется на поверхность.

Как компенсировать расходы
на инновационную разработку
Похожие патенты