патент
№ RU 2630196
МПК G02B21/00

ЛАЗЕРНЫЙ АВТОКОЛЛИМАЦИОННЫЙ МИКРОСКОП

Авторы:
Кушнарев Константин Геннадьевич Скляров Сергей Николаевич Тарасишин Андрей Валентинович
Все (4)
Номер заявки
2015150927
Дата подачи заявки
27.11.2015
Опубликовано
05.09.2017
Страна
RU
Как управлять
интеллектуальной собственностью
Чертежи 
9
Реферат

Микроскоп может быть использован при юстировке оптических систем, а также для контроля погрешностей центрирования линз. Микроскоп содержит два измерительных канала. Первый канал содержит размещенные по ходу луча источник излучения с длиной волны λ, первый коллимирующий объектив, первый светоделитель, в отраженных лучах которого расположены первый спектроделитель и фокусирующий объектив, в предметной плоскости которого расположена контролируемая поверхность. В преломленных лучах первого светоделителя в обратном ходе от контролируемой поверхности расположен первый объектив и первый многоэлементный приемник излучения. Второй канал состоит из источника излучения с длиной волны λи размещенных по ходу луча второго коллимирующего объектива, второго спектроделителя, в отраженных лучах которого расположен второй светоделитель, а в преломленных лучах в обратном ходе от контролируемой поверхности расположен второй объектив и второй многоэлементный приемник излучения. В отраженных лучах второго светоделителя расположен первый спектроделитель. Технический результат - возможность высокоточных угловых и линейных измерений на одном приборе и минимизация габаритов. 22 з.п. ф-лы, 9 ил.

Формула изобретения

1. Лазерный автоколлимационный микроскоп, включающий первый измерительный канал, состоящий из размещенных по ходу луча источника излучения с длиной волны λ1, первого коллимирующего объектива, первого светоделителя, светоделительная грань которого расположена под углом к оптической оси первого коллимирующего объектива, в отраженных лучах первого светоделителя расположен фокусирующий объектив, в предметной плоскости которого расположена контролируемая поверхность, а в преломленных лучах первого светоделителя в обратном ходе от контролируемой поверхности расположен первый многоэлементный приемник излучения, отличающийся тем, что между первым светоделителем и фокусирующим объективом введен первый спектроделитель, спектроделительная грань которого расположена под углом к оптической оси фокусирующего объектива, за первым светоделителем в продолжение оптической оси первого коллимирующего объектива перпендикулярно оптической оси расположена светопоглощающая пластина, а между первым светоделителем и первым многоэлементным приемником излучения расположен первый объектив, и дополнительно введен второй измерительный канал, состоящий из источника излучения с длиной волны λ2 и размещенных по ходу луча второго коллимирующего объектива, второго спектроделителя, спектроделительная грань которого расположена под углом к оптической оси второго коллимирующего объектива, при этом в отраженных лучах второго спектроделителя расположен второй светоделитель, в свою очередь, в преломленных лучах второго светоделителя в обратном ходе от контролируемой поверхности расположен второй объектив, а за ним второй многоэлементный приемник излучения, при этом светоделительная грань второго светоделителя расположена под углом к оптической оси второго объектива, а в отраженных лучах второго светоделителя расположен первый спектроделитель, спектроделительная грань которого расположена под углом к оптической оси второго объектива.

2. Лазерный автоколлимационный микроскоп по п. 1, отличающийся тем, что дополнительно введен юстировочный канал, содержащий источник коллимированного излучения с длиной волны λ3 видимого диапазона, размещенный за вторым спектроделителем на оптической оси, соединяющей второй спектроделитель и второй светоделитель, и оптически связанный через второй спектроделитель и второй светоделитель с первым спектроделителем.

3. Лазерный автоколлимационный микроскоп по п. 1 или 2, отличающийся тем, что источник излучения с длиной волны λ1 выполнен в виде когерентного источника излучения.

4. Лазерный автоколлимационный микроскоп по п. 1 или 2, отличающийся тем, что источник излучения с длиной волны λ2 выполнен в виде когерентного источника излучения.

5. Лазерный автоколлимационный микроскоп по п. 1 или 2, отличающийся тем, что источники излучения с длинами волн λ1 и λ2 выполнены в виде когерентных источников излучения.

6. Лазерный автоколлимационный микроскоп по п. 1 или 2, отличающийся тем, что источник излучения с длиной волны λ1 выполнен в виде подсвечиваемой осветителем точечной диафрагмы.

7. Лазерный автоколлимационный микроскоп по п. 1 или 2, отличающийся тем, что источник излучения с длиной волны λ1 представляет собой торец волоконно-оптического кабеля из поликристаллического волокна.

8. Лазерный автоколлимационный микроскоп по п. 1 или 2, отличающийся тем, что источник излучения с длиной волны λ1 представляет собой светодиод.

9. Лазерный автоколлимационный микроскоп по п. 1 или 2, отличающийся тем, что источник излучения с длиной волны λ2 выполнен в виде подсвечиваемой осветителем точечной диафрагмы.

10. Лазерный автоколлимационный микроскоп по п. 1 или 2, отличающийся тем, что источник излучения с длиной волны λ2 представляет собой торец волоконно-оптического кабеля.

11. Лазерный автоколлимационный микроскоп по п. 1 или 2, отличающийся тем, что источник излучения с длиной волны λ2 представляет собой светодиод.

12. Лазерный автоколлимационный микроскоп по п. 1 или 2, отличающийся тем, что в первом измерительном канале первый светоделитель выполнен в виде неполяризационного светоделительного куба.

13. Лазерный автоколлимационный микроскоп по п. 1 или 2, отличающийся тем, что во втором измерительном канале второй светоделитель выполнен в виде неполяризационного светоделительного куба.

14. Лазерный автоколлимационный микроскоп по п. 1 или 2, отличающийся тем, что в первом измерительном канале первый светоделитель выполнен в виде неполяризационного светоделительного куба и во втором измерительном канале второй светоделитель выполнен в виде неполяризационного светоделительного куба.

15. Лазерный автоколлимационный микроскоп по п. 5, отличающийся тем, что в первом измерительном канале первый светоделитель выполнен в виде поляризационного светоделительного куба, за которым по ходу лучей установлена четвертьволновая фазовая пластина.

16. Лазерный автоколлимационный микроскоп по п. 5, отличающийся тем, что во втором измерительном канале второй светоделитель выполнен в виде поляризационного светоделительного куба, за которым по ходу лучей установлена четвертьволновая фазовая пластина.

17. Лазерный автоколлимационный микроскоп по п. 5, отличающийся тем, что в первом измерительном канале первый светоделитель выполнен в виде поляризационного светоделительного куба, за которым по ходу лучей установлена четвертьволновая фазовая пластина, и во втором измерительном канале второй светоделитель выполнен в виде поляризационного светоделительного куба, за которым по ходу лучей установлена четвертьволновая фазовая пластина.

18. Лазерный автоколлимационный микроскоп по п. 1 или 2, отличающийся тем, что первый многоэлементный приемник излучения выполнен охлаждаемым многоэлементным приемником инфракрасного излучения на основе соединений кадмий-ртуть-теллур.

19. Лазерный автоколлимационный микроскоп по п. 1 или 2, отличающийся тем, что первый многоэлементный приемник излучения выполнен охлаждаемым многоэлементным приемником инфракрасного излучения на основе антимонида индия.

20. Лазерный автоколлимационный микроскоп по п. 1 или 2, отличающийся тем, что первый многоэлементный приемник излучения выполнен охлаждаемым многоэлементным приемником инфракрасного излучения на квантово-размерных ямах.

21. Лазерный автоколлимационный микроскоп по п. 1 или 2, отличающийся тем, что первый многоэлементный приемник излучения выполнен охлаждаемым многоэлементным приемником инфракрасного излучения на барьерах Шоттки.

22. Лазерный автоколлимационный микроскоп по п. 1 или 2, отличающийся тем, что первый многоэлементный приемник излучения выполнен в виде неохлаждаемого микроболометрического многоэлементного приемника инфракрасного излучения на основе аморфного кремния.

23. Лазерный автоколлимационный микроскоп по п. 1 или 2, отличающийся тем, что первый многоэлементный приемник излучения выполнен в виде неохлаждаемого микроболометрического многоэлементного приемника инфракрасного излучения на основе оксида ванадия.

Описание

[1]

Изобретение относится к оптико-электронному приборостроению и может быть использовано для проведения высокоточных угловых и линейных измерений при юстировке оптических систем, а также для контроля погрешностей центрирования линз объективов видимого, ближневолнового, средневолнового и длинноволнового диапазонов инфракрасного излучения.

[2]

Известны различные устройства одноканальных цифровых и фотоэлектрических автоколлиматоров, предназначенные для регистрации углового отклонения зеркала относительно двух ортогональных осей. Технические решения по созданию цифровых и фотоэлектрических автоколлиматоров и автоколлимационных углоизмерительных устройств защищены рядом патентов РФ и США таких, как патент US №6628405 «Optical angle finder and coaxial alignment device», МПК G01B 9/02, опубл. 30.09.2003; патент US №7227627 «Optical biaxial angle sensor», МПК G01B 11/26, опубл. 05.06.2007; патент RU №2353960, МПК G02B 27/30, опубл. 27.04.2009, под названием «Автоколлиматор для измерения плоских углов»; патент RU №2437058, MПК G01B 9/00, опубл. 18.02.2008, под названием «Цифровой двухкоординатный динамический авто коллиматор».

[3]

Среди оптических измерительных приборов и устройств известен цифровой автоколлиматор, описанный в патенте РФ на полезную модель №97835, МПК G02B 27/30, опубл. 20.09.2010, включающий осветитель, размещенные по ходу луча конденсор, марку, светоделитель, объектив, автоколлимационное зеркало, установленное с возможностью юстировки по двум угловым координатам, матричный фотоприемник с блоком обработки информации, причем марка и матричный фотоприемник установлены в фокальной плоскости объектива. Марка выполнена в виде круга. Блок обработки информации включает программные средства определения пространственных координат геометрического центра круга. Однако, данное устройство имеет только один измерительный канал и отсутствует возможность работы в режиме автоколлимационного микроскопа.

[4]

Примером совмещения двух спектральных независимых каналов может служить двухканальная информационная коллиматорная система с индикаторами на общей оптической оси, описанная в патенте РФ №2562933, МПК G02B 27/01, G02B 27/30, G02B 27/34, F41G 1/30, опубл. 10.09.2015.

[5]

Наиболее близким к предлагаемому изобретению по технической сущности устройством является автоколлимационный микроскоп с точечным источником, описанный в заявке US №2002/0054296 А1, МПК G02B 26/06, G02B 21/00, опубл. 09.05.2002. В данном устройстве излучение от точечного источника излучения поступает на светоделитель, выполненный в виде куб-призмы, к одной из граней которой приклеена опорная сферическая поверхность. Опорная сферическая поверхность формирует реперную точку. Напротив рабочей грани светоделительного куба, содержащей опорную сферическую поверхность, расположено многоэлементное фотоприемное устройство. В автоколлимационном микроскопе излучение от точечного источника излучения попадает на светоделитель. Прошедшая часть излучения с помощью коллимирующего объектива преобразуется в параллельный оптической оси устройства пучок лучей и направляется в фокусирующий объектив устройства. С помощью фокусирующего объектива излучение собирается в точку в предметной плоскости. Предметная плоскость фокусирующего объектива может быть совмещена с контролируемой оптической поверхностью или ее центром кривизны. Отраженное от контролируемой оптической поверхности излучение проходит в обратном ходе фокусирующий объектив, коллимирующий объектив и, отразившись от светоделителя, формирует автоколлимационное изображение на многоэлементном фотоприемном устройстве, расположенном в фокусе коллимирующего объектива. Часть излучения от точечного источника, отраженная от грани светоделителя, направляется на опорную сферическую поверхность. Отразившись от нее, излучение собирается в точку в фокусе этой поверхности, положение которого совпадает с многоэлементным фотоприемным устройством. Таким образом формируется реперная точка на многоэлементном фотоприемном устройстве. Для выполнения угловых измерений на выходе из устройства может быть получен коллимированный пучок лучей путем удаления из хода лучей фокусирующего объектива, либо установкой по ходу лучей после фокусирующего объектива вспомогательного коллимирующего объектива.

[6]

Таким образом, с помощью данного автоколлимационного микроскопа возможен контроль оптических систем на одной рабочей длине волны излучения. Осуществление измерений в широком спектральном диапазоне на данном микроскопе невозможно.

[7]

Задачей заявленного изобретения является создание лазерного автоколлимационного микроскопа с повышенными функциональными характеристиками и повышенной точностью измерений.

[8]

Технический результат - возможность проведения высокоточных угловых и линейных измерений, в том числе с целью центрирования оптических систем видимого, ближневолнового, средневолнового и длинноволнового диапазонов инфракрасного излучения на одном приборе без изменения конструкции или замены отдельных узлов и элементов, а также минимизация габаритов устройства.

[9]

Указанный технический результат достигается тем, что лазерный автоколлимационный микроскоп включает в себя первый измерительный канал, состоящий из размещенных по ходу луча источника излучения с длиной волны λ1, первого коллимирующего объектива, первого светоделителя, светоделительная грань которого расположена под углом к оптической оси первого коллимирующего объектива, в отраженных лучах первого светоделителя расположен фокусирующий объектив, а в проходящих - первый многоэлементный приемник излучения, при этом в предметной плоскости фокусирующего объектива расположена контролируемая поверхность. В отличие от известного, между первым светоделителем и фокусирующим объективом введен первый спектроделитель, спектроделительная грань которого расположена под углом к оптической оси фокусирующего объектива, за первым светоделителем в продолжение оптической оси первого коллимирующего объектива расположена перпендикулярно оптической оси светопоглощающая пластина, а между первым светоделителем и первым многоэлементным приемником излучения расположен первый объектив, и дополнительно введен второй измерительный канал, состоящий из источника излучения с длиной волны λ2 и размещенных по ходу луча второго коллимирующего объектива, второго спектроделителя, спектроделительная грань которого расположена под углом к оптической оси второго коллимирующего объектива, при этом, в отраженных лучах второго спектроделителя расположен второй светоделитель, в свою очередь, в преломленных лучах второго светоделителя расположен второй объектив, а за ним второй многоэлементный приемник излучения, при этом светоделительная грань второго светоделителя расположена под углом к оптической оси второго объектива, а в отраженных лучах второго светоделителя расположен первый спектроделитель, спектроделительная грань которого расположена под углом к оптической оси второго объектива.

[10]

Кроме того лазерный автоколлимационный микроскоп может быть дополнен юстировочным каналом, содержащим источник коллимированного излучения с длиной волны λ3 видимого диапазона, размещенный за вторым спектроделителем на оптической оси, соединяющей второй спектроделитель и второй светоделитель, и оптически связанный через второй спектроделитель и второй светоделитель с первым спектроделителем. Кроме того, в лазерном автоколлимационном микроскопе либо источник излучения с длиной волны λ1, либо источник излучения с длиной волны λ2, либо оба источника излучения с длиной волны λ1 и λ2, могут быть выполнены в виде источников когерентного излучения. Кроме того, источник излучения с длиной волны λ1 или источник излучения с длиной волны λ2 может быть выполнен в виде подсвечиваемой осветителем точечной диафрагмы. Кроме того, источник излучения с длиной волны λ1 или источник излучения с длиной волны λ2 может быть выполнен в виде торца волоконно-оптического кабеля, сопряженного с внешним лазером. Кроме того, источник излучения с длиной волны λ1 или источник излучения с длиной волны λ2 может быть выполнен в виде светодиода. Кроме того, либо первый светоделитель, либо второй светоделитель, либо оба светоделителя могут быть выполнены в виде неполяризационного светоделительного куба. Кроме того, либо первый светоделитель, либо второй светоделитель, может быть выполнен в виде поляризационного светоделительного куба, а за ним установлена четвертьволновая фазовая пластина, либо оба светоделителя могут быть выполнены в виде поляризационных светоделительных кубов, а за ними установлены четвертьволновые фазовые пластины. Кроме того, первый многоэлементный приемник излучения может быть выполнен охлаждаемым многоэлементным приемником инфракрасного излучения на основе соединений кадмий-ртуть-теллур, или охлаждаемым многоэлементным приемником инфракрасного излучения на основе антимонида индия, или охлаждаемым многоэлементным приемником инфракрасного излучения на квантово-размерных ямах, или охлаждаемым многоэлементным приемником инфракрасного излучения на барьерах Шоттки, или в виде неохлаждаемого микроболометрического многоэлементного приемника инфракрасного излучения на основе аморфного кремния, или в виде неохлаждаемого микроболометрического многоэлементного приемника инфракрасного излучения на основе оксида ванадия.

[11]

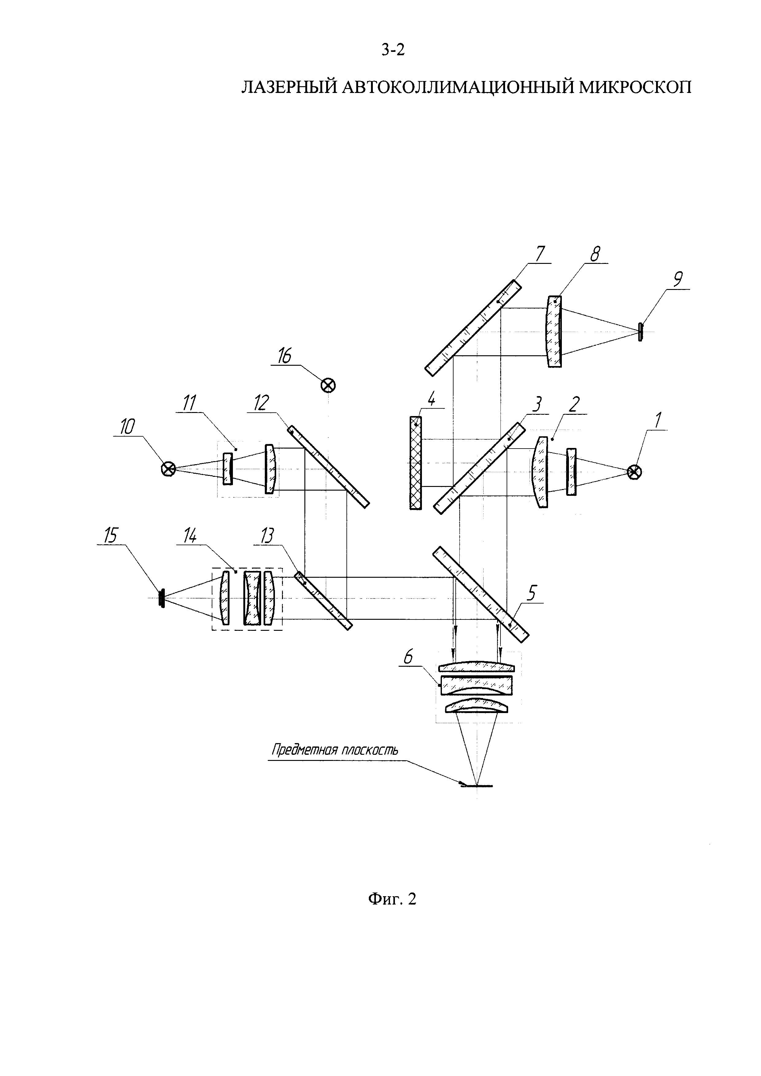
На фиг. 1 представлена оптическая схема лазерного автоколлимационного микроскопа.

[12]

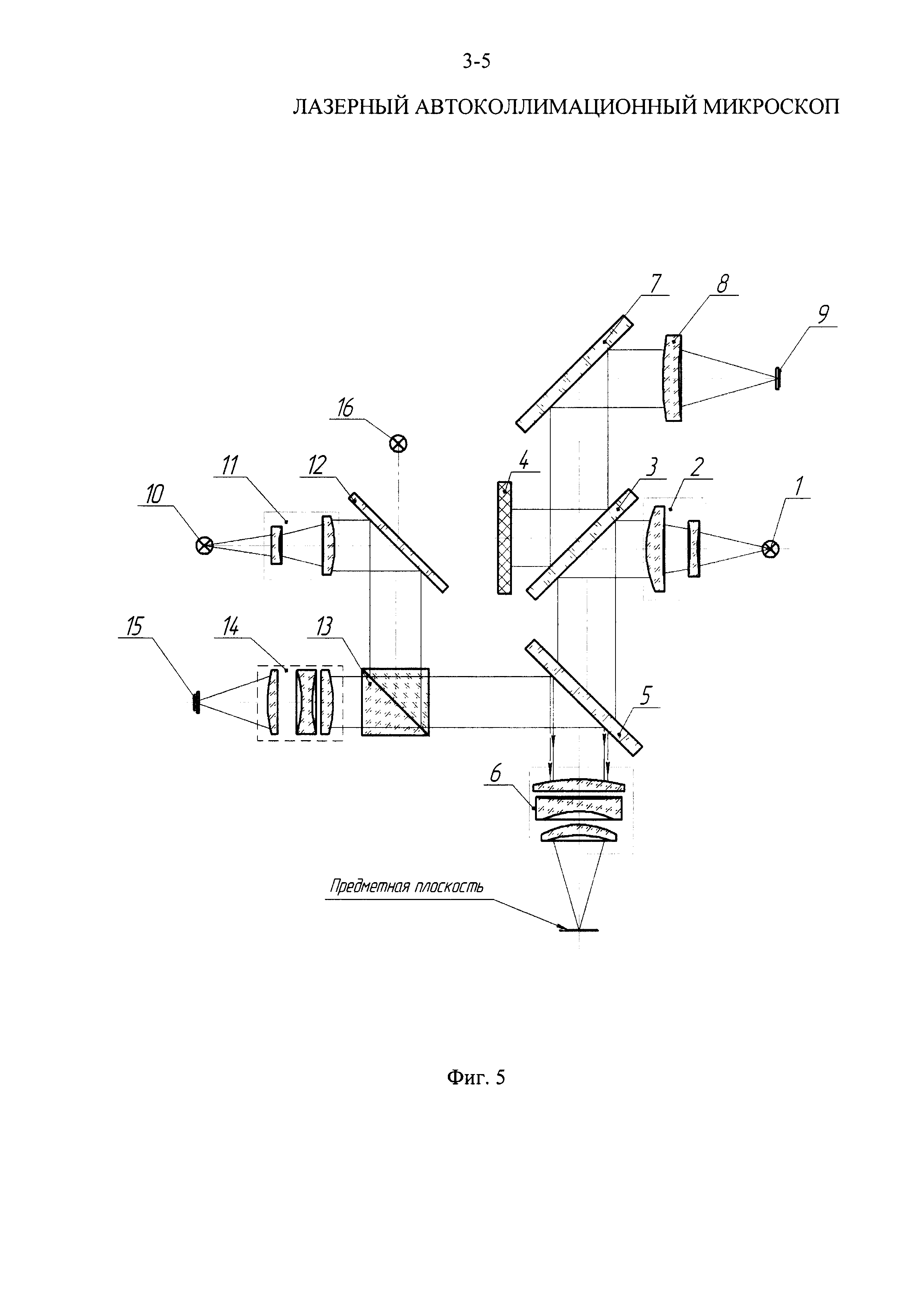
На фиг. 2 представлена оптическая схема лазерного автоколлимационного микроскопа, дополненного котировочным каналом.

[13]

На фиг. 3 представлена оптическая схема лазерного автоколлимационного микроскопа с источником излучения с длиной волны λ1, выполненным в виде торца волоконно-оптического кабеля из поликристаллического волокна, сопряженного с внешним лазером.

[14]

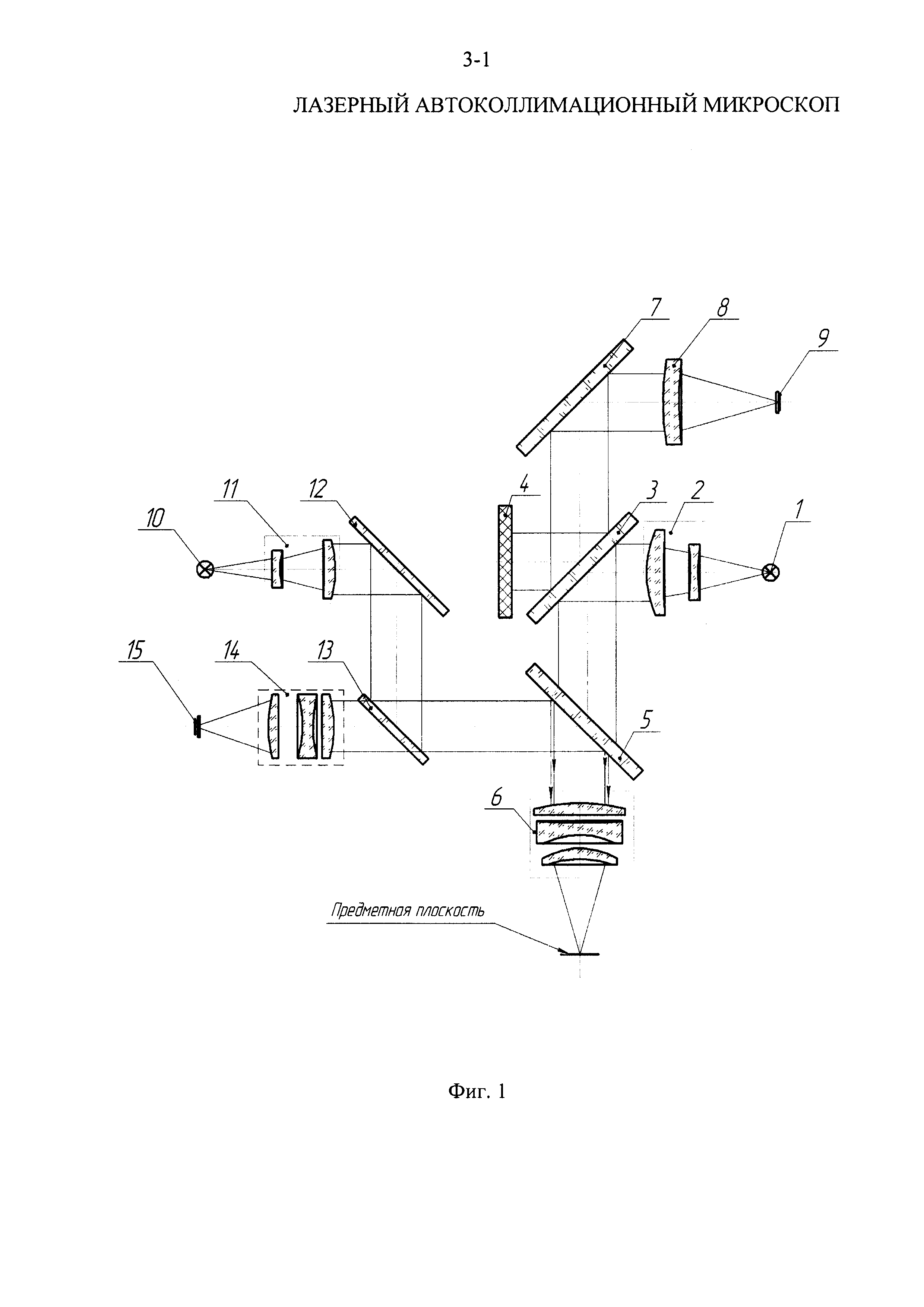
На фиг. 4 представлена оптическая схема лазерного автоколлимационного микроскопа, у которого первый светоделитель, выполнен в виде неполяризационного светоделительного куба.

[15]

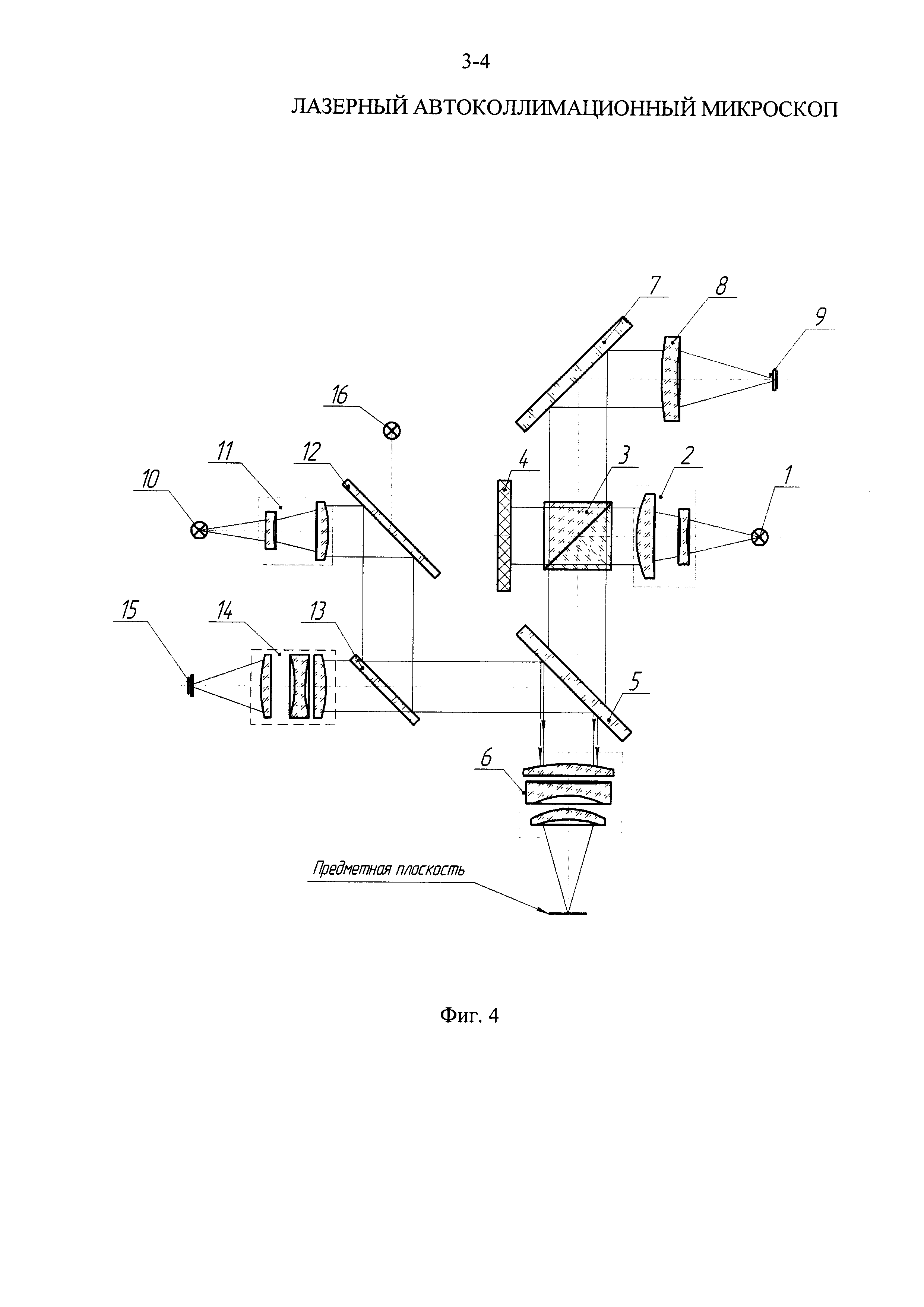
На фиг. 5 представлена оптическая схема лазерного автоколлимационного микроскопа, у которого второй светоделитель выполнен в виде неполяризационного светоделительного куба.

[16]

На фиг. 6 представлена оптическая схема лазерного автоколлимационного микроскопа, у которого первый светоделитель выполнен в виде поляризационного светоделительного куба с четвертьволновой фазовой пластиной.

[17]

На фиг. 7 представлена оптическая схема лазерного автоколлимационного микроскопа, у которого второй светоделитель выполнен в виде поляризационного светоделительного куба с четвертьволновой фазовой пластиной.

[18]

На фиг. 8 представлена оптическая схема лазерного автоколлимационного микроскопа с обоими светоделителями, выполненным в виде неполяризационных светоделительных кубов.

[19]

На фиг. 9 представлена оптическая схема лазерного автоколлимационного микроскопа с обоими светоделителями, выполненным в виде поляризационных светоделительных кубов с четвертьволновыми фазовыми пластинами.

[20]

Лазерный автоколлимационный микроскоп (фиг. 1) состоит из двух измерительных каналов. Первый измерительный канал содержит оптически сопряженные источник излучения 1 с длиной волны λ1, по ходу луча которого расположен первый коллимирующий объектив 2 и первый светоделитель 3, выполненный в виде светоделительной пластины. Излучение, прошедшее через первый светоделитель 3, поглощается поглотителем излучения 4, а отраженное под углом 45° от первого светоделителя излучение направляется на первый спектроделитель 5, расположенный под углом 45° к оптической оси фокусирующего объектива 6, расположенного за первым спектроделителем 5 по ходу отраженного луча. В фокальной плоскости фокусирующего объектива 6 расположена контролируемая поверхность. Отраженное от контролируемой поверхности излучение проходит в обратном ходе через фокусирующий объектив 6, первый спектроделитель 5, первый светоделитель 3, плоское зеркало 7, также установленное под углом 45° к оптической оси фокусирующего объектива 6 и попадает на первый объектив 8, в фокальной плоскости которого расположен первый многоэлементный приемник излучения 9. Второй измерительный канал содержит оптически сопряженные источник излучения 10 с длиной волны λ2, по ходу луча которого расположен второй коллимирующий объектив 11, второй спектроделитель 12, расположенный под углом 45° к оптической оси коллимирующего объектива 11, в отраженных лучах спектроделителя 12 под углом 45° к преломленной оптической оси коллимирующего объектива 11 расположен второй светоделитель 13. Отраженная часть лучей после второго светоделителя 13 попадает на первый спектроделитель 5, отражается от него, проходит фокусирующий объектив 6 и отражается обратно контролируемой поверхностью. Отраженное от контролируемой поверхности излучение проходит в обратном ходе фокусирующий объектив 6, отражается от первого спектроделителя 5, проходит второй светоделитель 13 и попадает во второй объектив 14, в фокальной плоскости которого расположен второй многоэлементный приемник излучения 15.

[21]

Кроме того, лазерный автоколлимационный микроскоп может быть дополнен юстировочным каналом, содержащим источник коллимированного излучения 16 с длиной волны λ3 видимого диапазона, расположенный за вторым спектроделителем 12 на оптической оси соединяющей второй спектроделитель 12 и второй светоделитель 13, при этом излучение от источника излучения 16 с длиной волны λ3 проходит через второй спектроделитель 12, а от второго светоделителя 13 отражается в сторону первого спектроделителя 5.

[22]

В качестве источника излучения 1 может быть использован лазерный диод (фиг. 1), торец волоконно-оптического кабеля, сопряженного с внешним лазером. Источник излучения 1 может представлять собой точечную диафрагму, подсвечиваемую осветителем. Источник излучения 1 может представлять собой светодиод. Возможно использование любого из перечисленных источников без конденсора, либо с конденсором из одной или нескольких линз со сферическими или асферическими поверхностями.

[23]

В качестве источника излучения 2 может быть использован лазерный диод (фиг. 1), торец волоконно-оптического кабеля, сопряженного с внешним лазером, либо светодиод. Источник излучения 1 может представлять собой точечную диафрагму, подсвечиваемую осветителем. Возможно использование любого из перечисленных источников без конденсора, либо с конденсором из одной или нескольких линз со сферическими или асферическими поверхностями.

[24]

В лазерном автоколлимационном микроскопе (фиг. 2) дополнительно введен юстировочный канал, содержащий источник коллимированного излучения 16 с длиной волны λ3 видимого диапазона, расположенный за вторым спектроделителем 12 на оптической оси соединяющей второй спектроделитель 12 и второй светоделитель 13, при этом излучение от источника излучения 16 с длиной волны λ3 проходит через второй спектроделитель 12, а от второго светоделителя 13 отражается в сторону первого спектроделителя 5.

[25]

В лазерном автоколлимационном микроскопе (фиг. 3) в качестве источника излучения 10 с длиной волны λ2, может быть использован торец волоконно-оптического кабеля 17, сопряженного через объектив ввода 18 с внешним лазером 19.

[26]

В лазерном автоколлимационном микроскопе (фиг. 4) первый светоделитель 3 может быть выполнен в виде неполяризационного светоделительного куба.

[27]

В лазерном автоколлимационном микроскопе (фиг. 5) второй светоделитель 13 может быть выполнен в виде неполяризационного светоделительного куба.

[28]

В лазерном автоколлимационном микроскопе (фиг. 6) первый светоделитель 3 может быть выполнен в виде поляризационного светоделительного куба и в ход лучей между первым светоделителем 3 и первым спектроделителем 5 установлена четвертьволновая фазовая пластина 20. Первый светоделитель 3 и фазовая пластина 20 могут быть конструктивно объединены в единый блок, либо могут не объединяться в единый блок - в зависимости от требований к габаритам и эргономике устройства.

[29]

В лазерном автоколлимационном микроскопе (фиг. 7) второй светоделитель 13 может быть выполнен в виде поляризационного светоделительного куба и в ход лучей между второй светоделителем 13 и первым спектроделителем 5 установлена четвертьволновая фазовая пластина 21. Второй светоделитель 13 и фазовая пластина 21 могут быть конструктивно объединены в единый блок, либо могут не объединяться в единый блок - в зависимости от требований к габаритам и эргономике устройства.

[30]

В лазерном автоколлимационном микроскопе (фиг. 8) первый светоделитель 3 и второй светоделитель 13 могут быть выполнены в виде неполяризационных светоделительных кубов.

[31]

В лазерном автоколлимационном микроскопе (фиг. 9) первый светоделитель 3 и второй светоделитель 13 могут быть выполнены в виде поляризационных светоделительных кубов, а между первым светоделителем 3 и первым спектроделителем 5 установлена четвертьволновая фазовая пластина 20 и между вторым светоделителем 13 и первым спектроделителем 5 установлена четвертьволновая фазовая пластина 21.

[32]

В качестве многоэлементного приемника излучения 9 могут быть использованы охлаждаемые (на основе соединений кадмий-ртуть-теллур, на базе барьеров Шотки, на базе антимонида индия, на квантово-размерных ямах) и неохлаждаемые (микроболометрические на основе оксида ванадия или аморфного кремния) многоэлементные приемники инфракрасного излучения. В зависимости от требований к габаритам устройства из хода лучей может быть удалено зеркало 7, либо возможно изменение его плоскости наклона. В зависимости от требований к габаритам устройства возможно изменение плоскости наклона второго спектроделителя 12.

[33]

Лазерный автоколлимационный микроскоп работает следующим образом. В первом измерительном канале излучение с длиной волны λ1 от источника излучения 1, пройдя коллимирующий объектив 2, попадает на первый светоделитель 3. Часть излучения, пройдя первый светоделитель 3, поглощается поглотителем излучения 4, материал которого подбирается в зависимости от параметров источника излучения 1 с длиной волны λ1. Оставшаяся часть излучения отражается от первого светоделителя 3, проходит первый спектроделитель 5 и с помощью фокусирующего объектива 6 сводится в точку в предметной плоскости микроскопа. Предметная плоскость микроскопа может быть совмещена с контролируемой оптической поверхностью или ее центром кривизны. Отраженное от контролируемой поверхности излучение проходит в обратном ходе фокусирующий объектив 6, первый спектроделитель 5, первый светоделитель 3 и, отразившись от зеркала 7, попадает в объектив 8, который формирует автоколлимационное изображение точки на чувствительной поверхности первого многоэлементного приемника излучения 9. Во втором измерительном канале излучение с длиной волны λ2 от источника излучения 10 попадает во второй коллимирующий объектив 11, далее отражается от второго спектроделителя 12 и попадает на второй светоделитель 13. После отражения от второго светоделителя 13, излучение отражается от первого спектроделителя 5 и затем с помощью фокусирующего объектива 6 сводится в точку в предметной плоскости микроскопа. Предметная плоскость микроскопа может быть совмещена с контролируемой оптической поверхностью или ее центром кривизны. Отраженное от контролируемой поверхности излучение проходит в обратном ходе фокусирующий объектив 6, отражается от первого спектроделителя 5, проходит через второй светоделитель 13 и попадает в объектив 14, который формирует автоколлимационное изображение точки на чувствительной поверхности второго многоэлементного приемника излучения 15. Юстировочный канал визуализирует общую оптическую ось устройства. Первый спектроделитель 5 пропускает излучение с длиной волны λ1 от источника излучения первого измерительного канала и отражает излучение с длиной волны λ2 от источника излучения второго измерительного канала и излучение с длиной волны λ3 от источника излучения котировочного канала. Для проведения угловых измерений фокусирующий объектив удаляется из хода лучей.

[34]

Технический результат - возможность проведения высокоточных угловых и линейных измерений, в том числе с целью центрирования оптических систем видимого, ближневолнового, средневолнового и длинноволнового диапазонов инфракрасного излучения на одном приборе без изменения конструкции или замены отдельных узлов и элементов, а также минимизация габаритов устройства. Указанный технический результат заявленного изобретения достигается тем, что в лазерном автоколлимационном микроскопе используются два независимых измерительных канала с различными рабочими длинами волн излучения λ1 и λ2. Рабочие длины волн λ1 и λ2 выбраны с учетом возможности контроля оптических систем как видимого диапазона, так и ближневолнового, средневолнового и длинноволнового диапазонов инфракрасного излучения без замены или перенастройки используемых источников излучения. Оба канала сводятся на общую оптическую ось с помощью светоделительных и спектроделительных элементов. Сохранение малых габаритов достигается применением малогабаритных когерентных источников излучения. Высокая точность измерений обеспечивается за счет минимальных размеров сфокусированного лазерного пятна в плоскостях приемников излучения и применением высокоэффективных алгоритмов вычисления и обработки изображения.

Как компенсировать расходы
на инновационную разработку
Похожие патенты