патент
№ RU 2581405
МПК H01L39/00

СПОСОБ ИЗГОТОВЛЕНИЯ СВЕРХПРОВОДЯЩИХ МНОГОСЕКЦИОННЫХ ОПТИЧЕСКИХ ДЕТЕКТОРОВ

Авторы:
Приходько Кирилл Евгеньевич Кулешова Евгения Анатольевна Тархов Михаил Александрович
Все (5)
Номер заявки
2015103824/28
Дата подачи заявки
05.02.2015
Опубликовано
20.04.2016
Страна
RU
Как управлять
интеллектуальной собственностью
Чертежи 
4
Реферат

Использование: для изготовления сверхпроводниковых датчиков излучения. Сущность изобретения заключается в том, что способ изготовления сверхпроводящих многосекционных оптических детекторов, включающий формирование отдельных секций из сверхпроводящих нанопроводов, образующих рисунок в виде меандра, и сверхпроводящих соединительных проводов для соединения секций через токоограничители с контактными площадками, токоограничители формируют путем нанесения на сформированную структуру защитной резистивной маски, вскрытия в ней окон над отрезками соединительных проводов меандра с контактной площадкой и преобразованием их в несверхпроводящие за счет селективного изменения атомного состава воздействием пучка ускоренных частиц через защитную маску. Технический результат: обеспечение возможности создания нанорезисторов с высокими эксплуатационными характеристиками и меньшим количеством технологических операций. 7 з.п. ф-лы, 4 ил.

Формула изобретения

1. Способ изготовления сверхпроводящих многосекционных оптических детекторов, включающий формирование отдельных секций из сверхпроводящих нанопроводов, образующих рисунок в виде меандра, и сверхпроводящих соединительных проводов для соединения секций через токоограничители с контактными площадками, отличающийся тем, что токоограничители формируют путем нанесения на сформированную структуру защитной резистивной маски, вскрытия в ней окон над отрезками соединительных проводов меандра с контактной площадкой и преобразованием их в несверхпроводящие за счет селективного изменения атомного состава воздействием пучка ускоренных частиц через защитную маску.

2. Способ по п. 1, отличающийся тем, что соединительные нанопровода формируют из нитрида ниобия, а преобразование выбранных участков в несверхпроводящие осуществляют путем селективного замещения атомов азота на атомы кислорода путем воздействия пучком ускоренных частиц в присутствии кислорода в реакционном объеме через защитную маску до получения металлического оксида ниобия.

3. Способ по п. 1, отличающийся тем, что соединительные нанопровода формируют из нитрида ниобия, а преобразование выбранных участков в несверхпроводящие осуществляют путем селективного удаления атомов азота путем воздействия пучком ускоренных частиц через защитную маску до получения металлического ниобия.

4. Способ по п. 1, отличающийся тем, что соединительные нанопровода формируют из карбида ниобия, а преобразование выбранных участков в несверхпроводящие осуществляют путем селективного удаления атомов углерода путем воздействия пучком ускоренных частиц через защитную маску до получения металлического ниобия.

5. Способ по п. 1, отличающийся тем, что нанопровод формируют из карбида ниобия, а преобразование выбранных участков в несверхпроводящие осуществляют путем селективного замещения атомов углерода на атомы кислорода путем воздействия ускоренных частиц через защитную маску в присутствии кислорода в реакционном объеме до получения металлического оксида ниобия.

6. Способ по п. 1, отличающийся тем, что облучение нанопровода осуществляют пучком ускоренных частиц через защитную маску, наклоненную под острым углом к оси пучка.

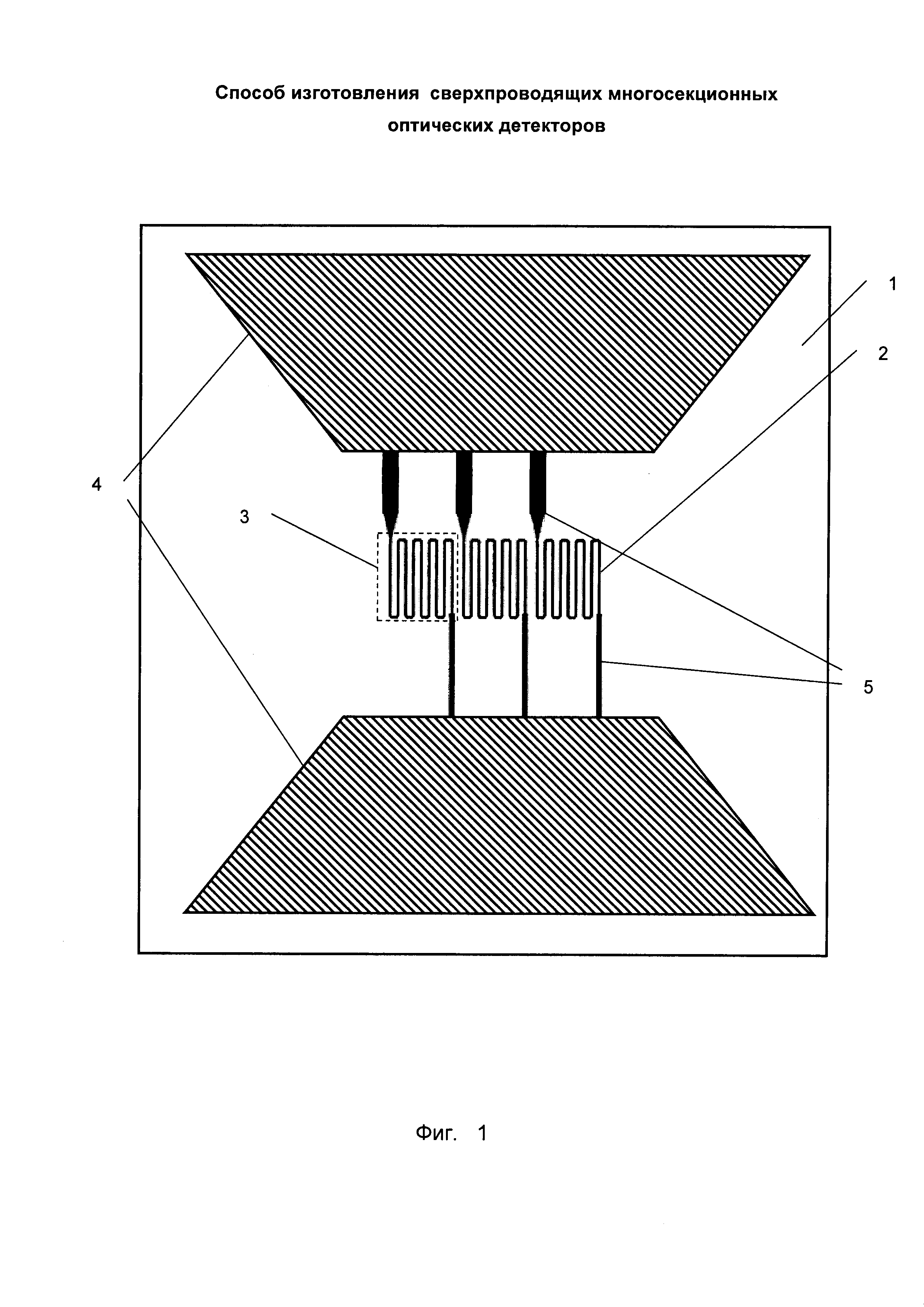
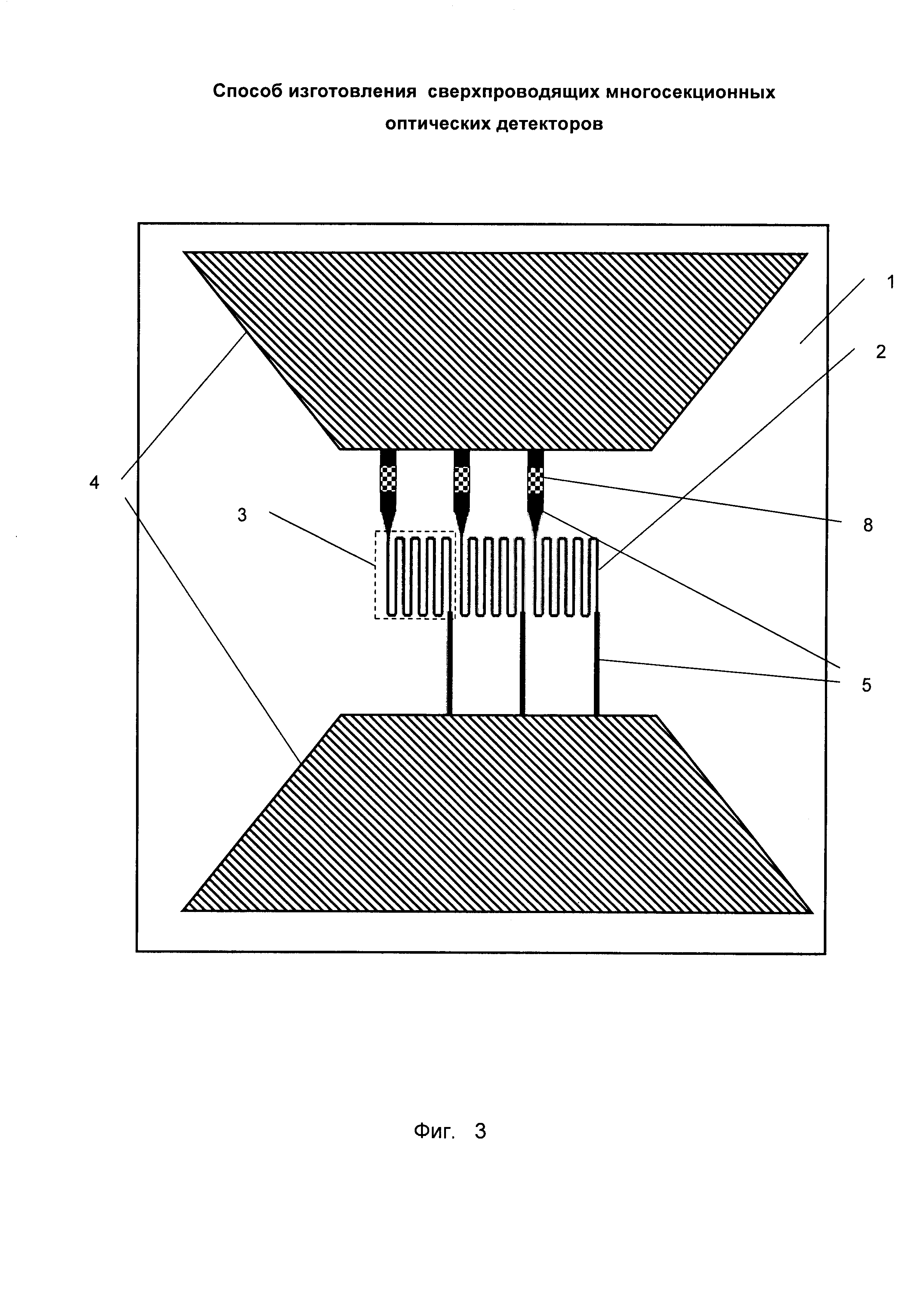
7. Способ по любому из пп .1, 2, 3, 4, 5, 6, отличающийся тем, что в качестве ускоренных частиц используют протоны или атомы водорода.

8. Способ по любому из пп .1, 2, 3, 4, 5, 6, отличающийся тем, что энергию частиц и время воздействия ускоренным пучком на выбранные участки нанопровода подбирают расчетным путем или экспериментально в зависимости от вещества нанопровода и требуемого состава разделительного несверхпроводящего участка.

Описание

[1]

Изобретение относится к области сверхпроводниковой микроэлектроники, в частности к изготовлению сверхпроводниковых датчиков излучения, которые могут быть использованы в оптических устройствах, электротехнической, радиотехнической, медицинской и других отраслях науки и техники, в частности для безконтактного тестирования полупроводниковых интегральных микросхем, исследования излучения квантовых точек и в системах квантовой криптографии.

[2]

Технология изготовления сверхпроводниковых туннельных переходов, джозефсоновских переходов, структур типа сверхпроводник-изолятор-сверхпроводник (СИС), структур сверхпроводник-изолятор-нормальный металл (СИН), болометров на холодных электронах описывается в RU 2442246 [1]. Способ изготовления устройств с тонкопленочными сверхпроводниковыми переходами предусматривает нанесение поддерживающего и основного резиста, экспозицию, проявление этих слоев резиста, напыление первого слоя нормального металла или сверхпроводника под прямым углом к подложке, окисление для формирования туннельного барьера, напыление второго слоя пленки сверхпроводника под углом к нормали, взрывание резиста. Напыление верхней пленки сверхпроводника производится под двумя разными углами +φ и -φ с разных сторон от нормали так, что обе пленки сверхпроводника перекрывают необходимый зазор и образуют единый сверхпроводящий слой. Между нормальным металлом и сверхпроводником формируется туннельный контакт, при этом углы нанесения выбирают по формуле tgA≤φt/(L+w), где t=t1+t2 суммарная толщина двухслойного резиста, w ширина нижнего электрода, L - глубина подтрава. Недостатком известного способа является то, что он обеспечивает формирование переходов относительно большой площади. Кроме того, как и во всех литографических процессах возникает проблема совмещения топологий на различных стадиях процесса.

[3]

Известен способ формирования пленочного микромостика, включающий нанесение пленки ВТСП-материала и формирование путем фотолитографии дорожки со слабой связью, сверхпроводимость в области слабой связи дополнительно подавляют облучением дорожки сфокусированным электронным лучом (RU 2080693 [2]). В результате, поперек дорожки формируется узкая, шириной 0,8-1 мкм, область с подавленной сверхпроводимостью. Недостатком данного способа является то, что размер активной зоны велик. Устойчивые и воспроизводимые технические характеристики в подобных устройствах достигаются при размерах активной зоны менее 100 нм.

[4]

Известен способ изготовления сверхпроводникового однофотонного детектора (RU 2476373 [3]), который включает формирование на диэлектрической подложке канала проводимости из нитрида ниобия любым из известных методов толщиной не более 20 нм, но не менее толщины, приводящей к нарушению сплошности, и с шириной не более 350 нм и его последующее облучение потоком ускоренных частиц в присутствии кислорода. В качестве ускоренных частиц используют атомы водорода или протоны, ионы или атомы гелия, ионы или атомы кислорода или смеси перечисленных частиц с энергией от 0,5 до 5,0 кэВ. В качестве подложки используют лейкосапфир. В результате облучения потоком ускоренных частиц происходит локальное изменение химического состава, что приводит к возникновению различного рода искажений в кристаллической решетке облучаемого материала (нитрида ниобия) в силу значительных различий объемной плотности нитрида и оксида ниобия что может способствовать возникновению поликристалличности в исходном монокристаллическом материале. Появление поликристалличности приводит к сильному разупорядочению сверхпроводника за счет возникновения межкристаллитных состояний. Данные состояния становятся ощутимы в транспорте сверхтока, а именно сверхток через такие межкристалитные связи может протекать туннельно либо обтекать их. Эффективно это приводит к искусственному заужению канала проводимости в каком-либо из сечений сверхпроводящей полоски. То есть сечение трубки тока после облучения становится меньше, что, собственно, и приводит к увеличению вероятности детектирования, а соответственно к увеличению квантовой эффективности детектирования одиночных фотонов. Данный способ разработан для изготовления односекционных сверхпроводниковых однофотонных детекторов. Чувствительный элемент в известном устройстве представляет собой узкую полоску из тонкой пленки сверхпроводника, изготовленного в виде меандра заполняющего прямоугольную площадку соответствующего размера адаптированного под размер оптического канала. Ограничением известного сверхпроводникового детектора является значительная величина кинетической индуктивности, существенно ограничивающая быстродействие детектора. Для повышения быстродействия детектора было предложено выполнять его в виде нескольких параллельно включенных секций, подключенных через резисторы (см. например RU 2327253[4]). Помимо увеличения быстродействия такого детектора был обнаружен эффект разрешения количества фотонов в коротких световых импульсах. В основе такого типа детектора лежит принцип пространственной локализации фотона в момент его поглощения в сверхпроводниковом нанопроводе. Принцип работы в этом случае состоит в следующем. В момент прихода одного фотона в коротком световом импульсе срабатывает только одна секция, при падении двух фотонов срабатывает две секции и так далее. В зависимости от количества поглощенных фотонов амплитуда сигнала разная, отслеживая ее можно различать количество фотонов в световых импульсах. Если создать чувствительный элемент детектора в виде параллельно подключенных секций на основе нанопроводов, то возникает возможность различать количество поглощаемых фотонов чувствительным элементом такого детектора. В случае, когда фотон поглощается любой, но одной секцией детектора, наблюдается сигнал определенной амплитуды; в момент поглощения фотонов любыми двумя секциями наблюдается сигнал удвоенной амплитуды и т.д. Важным условием работоспособности такого детектора являются интегрированные нанорезисторы, работающие как токоограничители между отдельными секциями. Так как устройство является криогенным, то требования к нанорезисторам весьма жесткие. Прежде всего, это связанно с требованиями к качеству омического контакта между нанорезистором и чувствительным элементом (отдельной секцией), размеру и плотности заполнения нанорезисторов, а также расстоянию от резистора до отдельной секции.

[5]

В настоящее время нанорезисторы изготавливают набором стандартных методов с использованием технологии нанесения слоя золота [4] или металлических слоев титана или золота (CN 102353464 [5]). Этот метод - единственный, который предлагается при создании резисторов, работающих при температурах жидкого гелия, так как только Ti-Au или Ti-Pt может обеспечить необходимый номинал резистора при разработке конечного устройства.

[6]

Наиболее близким к заявляемому является способ, описанный в [5], который предусматривает изготовление полированной с двух сторон подложки из сапфира или окиси кремния, на которую наносят тонкий слой сверхпроводящей пленки (толщина пленки 2~8 нм.) Из нее методом электронно-лучевой литографии получают несколько структур с конфигурацией многосекционного меандра. В качестве токоограничителя отдельных секций в момент поглощения фотона используются нанорезисторы, изготовленные из тонкой многослойной пленки титан-золота или титан-платина, получаемые любыми методами осаждения.

[7]

Такой технологии присущи следующие недостатки:

[8]

1) Необходимость большого количества технологических этапов, проблемы с межслоевым совмещением элементов, включающие в себя нанолитографию, осаждение и травление.

[9]

2) Невысокое качество омического контакта.

[10]

3) Все технологические операции должны быть в одном процессе без нарушения вакуума.

[11]

4) Требования ограничения на топологию электрической схемы.

[12]

5) Ограничение на плотность заполнения наноэлементов элементов и их размеров.

[13]

Все эти недостатки приводят в итоге к некачественному конечному устройству. Прежде всего, это сказывается на выходе, годного на уровне нескольких процентов. Все детекторы на основе сверхпроводящих нанопроводов работают в режиме высокой плотности тока, а наличие некачественного омического контакта может приводить к сильному Джоулеву разогреву и, как результат, некорректной работе конечного устройства.

[14]

Заявляемый способ изготовления сверхпроводящих многосекционных оптических детекторов направлен на создание нанорезисторов с высокими эксплуатационными характеристиками и меньшим количеством технологических операций.

[15]

Указанный результат достигается тем, что способ изготовления сверхпроводящих многосекционных оптических детекторов включает формирование отдельных секций из сверхпроводящих нанопроводов, образующих рисунок в виде многосекционного меандра, и сверхпроводящих соединительных проводов с интегрированными нанорезисторами, работающие как токоограничители для соединения секций с контактными площадками. При этом токоограничители формируют путем нанесения на сформированную структуру защитной резистивной маски, вскрытия в ней окон над отрезками соединительных проводов меандра с контактной площадкой и преобразованием их в несверхпроводящие за счет селективного изменения атомного состава воздействием пучка ускоренных частиц через защитную маску. Топология (длина и ширина) окна в резистивной маске определяет номинал резистора - токоограничителя.

[16]

Указанный результат достигается также тем, что соединительные нанопровода формируют из нитрида ниобия, а преобразование выбранных участков в несверхпроводящие осуществляют путем селективного замещения атомов азота на атомы кислорода путем воздействия пучком ускоренных частиц через защитную маску до получения металлического оксида ниобия.

[17]

Указанный результат достигается также тем, что соединительные нанопровода формируют из нитрида ниобия, а преобразование выбранных участков в несверхпроводящие осуществляют путем селективного удаления атомов азота путем воздействия пучком ускоренных частиц через защитную маску до получения металлического ниобия.

[18]

Указанный результат достигается также тем, что соединительные нанопровода формируют из карбида ниобия, а преобразование выбранных участков в несверхпроводящие осуществляют путем селективного удаления атомов углерода путем воздействия пучком ускоренных частиц через защитную маску до получения металлического ниобия.

[19]

Указанный результат достигается также тем, что нанопровод формируют из карбида ниобия, а преобразование выбранных участков в несверхпроводящие осуществляют путем селективного замещения атомов углерода на атомы кислорода путем воздействия ускоренных частиц через защитную маску в присутствии кислорода в реакционном объеме до получения металлического оксида ниобия.

[20]

Указанный результат достигается также тем, что облучение нанопровода осуществляют пучком ускоренных частиц через защитную маску, наклоненную под углом к оси пучка.

[21]

Указанный результат достигается также тем, что в качестве ускоренных частиц используют протоны или атомы водорода.

[22]

Указанный результат достигается также тем, что энергию частиц и время воздействия ускоренным пучком на выбранные участки нанопровода подбирают расчетным путем или экспериментально в зависимости от вещества нанопровода и требуемого состава разделительного несверхпроводящего участка.

[23]

Преобразование участков нанопровода, выполненных из веществ, обладающих сверхпроводящими свойствами, в несверхпроводящие в выбранных разделительных участках, выполняющих роль токоограничителей за счет селективного изменения атомного состава путем воздействия пучком ускоренных частиц через защитную маску, позволяет за одну операцию и одновременно сформировать все токоограничители, наличие которых предусмотрено схемным решением изготавливаемого прибора, что обеспечивает высокую производительность процесса. Облучение через открытые участки сформированной на нанопроводах маски потоком ускоренных протонов или атомов водорода позволяет обеспечить преобразование этих участков нанопровода, выполненных из веществ, обладающих сверхпроводящими свойствами в несверхпроводящие. Наиболее целесообразным представляется использование в различных вариантах реализации предлагаемого способа для формирования нанопроводов из нитрида ниобия или из карбида ниобия и, соответственно, обеспечивать селективное удаление атомов азота или атомов углерода или обеспечивать селективную замену атомов азота на атомы кислорода, или атомов углерода на атомы кислорода. В частных случаях реализации целесообразно осуществлять облучение нанопровода пучком ускоренных частиц через защитную маску, наклоненную под углом к оси пучка. Это позволяет даже при относительно «больших» размерах окон в защитной маске существенно уменьшить размеры подвергаемых преобразованию участков.

[24]

Наиболее эффективно использовать для преобразования веществ, обладающих сверхпроводящими свойствами, в несверхпроводящие путем использования в качестве ускоренных частиц протонов или атомов водорода. Для того чтобы эффективно осуществлять указанные преобразования целесообразно энергию частиц и время воздействия ускоренным пучком на выбранные участки нанопровода подбирать расчетным путем или экспериментально в зависимости от вещества нанопровода и требуемого состава токоограничителя (разделительного несверхпроводящего участка), обеспечивающего требуемый номинал резистора. Либо создание номинала нанорезистора - токоограничителя за счет изменения топологии (длины и ширины) окон, через которые происходит модификация исходного материала при фиксированных параметрах облучения.

[25]

Данный метод позволяет создавать любые номиналы токоограничителей в сверхпроводниковых нанопроводах, поскольку условия облучения позволяют управлять электрическими свойствами облучаемого материала, то есть материал может проявлять себя как диэлектрик или как металл в зависимости от соотношения кислорода и азота в модифицированной области.

[26]

Также данный метод является технологически простым, так как исключает множество стандартных технологических операций, которые в свою очередь очень сильно влияют на выход годных и на производительность технологии.

[27]

Сущность заявляемого способа поясняется примерами осуществления и графическими материалами, поясняющими процесс реализации.

[28]

На фиг. 1-3 представлены схематично (в плане) некоторые стадии процесса реализации: 1 - заготовка со сформированными секциями, параллельно соединенными с контактными площадками с помощью нанопроводов; 2 - заготовка с нанесенной маской с вскрытыми окнами; 3 - заготовка со сформированными в нанопроводах токоограничителями (нанорезисторами). На фиг. 2 показан вариант реализации способа с облучением нанопровода, осуществляемого пучком ускоренных частиц через защитную маску, наклоненную под углом к оси пучка (направление потока ускоренных частиц показано стрелками).

[29]

Пример 1. В самом общем случае способ осуществляется следующим образом. На подложке 1, выполненной из диэлектрика (лейкосапфира, оксидируемого кремния, нитрида кремния и др.), формируют заготовку прибора путем изготовления на ней любым из известных способов из нанопроводов 2 из сверхпроводящего вещества, состоящего из нескольких отдельных секций 3 в виде меандра, и параллельно соединенных с контактными площадками 4 с помощью нанопроводов 5. На заготовку с сформированными на ней любым из известных способов нанопроводами 2 и 5 из сверхпроводящего вещества наносят защитную маску 6 с выполненными в ней окнами 7 над соединительными нанопроводами 5 и помещают в рабочую камеру, где подвергают облучению пучком ускоренных частиц. В результате облучения в веществе нанопровода происходит селективное изменение атомного состава сверхпроводящего вещества, что приводит к переходу этого вещества в несверхпроводящее состояние. Таким образом, токоограничитель (нанорезистор) 8 оказывается сформированным.

[30]

Пример 2. Способ реализовывался следующим образом. В камере технологической установки на подложкодержателе устанавливается подложка (заготовка) 1 с изготовленными на ней секциями из нанопроводов из нитрида ниобия 2 и соединительных нанопроводов 5, заданные участки которых должны преобразоваться под воздействием потока ускоренных протонов.

[31]

Поверх размещается маска 6 с требуемым рисунком (с вскрытыми окнами 7), изготавливаемая по любой из известных технологий. Заготовка облучается протонами с расчетной энергией в диапазоне 0,1-4,5 кэВ до дозы, соответствующей минимальному значению, достаточному для требуемого частичного или полного удаления атомов азота из нитрида ниобия без маски. Соответствующее значение минимальной дозы облучения определяется заранее экспериментальным или расчетным путем. В результате взаимодействия материала с потоком ускоренных частиц под окнами 7 в маске 6 происходит требуемый частичный или полный переход нитрида ниобия в металлический ниобий, т.е переход в несверхпроводящее состояние при рабочей температуре. Таким образом, токоограничитель (нанорезистор) 8 оказывается сформированным.

[32]

Пример 3. Способ реализовывался следующим образом. В камере технологической установки на подложкодержателе устанавливается подложка (заготовка) 1 с изготовленными на ней секциями 3 из нанопроводов из нитрида ниобия 2 и соединительных нанопроводов 5, заданные участки которых должны преобразоваться под воздействием потока ускоренных протонов. Поверх размещается маска 6 с требуемым рисунком, изготавливаемая по любой из известных технологий. Заготовка облучается ускоренными частицами в присутствии кислорода с расчетной энергией, соответствующей минимальному значению, достаточному для частичного или полного замещения атомов азота из нитрида ниобия на атомы кислорода на участках, не закрытых маской. Соответствующее значение минимальной дозы облучения определяется заранее экспериментальным или расчетным путем. В результате взаимодействия материала с потоком ускоренных частиц под окнами 7 в маске 6 происходит частичный или полный переход нитрида ниобия в металлический оксид ниобия, т.е переход в несверхпроводящее состояние. Таким образом, токоограничитель (нанорезистор) 8 оказывается сформированным.

[33]

Пример 4. Способ реализовывался следующим образом. В камере технологической установки на подложкодержателе устанавливается подложка (заготовка) 1 с изготовленными на ней секциями 3 из нанопроводов из карбида ниобия 2 и соединительных нанопроводов 5, заданные участки которых должны преобразоваться под воздействием потока ускоренных протонов.

[34]

Поверх размещается маска 6 с требуемым рисунком, изготавливаемая по любой из известных технологий. Заготовка облучается протонами с расчетной энергией в диапазоне 0,1-4,5 кэВ до дозы, соответствующей минимальному значению, достаточному для частичного или полного удаления атомов углерода из карбида ниобия на участках, не защищенных маской. Соответствующее значение минимальной дозы облучения определяется заранее экспериментальным или расчетным путем. В результате взаимодействия материала с потоком ускоренных частиц под окнами 7 в маске 6 происходит частичный или полный переход карбида ниобия в ниобий, т.е переход в несверхпроводящее состояние при рабочей температуре. Таким образом, токоограничитель (нанорезистор) 8 оказывается сформированным.

[35]

Пример 5. Способ реализовывался следующим образом. В камере технологической установки на подложкодержателе устанавливается подложка (заготовка) 1 с изготовленными на ней секциями 3 из нанопроводов из карбида ниобия 2 и соединительных нанопроводов 5, заданные участки которых преобразуется под воздействием потока ускоренных атомов водорода в присутствии кислорода.

[36]

Поверх размещается маска 6 с требуемым рисунком, изготавливаемая по любой из известных технологий. Заготовка облучается атомами водорода в присутствии кислорода с расчетной энергией в диапазоне 0,1-4,5 кэВ до дозы, соответствующей минимальному значению, достаточному для требуемого частичного или полного удаления атомов азота из карбида ниобия на участках, не защищенных маской. Соответствующее значение минимальной дозы облучения определяется заранее экспериментальным или расчетным путем. В результате взаимодействия материала с потоком ускоренных частиц под окнами 7 в маске 6 происходит частичный или полный переход карбида ниобия в оксид ниобия, т.е. переход в несверхпроводящее состояние. Таким образом, токоограничитель (нанорезистор) 8 оказывается сформированным.

Как компенсировать расходы
на инновационную разработку
Похожие патенты