патент
№ RU 2630966
МПК B64C13/50

ЭЛЕКТРОПРИВОД ЛЕТАТЕЛЬНОГО АППАРАТА (ВАРИАНТЫ)

Авторы:
Исмагилов Флюр Рашитович Вавилов Вячеслав Евгеньевич Хайруллин Ирек Ханифович
Все (4)
Номер заявки
2016137415
Дата подачи заявки
19.09.2016
Опубликовано
15.09.2017
Страна
RU
Как управлять
интеллектуальной собственностью
Чертежи 
2
Реферат

Группа изобретений относится к авиакосмическим летательным аппаратам. Электропривод для летательного аппарата содержит корпус, шарико-винтовую пару, состоящую из гайки и винта, аксиальный подшипник, электродвигатель, зубчатую передачу, датчик положения ротора, демпфер и систему управления. Система управления выполнена с возможностью отключения и включения электромагнитного возбуждения демпферов и пуска/останова электродвигателя. По первому варианту гайка шарико-винтовой пары выполнена в виде двухстороннего конического зубчатого колеса. Демпфер выполнен в виде n-электромеханических демпферов с электромагнитным возбуждением, соединенных с гайкой шарико-винтовой передачи через зубчатые колеса. Вал электродвигателя расположен перпендикулярно винту шарико-винтовой передачи и соединен с гайкой шарико-винтовой передачи также через зубчатое колесо. По второму варианту: гайка шарико-винтовой пары выполнена в виде двухстороннего конического зубчатого колеса, электродвигатель выполнен с коническим ротором, демпфер выполнен в виде n-электромеханических демпферов с электромагнитным возбуждением, соединенных с гайкой шарико-винтовой передачи через зубчатые колеса. Вал электродвигателя расположен перпендикулярно винту шарико-винтовой передачи и соединен с гайкой шарико-винтовой передачи также через зубчатое колесо. Группа изобретений направлена на повышение надежности и энергоэффективности электропривода. 2 н.п. ф-лы, 2 ил.

Формула изобретения

1. Электропривод для летательных аппаратов, содержащий корпус, шарико-винтовую пару, состоящую из гайки и винта, аксиальный подшипник, электродвигатель, зубчатую передачу, датчик положения ротора, демпфер, систему управления, отличающийся тем, что гайка шарико-винтовой пары выполнена в виде двухстороннего конического зубчатого колеса, демпфер выполнен в виде n-электромеханических демпферов с электромагнитным возбуждением, соединенных с гайкой шарико-винтовой передачи через зубчатые колеса, вал электродвигателя расположен перпендикулярно винту шарико-винтовой передачи и соединен с гайкой шарико-винтовой передачи также через зубчатое колесо, при этом система управления выполнена с возможностью отключения и включения электромагнитного возбуждения демпферов и пуска/останова электродвигателя, причем система управления выполнена с соблюдением условия, что при пуске двигателя электромагнитное возбуждение демпфера снижается до значения, при котором демпфер поглощает не более 0,5% энергии в системе, а при останове электродвигателя - повышается до номинального значения.

2. Электропривод для летательных аппаратов, содержащий корпус, шарико-винтовую пару, состоящую из гайки и винта, аксиальный подшипник, электродвигатель, зубчатую передачу, датчик положения ротора, демпфер, систему управления, отличающийся тем, что гайка шарико-винтовой пары выполнена в виде двухстороннего конического зубчатого колеса, электродвигатель выполнен с коническим ротором, демпфер выполнен в виде n-электромеханических демпферов с электромагнитным возбуждением, соединенных с гайкой шарико-винтовой передачи через зубчатые колеса, вал электродвигателя расположен перпендикулярно винту шарико-винтовой передачи и соединен с гайкой шарико-винтовой передачи также через зубчатое колесо, причем между зубчатым колесом электродвигателя и гайкой шарико-винтовой передачи имеется зазор, при этом система управления выполнена с возможностью отключения и включения электромагнитного возбуждения демпферов и пуска/останова электродвигателя, причем система управления выполнена с соблюдением условия, что при пуске двигателя электромагнитное возбуждение демпфера снижается до значения, при котором демпфер поглощает не более 0,5% энергии в системе, а при останове электродвигателя - повышается до номинального значения.

Описание

[1]

Изобретение относится к области электромашиностроения и может быть использовано в качестве электропривода для авиакосмических летательных аппаратов.

[2]

Известен электропривод управления рулевыми поверхностями летательных аппаратов [патент РФ №2503583, кл. В64С 9/00, 2014 г.], содержащий корпус, шарико-винтовую передачу, связанную с валом руля, два гиромотора, вентильный электродвигатель, статор которого закреплен в корпусе привода.

[3]

Недостаток такой конструкции состоит в том, что предлагаемый электропривод не позволяет обеспечивать пассивный режим работы электропривода, так как подвергается значительным механическим нагрузкам, обусловленным аэродинамическими силами, а также сложность конструкции, обусловленная наличием гиромоторов.

[4]

Известен привод электрогидравлический [патент РФ №2474731, кл. F15B 11/15, 2013], содержащий электрический привод, насосную станцию, гидролинии с установленными на них клапанами прямого и обратного действия, силовой гидроцилиндр, шаговый двигатель, шарико-винтовую пару и вал-винт, два гидроцилиндра, соединенных между собой валом и гидролинией с установленными на ней клапанами прямого и обратного действия, датчик реверса его хода, блок управления, к входу которого подключен датчик реверса хода шток-поршня, а к выходам - шаговый двигатель и блоки клапанов прямого и обратного действия.

[5]

Недостатками данной конструкции являются значительные массогабаритные показатели и сложность ее конструкции, а также невысокая надежность, обусловленная применением гидравлического узла.

[6]

Известен электрогидравлический рулевой привод [патент РФ №2288133, В64С 1/00, 2006], содержащий корпус с каналами, соединенными с гидролиниями нагнетания, слива и полостями силового гидроцилиндра с силовым поршнем, электрогидравлический усилитель мощности, рулевую машину в виде гидроцилиндра с поршнем, связанным с золотниковым распределителем с буртами, электрогидравлический клапан, клапан включения в виде подпружиненного распределительного плунжера, к которому подведены гидролинии нагнетания, слива, полостей силового гидроцилиндра и золотникового распределителя, причем в приводе установлены два подпружиненных обратных клапана таким образом, что они обеспечивают прохождение рабочей жидкости в одну из полостей силового гидроцилиндра.

[7]

Недостатками данной конструкции являются значительные массогабаритные показатели и сложность ее конструкции, а также невысокая надежность, обусловленная применением гидравлического узла.

[8]

Известен электрогидравлический агрегат [патент РФ №2233768, МПК7 В64С 13/42, F15B 9/00,], содержащий корпус с каналами, соединенными с гидролиниями нагнетания и слива и полостями силового гидроцилиндра, электрогидравлический усилитель мощности, рулевую машину в виде гидроцилиндра с поршнем, связанным с золотниковым распределителем, электрогидравлический клапан, гидромеханическое устройство в виде механизма стопорения с поршнями и дифференциальной качалкой с шарнирными узлами, связанными с механизмом стопорения и с золотниковым распределителем, клапан включения с распределительным плунжером, к которому подведены гидролинии нагнетания (слива), полостей рулевой машины.

[9]

Наиболее близким к заявляемому по технической сущности и достигаемому результату является электропривод для летательных аппаратов [F. Claeyssen, P. , R. LeLetty, О. Sosniki, A. Pages, G. Magnac, M. Christmann, G. Dodds New Actuators for Aircraft, Space and Military Applications // ACTUATOR 2010, 12th International Conference on New Actuators, Bremen, Germany, 14-16 June 2010], содержащий корпус, шарико-винтовую пару, аксиальный подшипник, электродвигатель, зубчатую передачу, датчик положения ротора, демпфер с использованием магнитной жидкости.

[10]

Недостатками указанной конструкции являются ограниченные функциональные возможности, обусловленные применением демпфера с использованием магнитной жидкости и необходимость использования дополнительных датчиков для измерения момента и перемещения шарико-винтовой пары, кроме того, недостатком является механическая связь демпфера и электродвигателя, а также завышенные характеристики электродвигателя, обусловленные тем, что используется неуправляемый демпфер.

[11]

Задача изобретения - расширение функциональных возможностей, благодаря реализации пассивного и активного режимов работы электропривода, а также использованию в качестве демпфера n-электромеханических преобразователей с распределенной вторичной средой, а также возможность синтеза электромеханического демпфера и датчика момента и перемещения.

[12]

Техническим результатом является повышение надежности и энергоэффективности электропривода летательных аппаратов, снижение механических нагрузок в пассивном режиме работы электропривода, и повышения тем самым его ресурса работы, а также развязка демпфера и электродвигателя, в том числе и механическая.

[13]

Поставленная задача решается и указанный результат по первому варианту достигается тем, что в электроприводе для летательных аппаратов, содержащем корпус, шарико-винтовую пару, состоящую из гайки и винта, аксиальный подшипник, электродвигатель, зубчатую передачу, датчик положения ротора, демпфер, систему управления, согласно изобретению, гайка шарико-винтовой пары выполнена в виде двухстороннего конического зубчатого колеса, демпфер выполнен в виде n-электромеханических демпферов с электромагнитным возбуждением, соединенных с гайкой шарико-винтовой передачи через зубчатые колеса, вал электродвигателя расположен перпендикулярно винту шарико-винтовой передачи и соединен с гайкой шарико-винтовой передачи также через зубчатое колесо, при этом система управления выполнена с возможностью отключения и включения электромагнитного возбуждения демпферов и пуска/останова электродвигателя, причем система управления выполнена с соблюдением условия, что при пуске двигателя электромагнитное возбуждение демпфера снижается до значения, при котором демпфер поглощает не более 0,5% энергии в системе, а при останове электродвигателя - повышается до номинального значения.

[14]

Поставленная задача решается и указанный результат по второму варианту достигается тем, что в электроприводе для летательных аппаратов, содержащем корпус, шарико-винтовую пару, состоящую из гайки и винта, аксиальный подшипник, электродвигатель, зубчатую передачу, датчик положения ротора, демпфер, систему управления, согласно изобретению, гайка шарико-винтовой пары выполнена в виде двухстороннего конического зубчатого колеса, электродвигатель выполнен с коническим ротором, демпфер выполнен в виде n-электромеханических демпферов с электромагнитным возбуждением, соединенных с гайкой шарико-винтовой передачи через зубчатые колеса, вал электродвигателя расположен перпендикулярно винту шарико-винтовой передачи и соединен с гайкой шарико-винтовой передачи также через зубчатое колесо, причем между зубчатым колесом электродвигателя и гайкой шарико-винтовой передачи имеется зазор, при этом система управления выполнена с возможностью отключения и включения электромагнитного возбуждения демпферов и пуска/останова электродвигателя, причем система управления выполнена с соблюдением условия, что при пуске двигателя электромагнитное возбуждение демпфера снижается до значения, при котором демпфер поглощает не более 0,5% энергии в системе, а при останове электродвигателя - повышается до номинального значения.

[15]

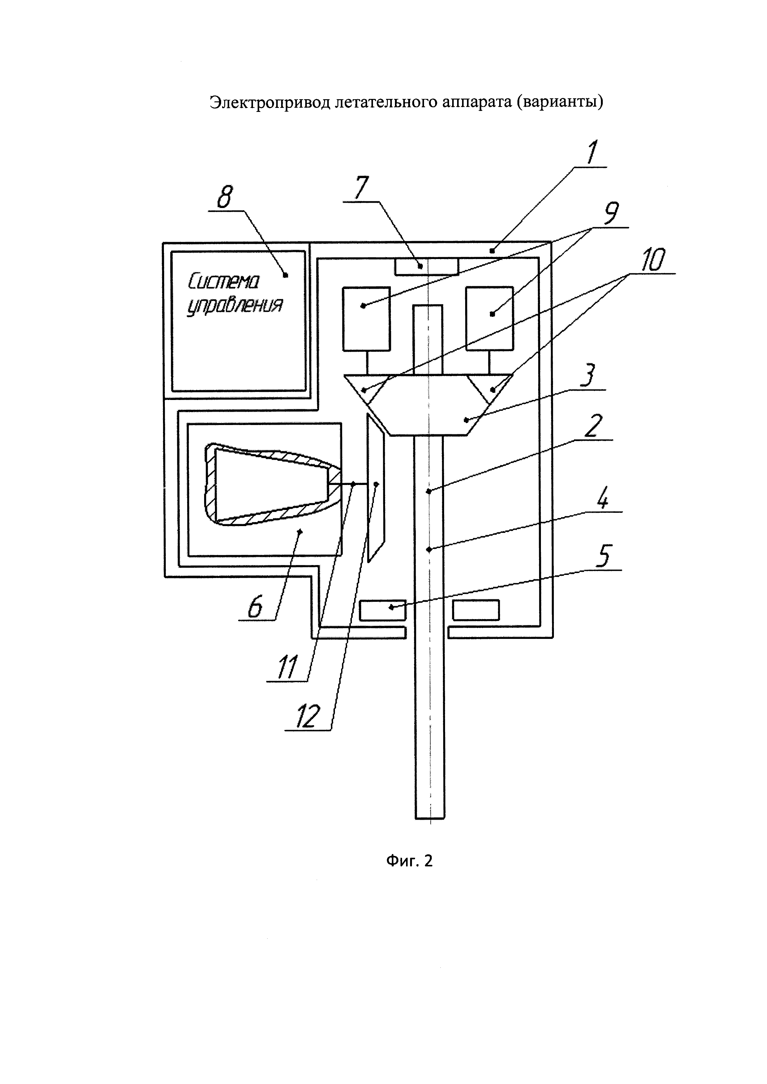
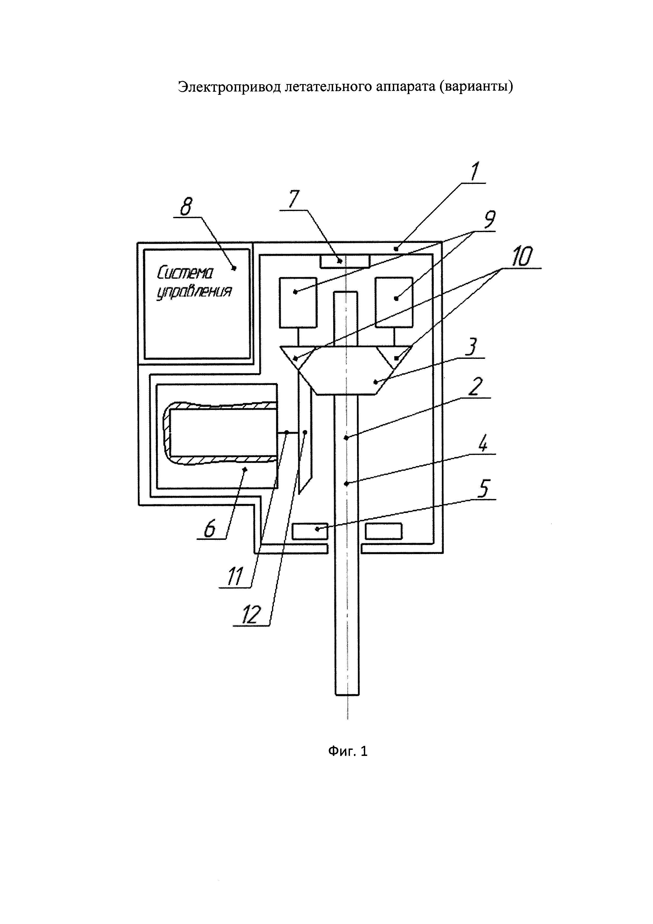
Существо изобретения поясняется чертежами. На фигуре 1 изображен разрез электропривода летательного аппарата по первому варианту. На фигуре 2 изображен разрез электропривода летательного аппарата по второму варианту.

[16]

Предложенное устройство по первому варианту содержит (фиг. 1) корпус 1, шарико-винтовую пару 2, состоящую из гайки 3, выполненной в виде двухстороннего конического зубчатого колеса и винта 4, аксиальный подшипник 5, электродвигатель 6, датчик положения ротора 7, систему управления 8, n-электромеханических демпферов с электромагнитным возбуждением 9, соединенных с гайкой шарико-винтовой передачи через зубчатые колеса 10, вал электродвигателя 11, расположенный перпендикулярно винту 4 шарико-винтовой передачи и соединенный с гайкой 3 шарико-винтовой передачи также через зубчатое колесо 12.

[17]

Предложенное устройство по второму варианту содержит (фиг. 2) корпус 1, шарико-винтовую пару 2, состоящую из гайки 3, выполненной в виде двухстороннего конического зубчатого колеса и винта 4, аксиальный подшипник 5, электродвигатель с коническим ротором 6, датчик положения ротора 7, систему управления 8, n-электромеханических демпферов с электромагнитным возбуждением 9, соединенных с гайкой шарико-винтовой передачи через зубчатые колеса 10, вал электродвигателя 11, расположенный перпендикулярно винту 4 шарико-винтовой передачи и соединенный с гайкой 3 шарико-винтовой передачи также через зубчатое колесо 12, причем между зубчатым колесом электродвигателя с коническим ротором 6 и гайкой 3 шарико-винтовой передачи имеется зазор.

[18]

Устройство по первому варианту работает следующим образом: шарико-винтовая передача обеспечивает преобразование вращательного движения зубчатого колеса 12 электродвигателя 6, которое достигается подачей электрического тока от системы управления 8 на обмотки электродвигателя 6, в поступательное движение винта 4. Данный режим работы является активным режимом для электропривода летательного аппарата. При этом винт 4 на своем конце несет полезную нагрузку, например, управляет закрылком летательного аппарата или положением в пространстве какой-либо платформы, в том числе платформы Стюарта. Система управления 8 при подаче электрического тока на обмотки электродвигателя 6 производит снижение подачи тока на обмотки n-электромеханических демпферов с электромагнитным возбуждением 9 до минимального значения, при котором демпферы поглощают не более 0,5% энергии в системе (что снижает их электромагнитное возбуждение), при этом ротор n-электромеханических демпферов 9 вращается, но энергия, поглощаемая ими, минимальна. Это обеспечивает развязку n-электромеханических демпферов 9 и электродвигателя 6. При этом вращение ротора n-электромеханических демпферов 9, благодаря соединению с гайкой шарико-винтовой передачи через зубчатые колеса 10 с минимальным поглощением энергии, позволяет измерять момент и перемещение винта 4 шарико-винтовой передачи, тем самым достигается возможность синтеза электромеханического демпфера и датчика момента и перемещения. Когда прекращается подача тока на обмотки электродвигателя 6, система управления 8 подает номинальный ток на обмотки n-электромеханических демпферов с электромагнитным возбуждением 9, при этом электропривод летательного аппарата работает в пассивном режиме, в котором вся энергия, создающая поступательное движение или вибрации на выходном конце винта 4, передается через гайку 3 шарико-винтовой передачи на зубчатые колеса 10, обеспечивая тем самым вращение ротора, поглощается n-электромеханическими демпферами с электромагнитным возбуждением 9. То есть данная энергия не приводит к износу или разрушению электропривода летательных аппаратов, что обеспечивает снижение механических нагрузок в пассивном режиме работы электропривода, и повышения тем самым его ресурса работы.

[19]

Устройство по второму варианту работает следующим образом: шарико-винтовая передача обеспечивает преобразование вращательного движения зубчатого колеса 12 электродвигателя с коническим ротором 6, которое достигается подачей электрического тока от системы управления 8 на обмотки электродвигателя с коническим ротором 6, в поступательное движение винта 4. При этом зацепление зубчатого колеса 12 и гайки 3 шарико-винтовой пары происходит также при подаче тока на обмотки электродвигателя с коническим ротором 6 за счет аксиальных сил, обусловленных асимметричностью конического ротора электродвигателя 6. При прекращении подачи тока на обмотки происходит расцепление колеса 12 и гайки 3 шарико-винтовой пары. Данный режим работы является активным режимом для электропривода летательного аппарата. При этом винт 4 на своем конце несет полезную нагрузку, например, управляет закрылком летательного аппарата или положением в пространстве какой-либо платформы, в том числе платформы Стюарта. Система управления 8, при подаче электрического тока на обмотки электродвигателя 6, производит снижение подачи тока на обмотки n-электромеханических демпферов с электромагнитным возбуждением 9 до минимального значения, при котором демпферы поглощают не более 0,5% энергии в системе (снижает их электромагнитное возбуждение), при этом ротор n-электромеханических демпферов 9 вращается, но энергия поглощаемая ими минимальна. Это обеспечивает развязку n-электромеханических демпферов 9 и электродвигателя 6. При этом вращение ротора n-электромеханических демпферов 9, благодаря соединению с гайкой шарико-винтовой передачи через зубчатые колеса 10 с минимальным поглощения энергии, позволяет измерять момент и перемещение винта 4 шарико-винтовой передачи, тем самым достигается возможность синтеза электромеханического демпфера и датчика момента и перемещения. Когда прекращается подача тока на обмотки электродвигателя 6, система управления 8 подает номинальный ток на обмотки n-электромеханических демпферов с электромагнитным возбуждением 9, при этом электропривод летательного аппарата работает в пассивном режиме, в котором вся энергия, создающая поступательное движение или вибрации на выходном конце винта 4, передается через гайку 3 шарико-винтовой передачи на зубчатые колеса 10, обеспечивая тем самым вращение ротора, поглощается n-электромеханическими демпферами с электромагнитным возбуждением 9. То есть данная энергия не приводит к износу или разрушению электропривода летательных аппаратов, что обеспечивает снижение механических нагрузок в пассивном режиме работы электропривода и повышение тем самым его ресурса работы.

[20]

В результате повышается надежность, энергоэффективность системы на гибридных магнитных подшипниках, а также обеспечивается получение информации о положение ротора, его вибрациях и колебаниях непосредственно с радиального пассивного демпфера.

[21]

Итак, достигается расширение функциональных возможностей электропривода летательных аппаратов, благодаря реализации пассивного и активного режимов работы электропривода и достигается синтез электромеханического демпфера и датчика момента и перемещения.

[22]

Таким образом, обеспечивается повышение надежности и энергоэффективности электропривода летательных аппаратов, снижаются механические нагрузки в пассивном режиме работы электропривода, и повышается тем самым его ресурс работы, а также обеспечивается развязка демпфера и электродвигателя.

Как компенсировать расходы
на инновационную разработку
Похожие патенты