патент
№ RU 2649221
МПК G01M11/02

УСТРОЙСТВО ДЛЯ КОНТРОЛЯ ЛАЗЕРНОГО ПРИБОРА НАВЕДЕНИЯ

Авторы:
Бахалдин Александр Иванович
Номер заявки
2016151690
Дата подачи заявки
28.12.2016
Опубликовано
30.03.2018
Страна
RU
Как управлять
интеллектуальной собственностью
Чертежи 
2
Реферат

Изобретение относится к оптическому приборостроению и может быть использовано для контроля параметров лазерного прибора, содержащего излучающий и наблюдательный каналы. Устройство для контроля лазерного прибора наведения содержит два канала, один из которых визирный или телевизионный, а второй лазерный, объектив, тест-объект, расположенный в фокальной плоскости объектива, изготовленный в виде сетки, нанесенной на прозрачную плоскопараллельную пластину и представляющей собой прозрачные участки, а именно штрихи, содержащей на непрозрачном фоне как минимум один круговой прозрачный элемент-диафрагму, а также штриховые прозрачные элементы в виде неполного перекрестия, симметричного относительно центра диафрагмы, между объективом и тест-объектом расположена система зеркал, за которой, в свою очередь, расположена система подсветки тест-объекта, и приемник лучистой энергии. Оптический блок выполнен в виде ромб-призмы и двух клиньев, расположенных перед объективом, а перед оптическим блоком расположено защитное стекло, оптический блок выполнен в виде неподвижной призмы, поворачивающей ход оптической оси на 90° и состоящей из склеенной ромб-призмы и призмы АР-90°, причем призма АР-90° установлена перед объективом, на его оптической оси и сопряжена с лазерным каналом, совмещая последний с оптической осью объектива, а до ромб-призмы в визирном канале установлены два клина с возможностью вращения вокруг оптической оси визирного канала и с возможностью фиксации в выбранном положении. Диафрагма, расположенная по центру тест-объекта, выполнена в виде кругового прозрачного элемента, система подсветки тест-объекта выполнена в виде матрицы из источников излучения, а между системой подсветки и тест-объектом установлена матированная пластина с прозрачной центральной зоной, причем внешний радиус матированной зоны, подсвеченной матрицей из источников света, превышает радиальные координаты точек всех прозрачных элементов тест-объекта, система зеркал выполнена в виде зеркальных элементов, образующих жесткий зеркальный модуль, кроме того, за системой подсветки расположен оптический узел в виде второй ромб-призмы, на оптической оси которой расположен приемник излучения за вторым защитным стеклом. Технический результат – возможность установки устройства на подвижном объекте. 6 з.п. ф-лы, 2 ил.

Формула изобретения

1. Устройство для контроля лазерного прибора наведения, имеющее два канала, один из которых визирный или телевизионный, а второй лазерный, содержащее объектив, тест-объект, расположенный в фокальной плоскости объектива, изготовленный в виде сетки, нанесенной на прозрачную плоскопараллельную пластину и представляющей собой прозрачные участки, а именно штрихи, содержащей на непрозрачном фоне как минимум один круговой прозрачный элемент, а также штриховые прозрачные элементы в виде неполного перекрестия, симметричного относительно центра тест-объекта, между объективом и тест-объектом расположена система зеркал, за которой, в свою очередь, расположена система подсветки тест-объекта, и приемник лучистой энергии, оптический блок, выполненный в виде ромб-призмы и двух клиньев, расположенных перед объективом, а перед оптическим блоком расположено защитное стекло, оптический блок выполнен в виде неподвижной призмы, поворачивающей ход оптической оси на 90° и состоящей из склеенной ромб-призмы и призмы АР-90°, причем призма АР-90° установлена перед объективом, на его оптической оси и сопряжена с лазерным каналом, совмещая последний с оптической осью объектива, а до ромб-призмы в визирном канале установлены два клина с возможностью вращения вокруг оптической оси визирного канала и с возможностью фиксации в выбранном положении, отличающееся тем, что диафрагма, расположенная по центру тест-объекта, выполнена в виде кругового прозрачного элемента, система подсветки тест-объекта выполнена в виде матрицы из источников излучения, а между системой подсветки и тест-объектом установлена матированная пластина с прозрачной центральной зоной, причем внешний радиус матированной зоны, подсвеченной матрицей из источников света, превышает радиальные координаты точек всех прозрачных элементов тест-объекта, система зеркал выполнена в виде зеркальных элементов, образующих жесткий зеркальный модуль, кроме того, за системой подсветки расположена вторая ромб-призма, на оптической оси которой расположен приемник излучения за вторым защитным стеклом.

2. Устройство по п. 1, отличающееся тем, что система зеркал выполнена по крайней мере из четырех элементов с зеркальной поверхностью, три из которых конструктивно объединены в жесткий зеркальный модуль.

3. Устройство по п. 1, отличающееся тем, что оптическое покрытие защитного стекла в зоне светового диаметра визирного или телевизионного канала выполнено со спектральной характеристикой с минимумом пропускания для излучения с рабочей длиной волны лазерного канала.

4. Устройство по п. 1, отличающееся тем, что оптическое покрытие защитного стекла в зоне светового диаметра лазерного канала выполнено со спектральной характеристикой с максимумом пропускания для излучения с рабочей длиной волны лазерного канала.

5. Устройство по п. 1, отличающееся тем, что световой диаметр второго защитного стекла выполнен с учетом дифракционной расходимости излучения, прошедшего диафрагму тест-объекта.

6. Устройство по п. 1, отличающееся тем, что часть прозрачных штриховых элементов тест-объекта выполнена в виде миры для оценки разрешающей способности канала.

7. Устройство по п. 1, отличающееся тем, что часть прозрачных элементов тест-объекта выполнена с заданным угловым расстоянием между ее элементами, например, в одну тысячную дистанции.

Описание

[1]

Изобретение относится к оптическому приборостроению и может быть использовано для контроля параметров лазерного прибора, содержащего излучающий и наблюдательный каналы.

[2]

Известно устройство для контроля лазерного прибора, описанное в патенте RU 2335751; МПК G01M 11/02; опубл. 2008 г., содержащее объектив, тест-объект, расположенный в фокальной плоскости объектива, систему подсветки, включающую источник света и конденсор, а также призменный оптический блок, находящийся перед объективом и имеющий два канала и два клина. Первый канал - визирный, второй - лазерный. Два клина установлены с возможностью вращения вокруг осей соответствующих каналов оптического блока и с возможностью фиксации в выбранном положении. При этом устройство дополнительно снабжено регистрирующим блоком, состоящим из узла диафрагм и оптического узла, за которым расположен приемник лучистой энергии. Оптический блок выполнен с возможностью вывода из оптической системы. Между двумя клиньями оптического блока установлена ромб-призма, совмещающая оптическую ось визирного и лазерного каналов. Тест-объект изготовлен в виде сетки, нанесенной на стеклянную плоскопараллельную пластину, и представляет собой прозрачные участки, а именно прозрачные штрихи и круги, на непрозрачном фоне. Но у данного устройства сложная конструкция, связанная с выделением контролируемых световых потоков с помощью ряда световодов и дополнительных оптических элементов. Устройство имеет в регистрирующем блоке три диафрагмы, две линзы и шесть световодов, что усложняет конструкцию, а необходимость переключения оптического блока из положения для визирования перекрестия в положение для контроля мощности световых потоков и параллельности визирного и лазерного каналов контролируемого прибора затрудняет получение требуемой точности. Кроме того, устройство имеет значительную трудоемкость изготовления, например, при обработке торцов световодов и качественной сборке узла световодов. При этом затруднен точный контроль мощности выделенных потоков излучения лазерного канала из-за неизбежного технологического разброса пропускания отдельных световодов и сопряженных с ними оптических элементов.

[3]

Наиболее близким аналогом заявляемого технического решения является устройство для контроля лазерного прибора, описанное в патенте RU №2419079; МПК G01M 11/02; опубл. 2011 г., содержащее объектив и тест-объект в виде сетки, нанесенной на плоскопараллельную пластину. Рисунок сетки содержит прозрачные штрихи и круги на непрозрачном фоне. Система подсветки тест-объекта включает источник света и конденсор. Перед объективом установлен оптический блок, выполненный в виде неподвижной призмы, поворачивающей ход оптической оси на 90°, причем призма склеена из ромб-призмы и призмы АР-90°, и призма АР-90° установлена перед объективом на его оптической оси, и имеющий два канала, один из которых визирный или телевизионный, второй лазерный. Лазерный канал оптически сопряжен с призмой АР-90°, совмещая последний с оптической осью объектива, причем до ромб-призмы в визирном или телевизионном канале установлены два клина с возможностью вращения вокруг оптической оси визирного канала оптического блока и с возможностью фиксации в выбранном положении и регистрирующий блок, расположенный за тест-объектом, состоящий из последовательно установленных на оптической оси узла диафрагм и оптического узла, содержащего одиночную положительную линзу и светоделительную призму, установленную за одиночной положительной линзой на оптической оси и поворачивающую ход лучей на 90° в регистрирующем блоке к приемнику лучистой энергии, причем узел диафрагм регистрирующего блока выполнен в виде маски, представляющей собой непрозрачный диск с светопроницаемыми участками, а маска, одиночная линза и светоделительная призма оптического узла включены как элементы в систему подсветки. Но у данного устройства относительно большие габариты, затрудняющие его использование для контроля прицела прибора наведения, установленного на подвижном объекте. Кроме того, устройство имеет сложную конструкцию, так как содержит большое количество оптических элементов, так как за тест-объектом установлены четыре одиночные линзы и склеенная светоделительная призма.

[4]

Задачей изобретения является создание устройства для контроля лазерного прибора наведения с уменьшенными габаритами, позволяющего добиться технического результата, заключающегося в возможности установки устройства на подвижном объекте.

[5]

Это достигается тем, что в устройстве для контроля лазерного прибора наведения, имеющем два канала, один из которых визирный или телевизионный, а второй лазерный, содержащем объектив, тест-объект, расположенный в фокальной плоскости объектива, изготовленный в виде сетки, нанесенной на прозрачную плоскопараллельную пластину и представляющей собой прозрачные участки, а именно штрихи, содержащей на непрозрачном фоне как минимум один круговой прозрачный элемент, а также штриховые прозрачные элементы в виде неполного перекрестия, симметричного относительно центра тест-объекта, между объективом и тест-объектом расположена система зеркал, за которым, в свою очередь, расположена система подсветки тест-объекта, и приемник лучистой энергии, оптический блок, выполненный в виде ромб-призмы и двух клиньев, расположенных перед объективом, а перед оптическим блоком расположено защитное стекло, оптический блок выполнен в виде неподвижной призмы, поворачивающей ход оптической оси на 90° и состоящей из склеенной ромб-призмы и призмы АР-90°, причем призма АР-90° установлена перед объективом, на его оптической оси и сопряжена с лазерным каналом, совмещая последний с оптической осью объектива, а до ромб-призмы в визирном канале установлены два клина с возможностью вращения вокруг оптической оси визирного канала и с возможностью фиксации в выбранном положении, в отличие от известного диафрагма, расположенная по центру тест-объекта, выполнена в виде кругового прозрачного элемента, система подсветки тест-объекта выполнена в виде матрицы из источников излучения, а между системой подсветки и тест-объектом установлена матированная пластина с прозрачной центральной зоной, причем внешний радиус матированной зоны, подсвеченной матрицей из источников света, превышает радиальные координаты точек всех прозрачных элементов тест-объекта, система зеркал выполнена в виде зеркальных элементов, образующих жесткий зеркальный модуль, кроме того, за системой подсветки расположен оптический узел в виде второй ромб-призмы, на оптической оси которой расположен приемник излучения за вторым защитным стеклом.

[6]

Кроме того, система зеркал может быть выполнена по крайней мере из четырех элементов с зеркальной поверхностью, три из которых конструктивно объединены в жесткий зеркальный модуль, оптическое покрытие защитного стекла в зоне светового диаметра визирного или телевизионного канала может быть выполнено со спектральной характеристикой с минимумом пропускания для излучения с рабочей длиной волны лазерного канала, оптическое покрытие защитного стекла в зоне светового диаметра лазерного канала может быть выполнено со спектральной характеристикой с максимумом пропускания для излучения с рабочей длиной волны лазерного канала.

[7]

Кроме того, световой диаметр второго защитного стекла может быть выполнен с учетом дифракционной расходимости излучения, прошедшего диафрагму тест-объекта, часть прозрачных штриховых элементов тест-объекта может представлять собой структуру для оценки разрешающей способности канала, например, радиальную миру, а часть прозрачных элементов тест-объекта представляет собой структуру с заданным угловым расстоянием между ее элементами, например, в одну тысячную дистанции.

[8]

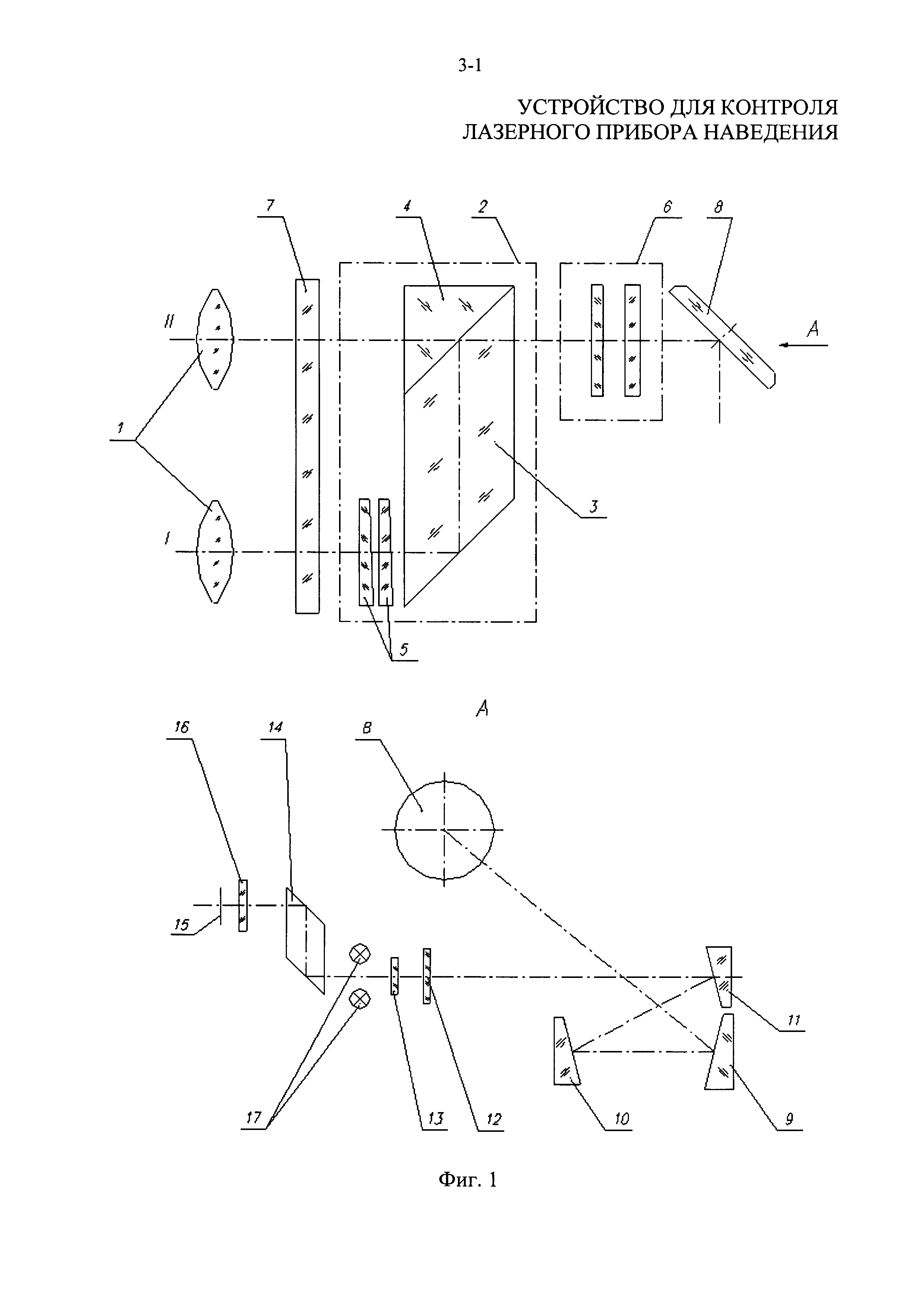
Сущность изобретения поясняется графически на фиг. 1, где показаны основные элементы устройства и их взаимосвязи. На фиг. 2 детально показаны элементы тест-объекта.

[9]

В устройстве для контроля лазерного прибора наведения на фиг. 1 обозначены выходные оптические элементы 1 двух каналов контролируемого лазерного прибора наведения. Контролируемый прибор имеет два канала, один из которых I - визирный или телевизионный, а второй II - лазерный. Оба канала контролируемого прибора совмещаются с такими же каналами оптического блока 2 устройства для контроля лазерного прибора наведения. Оптический блок 2 выполнен в виде ромб-призмы 3, склеенной с призмой 4, выполненной в виде призмы АР-90°. В визирном канале между ромб-призмой 3 и контролируемым прибором находятся два одинаковых клина 5, установленных с возможностью вращения вокруг оси визирного канала для юстировки устройства и с возможностью фиксации в выбранном положении, лазерный канал оптически сопряжен с призмой 4 (АР-90°), которая совмещает лазерный канал с оптической осью объектива 6. В свою очередь, ромб-призма 3 совмещает визирный канал с оптической осью объектива 6. Поэтому оптический блок 2 поворачивает оси визирного и лазерного каналов на 90° и со стороны объектива 6 образуется единая оптическая ось, выходящая из призмы 5 АР-90°. Между контролируемым прибором и оптическим блоком 2 расположено защитное стекло 7. Объектив 6 расположен за оптическим блоком 2. Для компактного выполнения всего устройства используют систему зеркал, выполненную в виде плоского зеркала 8 и жесткого зеркального модуля, образованного зеркальными элементами 9, 10 и 11. В отличие от «плоскостной» системы зеркал, использованной в прототипе, элементы предлагаемой оптической системы прибора могут быть размещены в разнесенных, например, по вертикали плоскостях, что позволяет существенно уменьшить внешние габариты предлагаемого устройства. Вместе с тем, возникает опасность нестабильности относительного расположения оптических особенно зеркальных элементов системы, подвергающейся температурным и вибрационным воздействиям. В связи с этим, конфигурация зеркал 9, 10, 11 выбрана исходя из удобства их выполнения в виде относительно небольшого жесткого трехзеркального модуля, заключающего в себе значительную часть расстояния вдоль оптической оси от объектива до плоскости изображения, совмещенной с плоскостью тест-объекта 12, где излучение лазерного канала концентрируется в зоне кругового прозрачного элемента-диафрагмы, выполненной в виде прозрачного кругового элемента по центру тест-объекта 12. Кроме того, тест-объект 12, изготовленный в виде сетки, нанесенной на прозрачную плоскопараллельную пластину и представляющей собой прозрачные участки, а именно штрихи, содержащей на непрозрачном фоне как минимум один круговой прозрачный элемент-диафрагму, а также штриховые прозрачные элементы в виде неполного перекрестия, симметричного относительно центра диафрагмы. За тест-объектом 12 расположена матированная пластина 13 с центральной прозрачной зоной, за которой расположена вторая ромб-призма 14 и приемник лучистой энергии 15, входящий в состав фотоэлектрического блока. Матированная пластина 13, выполненная с прозрачной центральной зоной, причем внешний радиус матированной зоны, подсвеченной системой подсветки, превышает радиальные координаты точек всех прозрачных элементов тест-объекта 12. Между второй ромб-призмой 14 и приемником лучистой энергии 15 находится второе защитное стекло 16. Система подсветки тест-объекта 12 выполнена в виде матрицы 17 из источников излучения.

[10]

Предлагаемое устройство работает следующим образом.

[11]

Устройство для контроля лазерного прибора наведения работает следующим образом.

[12]

Лазерный прибор наведения и устройство для контроля лазерного прибора наведения взаимным смещением и разворотом с помощью их опорно-поворотных узлов согласовывают по направлениям I и II оптических осей лазерного и визуального или телевизионного каналов. При включении лазерного канала контролируемого прибора его излучение через верхнюю (фиг. 1) зону защитного стекла 7 последовательно проходит прямоугольную призму 4, ромб-призму 3 и объектив 6, формирующий изображение в плоскости тест-объекта 12 через пространственную систему зеркал 8, 9, 10, 11. Часть этого излучения проходит диафрагму, выполненную на тест-объекте 12, дифрагирует на ней и в виде расширенного дифракцией светового пучка проходит через центральную прозрачную зону матированной пластины 13 и далее между источниками света, составляющими матрицу 17, проходит через вторую ромб-призму 14 и второе защитное стекло 16 на чувствительную площадку приемника лучистой энергии 15, где преобразуется в электрический сигнал, параметры которого содержат информацию об угловом рассогласовании каналов контролируемого прибора и мощности излучения его лазерного канала. Дополнительно может быть проверена разрешающая способность визирного или телевизионного канала контролируемого лазерного прибора наведения. Для этого матрицей 17 источников света подсвечивают матированную пластину 13, рассеянный свет от которой подсвечивает периферийную зону тест-объекта 12, содержащую линейные прозрачные элементы, изображаемые как бесконечно удаленные объекты системой из зеркал 11, 10, 9, 8, объектива 6, призм 3 и 4 по двум направлениям проекции I и II, обозначенным на чертеже. Параллельность этих направлений может быть с необходимой точностью обеспечена при юстировке предлагаемого устройства с помощью клинового компенсатора 5.

[13]

Угловым перемещением контролируемого прибора можно добиться, чтобы неполное перекрестие тест-объекта 12 наблюдалось через визирный или телевизионный канал как центрированное относительно перекрестия в его поле зрения. При этом в случае исправности контролируемого прибора параметры фотоэлектрического сигнала на выходе фотоприемника 15 должны соответствовать допустимому угловому рассогласованию лазерного и визирного или телевизионного каналов, а также требуемой мощности лазерного канала. Изменение указанных параметров сигнала может контролироваться при изменении направления визирования от центра тест-объекта на линейные элементы тест-объекта, смещенные от центра на известную величину по вертикали и горизонтали, например, в одну тысячную дистанции. В процессе описанного контроля может быть проверена и разрешающая способность визирного или телевизионного канала наблюдением зоны тест-объекта 12, где расположена клиновидная структура (мира), позволяющая оценить разрешающую способность по положению границ миры, где ее штриховые элементы визуально оцениваются как раздельные. Дополнительно может быть проверена эффективность подавления паразитных бликов, возможных в поле зрения визирного или телевизионного канала контролируемого прибора. Механизм их возникновения связан, в частности, с проникновением излучения лазерного канала через предлагаемое устройство в визирный или телевизионный канал контролируемого лазерного прибора наведения. Для исключения такой возможности защитное стекло 7 может быть выполнено с оптическим покрытием, имеющим спектральное пропускание, минимальное для рабочей длины волны лазерного канала в пределах светового диаметра визирного или телевизионного канала, причем в пределах светового диаметра лазерного канала защитное стекло 7 выполнено с высоким значением пропускания покрытия для рабочей длины волны лазерного канала.

[14]

Таким образом, достигнут технический результат - создано компактное устройство для контроля лазерного прибора наведения с возможностью установки устройства на подвижном объекте.

Как компенсировать расходы
на инновационную разработку
Похожие патенты