патент
№ RU 2238849
МПК B30B15/00

СИЛОВОЙ ПРИВОД ПОДВИЖНОГО ЭЛЕМЕНТА ПРЕССА

Авторы:
Малюгин С.В. Семионов Е.Н. Кочурков А.А.
Все (5)
Номер заявки
2003104297/02
Дата подачи заявки
13.02.2003
Опубликовано
27.10.2004
Страна
RU
Как управлять
интеллектуальной собственностью
Реферат

[19]

Изобретение относится к прессовому оборудованию для обработки материалов давлением и может быть использовано при создании силовых приводов пневмогидравлических прессов. Силовой привод включает рабочий и силовой цилиндры, жестко соединенные с подвижным и неподвижным элементами пресса, и систему воздухораспределения, сообщенную с рабочим и силовым цилиндрами. Поршневая полость рабочего цилиндра сообщена со штоковой полостью силового цилиндра через канал, выполненный в штоке силового цилиндра с возможностью перекрывания его при помощи клапана. Привод снабжен вспомогательным пневмоприводом двустороннего действия с цилиндром. Конструктивные элементы цилиндра жестко связаны с подвижным и неподвижным элементами пресса. Поршневая полость цилиндра вспомогательного пневмопривода и штоковая полость силового цилиндра подключены к системе воздухораспределения параллельно. Поршневая полость цилиндра вспомогательного пневмопривода сообщена с системой воздухораспределения через дроссель с обратным клапаном, запирающим отвод из упомянутой поршневой полости сжатого воздуха, а штоковая полость сообщена со штоковой полостью рабочего цилиндра. В результате исключается опускание подвижного элемента пресса в момент переключения с режима подъема на низком давлении на режим высокого давления и увеличивается усилие размыкания рабочих частей. 2 з.п. ф-лы, 1 ил.

[20]

Формула изобретения

1. Силовой привод подвижного элемента пресса, включающий рабочий и силовой цилиндры, жестко соединенные с подвижным и неподвижным элементами пресса, и систему воздухораспределения, сообщенную с рабочим и силовым цилиндрами, причем поршневая полость рабочего цилиндра сообщена со штоковой полостью силового цилиндра через канал, выполненный в штоке силового цилиндра с возможностью перекрывания его при помощи клапана, отличающийся тем, что он снабжен вспомогательным пневмоприводом двустороннего действия с цилиндром, конструктивные элементы которого жестко связаны с подвижным и неподвижным элементами пресса, поршневая полость цилиндра вспомогательного пневмопривода и штоковая полость силового цилиндра подключены к системе воздухораспределения параллельно, поршневая полость цилиндра вспомогательного пневмопривода сообщена с системой воздухораспределения через дроссель с обратным клапаном, запирающим отвод из упомянутой поршневой полости сжатого воздуха, а штоковая полость сообщена со штоковой полостью рабочего цилиндра

2. Привод по п.1, отличающийся тем, что дроссель с обратным клапаном выполнен регулируемым.

3. Привод по п.1 или 2, отличающийся тем, что шток вспомогательного пневмопривода выполнен с продольными каналами, соединяющими его штоковую и поршневую полости с системой воздухораспределения.

Описание

[1]

Изобретение относится к прессовому оборудованию для обработки материалов давлением и может быть использовано при создании силовых приводов пневмогидравлических прессов.

[2]

При производстве изделий с помощью пневмогидравлических прессов вначале производят перемещение подвижного элемента на режиме низкого давления, а затем осуществляют смыкание рабочих частей на высоком давлении, обеспечивая необходимое усилие прессования. Такие прессы обладают рядом преимуществ: давления сжатого воздуха 3-6 ати для них вполне достаточно для создания любого требуемого усилия прессования, они бесшумны в работе, компактны, просты в эксплуатации.

[3]

Известен пневмогидравлический пресс (журнал “Пластические массы” № 3, 1979, с. 13-14), содержащий нижний и верхний цилиндры, смонтированные соосно в едином корпусе, в штоке нижнего цилиндра выполнено отверстие с клапаном, а нижний цилиндр заполнен рабочей жидкостью; шток верхнего цилиндра соединен с неподвижным элементом пресса, а подвижной элемент соединен с корпусом цилиндров, полости нижнего и верхнего цилиндров соединены с пневмосетью через систему пневмораспределения. Однако такая конструкция пресса не исключает произвольного опускания подвижного элемента (плиты), например, в случае внезапного нарушения герметичности подводящих трубопроводов и т.п., что является небезопасным при эксплуатации.

[4]

Известно техническое решение, принятое за прототип, в соответствии с авторским свидетельством №1148802 (опубл. 07.04.85), согласно которому силовой привод пресса представляет собой силовой и рабочий цилиндры, смонтированные соосно в общем корпусе, силовой цилиндр заполнен рабочей жидкостью, шток рабочего цилиндра связан с подвижным элементом пресса, а в штоке силового цилиндра выполнено отверстие и смонтирован клапан, разделяющий полости рабочего и силового цилиндров, кроме того, имеется вспомогательный цилиндр, выполненный в виде цилиндрического корпуса, жестко связанный с подвижным элементом, внутренней поверхностью сопряженный с поверхностью корпуса силового и рабочего цилиндров. Такая конструкция силового привода пресса расширяет технологические возможности при прессовании за счет повышения усилия предварительного смыкания рабочих частей, обладая при этом более высоким уровнем безопасности при эксплуатации. Однако после смыкания оснастки с последующим переключением подъема подвижного элемента пресса с режима низкого давления на режим высокого происходит некоторое опускание подвижного элемента под действием веса подвижных частей и оснастки пресса. После переключения режимов ход подвижного элемента на высоком давлении частично расходуется на повторное смыкание, и это может уже не удовлетворять требованиям технологии прессования. Усилие возврата подвижного элемента в исходное положение существенно ограничено. Все это снижает эффективность прессования.

[5]

Технической задачей, решаемой изобретением, является исключение опускания подвижного элемента пресса в момент переключения подъема с режима на низком давлении на режим высокого давления, а также увеличение усилия размыкания рабочих частей.

[6]

Данная задача решается тем, что в предлагаемом силовом приводе подвижного элемента пресса имеются рабочий и силовой цилиндры, жестко соединенные с подвижным и неподвижным элементами пресса, причем поршневая полость рабочего цилиндра сообщается со штоковой полостью силового цилиндра через канал, выполненный в штоке силового цилиндра с возможностью перекрывания его с помощью клапана, силовой привод снабжен вспомогательным пневмоприводом и системой воздухораспределения, сообщающейся со всеми упомянутыми цилиндрами, при этом поршневая полость цилиндра вспомогательного пневмопривода и штоковая полость силового цилиндра подключены к системе воздухораспределения параллельно, причем в качестве вспомогательного использован пневмопривод двухстороннего действия, конструктивные элементы которого жестко связаны с подвижным и неподвижным элементами пресса, поршневая полость цилиндра вспомогательного пневмопривода сообщается с системой воздухораспределения через дроссель с обратным клапаном, запирающим отвод сжатого воздуха, а штоковая полость цилиндра вспомогательного пневмопривода сообщена со штоковой полостью рабочего цилиндра.

[7]

Дроссель может быть выполнен регулируемым.

[8]

Шток вспомогательного пневмопривода может быть выполнен с продольными каналами, соединяющими его штоковую и поршневую полости с системой воздухораспределения.

[9]

Отличительными признаками предлагаемого силового привода подвижного элемента пресса от указанного выше известного являются использование в качестве вспомогательного пневмопривода двухстороннего действия, конструктивные элементы которого жестко связаны с подвижным и неподвижным элементами пресса, наличие пневматической связи поршневой полости цилиндра вспомогательного пневмопривода с системой воздухораспределения через дроссель с обратным клапаном, запирающим отвод сжатого воздуха, а также наличие пневматической связи штоковой полости цилиндра вспомогательного пневмопривода со штоковой полостью рабочего цилиндра. Кроме того, дроссель может быть регулируемым, а в штоке вспомогательного пневмопривода могут быть выполнены каналы, соединяющие его штоковую и поршневую полости с системой воздухораспределения.

[10]

Благодаря наличию этих признаков при работе силового привода после подъема подвижного элемента на низком давлении, осуществляемого за счет перетекания рабочей жидкости из штоковой полости силового цилиндра через канал с клапаном в поршневую полость рабочего цилиндра, воздух из поршневой полости вспомогательного пневмопривода выходит через дроссель (при этом обратный клапан закрыт) значительно медленнее, чем из штоковой полости силового цилиндра, предотвращая опускание подвижного элемента под действием собственного веса и веса оснастки. Размыкание рабочих частей пресса происходит быстрее за счет дополнительного усилия, возникающего в штоковой полости вспомогательного пневмопривода. Все это позволяет повысить эффективность прессования.

[11]

Выполнение дросселя регулируемым позволяет изменять скорость сброса давления из поршневой полости вспомогательного пневмопривода, устанавливая ее оптимальную величину для конкретного конструктивного выполнения основных узлов привода и меняющихся параметров прессования.

[12]

Выполнение продольных каналов в штоке вспомогательного пневмопривода позволяет осуществлять подвод и отвод сжатого воздуха в движущийся цилиндр с помощью неподвижных трубопроводов, что повышает надежность работы силового привода.

[13]

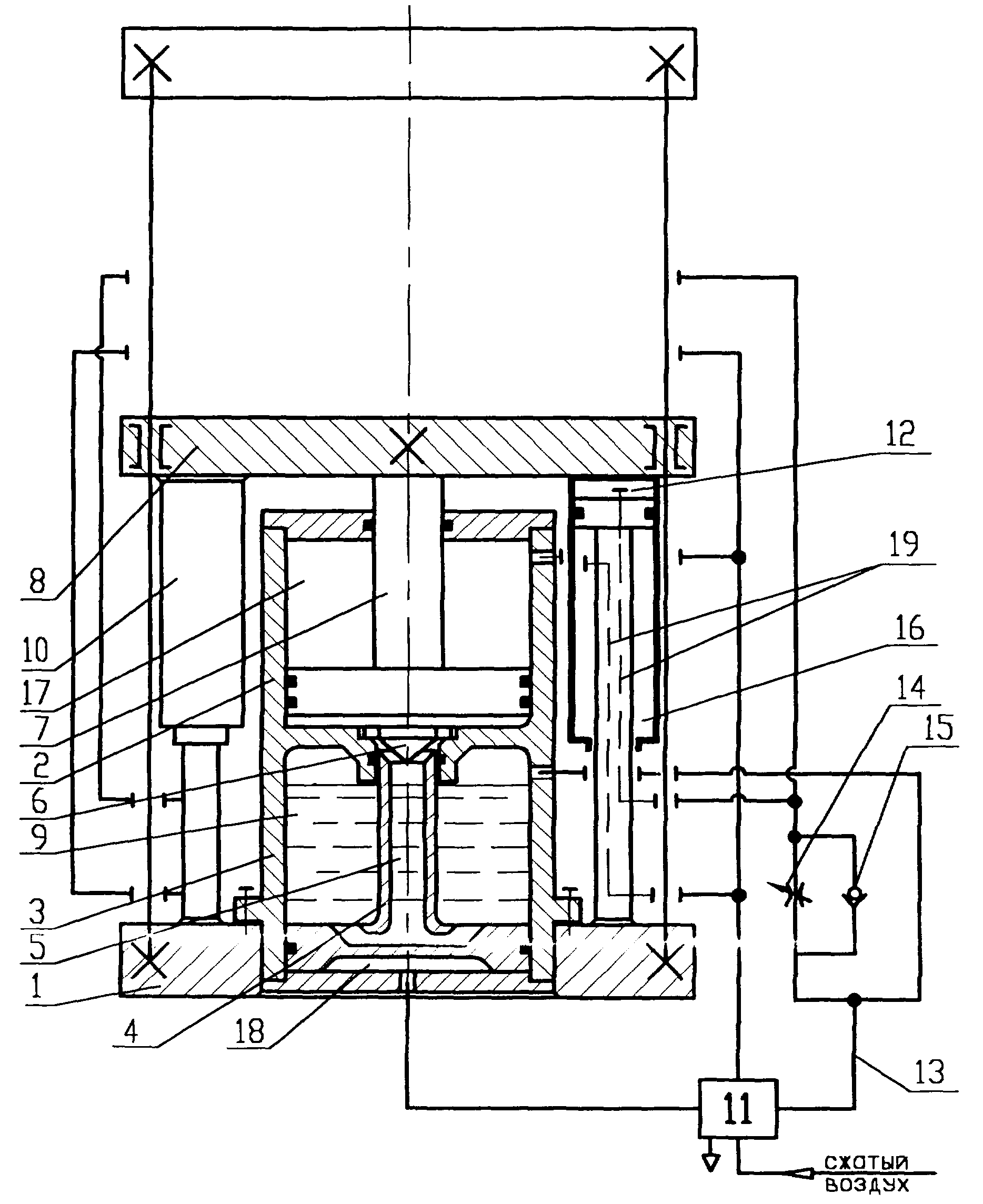
На чертеже изображен общий вид силового привода подвижного элемента пресса.

[14]

Силовой привод содержит станину 1 с расположенными на ней рабочим 2 и силовым 3 цилиндрами. Силовой цилиндр 3 имеет поршень со штоком 4, в штоке выполнен канал 5, который может перекрываться клапаном 6. Рабочий цилиндр 2 имеет поршень со штоком 7, жестко связанным с подвижным элементом 8 пресса. Штоковая полость 9 силового цилиндра 3 заполнена рабочей жидкостью, в качестве которой может использоваться машинное масло. С подвижным элементом 8 пресса и станиной 1 жестко соединен вспомогательный пневмопривод 10, состоящий из цилиндра и поршня со штоком. Количество вспомогательных пневмоприводов 10 определяется в зависимости от требуемого усилия размыкания, а также усилия прессования в режиме подъема подвижного элемента 8 на низком давлении. В силовой привод входит система воздухораспределения 11, позволяющая через систему трубопроводов в нужный момент и в требуемом направлении подводить и отводить сжатый воздух, поступающий от цеховой сети или другого источника.

[15]

Поршневая полость 12 вспомогательного пневмопривода 10 и штоковая полость 9 силового цилиндра 3 соединены с системой воздухораспределения 11 параллельно с помощью трубопровода 13, при этом поршневая полость 12 вспомогательного пневмопривода 10 сообщается с системой воздухораспределения 11 через дроссель 14 с обратным клапаном 15. Штоковая полость 16 вспомогательного пневмопривода 10 сообщена со штоковой полостью 17 рабочего цилиндра 2. Поршневая полость 18 силового цилиндра 3 соединена с системой воздухораспределения 11. В штоке вспомогательного пневмопривода выполнены каналы 19 для подвода и отвода сжатого воздуха.

[16]

Силовой привод подвижного элемента пресса работает следующим образом. В исходном положении сжатый воздух из системы воздухораспределения 11 подается в штоковую полость 17 рабочего цилиндра 2 и в штоковую полость 16 вспомогательного пневмопривода 10, при этом подвижной элемент 8 пресса находится в крайнем нижнем положении. В момент пуска сжатый воздух из системы воздухораспределения 11 подается одновременно в штоковую полость 9 силового цилиндра 3 и через дроссель 14 с обратным клапаном 15 - в поршневую полость 12 вспомогательного пневмопривода 10, а штоковая полость 17 рабочего цилиндра 2 и штоковая полость 16 вспомогательного пневмопривода 10 сообщаются с атмосферой. При этом рабочая жидкость (масло) из штоковой полости 9 силового цилиндра через канал 5 и открытый клапан 6 поступает в рабочий цилиндр 2, поднимая шток 7 с подвижным элементом 8 в режиме низкого давления.

[17]

После того как произойдет смыкание подвижного элемента 8 с другими рабочими частями, система воздухораспределения 11 осуществляет сообщение трубопровода 13 с атмосферой, а в поршневую полость 18 силового цилиндра подается сжатый воздух. При этом происходит сброс сжатого воздуха из поршневой полости 12 вспомогательного пневмопривода 10 и из штоковой полости 9 силового цилиндра 3. Выход сжатого воздуха из поршневой полости 12 вспомогательного пневмопривода 10 происходит через дроссель 14 медленнее, чем из штоковой полости 9 силового цилиндра 3, тем самым предотвращается опускание подвижного элемента 8 под действием веса. Регулировкой дросселя 14 можно изменять скорость сброса давления из поршневой полости 12 вспомогательного пневмопривода 10, устанавливая величину, обеспечивающую поддержку подвижного элемента 8 в крайнем верхнем положении после его подъема на низком давлении. Для переключения на режим высокого давления, при котором происходит прессование, необходимо некоторое время для увеличения давления в поршневой полости 18 силового цилиндра 3, после чего происходит подъем поршня со штоком 4 и закрывается клапан 6. Практически этот период составляет 1-2 секунды. Последующий ход штока 4 силового цилиндра 3 при уже закрытом клапане 6 вызывает подъем давления в рабочей жидкости, перетекшей в рабочий цилиндр 2, создавая требуемое усилие прессование.

[18]

После необходимой выдержки при высоком давлении система воздухораспределения 11 подает сжатый воздух в штоковую полость 17 рабочего цилиндра 2 и в штоковую полость 16 вспомогательного пневмопривода 10, осуществляя одновременно сообщение поршневой полости 9 силового цилиндра 3 с атмосферой. При этом опускается шток 4 силового цилиндра 3, заставляя открываться клапан 6, рабочая жидкость по каналу 5 перетекает в штоковую полость 9 силового цилиндра 3. Силовой привод возвращает подвижной элемент пресса в исходное положение.

Как компенсировать расходы
на инновационную разработку
Похожие патенты