патент
№ RU 2572541
МПК B32B3/16

КОМПОЗИЦИОННЫЙ ВИБРОПОГЛОЩАЮЩИЙ МАТЕРИАЛ

Авторы:
Тюменева Татьяна Юрьевна Кислякова Вера Ивановна Каблов Евгений Николаевич
Все (7)
Номер заявки
2014136076/05
Дата подачи заявки
04.09.2014
Опубликовано
20.01.2016
Страна
RU
Как управлять
интеллектуальной собственностью
Чертежи 
1
Реферат

Изобретение относится к авиакосмической промышленности и может быть использовано в бортовой звукотеплоизолирующей конструкции пассажирских самолетов и касается композиционного вибропоглощающего материала. Материал содержит: армирующий металлический слой, полимерные вибропоглощающий слой, выполненный из термопластичного полиуретана, и адгезионный - из полисульфидного герметика или клеевых композиций на основе каучуков различной химической природы. Соотношение толщин армирующего, вибропоглощающего и адгезионного слоев в предлагаемом материале составляет (3,0÷7,5):(5,0-25,0):1,0 соответственно. Изобретение обеспечивает повышение демпфирующих свойств вибропоглощающего материала и расширение температурного и частотного интервалов его эксплуатации при снижении массы изделия. 2 з.п. ф-лы, 1 ил., 4 пр., 2 табл.

Формула изобретения

1. Композиционный вибропоглощающий материал, содержащий армирующий металлический слой, полимерные вибропоглощающий и адгезионный слои, отличающийся тем, что армирующий металлический слой выполнен из алюминиевого сплава, вибропоглощающий слой выполнен из термопластичного полиуретана на основе простого полиэфира с молекулярной массой свыше 1000, а адгезионный слой выполнен из полимерного материала с температурой стеклования, лежащей в области от -50°C до -20°C.

2. Композиционный вибропоглощающий материал по п. 1, отличающийся тем, что полимерный адгезионный слой состоит из материала, выбранного из группы: полисульфидный герметик, клеевая композиция на основе бутадиен-нитрильного каучука, клеевая композиция на основе полиуретанового каучука, клеевая композиция на основе кремнийорганического каучука.

3. Композиционный вибропоглощающий материал по п. 1, отличающийся тем, что соотношение толщин армирующего, вибропоглощающего и адгезионного слоев составляет (3,0÷7,5):(5,0-25,0):1,0.

Описание

[1]

Изобретение относится к слоистым вибропоглощающим материалам и может быть использовано в авиакосмической промышленности, в частности в бортовой звукотеплоизолирующей конструкции пассажирских самолетов.

[2]

Известен слоистый демпфирующий материал, включающий армирующий слой на основе стали или алюминия, вязкоупругий слой на основе полимера простого акрилового эфира, его сополимеров или полиуретана, несущий слой на основе эластомера - полиизобутилена и ферритового наполнителя, адгезионный слой на основе силоксановых смол и удаляемый защитный слой (Патент США №8377553, опубл. 19.02.2013).

[3]

Недостатками данного изобретения являются минимальная рабочая температура -18°C и низкие демпфирующие свойства, в особенности в области отрицательных температур - коэффициент механических потерь на подложке из алюминия tgδ<0,05.

[4]

Также известен демпфирующий материал типа «сэндвич» - Antiphon МРМ RTE, состоящий из двух наружных слоев холоднокатаного металла толщиной от 0,4-3,0 мм и полимерной прослойки на основе триблоксополимера полистирола-бутадиена-стирола, расположенной между ними (спецификация на материал с сайта компании-производителя www.antiphon.se, доступ к сайту от 27.08 2014 г.).

[5]

Недостатками указанного материала является то, что он имеет сравнительно узкий интервал рабочих температур от -10 до +70°C (при частоте 200 Гц), согласно информации фирмы-производителя, рекомендован к применению при температуре выше комнатной и имеет высокую поверхностную плотность ≈8 кг/м2.

[6]

Известны слоистые и композиционные градиентные структуры с повышенными вибропоглощающими свойствами, представляющие собой полимерные композиционные материалы с интегрированными в их структуру демпфирующими слоями на основе нетканых материалов, например, термопластичных эластомеров (Заявка на патент США №20120164907, опубл. 28.06.2012).

[7]

Недостатком данного изобретения являются низкие демпфирующие свойства при отрицательных температурах: = 0,0095÷0,0177 при Т=-50÷0°C соответственно и частоте 100 Гц.

[8]

Наиболее близким аналогом по технической сущности и достигаемому результату, принятым за прототип, является слоистый вибропоглощающий материал Smacsonic Classic ST, состоящий из армирующего слоя на основе листового алюминия, полимерного слоя из резины марки Smactane и двухстороннего липкого слоя (спецификация на материал с сайта компании-производителя www.smac.fr, доступ к сайту - от 27.08.2014 г.).

[9]

Данный материал имеет низкие демпфирующие свойства tgδ=0,014 (на подложке из алюминиевого сплава Д16АТ толщиной 1,0 мм) при температуре -60°C и частоте 100 Гц. К недостаткам материала-прототипа также относятся минимальная рабочая температура -40°C и высокая поверхностная плотность - 3,0 кг/м2, что нежелательно для применения в авиации.

[10]

Технической задачей предлагаемого изобретения является повышение демпфирующих свойств и расширение температурного и частотного интервалов эксплуатации при снижении массы изделия.

[11]

Для достижения технического результата предложен композиционный вибропоглощающий материал, содержащий армирующий металлический слой, полимерные вибропоглощающий и адгезионный слои, отличающийся тем, что в качестве полимера для вибропоглощающего слоя используют термопластичный полиуретан на основе простого полиэфира с молекулярной массой свыше 1000, а адгезионный слой состоит из полимерного материала с температурой стеклования от -50°C до -20°C.

[12]

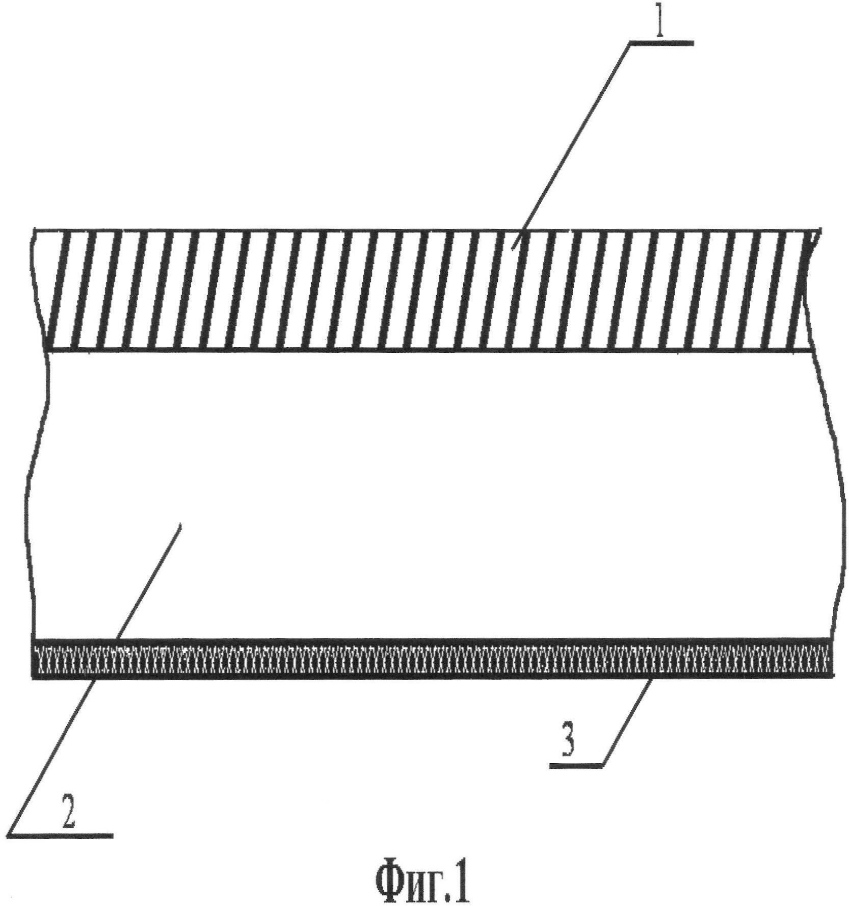
На фиг. 1 показана структура предлагаемого композиционного вибропоглощающего материала, включающая армирующий слой (1) и вибропоглощающие слои - базовый (2) и адгезионный (3).

[13]

Слой на основе термопластичного полиуретана является базовым полимерным вибропоглощающим слоем в широком диапазоне температур и имеет коэффициент механических потерь tgδ=0,08 на подложке из алюминиевого сплава толщиной 1 мм при температуре 20°C и частоте 100 Гц.

[14]

Также отличием предлагаемого композиционного вибропоглощающего материала является то, что для создания адгезионного слоя используют один из материалов, выбранный из группы: полисульфидный герметик для полимерного композиционного материала, клеевая композиция на основе бутадиен-нитрильного каучука для полимерного композиционного материала, клеевая композиция на основе полиуретанового каучука, клеевая композиция на основе кремнийорганического каучука для полимерного композиционного материала.

[15]

Адгезионный слой используется не только для соединения с вибрирующей поверхностью, но и обеспечивает повышение коэффициента механических потерь предлагаемого композиционного вибропоглощающего материала при пониженной температуре Т=-60°C. Полимерные материалы в наибольшей степени проявляют демпфирующие свойства в области перехода из стеклообразного состояния в высокоэластическое, т.е. вблизи температуры стеклования. Поскольку интервал температур стеклования предлагаемых полимерных материалов на температурной шкале лежит вблизи Т=-60°C, то это обеспечивает дополнительное повышение коэффициента механических потерь в заданном температурном интервале.

[16]

Еще одним отличием является то, что в качестве металла для армирующего слоя используют сплав на основе алюминия.

[17]

Наличие армирующего слоя из алюминиевого сплава обеспечивает повышение демпфирующих свойств за счет дополнительных сдвиговых деформаций, возникающих между ним и вибропоглощающим слоем, при сохранении низкой массы конструкции.

[18]

Кроме того, отличием является оптимальное соотношение толщин армирующего, вибропоглощающего и адгезионного слоев, что обеспечивает вибропоглощающие свойства, снижение веса конструкции, простоту монтажа и повышение эксплуатационных характеристик (обеспечивается целостность конструкции изделия).

[19]

Описание чертежей

[20]

На Фиг.1 представлен вид композиционного вибропоглощающего материала в разрезе с последовательно расположенными слоями, начиная от внешнего армирующего слоя. На фиг.1 показана структура предлагаемого композиционного вибропоглощающего материала, включающая металлический армирующий слой (1) и полимерные вибропоглощающие слои - базовый (2) и адгезионный (3).

[21]

Примеры осуществления

[22]

Пример 1.

[23]

Изготовление композиционного вибропоглощающего материала производили путем прессования на гидравлическом прессе при температуре (165±5)°C и давлении 0,3 МПа пакета, включающего следующие слои - базовый вибропоглощающий из листового термопластичного полиуретана на основе простого полиэфира с молекулярной массой свыше 1000 марки Витур Т-0533-90С (ТУ 2255-019-32972176-2010) и армирующий - из алюминиевого сплава Д16АТ (ГОСТ 21631-76). Для соединения с вибрирующей поверхностью на полученный пакет со стороны вибропоглощающего слоя наносится адгезионный вибропоглощающий слой из серийного полисульфидного герметика марки Витэф 1НТ(ТУ 1-595-28-708-2003).

[24]

Изготовление композиционного вибропоглощающего материала по Примерам 2-4 производили аналогично Примеру 1, но в качестве базового вибропоглощающего слоя применяли полиуретан на основе простого полиэфира Витур Т-043390С(ТУ 2255-019-32972176-2010) с молекулярной массой 1500. В Примере 3 в качестве армирующего слоя использовали алюминиевый сплав марки 1441 (ТУ 1-804-453-2008), в Примере 4 для изготовления адгезионного вибропоглощающего слоя использовали клеевую композицию для полимерных композиционных материалов на основе бутадиен-нитрильного каучука.

[25]

Вибропоглощающие свойства оценивали по коэффициенту механических потерь материалов на подложке из алюминиевого сплава Д16АТ толщиной 1, 0 мм, моделирующего вибрирующую поверхность, на динамическом механическом анализаторе DMA/SDTA861e фирмы Mettler Toledo (в статической воздушной среде) в условиях трехточечного изгиба в диапазоне температур от -60 до +100°C и при частоте 100 Гц по методике ММ 1.595-11-428-2011.

[26]

Поверхностную плотность материалов определяли по методике ГОСТ 17037.

[27]

Составы материалов по примерам 1-4 приведены в таблице 1, свойства - в таблице 2.

[28]

[29]

[30]

Предложенный композиционный вибропоглощающий материал обладает высокими демпфирующими свойствами в широком диапазоне температур, в частности при Т=-60°C, и низкой поверхностной плотностью, что позволяет использовать его для снижения вибрации и структурного шума, передающегося в том числе по «холодным» силовым элементам конструкции планера и обшивки для обеспечения высокого уровня акустической комфортности внутри салона самолета.

[31]

Сочетание указанных свойств достигается за счет предлагаемой слоистой структуры материала с определенным соотношением толщин его слоев и подбора вибропоглощающих слоев в зависимости от их температур стеклования.

Как компенсировать расходы
на инновационную разработку
Похожие патенты