патент
№ RU 2485080
МПК C06B31/30

УСТРОЙСТВО ДЛЯ ФИЛЬТРАЦИИ ВЫСОКОВЯЗКОГО РАСТВОРА КАУЧУКА В ТОКСИЧНОМ И ПОЖАРООПАСНОМ ОРГАНИЧЕСКОМ РАСТВОРИТЕЛЕ

Авторы:
Шишов Николай Иванович Суханов Олег Анатольевич Узунов Александр Христофорович
Все (5)
Номер заявки
2011148493/05
Дата подачи заявки
30.11.2011
Опубликовано
20.06.2013
Страна
RU
Как управлять
интеллектуальной собственностью
Чертежи 
1
Реферат

Изобретение относится к области оборудования для фильтрации высоковязких (до 200 Па·с) растворов каучуков в токсичном и пожароопасном органическом растворителе (легковоспламеняющейся жидкости) от сгустков геля и посторонних предметов. Устройство включает герметичный корпус, в котором установлен сменный фильтрующий элемент. Фильтрующий элемент выполнен из металлической сетки и состоит из открытой сверху цилиндрической обечайки, переходящей в усеченный конус с донышком также из сетки. При этом соотношение высот обечайки и конуса составляет 0,65…0,8, а размер в свету ячейки сетки 1,0…3,0 мм, соотношение площади фильтрации фильтрующего элемента к площади сечения загрузочного патрубка равно 10…12. После каждого цикла работы загрязненный фильтрующий элемент в устройстве легко заменяется на чистый, а снятый после очистки используется вновь. Техническое решение обеспечивает повышение качества процесса фильтрации, его производительности и безопасности, а также облегчение обслуживания. 1 ил.

Формула изобретения

Устройство для фильтрации высоковязкого раствора каучука в токсичном и пожароопасном органическом растворителе от сгустков геля и посторонних предметов, включающее герметичный корпус с установленным в нем фильтрующим элементом, отличающееся тем, что фильтрующий элемент выполнен сменным из металлической сетки и состоит из открытой сверху цилиндрической обечайки, переходящей в усеченный конус с донышком также из сетки, при этом соотношение высот обечайки и конуса составляет 0,65-0,8, размер в свету ячейки сетки - 1,0-3,0 мм, а соотношение площади фильтрации фильтрующего элемента к площади сечения загрузочного патрубка равно 10-12.

Описание

[1]

Изобретение относится к области производства смесевых твердых ракетных топлив (СТРТ) на основе активных нитроэфирных связующих.

[2]

В технологическом процессе приготовления активного связующего имеется стадия растворения каучука в органическом растворителе-ацетоне, являющемся, как известно, токсичной и легко воспламеняющейся жидкостью (ЛВЖ). По окончании процесса растворения приготовленный раствор каучука необходимо профильтровать. Это вызывается тем, что каучук может быть засорен посторонними твердыми частицами, а также может содержать включения геля - частично сшитого при синтезе каучука. Твердые частицы и сгустки геля необходимо из раствора удалять, что обусловлено высокими требованиями безопасности, предъявляемыми при смешении раствора каучука с нитроэфиром, и требованиями обеспечения заданного качества продукта. Попадание твердых посторонних предметов в реактор для приготовления нитроэфирного связующего, в том числе в его разгрузочный клапан, может привести к серьезной аварии с выходом из строя производственного участка. А попадание твердых посторонних предметов с активным связующим в изготовленное изделие может привести к взрыву при его работе, поэтому недопустимо. До настоящего времени фильтрацию раствора осуществляли с использованием открытого рамочного сетчатого фильтра при сливе раствора в реактор для приготовления активного связующего. Эта операция являлась неэффективной и опасной.

[3]

Согласно техническим условиям каучук может содержать гель в количестве до 0,5%. Гель способен в течение короткого времени забить фильтрующую поверхность фильтра и прекратить фильтрацию. Скорость фильтрации раствора каучука, обладающего высокой вязкостью (до 200 Па·с при 20 град. C), мала. Чтобы ее повысить, необходимо увеличивать живое сечение фильтра, площадь поверхности фильтрации. Размер отверстий в фильтрующей поверхности задан исходя из требований по допустимым размерам твердых включений и его изменение невозможно. Таким образом, для рассматриваемых условий (заданных реологических свойств раствора каучука и давления фильтрации) повышение скорости фильтрации возможно только за счет увеличения живого сечения и площади фильтрующей поверхности.

[4]

Известен фильтр для суспензий, включающий вертикальный цилиндрический корпус, разделенный фильтровальной перегородкой по высоте на две неравные камеры (Н.И.Гельперин «Основные процессы и аппараты химической технологии». - М.: Химия, 1981, стр.228-229). Данное техническое решение принято за прототип. Суспензия загружается в верхнюю камеру, а фильтрат собирается в нижней камере. После промывки осадок выгружается. Нижняя камера, включая фильтровальную перегородку, для облегчения выгрузки осадка делается откидной. Выгрузка осадка возможна также через боковые люки.

[5]

Однако из-за конструктивных особенностей этот аппарат не может обеспечить качественную фильтрацию с требуемой производительностью. Применение его для фильтрации вязких растворов полимеров затруднено вследствие того, что аппарат имеет неоптимальную форму фильтрующей поверхности, вследствие чего очистка фильтровальной перегородки является длительной, трудоемкой и не приемлемой в условиях производства активных связующих. В связи с этим возникла необходимость конструктивного усовершенствования фильтра и оптимизации технологических параметров.

[6]

Технической задачей изобретения является повышение качества процесса фильтрации, повышение его производительности и безопасности, облегчение обслуживания и улучшение условий труда. Этот результат достигается тем, что устройство для фильтрации (фильтр) раствора каучука в ЛВЖ включает герметичный корпус с установленным в нем сменным фильтрующим элементом. Фильтрующий элемент выполнен из металлической сетки и представляет собой открытую сверху цилиндрическую обечайку, переходящую в усеченный конус с донышком также из сетки, при этом соотношение высот обечайки и конуса составляет 0,65…0,8, а размер в свету ячейки сетки - 1,0…3,0 мм, соотношение площади прохода в сетке к площади прохода в трубе равно 10…12.

[7]

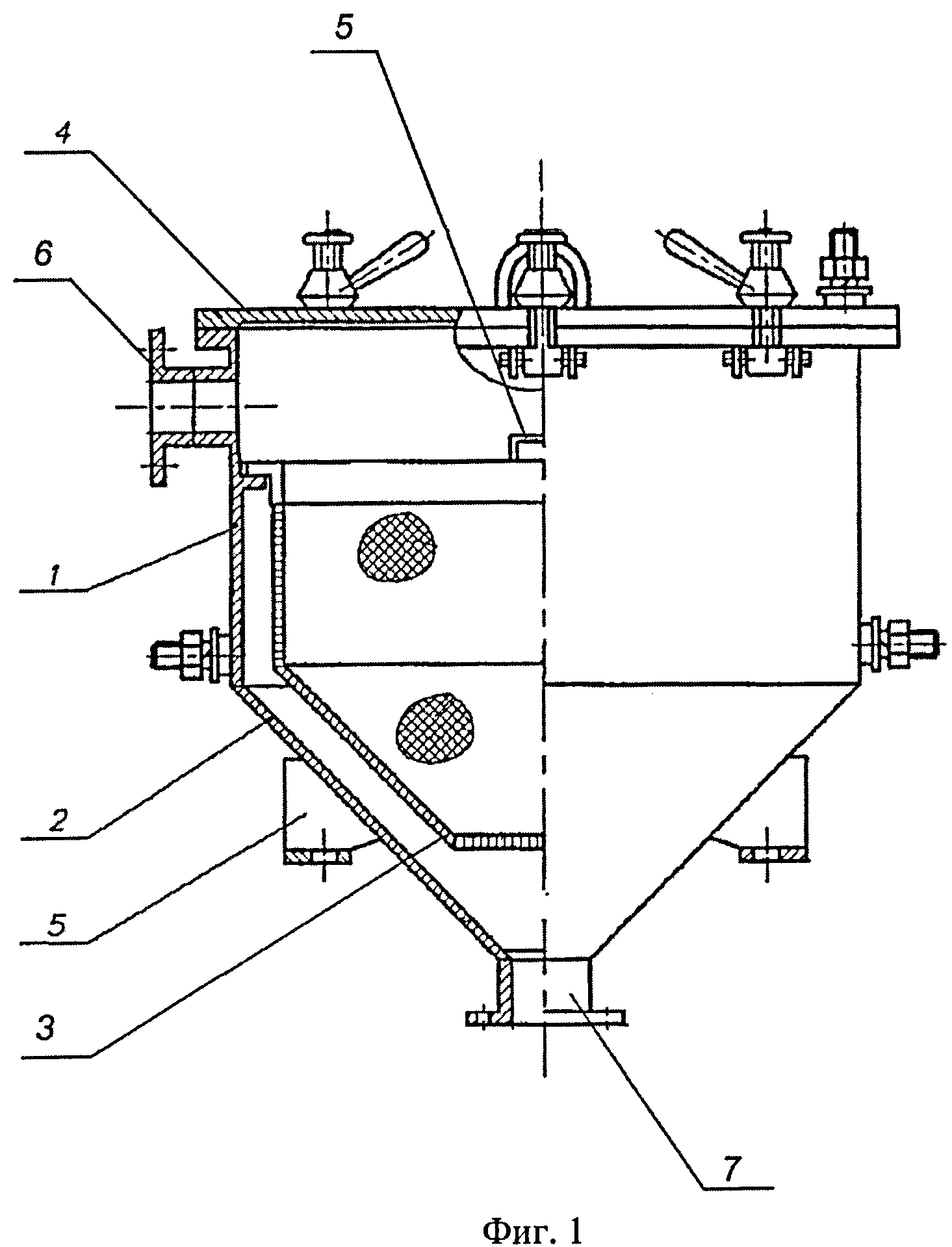
Фильтр изображен на фиг.1.

[8]

Он включает герметичный цилиндрической корпус 1, переходящий в конусную часть 2, с установленным в нем фильтрующим элементом 3 из металлической сетки. Фильтрующий элемент является сменным. Он выполнен в виде цилиндрической обечайки, переходящей в усеченный конус, при этом соотношение площади прохода в сетке к площади прохода в трубе равно 10…12. Устройство имеет легко снимаемую крышку 4, сменный фильтрующий элемент снабжен рукоятками 5. Аппарат имеет загрузочный патрубок 6, выгрузочный патрубок 7 для выхода отфильтрованного раствора самотеком и четыре опоры для установки вертикально.

[9]

Устройство работает следующим образом.

[10]

Раствор каучука в ацетоне подается по трубопроводу из вышестоящего аппарата в фильтр и фильтруется через фильтрующий элемент под гидростатическим давлением столба раствора, в том числе и в вышестоящем аппарате. Фильтрат собирается в нижнем реакторе, где он в последующем смешивается с нитроэфиром. Гель и механические включения задерживаются фильтрующим элементом. По окончании фильтрования устройство промывают ацетоном, снимают крышку, вынимают отработавший загрязненный фильтрующий элемент, вставляют новый (чистый), закрепляют крышку. Устройство готово для следующей фильтрации. Использованный фильтрующий элемент замачивают в ацетоне, очищают и отмывают для последующего использования.

[11]

Форма фильтрующего элемента выбрана исходя из необходимости максимально возможного увеличения фильтрующей поверхности и технологических удобств ее изготовления и использования. Кроме того, такая форма фильтрующей поверхности позволяет фильтроваться раствору и тогда, когда осадок забьет нижний участок фильтрующей поверхности (плотность примесей и гелей выше, чем плотность раствора каучука в ацетоне).

[12]

Разделение фильтрующей поверхности на цилиндрическую и конусную части позволяет эффективно организовать процесс фильтрации раствора.

[13]

Нами установлено, что при соотношении высот цилиндрической и конусной частей сита, составляющих 0,65…0,8, качество и производительность фильтрации максимальны. Во всяком случае, при выходе за эти пределы работа фильтра становится неоптимальной. Конусное днище корпуса устройства необходимо для быстрого слива остаточных количеств вязкого раствора полимера и минимизации потерь. Цилиндрическая часть наиболее эффективна с точки зрения величины фильтрующей поверхности.

[14]

Сетка, являясь фильтрующим материалом, задерживающим твердые включения и конгломераты геля, представляет собой проволочный тканый материал с квадратными ячейками, основными параметрами которого являются, так называемый, «размер ячейки в свету» и диаметр проволоки. Наши исследования показали что, наиболее целесообразно использование сеток с размером в свету от 1,0 до 3,0 мм. При снижении размера в свету менее 1,0 мм уменьшается скорость фильтрации и снижается производительность, т.к. мелкие частички геля, наличие которых допустимо, быстро забивают сетку и фильтрация замедляется. При увеличении размера в свету более 3,0 мм через сито будет проходить недопустимо большие по размерам и количеству сгустки геля и механические примеси. Диаметр проволоки (в наших случаях 0,5…0,8 мм) тоже имеет значение как с точки зрения прочности сетки, так и вследствие влияния на величину «живого сечения».

Как компенсировать расходы
на инновационную разработку
Похожие патенты