патент
№ RU 2650582
МПК H01Q1/28

СИСТЕМА СПУТНИКОВОЙ НАВИГАЦИИ КРЫЛАТОЙ РАКЕТЫ (ВАРИАНТЫ)

Авторы:
Титов Александр Петрович
Номер заявки
2016152522
Дата подачи заявки
30.12.2016
Опубликовано
16.04.2018
Страна
RU
Как управлять
интеллектуальной собственностью
Чертежи 
5
Реферат

Изобретение относится к области помехозащищенных систем спутниковой навигации, предлагаемых к использованию в составе х крылатых ракет. Система спутниковой навигации крылатой ракеты (КР) содержит аппаратуру спутниковой навигации и антенную систему. Антенная система выполнена помехозащищенной в виде блока обработки информации и антенны, которая выполнена в виде отдельных антенных элементов приема спутниковых сигналов. Каждый антенный элемент соединен с блоком обработки информации независимым кабелем. Антенна размещена в передней торцевой части КР по окружности корпуса под радиопрозрачным обтекателем носовой части КР, а блок обработки информации размещен в отсеке бортовой аппаратуры. Система спутниковой навигации сверхзвуковой крылатой ракеты (КР) вместе с основной антенной системой может содержать дополнительную антенную систему. Антенные системы выполнены помехозащищенными в виде блоков обработки информации и антенн, каждая из которых состоит из антенных элементов, соединенных с блоком обработки информации, соответствующим основной или дополнительной антенне, независимым кабелем. Антенна основной антенной системы размещена в верхней части КР под радиопрозрачным обтекателем, а антенна дополнительной антенной системы размещена в передней торцевой части КР по окружности корпуса под радиопрозрачным обтекателем носовой части КР. Блоки обработки информации размещены в отсеке бортовой аппаратуры. Использование предлагаемого решения позволяет обеспечить высокую помехозащищенность, высокую точность, непрерывность работы ССН крылатых ракет с существенной экономией затрат, а также исключает необходимость проведения дополнительных расчетов корпуса и дорогостоящих испытаний, связанных с внесением изменений в корпус КР. 2 н. и 1 з.п. ф-лы, 5 ил.

Формула изобретения

1. Система спутниковой навигации крылатой ракеты (КР), содержащая аппаратуру спутниковой навигации и основную антенную систему, отличающаяся тем, что антенная система выполнена помехозащищенной в виде блока обработки информации и антенны, которая выполнена в виде отдельных антенных элементов приема спутниковых сигналов, предназначенных для обеспечения работы одного канала спутниковой связи, каждый антенный элемент соединен с блоком обработки информации независимым кабелем, причем антенна размещена в передней торцевой части КР по окружности корпуса под радиопрозрачным обтекателем, а блок обработки информации размещен в отсеке бортовой аппаратуры.

2. Система спутниковой навигации крылатой ракеты (КР), содержащая аппаратуру спутниковой навигации и основную антенную систему, отличающаяся тем, что вводят дополнительную антенную систему, причем обе антенные системы выполнены помехозащищенными в виде блоков обработки информации и антенн, при этом каждая из антенн состоит из отдельных антенных элементов приема спутниковых сигналов, предназначенных для обеспечения работы одного канала спутниковой связи, каждый антенный элемент соединен с соответствующим блоком обработки информации независимым кабелем, размещенным в отсеке бортовой аппаратуры, причем антенна основной антенной системы размещена в верхней части КР под радиопрозрачным обтекателем, а антенна дополнительной антенной системы размещена в передней торцевой части КР по окружности корпуса под радиопрозрачным обтекателем.

3. Система спутниковой навигации крылатой ракеты по пп. 1, 2, отличающаяся тем, что для обеспечения приема спутниковых сигналов по дополнительному каналу спутниковой связи антенна содержит не менее чем по одному дополнительному антенному элементу приема спутниковых сигналов, соединенных с соответствующими им блоками обработки информации независимыми кабелями, причем количество независимых кабелей соответствует количеству дополнительных антенных элементов.

Описание

[1]

Изобретение относится к радиочастотным системам, используемым для целей навигации, и конкретнее к помехозащищенным системам спутниковой навигации, предлагаемым к использованию в составе крылатых ракет.

[2]

В настоящее время глобальная навигационная спутниковая система (ГНСС) ГЛОНАСС становится основным средством определения навигационных параметров. Особенно пристальное внимание к ГНСС уделяется при создании и использовании вооружения военной и специальной техники (ВВСТ). Применение ГНСС в значительной степени позволяет повысить эффективность управления, мониторинга и использования военной техники. Однако с применением спутниковых технологий создается зависимость эффективности применения ВВСТ от качества функционирования системы ГЛОНАСС в целом и качества функционирования навигационной аппаратуры пользователей. Приемники ГЛОНАСС обладают крайне низкой устойчивостью к преднамеренным помехам и в реальных боевых условиях будут являться объектом радиоэлектронного подавления со стороны противника.

[3]

Нарушение навигационного поля может осуществляться посредством воздействия помех: преднамеренных и промышленных. Преднамеренные помехи разделяют на маскирующие (подавляющие) и имитирующие (дезинформирующие).

[4]

Подавление аппаратуры ГНСС приведет к существенному снижению их эффективности.

[5]

Искажение навигационного поля может привести к серьезным последствиям, в особенности для дистанционно работающей робототехники, в том числе беспилотных летательных аппаратов (БЛА), например принуждение к посадке БЛА.

[6]

Известно использование системы спутниковой навигации GPS на крылатой ракете воздушного базирования AGM-86C (Пашнев М.А. Крылатая ракета воздушного базирования AGM-86B (AGM-86C/D)/ Ракетная техника-URL: http://rbase.new-factoria.ru/missile/wobb/agm86b/agm86b.shtml).

[7]

Также известна система спутниковой навигации беспилотного летательного аппарата, содержащая антенну для приема GPS сигнала и блок подавления помех (Патент РФ №2336537).

[8]

Таким образом, использование спутниковых навигационных систем в ракетах различного класса достаточно широко распространено. Однако приведенные аналоги обладают существенным недостатком, заключающимся в недостаточной степени защиты системы навигации от радиоэлектронных помех.

[9]

В качестве прототипа может быть выбрана система спутниковой навигации (ССН) крылатых ракет (КР), содержащая антенну с управляемой диаграммой направленности, обладающую более высоким уровнем точности (Dr Carlo Kоpp, Military technology. Cruise missile guidance techniques // Defence today. URL: http:www.ausairpower.net/SP/DT-CM-Guidance-June-2009.pdf).

[10]

Автор статьи отмечает, что антенна принимает сигналы со всей верхней полусферы над ракетой, включая спутники GPS, а также намеренно создаваемые помехи. При помощи программного обеспечения антенна синтезирует узкие пучки, направленные к предполагаемому месторасположению спутников GPS, в результате чего антенна оказывается «слепа» во всех других направлениях.

[11]

Основным недостатком выбранного ближайшего аналога является невозможность обеспечения работоспособности системы спутниковой навигации крылатых ракет при смене режима полета от маршевого (горизонтального) к пикированию и дальнейшему пикированию.

[12]

Эти факторы приводят к искажению формы диаграммы направленности и снижают эффективность подавления помех и приема спутниковых сигналов.

[13]

Кроме того, антенная система ССН ракеты должна одинаково хорошо принимать сигналы с максимально возможного числа спутников верхней полусферы. Однако при пикировании ракеты антенная система, расположенная в верхней части КР, способна принять спутниковые сигналы только с той части сферы, которая не доступна для принятия сигналов в штатном горизонтальном полете ракеты. В результате требуется время на настройку системы спутниковой навигации для принятия спутниковых сигналов.

[14]

Также следует отметить, что конструктивные особенности КР весьма индивидуальны. Ограниченная площадь допустимого пространства для размещения антенного блока в отсеке корпуса КР (практически любой серийно выпускаемой КР) не позволяет разместить большое количество антенных элементов, что снижает уровень помехозащищенности ССН в определенных режимах полета.

[15]

Таким образом, задачей предлагаемого решения является повышение уровня помехозащищенности системы спутниковой навигации КР в течение всего полета, а также обеспечение ее работоспособности при пикировании ракеты. Кроме того, предполагается повысить устойчивость аппаратуры большему числу помех и уровню электромагнитной помехи без внесения изменений в корпус КР.

[16]

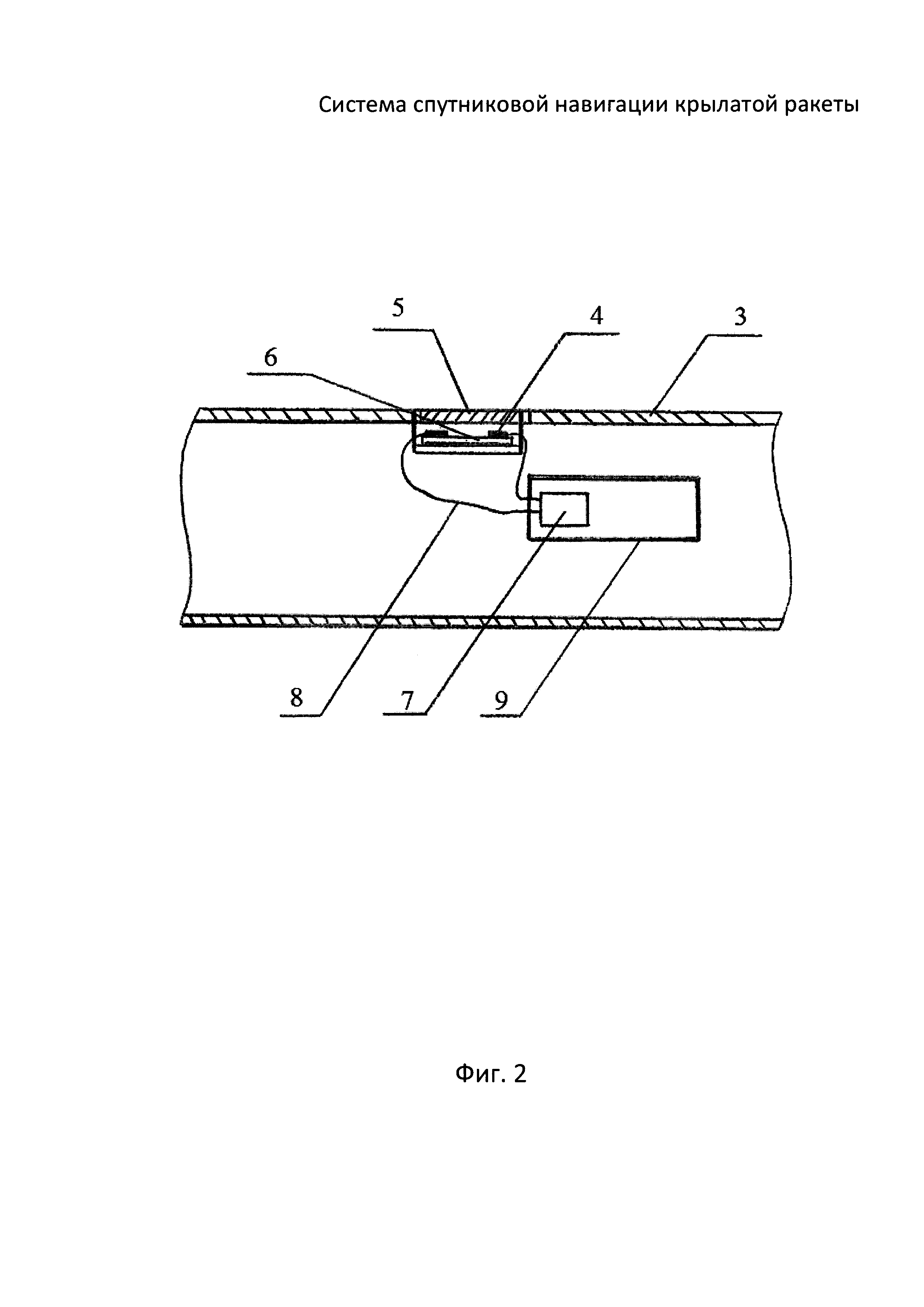
Универсальным способом повышения помехоустойчивости приема спутниковых сигналов ГЛОНАСС является метод пространственного подавления помех, связанный с пространственной обработкой сигнала.

[17]

Применительно к этой области имеется достаточное количество публикаций. Теоретически вопрос изучен. Однако практическая реализация схемных и конструктивных решений и алгоритмов влияет как на конечный результат (уровень помехозащищенности ГНСС), так и возможность применения помехозащищенных систем в образцах техники.

[18]

Наиболее целесообразным способом обеспечить защиту от помех является применение специализированного антенного модуля, который можно рассматривать как «приставку-антенну» к типовому навигационному приемнику. Например, при использовании в качестве «приставки» изделия «Комета» производства ОАО «ВНИИР Прогресс» для подавления приемника ГЛОНАСС с дальности 30 км потребуется мощность передатчика порядка 1-3 кВт, что предполагает создание специализированного комплекса радиоэлектронного подавления.

[19]

Известны разработки и зарубежного производства, такие как GAS-1 (компания Raytheon Systems Limited), GAJT (совместно компании NovAtel и QinetiQ) и другие.

[20]

Типичной особенностью представленных аналогов является их исполнение как единого устройства, где адаптивная антенна и предполагаемый блок обработки сигнала выполнены не только в одном корпусе, но и на одной плате. Подобное исполнение рационально с точки зрения улучшения работоспособности антенной системы, экономичности изготовления и универсальности применения. Однако подобный подход уместен для использования в универсальных видах техники, которые отличаются распространенностью, производятся крупными партиями, не требуют особых технических условий при эксплуатации. К таковым можно отнести, например, автомобили, железнодорожный транспорт, стационарные объекты, располагающие достаточным объемом свободного места, и другие.

[21]

Использование перечисленных антенных систем в таких изделиях, как КР, практически не представляется возможным, что обосновывается следующим.

[22]

Факторы, действующие на КР в полете, формируют к ней жесткие требования. Соответственно отдельные элементы, устанавливаемые на КР, изготовлены по особым техническим условиям.

[23]

Например, значения температур под радиопрозрачным обтекателем в отсеке для антенны спутниковой навигации могут существенно превышать предельно допустимые значения температуры эксплуатации электронных компонентов.

[24]

Различные нагрузки, действующие на КР в полете, формируют требования не только к качеству исполнения антенной системы, но и к размещению ее на борту КР, например к наличию герметизации, особые требования к исполнению отсеков (к форме, габаритам, монтаж и т.д.)

[25]

Кроме того, конструктивные особенности КР весьма индивидуальны. Недостаток объема антенного блока или его форма не позволяют разместить разработанные с широкими потребительскими свойствами антенные системы.

[26]

Для преодоления изложенных негативных факторов, препятствующих к установке антенных систем, чуть ли не единственным вариантом является внесение изменений в конструкцию корпуса КР. Однако нарушение целостности корпуса влечет за собой необходимость проведения новых расчетов и комплекса дорогостоящих испытаний. Разработчики крылатых ракет сознательно отказываются от такого варианта вследствие его сложности и дороговизны.

[27]

Таким образом, для улучшения характеристик системы спутниковой навигации, а вместе с этим и для улучшения характеристик КР (в части точности, преодоления средств радиоэлектронной борьбы, возможностей наведения на цель, принятия спутниковых сигналов большей части верхней полусферы Земли и др.) предложены технические решения, заключающиеся в следующем.

[28]

Система спутниковой навигации крылатой ракеты (КР) содержит аппаратуру спутниковой навигации и антенную систему. Антенная система выполнена помехозащищенной в виде блока обработки информации и антенны, которая выполнена в виде отдельных антенных элементов приема спутниковых сигналов, предназначенных для обеспечения работы одного канала спутниковой связи. Каждый антенный элемент соединен с блоком обработки информации независимым кабелем, причем антенна размещена в передней торцевой части КР по окружности корпуса под радиопрозрачным обтекателем, а блок обработки информации размещен в отсеке бортовой аппаратуры.

[29]

Кроме того, возможен иной вариант. Система спутниковой навигации КР вместе с основной антенной системой может содержать дополнительную антенную систему для использования системы спутниковой навигации при пикировании, причем обе антенные системы выполнены помехозащищенными в виде блоков обработки информации и антенн. Каждая из антенных систем состоит из отдельных антенных элементов приема спутниковых сигналов, предназначенных для обеспечения работы одного канала спутниковой связи. Каждый антенный элемент соединен с соответствующим блоком обработки информации независимым кабелем, размещенным в отсеке бортовой аппаратуры, причем антенна основной антенной системы размещена в верхней части КР под радиопрозрачным обтекателем, а антенна дополнительной антенной системы размещена в передней торцевой части КР по окружности корпуса под радиопрозрачным обтекателем.

[30]

Кроме того, дополнительно может быть введено следующее: для обеспечения приема спутниковых сигналов по дополнительному каналу спутниковой связи антенная система может содержать не менее одного дополнительного антенного элемента приема спутниковых сигналов, соединенного с соответствующим блоком обработки информации независимым кабелем, причем количество независимых кабелей соответствует количеству дополнительных антенных элементов.

[31]

Антенные элементы каждой из антенных систем могут быть выполнены как на одной печатной плате, так и размещены на отдельных платах, установленных в определенных местах передней торцевой и верхней части ракеты.

[32]

На представленных иллюстрированных материалах обозначено следующее:

[33]

Фигура 1 - вариант размещения помехозащищенных антенных систем в КР(схематично).

[34]

Фигура 2 - вариант исполнения антенной системы КР (схематично).

[35]

Фигура 3 - прием спутниковых сигналов ССН КР при полете КР в горизонтальной плоскости (маршевый участок полета).

[36]

Фигура 4 - прием спутниковых сигналов ССН КР при полете КР в горизонтальной плоскости (участок полета при пикировании).

[37]

Фигура 5 - варианты исполнения антенны.

[38]

На представленных фигурах обозначены элементы:

[39]

1 - антенна дополнительной антенной системы;

[40]

2 - антенна основной антенной системы;

[41]

3 - корпус крылатой ракеты;

[42]

4 - антенный элемент;

[43]

5 - радиопрозрачный обтекатель;

[44]

6 - антенна на печатной плате;

[45]

7 - блок обработки информации;

[46]

8 - независимые кабели;

[47]

9 - отсек бортовой аппаратуры;

[48]

10 - границы области приема спутниковых сигналов основной антенной системы;

[49]

11 - границы области приема спутниковых сигналов дополнительной антенной системы;

[50]

12-15 - спутники;

[51]

16 - печатная плата антенны;

[52]

17 - адаптивная антенная решетка (исполнение антенны на печатной плате);

[53]

18 - антенна из отдельных элементов в составе антенного блока;

[54]

19 - антенный блок.

[55]

На фигуре 1 схематично представлен вариант реализации решения, при котором ССН КР содержит основную 2 и дополнительную 1 антенные системы.

[56]

На фигуре 2 схематично представлен общий вариант размещения антенного блока в КР. На корпусе 3 крылатой ракеты закреплен антенный блок, в котором под радиопрозрачным обтекателем 5 размещена антенна 6. В данном примере антенные элементы 4 размещены на единой печатной плате, т.е. выполнены в составе адаптивной антенной решетки 17. Спутниковые сигналы, воспринимаемые антенными элементами, передаются через независимые кабели 8 в блок обработки информации 7, размещенный в отсеке бортовой аппаратуры 9. Полезный спутниковый сигнал, отделенный от помех в блоке обработки информации, поступает в приемник спутниковой навигации (приемник в заявке не рассматривается, поэтому на фигурах не показан).

[57]

На фигуре 3 показан вариант работы основной и дополнительной антенных систем при полете ракеты в горизонтальной плоскости.

[58]

На фигуре 4 показан вариант работы основной и дополнительной антенных систем при пикировании ракеты.

[59]

На фигуре 5 показаны варианты исполнения антенны. Стрелкой 17 обозначен вариант исполнения антенны в виде адаптивной антенной решетки, где на печатной плате 16 размещены антенные элементы 4. Стрелкой 18 обозначен вариант исполнения антенны из отдельных антенных элементов в составе антенного блока 19. Под радиопрозрачным кожухом 5 размещены антенные элементы 4.

[60]

Теоретически расстояние между антенными элементами может быть намного больше, чем «разумный» (возможный к компоновке) размер печатной платы. Это может дать существенный выигрыш в помехоустойчивости. Практическое исполнение такого варианта в производстве таких высокотехнологичных изделий, как крылатая ракета, технически возможно, однако, серийное изготовление пока вызывает трудности.

[61]

Размещение блока обработки информации в отсеке бортовой аппаратуры позволяет обеспечить «комфортный» (приемлемый по техническим требованиям) режим работы.

[62]

Размещение помехозащищенной антенны под радиопрозрачным обтекателем позволяет принимать спутниковые сигналы без потери их свойств. Размещение антенных элементов на керамической плате позволяет выдерживать высокий уровень температуры (250-300°С), что вполне допустимо при сверхзвуковом полете крылатой ракеты.

[63]

При этом следует отметить, конструктивные особенности КР таковы, что даже установка только антенных элементов может вызывать серьезные трудности. Связано это (как было указано) с размерами отверстий, предусмотренных конструкцией корпуса КР, или с возможной необходимостью изготовления новых отверстий в корпусе КР, что либо невозможно, либо нежелательно. Также влияет на размещение антенных элементов наличие допустимого пространства в отсеке под радиопрозрачным обтекателем (в антенном блоке).

[64]

Однако предлагаемые технические решения позволяют решить эту проблему. Учитывая то, что носовая часть КР уже содержит радиопрозрачный обтекатель, внутрь устанавливаются только антенные элементы, например, по периметру носовой части. Это позволит обеспечить стабильный прием спутниковых сигналов с теневой для основной антенной системы области приема спутниковых сигналов.

[65]

В совокупности основная антенная система вместе с дополнительной позволит принимать спутниковые сигналы практически со всей части полусферы Земли. При этом отпадает необходимость внесения изменений в конструкцию корпуса ракеты.

[66]

Кроме того, размещение антенных элементов возможно и по всей площади радиопрозрачного обтекателя носовой части, если это не наносит ущерб работе двигательной установки. Такое расположение позволит обеспечить работоспособность антенной системы спутниковой навигации при пикировании КР в условиях наличия помех.

[67]

Соединение каждого антенного элемента независимым кабелем - вызванная техническая необходимость, связанная с особенностями работы помехозащищенной антенной системы. Расчеты и эксперименты показывают, что передача сигнала через грамотно спроектированный кабель (с учетом разъема) не влияет на качество сигнала.

[68]

Из источников литературы известно, что для нейтрализации помехи необходимо наличие не менее двух антенных элементов. При этом количество помех (Nпом), которые возможно исключить (нейтрализовать) будет определяться по зависимости:

[69]

Nпом=Naнт - 1, где Naнт - количество антенных элементов на один канал спутниковой связи.

[70]

Т.е. чем больше количество антенных элементов, тем большее количество помех возможно нейтрализовать. Очевидно, что распределение антенных элементов по всей площади радиопрозрачного обтекателя носовой части КР дает возможность разместить большое количество антенных элементов, тем самым повышая помехозащищенность системы спутниковой навигации.

[71]

Также из литературы известно, что рациональное размещение антенных элементов, т.е. наличие расстояния между ними определяется длиной волны принимаемого сигнала (в идеале должно быть кратным длине волны). Таким образом, исходя из конструктивных особенностей носовой части, а именно распределения антенных элементов по всей площади радиопрозрачного обтекателя носовой части, определяется количество антенных элементов и возможности помехоустойчивости ССН (корреляция количества поставленных помех и повышение уровня сигнала).

[72]

Однако из некоторых требований, предъявляемых к ССН, следует наличие дополнительного канала спутниковой связи, который может быть как защищенным (при этом применяется изложенное выше решение), так и незащищенным. В этом случае достаточно установки одного антенного элемента, соединенного с блоком обработки информации независимым кабелем.

[73]

В случае обнаружения помехи на незащищенном канале связи он может быть выключен, а работа ССН будет переведена на защищенный канал связи.

[74]

Были проведены успешные испытания, и изготовленные образцы помехозащищенных антенных систем подтвердили возможность практической реализации заявляемого решения, что и согласуется с правильностью сделанных расчетов.

[75]

В первом варианте использования помехозащищенных антенных систем возможна установка только одной антенной системы в торцевой части. Внутренними границами 11 (фиг. 3) показана область приема спутникового сигнала антенной системой, установленной в передней торцевой части ракеты при маршевом полете. Из варианта, представленного на фиг. 4, видно, что при переходе из маршевого полета в пикирование часть спутников (поз. 14) будет попадать в область приема сигнала антенной системы, установленной в передней торцевой части ракеты. Однако наилучший вариант даст установка двух антенных систем. Данный вариант будет более стабилен, так как при маршевом полете будет охвачена практически вся область полусферы (до горизонта), а при пикировании практически вся четверть при непрерывном приеме сигнала спутника без перенастройки (настройки) ССН.

[76]

Из фиг. 3, 4 видно, что если будет установлена только одна антенная система в верхней части корпуса ракеты, то часть спутников (или все спутники), попадающих в ее зону видимости при штатном (горизонтальном) полете ракеты, могут выйти из зоны обзора при пикировании (поз. 12). Так как пикирование является заключительным и быстротечным этапом полета, то в результате может не хватить времени на перенастройку ССН на другие спутники. При установке двух антенных систем часть спутников, с которых приходит прием сигналов при штатном (горизонтальном) полете ракеты, непременно окажется в области, доступной для приема и в режиме пикирования.

[77]

Кроме того, установка двух антенных систем (при выполнении одной из них в торцевой части) дает существенный выигрыш в помехозащищенности, что особо важно вблизи цели, так как предполагается повышенная защита цели средствами радиоэлектронной борьбы.

[78]

Выбор применения одной или двух антенных систем зависит и от поставленной задачи. Например, при работе по нерадиоконтрастным целям установка на летательный аппарат двух антенных систем в совокупности даст лучший результат.

[79]

Однако возможны и ограничения. Движение летательного аппарата в атмосфере с гиперзвуковыми скоростями приводит к интенсивному разогреву корпуса летательного аппарата. Вследствие чего тепло, подведенное к поверхности, а именно к верхней части корпуса ракеты, где установлена антенная система, может разрушить электронные компоненты, поэтому целесообразно установить антенную систему только в передней торцевой части, так как она будет лучше защищена от воздействия высоких температур.

[80]

Таким образом, предлагаемые технические решения позволяют решить главную задачу - повысить помехозащищенность ССН, а вместе с этим и самой КР, и обеспечить работоспособность ССН при пикировании КР. Предложенные варианты расположения антенных систем позволят обеспечить высокую помехозащищенность, высокую точность, непрерывность работы ССН. Модернизация системы спутниковой навигации сверхзвуковой крылатой ракеты будет происходить с учетом существующих требований к КР, с минимальными производственными затратами на доработку существующих компонентов КР, с существенной экономией трудозатрат, средств и времени.

[81]

Реализация решения не только делает возможным внедрение на КР помехозащищенной антенной системы, но и в противоположность альтернативным вариантам, например, связанным с внесением изменений в корпус КР, исключает необходимость проведения дополнительных расчетов корпуса и дорогостоящих испытаний.

Как компенсировать расходы
на инновационную разработку
Похожие патенты