патент
№ RU 2596635
МПК B66B5/22

ЛОВИТЕЛЬ КАБИНЫ ЛИФТА

Авторы:
Полянский Валерий Павлович
Номер заявки
2015131796/11
Дата подачи заявки
31.07.2015
Опубликовано
10.09.2016
Страна
RU
Как управлять
интеллектуальной собственностью
Чертежи 
4
Реферат

Изобретение относится к лифтостроению, а именно к устройствам безопасности лифтов. Ловитель содержит основание, на котором закреплена колодка, несущая пружину, установленную своими концами в тормозной башмак, взаимодействующий с направляющей, а также клин и ролик, при этом, согласно патентуемому решению, тормозной башмак выполнен с ограничителями хода, опирается на концы пружины и прижат через пружину посредством скобы к колодке. В основании закреплена опора в виде оси, несущей ролик, на который опирается клин, выполненный с углублением и двумя наклонными плоскостями, сходящимися к углублению и образующими две клиновые поверхности. Клин имеет ограничители хода и прижимную пружину, закрепленную на концах клина и фиксирующую исходное положение клина за счет прижатия углубления клина к ролику и клиновых поверхностей к стойкам, закрепленным к основанию выше и ниже ролика. Причем клин выполнен с возможностью перемещения вверх или вниз между основанием и щекой, взаимодействуя при этом с роликом, а тормозной башмак выполнен с возможностью его перемещения из одного крайнего положения в другое между основанием и щекой, взаимодействуя через пружину с колодкой. Клин и тормозной башмак выполнены с возможностью взаимодействия с направляющей в процессе посадки на ловители и одновременного перемещения в одну сторону вверх или вниз до упора в основание ограничителем хода тормозного башмака и ограничителем хода клина. Техническим результатом патентуемого решения является повышение безопасности и надежности торможения за счет обеспечения двухстороннего действия ловителя кабины лифта, обеспечения стабильных условий торможения,

Формула изобретения

Ловитель, характеризующийся тем, что содержит основание, на котором закреплена колодка, несущая пружину, установленную своими концами в тормозной башмак, взаимодействующий с направляющей, а также клин и ролик, тормозной башмак выполнен с ограничителями хода и прижат через пружину посредством скобы к колодке, в основании закреплена опора в виде оси, несущей ролик, выполненный с возможностью вращения относительно оси, на ролик опирается клин, выполненный с углублением и двумя наклонными плоскостями, сходящимися к углублению, образующими две клиновые поверхности, и содержит ограничители хода и прижимную пружину, фиксирующую исходное положение клина за счет прижатия углубления на поверхности клина к ролику и клиновых поверхностей к стойкам, расположенным выше и ниже ролика, причем клин выполнен с возможностью перемещения вверх или вниз между основанием и щекой, а тормозной башмак выполнен с возможностью его перемещения из одного крайнего положения в другое между основанием и щекой и взаимодействия с колодкой, при этом клин и тормозной башмак выполнены с возможностью взаимодействия с направляющей в процессе посадки на ловители и одновременного перемещения в одну сторону вверх или вниз до упора в основание ограничителем хода тормозного башмака и ограничителем хода клина.

Описание

[1]

Изобретение относится к лифтостроению, а именно к устройствам безопасности лифтов («предохранительным устройствам»).

[2]

Из уровня техники известны следующие конструкции ловителей.

[3]

Так, из реферата к заявке Мексики №2014011179 (опубликована 14.11.2014) известен ловитель, который содержит тормозное устройство, которое взаимодействует с рельсовой направляющей подвесных средств. Тормозное устройство содержит кулачковый диск, вращающийся вокруг оси и предназначенный для активации улавливающего устройства, при этом кулачковый диск входит в контакт с направляющей, в результате чего ловитель перемещается относительно направляющей и, следовательно, ловитель производит торможение относительно направляющей. Ловитель содержит электрически управляемый механизм активации с возможностью поворота рычага активации и активирующую пружину, которая, в случае необходимости, приводит кулачковый диск во вращение на угол поворота активации через активирующий рычаг.

[4]

Недостатками известного ловителя являются значительное повреждение поверхности направляющей в зоне ее контакта с кулачковым диском в процессе деформации пружин ловителя, обеспечивающих процесс торможения кабины. Выдавленный из зоны контакта материал направляющей необходимо удалить после снятия с ловителей во избежание износа башмаков кабины и нарушения плавности ее движения.

[5]

Кроме этого, из патента РФ №2444471 (опубликован 10.03.2012) известна система аварийного торможения кабины лифта, предназначенная для обеспечения безопасности лифта при превышении скорости кабины. Система содержит механизм ограничения скорости, который расположен на кабине лифта и выполнен в виде обгонной роликовой муфты. Муфта соосно установлена в одном из роликовых башмаков. Превышение скорости кабины вызывает зажатие корпуса обгонной муфты и поворот его вместе с роликовым башмаком. Тяги, соединяющие корпус обгонной муфты с ловителем, подтягивают ловитель, в результате происходит остановка кабины лифта.

[6]

Недостатками данной системы являются: включение ловителей осуществляется за счет силы трения роликового башмака по направляющей. Износ башмака, в том числе из-за дополнительного сопротивления обгонной муфты, попадание смазочных материалов на контактную поверхность снижает надежность срабатывания ловителя.

[7]

Наиболее близким аналогом к патентуемой конструкции является ловитель кабины лифта, содержащий, также как и патентуемый, основание, на котором закреплена колодка, несущая пружину, установленную в тормозной башмак, взаимодействующий с направляющей, а также клин и ролик (авторское свидетельство СССР №1079580, опубликовано 15.03.1984).

[8]

Конструкция ловителя содержит роликовую обойму с несколькими роликами. Малый диаметр роликов и неравномерное распределение нагрузки на них в процессе посадки на ловители приводит к превышению допустимых напряжений в контакте отдельных роликов с поверхностью клина и колодки и, как следствие, на этих поверхностях образуются лунки, препятствующие самозатягиванию клиньев ловителей и уменьшающие тормозное усилие.

[9]

Кроме этого, общими недостатками известных ловителей является то, что они тормозят кабину, движущуюся вниз, и не предусмотрено торможение кабины, движущейся вверх.

[10]

Техническим результатом патентуемого решения является повышение безопасности и надежности торможения за счет обеспечения двухстороннего действия ловителей кабины лифта, обеспечения стабильных условий торможения кинематической определенностью взаимодействия деталей ловителя в процессе посадки на ловители, упрощения конструкции ловителя.

[11]

Заявленный технический результат достигается за счет использования ловителя, содержащего основание, на котором закреплена колодка, несущая пружину, установленную в тормозной башмак, взаимодействующий с направляющей, а также клин и ролик, при этом, согласно патентуемому решению, тормозной башмак выполнен с ограничителями хода, опирается на концы пружины и прижат через пружину посредством скобы к колодке, в основании закреплена опора в виде оси, несущей ролик, выполненный с возможностью вращения относительно оси, на ролик опирается клин, который выполнен с углублением и двумя наклонными плоскостями, сходящимися к углублению и образующими две клиновые поверхности, и содержит ограничители хода и прижимную пружину, закрепленную на концах клина и фиксирующую исходное положение клина за счет прижатия углубления клина к ролику и клиновых поверхностей к стойкам, закрепленным к основанию выше и ниже ролика, причем клин выполнен с возможностью перемещения вверх или вниз между основанием и щекой, взаимодействуя при этом с роликом, а тормозной башмак выполнен с возможностью его перемещения из одного крайнего положения в другое между основанием и щекой, взаимодействуя через пружину с колодкой, при этом клин и тормозной башмак выполнены с возможностью взаимодействия с направляющей в процессе посадки на ловители и одновременного перемещения в одну сторону вверх или вниз до упора в основание ограничителем хода тормозного башмака и ограничителем хода клина.

[12]

Далее решение поясняется ссылками на фигуры, на которых изображено следующее.

[13]

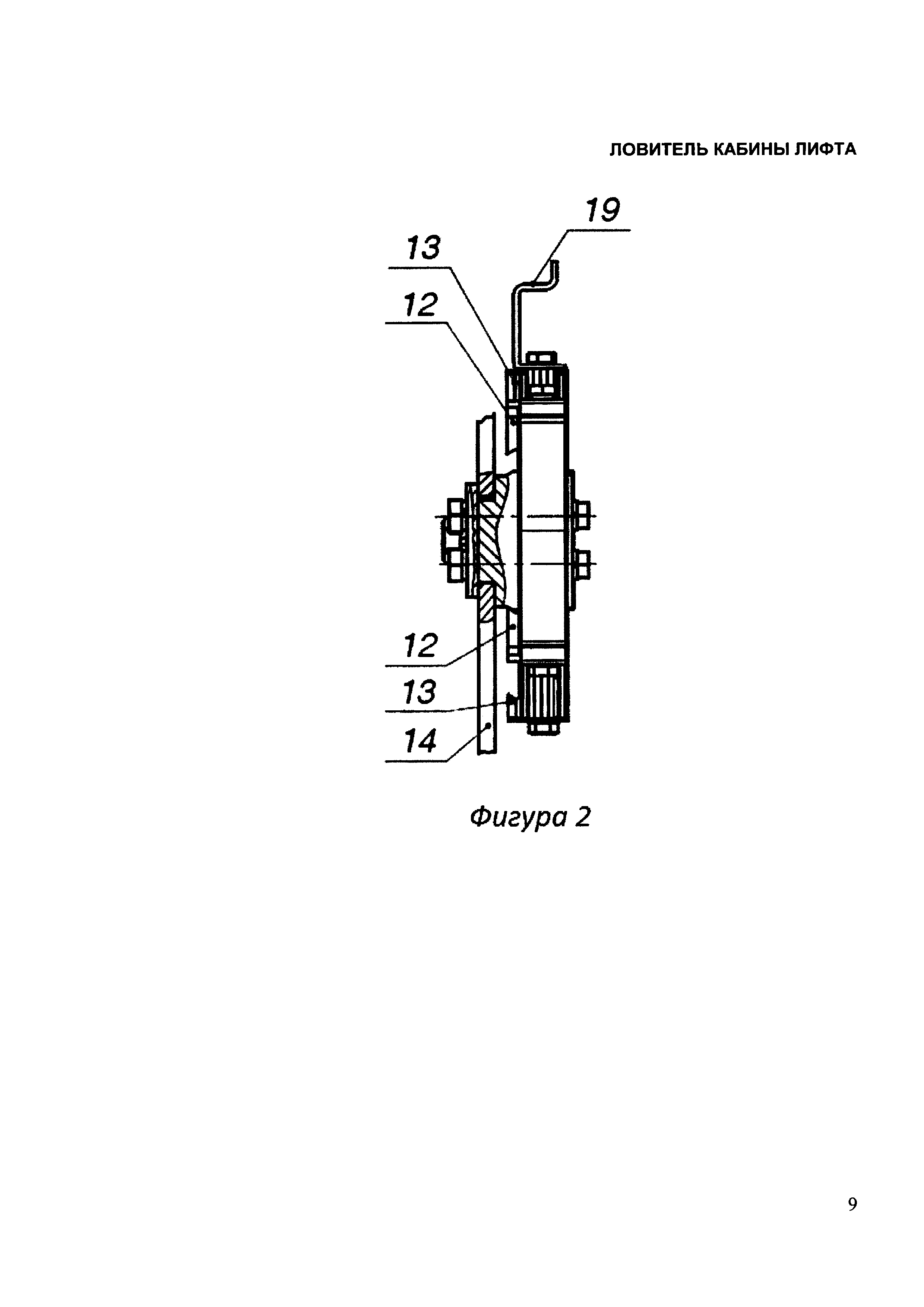
На фигуре 1 - вид ловителя спереди.

[14]

На фигуре 2 - вид ловителя сбоку.

[15]

На фигуре 3 - вид ловителя сверху.

[16]

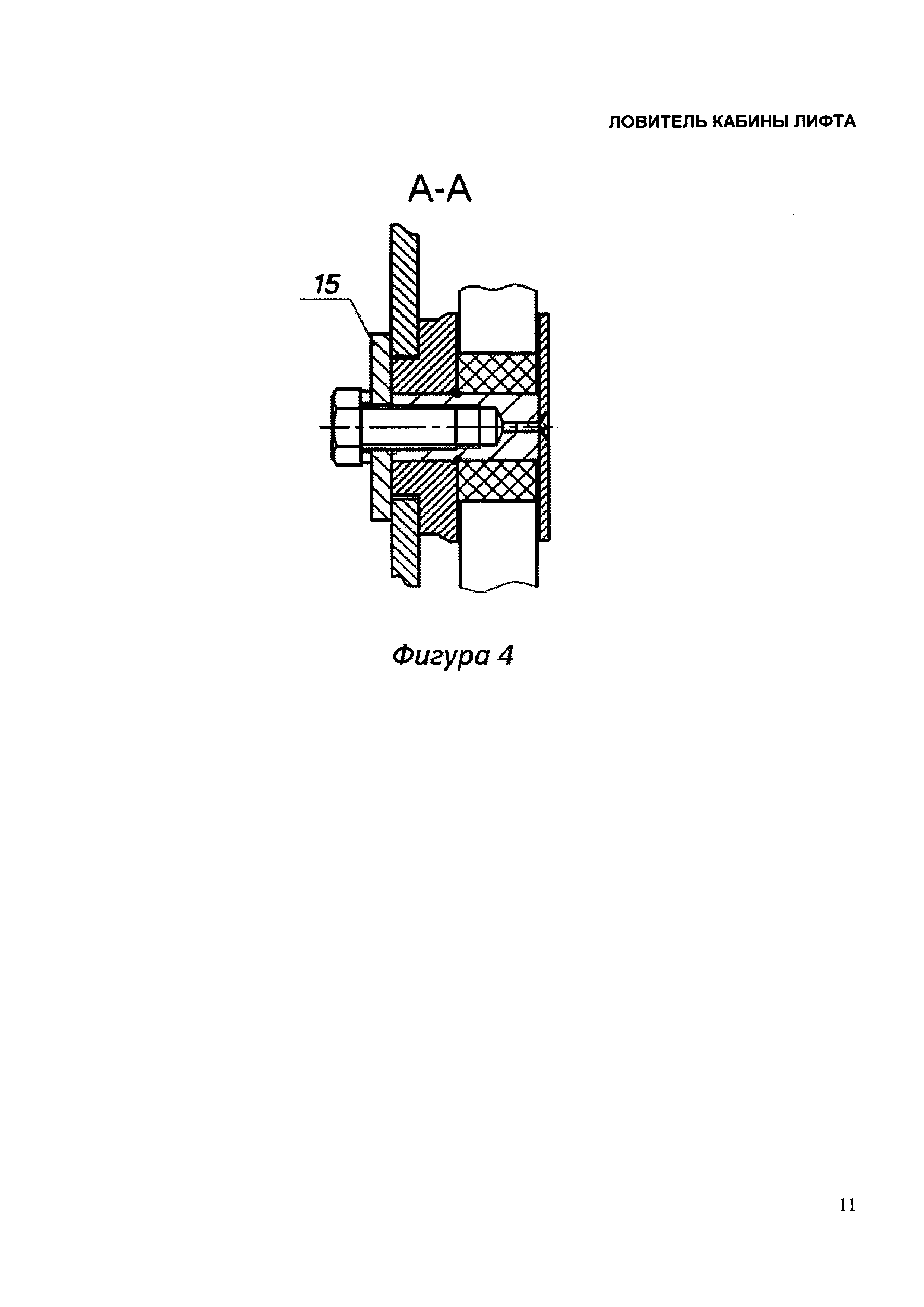
На фигуре 4 - вид А-А по фигуре 1.

[17]

Ловитель (фиг. 1) содержит основание 1, на котором закреплена колодка 2, несущая пружину 3, установленную своими концами в тормозной башмак 4, взаимодействующий с направляющей, опирающийся на концы пружины 3 и прижатый через пружину к колодке 2 скобой 5 и опора в виде оси 6, закрепленной в основании 1 и несущей ролик 7, имеющий возможность вращения на оси 6, и опирающийся на него клин 8, который выполнен с углублением и двумя наклонными плоскостями, сходящимися к углублению, образующими две клиновые поверхности, и содержит ограничители хода 13 и прижимную пружину 9, закрепленную на концах клина и фиксирующую исходное положение клина за счет прижатия углубления на поверхности клина к ролику 7 и клиновых поверхностей к стойкам 20, расположенным выше и ниже ролика,

[18]

Клин 8 имеет возможность из исходного положения перемещаться вверх или вниз между основанием 1 и щекой 10, взаимодействуя с роликом 7, а тормозной башмак 4 с пружиной 3 имеет возможность перемещаться из одного крайнего положения в другое между основанием 1 и щекой 11, взаимодействуя с колодкой 2, при этом клин 8 и тормозной башмак 4, контактируя с направляющей в процессе посадки на ловители, перемещаются оба в одну сторону вверх или вниз до упора в основание 1 ограничителем хода 12 тормозного башмака и ограничителем хода 13 клина.

[19]

Ловитель устанавливается на балке кабины лифта так, что выступ его основания входит в окно поперечины 14, соединяющей боковые элементы балки. С внутренней стороны поперечины устанавливается пластина 15, перекрывающая окно поперечины и жестко скрепленная с основанием 1 разъемными резьбовыми соединениями в том числе одно из них дополнительно фиксирует ось 6, закрепленную в основании 1. Основание с пластиной и закрепленными на нем элементами ловителя имеет возможность перемещения в поперечном к балке кабины направлении. За счет этого устанавливается необходимый зазор «А» между клином 8 и направляющей 16. При этом положение основания 1 определяется упором 17, установленным на балке кабины со стороны колодки 2, к упору основание прижимается пружиной 18 (позиции 16-17-18 условно показаны только на виде сверху).

[20]

На клине 8 закреплена серьга 19, связывающая клин с механизмом привода ловителей.

[21]

Положение колодки 2 на основании 1 определяет исходное расстояние между контактирующими с направляющей поверхностями тормозного башмака 4 и клина 8 (различное для различных моделей лифтов и типов их направляющих). При сборке ловителя колодка фиксируется с необходимой точностью к основанию 1 штифтами. Кроме того, колодка закреплена к основанию разъемными резьбовыми соединениями.

[22]

Скоба 5 своими концами закреплена к тормозному башмаку 4, при этом она фиксирует положение концов пружины 3 в тормозном башмаке. Щека 11 закреплена на колодке 2 (см. фигуру 1.

[23]

Щека 10 закреплена к основанию 1 через стойки 20 и к верхней части оси 6.

[24]

Закрепление скобы 5, прижимной пружины 9, щеки 10 и щеки 11 также выполняется разъемными резьбовыми соединениями.

[25]

Ловитель работает следующим образом.

[26]

В ситуации, когда скорость движущейся вверх или вниз кабины достигает критического значения, срабатывает ограничитель скорости, при этом за счет сцепления (трения) каната ограничителя скорости по остановившемуся шкиву ограничителя скорости возникает усилие, которое через механизм привода ловителей вызывает перемещение клина 8 (относительно кабины) вверх при движении кабины вниз и соответственно вниз при движении кабины вверх.

[27]

При смещении клина 8 из исходного положения за счет выхода ролика из углубления на поверхности клина и прокатывания наклонной плоскости клина 8 по ролику 7 происходит поперечное смещение клина и его контакт с направляющей. При дальнейшем перемещении клина происходит смещение основания 1, и тормозной башмак 4 также вступает в контакт с направляющей 16, после чего происходит процесс самозатягивания клина 8 и его дальнейшее перемещение до упора в основание 1 ограничителем хода 13 клина 8, при этом тормозной башмак 4 смещается в том же направлении до упора в основание своим ограничителем хода 12. За счет упругой деформации пружины 3 создается усилие тормозного башмака 4 и встречное усилие клина 8 на направляющую16, что обеспечивает торможение кабины.

[28]

Для снятия с ловителей кабину перемещают в направлении, противоположном тому, при котором произошла посадка. В начальный момент клин и тормозной башмак остаются неподвижными по отношению к направляющей, а основание 1 с закрепленными на нем осью 6 с роликом 7 и колодкой 2 двигаются вместе с кабиной в направлении снятия с ловителей. При этом колодка скользит по поверхности пружины, установленной в тормозном башмаке, а ролик 6 скатывается с наклонной внутренней плоскости клина 8, уменьшая усилие воздействия клина и тормозного башмака на направляющую. Этот процесс идет до контакта основания 1 ловителя с ограничителем хода 12 тормозного башмака. К этому моменту усилие между тормозным башмаком и клином и направляющей значительно снизится.

[29]

Дальнейшее перемещение кабины вызовет скольжение тормозного башмака по направляющей (но уже со сниженным усилием), а со стороны клина ролик дойдет до среднего положения (до углубления на поверхности клина) и между клином и направляющей и тормозной колодкой и направляющей образуются исходные зазоры, при этом основание 1 также сместится в исходное положение до упора в балке кабины. Механизм привода ловителей также займет исходное положение.

[30]

Снятие с ловителей на этом завершено.

Как компенсировать расходы
на инновационную разработку
Похожие патенты