патент
№ RU 2611472
МПК G06F3/14

УСТРОЙСТВО И СПОСОБ ВОСПРОИЗВЕДЕНИЯ АРХИВНОГО ВИДЕО

Авторы:
Ракутин Александр Николаевич Петричкович Ярослав Ярославович Хамухин Анатолий Владимирович
Все (4)
Номер заявки
2016118380
Дата подачи заявки
12.05.2016
Опубликовано
22.02.2017
Страна
RU
Как управлять
интеллектуальной собственностью
Чертежи 
3
Реферат

Изобретение относится к области обработки изображений. Техническим результатом является сокращение времени воспроизведения потока изображений за счет определения областей события в потоке изображений. Предложено устройство воспроизведения архивного видео. Устройство содержит память, устройство отображения, блок ввода параметров, аналитический блок, который содержит блок доступа к изображениям и блок выделения событий, которые соединены с памятью и блоком разбиения на интервалы, который соединен с блоком ввода параметров и с блоком наложения изображений, который соединен с устройством отображения. Блок доступа к изображениям выполнен с возможностью определения и извлечения из архива данных о длительности по времени потока изображений и передачи их в блок разбиения на интервалы. Аналитический блок выполнен с возможностью определения событий в потоке изображений и передачи данных о временных метках событий в блок разбиения на интервалы. 2 н.п. ф-лы, 4 ил.

Формула изобретения

1. Устройство воспроизведения архивного видео, содержащее память, устройство отображения, блок ввода параметров, а также аналитический блок, который содержит блок доступа к изображениям и блок выделения событий, которые соединены с памятью и блоком разбиения на интервалы, который соединен с блоком ввода параметров и с блоком наложения изображений, который соединен с устройством отображения, причем

память выполнена с возможностью хранения архива потока изображений;

блок доступа к изображениям выполнен с возможностью определения и извлечения из архива данных о длительности по времени потока изображений и передачи их в блок разбиения на интервалы;

блок ввода параметров выполнен с возможностью получения от пользователя заданной длительности временного интервала потока изображений и передачи его в блок разбиения на интервалы;

аналитический блок выполнен с возможностью определения событий в потоке изображений и передачи данных о временных метках событий в блок разбиения на интервалы, который выполнен с возможностью разбиения потока изображений в архиве на интервалы заданной длительности, содержащие события, и на очереди из нескольких интервалов с помощью временных меток и передачи данных о временных метках интервалов и очередей в блок наложения изображений, который выполнен с возможностью передачи из архива на устройство отображения одновременно потоков изображений всех интервалов каждой очереди, при этом наложения друг на друга и совмещения в одном кадре потоков изображений нескольких интервалов каждой очереди;

устройство отображения выполнено с возможностью одновременного отображения потоков изображений всех интервалов каждой очереди в одном кадре.

2. Способ воспроизведения архивного видео, в котором

посредством блока доступа к изображениям определяют и извлекают из архива в памяти данные о длительности по времени потока изображений и передают их в блок разбиения на интервалы;

посредством блока ввода параметров получают от пользователя заданную длительность временного интервала потока изображений и передают ее в блок разбиения на интервалы;

посредством блока выделения событий определяют события в потоке изображений и передают данные о временных метках событий в блок разбиения на интервалы, посредством которого разбивают поток изображений в архиве в памяти на интервалы заданной длительности, содержащие события, и на очереди из нескольких интервалов с помощью временных меток и передают данные о временных метках интервалов и очередей в блок наложения изображений, посредством которого передают из архива на устройство отображения одновременно потоки изображений всех интервалов каждой очереди, при этом накладывают друг на друга и совмещают в одном кадре потоки изображений нескольких интервалов каждой очереди;

посредством устройства отображения одновременно отображают потоки изображений всех интервалов каждой очереди в одном кадре.

Описание

[1]

Изобретение относится к области обработки изображений, а именно к устройствам и способам воспроизведения архивного видео путем анализа потоковых архивных данных, полученных от различных приборов в составе систем технического зрения и сохраняемых в процессе контроля обстановки в поле действия приборов технического зрения. Изобретение может использоваться в системах видеонаблюдения. Наиболее распространенными приборами технического зрения являются, прежде всего, видеокамеры, однако наряду с ними в системах технического зрения используют различные радиолокационные датчики, приборы инфракрасного зрения, объемные ультразвуковые датчики, индукционные датчики и другие приборы, фиксирующие изменение обстановки в своей области контроля. Несмотря на то, что далее в примерах проиллюстрированы примеры анализа архивных видеоизображений, получаемых с видеокамер, заявленные устройство и способ в равной степени применимы к анализу данных от перечисленных выше приборов, поскольку информация, полученная от них в каждый момент времени, может быть представлена в виде изображения.

[2]

Как правило, системы технического зрения оснащены устройствами просмотра архивного потока изображений как в режиме воспроизведения с обычной скоростью, так и в режиме ускоренного воспроизведения. Если система технического зрения снабжена устройствами автоматического анализа сигналов, тогда в архиве изображений могут дополнительно сохраняться отметки о времени автоматически обнаруженного события. Эти метки могут использоваться при просмотре архивных изображений для дополнительной навигации по времени архива: например, с помощью этих меток можно позиционировать только в те интервалы видеоархива, на которых системой технического зрения зафиксировано потенциальное событие.

[3]

Наиболее близким к заявленному изобретению является устройство воспроизведения архивного видео, описанное в патенте на изобретение РФ №2510960, которое позволяет просматривать архив изображений с учетом временных меток автоматически выделенных событий, и при этом легко изменять скорость воспроизведения (в том числе в обратном направлении). Данное устройство выбрано в качестве прототипа заявленного изобретения.

[4]

Основным недостатком устройства-прототипа является недостаточное удобство пользования вследствие большой трудоемкости поиска событий на изображениях, особенно в случае, когда система технического зрения не выделяет события в автоматическом режиме, или выделяет их слишком часто. Другой недостаток устройства-прототипа заключается в его недостаточной эффективности, поскольку просмотр архива изображений в нем требует много времени при скорости воспроизведения 1:1, особенно в случае, когда система технического зрения включает в себя большое количество датчиков, а при ускоренном воспроизведении, например со скоростью 16:1, существенно возрастает вероятность пропустить значимые участки архива изображений, так как их воспроизведение происходит за очень короткий промежуток времени.

[5]

Задачей заявленного изобретения является создание устройства и способа воспроизведения архивного видео с сокращенным временем воспроизведения потока изображений за счет осуществления семантической сегментации потока изображений, то есть за счет определения содержащих события интервалов в потоке изображений и одновременного отображения этих интервалов.

[6]

Поставленная задача решена путем создания устройства воспроизведения архивного видео, содержащего память, устройство отображения, блок ввода параметров, а также аналитический блок, который содержит блок доступа к изображениям, который соединен с памятью и блоком разбиения на интервалы, который соединен с блоком ввода параметров и с блоком наложения изображений, который соединен с устройством отображения причем,

[7]

- память выполнена с возможностью хранения архива потока изображений;

[8]

- блок доступа к изображениям выполнен с возможностью определения и извлечения из архива данных о длительности по времени потока изображений и передачи их в блок разбиения на интервалы;

[9]

- блок ввода параметров выполнен с возможностью получения от пользователя заданной длительности временного интервала потока изображений и передачи его в

[10]

- блок разбиения на интервалы, который выполнен с возможностью разбиения потока изображений в архиве на интервалы заданной длительности и на очереди из нескольких интервалов с помощью временных меток и передачи данных о временных метках интервалов и очередей в

[11]

- блок наложения изображений, который выполнен с возможностью передачи из архива на устройство отображения одновременно потоков изображений всех интервалов каждой очереди, при этом наложения друг на друга и совмещения в одном кадре потоков изображений нескольких интервалов каждой очереди;

[12]

- устройство отображения выполнено с возможностью одновременного отображения потоков изображений всех интервалов каждой очереди в одном кадре.

[13]

В предпочтительном варианте осуществления устройства аналитический блок

[14]

также содержит блок выделения событий, который соединен с памятью и с блоком разбиения на интервалы и выполнен с возможностью определения событий в потоке изображений и передачи данных о временных метках событий в блок разбиения на интервалы, который выполнен с возможностью разбиения потока изображений в архиве на интервалы заданной длительности, содержащие события, и на очереди из нескольких интервалов с помощью временных меток.

[15]

Поставленная задача решена также путем создания способа воспроизведения архивного видео, в котором

[16]

- посредством блока доступа к изображениям определяют и извлекают из архива в памяти данные о длительности по времени потока изображений и передают их в блок разбиения на интервалы;

[17]

- посредством блока ввода параметров получают от пользователя заданную длительность временного интервала потока изображений и передают его в

[18]

- блок разбиения на интервалы, посредством которого разбивают поток изображений в архиве в памяти на интервалы заданной длительности и на очереди из нескольких интервалов с помощью временных меток и передают данные о временных метках интервалов и очередей в

[19]

- блок наложения изображений, посредством которого передают из архива на устройство отображения одновременно потоки изображений всех интервалов каждой очереди, при этом накладывают друг на друга и совмещают в одном кадре потоки изображений нескольких интервалов каждой очереди;

[20]

- посредством устройства отображения одновременного отображают потоки изображений всех интервалов каждой очереди в одном кадре.

[21]

В предпочтительном варианте осуществления способа посредством блока выделения событий, определяют события в потоке изображений и передают данные о временных метках событий в блок разбиения на интервалы, посредством которого разбивают поток изображений в архиве в памяти на интервалы заданной длительности, содержащие события, и на очереди из нескольких интервалов с помощью временных меток.

[22]

Для лучшего понимания заявленного изобретения далее приводится его подробное описание с соответствующими графическими материалами.

[23]

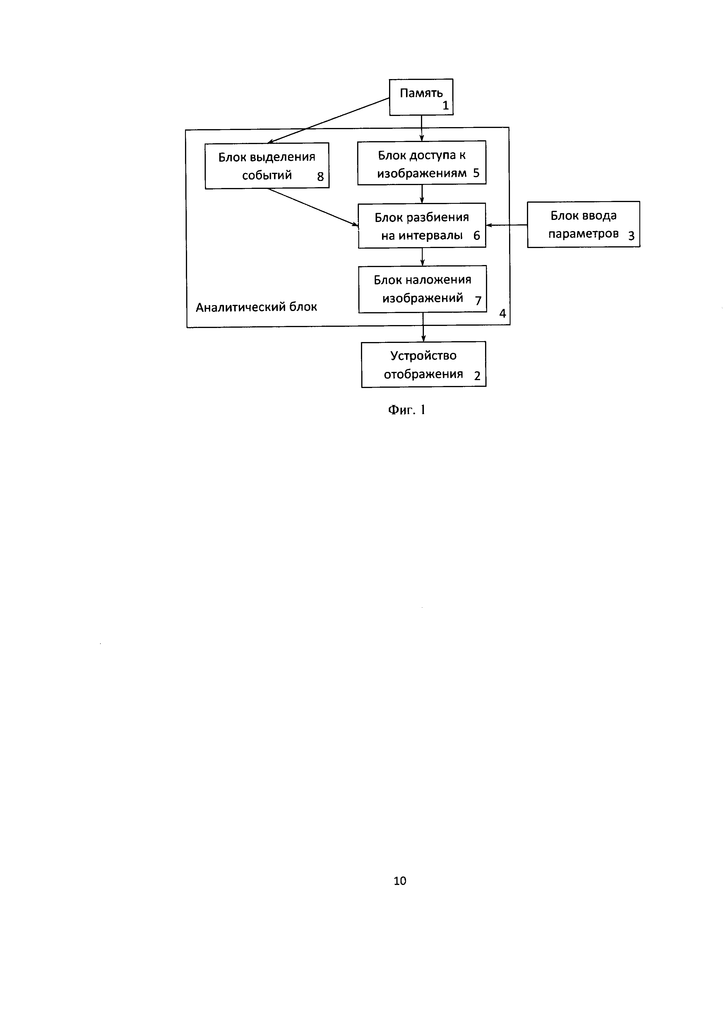
Фиг. 1. Схема устройства воспроизведения архивного видео, выполненная согласно изобретению.

[24]

Элементы:

[25]

1 - память;

[26]

2 - устройство отображения;

[27]

3 - блок ввода параметров;

[28]

4 - аналитический блок;

[29]

5 - блок доступа к изображениям;

[30]

6 - блок разбиения на интервалы;

[31]

7 - блок наложения изображений;

[32]

8 - блок выделения событий.

[33]

Фиг. 2. Схема способа разбиения архивного видео на интервалы без учета событий, выполненная согласно изобретению.

[34]

Фиг. 1. Схема способа разбиения архивного видео на интервалы с учетом событий, выполненная согласно изобретению. (С.1 - событие 1, С.2 - событие 2).

[35]

Фиг. 4. Схема воспроизведения изображений из разных интервалов с наложением друг на друга, выполненная согласно изобретению.

[36]

Рассмотрим вариант выполнения заявленных устройства и способа воспроизведения архивного видео. (Фиг. 1-4).

[37]

Устройство воспроизведения архивного видео (Фиг. 1), содержит память 1, устройство отображения 2, блок 3 ввода параметров, а также аналитический блок 4, который содержит блок 5 доступа к изображениям, который соединен с памятью 1 и блоком 6 разбиения на интервалы, который соединен с блоком 3 ввода параметров и с блоком 7 наложения изображений, который соединен с устройством отображения 2. Посредством блока 5 доступа к изображениям определяют и извлекают из архива в памяти 1 данные о длительности по времени потока изображений и передают их в блок 6 разбиения на интервалы. Посредством блока 3 ввода параметров получают от пользователя заданную длительность временного интервала потока изображений и передают его в блок 6 разбиения на интервалы. Посредством блока 6 разбиения на интервалы разбивают поток изображений в архиве в памяти 1 на интервалы заданной длительности и на очереди из нескольких интервалов с помощью временных меток и передают данные о временных метках интервалов и очередей в блок 7 наложения изображений. Посредством блока 7 наложения изображений передают из архива на устройство отображения 2 одновременно потоки изображений всех интервалов каждой очереди, при этом накладывают друг на друга и совмещают в одном кадре потоки изображений нескольких интервалов каждой очереди. Посредством устройства отображения 2 одновременного отображают потоки изображений всех интервалов каждой

[38]

очереди в одном кадре.

[39]

Суть заявленного способа заключается в одновременном воспроизведении в одном кадре потоков изображений нескольких интервалов, из которых состоит весь поток изображений, хранящийся в архиве. (Фиг. 2). На Фиг. 2 приведен пример, в котором один час всего потока изображений разбит на двенадцать пятиминутных интервалов, которые воспроизводят за десять минут путем одновременного воспроизведения с наложением друг на друга в одном кадре шести пятиминутных интервалов: в течение первых пяти минут воспроизводят одновременно с наложением шесть пятиминутных интервалов (которые образуют первую очередь) первых тридцати минут всего потока изображений, а в течение вторых пяти минут воспроизводят одновременно с наложением шесть пятиминутных интервалов (которые образуют вторую очередь) вторых тридцати минут всего потока изображений. Тем самым уменьшают время воспроизведения всего потока изображений в шесть раз. Параметры разбиения на интервалы и их количество задаются пользователем и определяются свойствами архивных изображений, например плотностью событий в потоке изображений за единицу времени, а также способностью пользователя, производящего поиск информации в потоке изображений, воспринимать сразу несколько потоков изображений, одновременно воспроизводимых в одном кадре с наложением друг на друга.

[40]

На Фиг. 3 показана схема выполнения заявленного способа с учетом трех событий (Событие 1, Событие 2, Событие 3), происходящих в потоке изображений. Посредством блока 8 выделения событий определяют эти события во всем потоке изображений и передают данные о временных метках событий в блок 6 разбиения на интервалы, посредством которого разбивают весь поток изображений на интервалы заданной длительности, содержащие события.

[41]

Блок 8 выделения событий выполнен с возможностью не только определения интервалов потока изображений, на которых произошло событие, но также с возможностью выделения области события на изображении, то есть с возможностью осуществления семантической сегментации изображения. Блок 8 выделения событий выделяет в качестве описания положения события прямоугольник с вертикальными и горизонтальными сторонами на изображении, внутри которого расположено изображение события. Блок 8 выделения событий также выполнен с возможностью формирования поточечного описания области события и сохранения данного описания области события в архиве наряду с временем фиксации события. Выделение области события на изображении осуществляют для более эффективного разделения на интервалы потока архивных изображений с учетом положения событий в кадре при формировании последовательности вывода интервалов с событиями.

[42]

Заявленные способ и устройство воспроизведения архивного видео применимы не только к изображениям, которые стационарны. (Фиг. 4). Например, для поворотных камер, осуществляющих непрерывное сканирование зоны контроля, ускоренное воспроизведения архивного видео можно осуществлять, если предварительно выполнить процедуру построения панорамного изображения. А если такие камеры осуществляют пошаговое сканирование, при этом задерживаются на некоторое время в точках предустановки, тогда одновременно можно воспроизводить те интервалы, которые относятся к одной и той же точке предустановки. Точку предустановки во время воспроизведения можно циклически менять.

[43]

Заявленные устройство и способ воспроизведения архивного видео с радиолокационных датчиков могут работать с изображением карты местности с отображенными на ней отметками объектов, обнаруженных радиолокационным датчиком (именно такое изображение сохраняют в архиве для радиолокационных датчиков некоторые системы технического зрения). Если радиолокационный датчик дополнительно сопряжен с поворотной видеокамерой, тогда целесообразно процедуру ускоренного воспроизведения выполнять для изображения так называемой аналитической видеокарты. На таком изображении рядом с мнемоникой-целью радара на карте местности отображается изображение поворотной видеокамеры в те моменты, когда она наводилась на данную цель. Отметим, что аналитическая видеокарта формируется не только системами с радиолокаторами в составе, но и вообще системами с поворотными видеокамерами, которые сопряжены с другими датчиками, не обязательно радиолокаторами. Заявленные устройство и способ воспроизведения архивного видео применимы и к таким изображениям аналитической видеокарты. В итоге с помощью такой карты можно ускоренно просмотреть записи в архиве для обстановки на охраняемом объекте в целом.

[44]

Хотя описанный выше вариант выполнения изобретения был изложен с целью иллюстрации настоящего изобретения, специалистам ясно, что возможны разные модификации, добавления и замены, не выходящие из объема и смысла настоящего изобретения, раскрытого в прилагаемой формуле изобретения.

Как компенсировать расходы
на инновационную разработку
Похожие патенты