патент
№ RU 2506552
МПК G01M1/10

УСТРОЙСТВО ДЛЯ ИЗМЕРЕНИЯ МОМЕНТА ИНЕРЦИИ ИЗДЕЛИЯ

Авторы:
Кочкин Евгений Васильевич
Номер заявки
2012128159/28
Дата подачи заявки
06.07.2012
Опубликовано
10.02.2014
Страна
RU
Как управлять
интеллектуальной собственностью
Чертежи 
3
Реферат

Изобретение относится к машиностроению, а именно к оборудованию для определения моментов инерции изделий. Устройство содержит подвижную часть, имеющую возможность колебаний вокруг оси, неподвижной относительно основания, например, под действием упругих элементов или сил гравитации, эталонное тело, имеющее элементы технологического базирования для закрепления его на подвижной части устройства. Эталонное тело выполнено с дополнительными элементами технологического базирования, расположенными симметрично относительно основных элементов. При этом центр масс эталонного тела расположен асимметрично относительно основных и дополнительных элементов базирования эталонного тела. Элементы технологического базирования выполнены в виде базовых отверстий на подвижной части устройства, которые совмещаются с базовыми отверстиями на эталонном теле и изделии посредством штифтов, служащих и для закрепления эталонного тела и изделия на подвижной части. Технический результат заключается в повышении точности измерений и упрощении их проведения. 1 з.п. ф-лы, 4 ил.

Формула изобретения

1. Устройство для измерения момента инерции изделия, содержащее подвижную часть, имеющую возможность колебаний вокруг оси, неподвижной относительно основания под действием упругих элементов или сил гравитации, эталонное тело, имеющее элементы технологического базирования для закрепления его на подвижной части устройства, отличающееся тем, что эталонное тело выполнено с дополнительными элементами технологического базирования, расположенными симметрично относительно основных, причем центр масс эталонного тела расположен асимметрично относительно основных и дополнительных элементов базирования эталонного тела.

2. Устройство по п.1, отличающееся тем, что элементы технологического базирования выполнены в виде базовых отверстий на подвижной части устройства, имеющих возможность совмещения с базовыми отверстиями на эталонном теле и изделии посредством штифтов, служащих и для закрепления эталонного тела и изделия на подвижной части.

Описание

[1]

Изобретение относится к машиностроению, а именно к оборудованию для определения моментов инерции изделий.

[2]

Известно устройство для измерения момента инерции изделия, содержащее подвижную часть, имеющую возможность колебаний под действием сил гравитации вокруг оси, неподвижной относительно основания, и эталонное тело с известным положением центра масс (см. Гернет М.М., Ратобыльский В.Ф. «Определение моментов инерции». - М.: Машиностроение, 1969, §9, стр.37).

[3]

Недостатками этого известного устройства является необходимость выполнения дополнительных элементов технологического базирования для закрепления эталонного тела на подвижной части устройства, которой является собственно изделие, что существенно ограничивает область применения известного устройства.

[4]

Известно устройство для измерения момента инерции изделия, содержащее подвижную часть, имеющую возможность крутильных колебаний относительно неподвижного основания под действием упругого элемента, эталонное тело с известным моментом инерции, имеющее элементы технологического базирования для закрепления его на подвижной части устройства (см. Гернет М.М., Ратобыльский В.Ф. «Определение моментов инерции». - М.: Машиностроение, 1969. Стр.70, п.1. Применение эталона) - наиболее близкий аналог.

[5]

Недостатком этого устройства является необходимость предварительного определения момента инерции эталонного тела относительно оси, совпадающей с осью колебаний подвижной части колебательного устройства. Определение момента инерции эталонного тела является технически сложной задачей, так как требует точных измерений всех геометрических параметров и характеристик пространственного распределения плотности материала эталонного тела, неоднородность которого приводит к ошибкам в расчетах момента инерции эталонного тела по геометрическим параметрам. Ошибки в расчетах момента инерции эталонного тела в свою очередь приводят к ошибкам определения моментов инерции измеряемых изделий.

[6]

Техническим результатом настоящего изобретения является повышение точности измерений и упрощение их проведения за счет исключения необходимости решения сложной технической задачи по определению момента инерции эталонного тела и за счет исключения ошибок в расчетах момента инерции эталонного тела, возникающих из-за неоднородности плотности его материала.

[7]

Указанный технический результат обеспечивается за счет того, что в устройстве для измерения момента инерции, содержащем подвижную часть, имеющую возможность крутильных колебаний относительно неподвижного основания, например, под действием упругих элементов или сил гравитации, эталонное тело, имеющее элементы технологического базирования для закрепления его на подвижной части устройства, эталонное тело выполнено с дополнительными элементами технологического базирования, расположенными симметрично относительно основных, причем центр масс эталонного тела расположен ассиметрично относительно основных и дополнительных элементов базирования эталонного тела, которые выполнены, например, в виде базовых отверстий на подвижной части устройства, которые совмещаются с базовыми отверстиями на эталонного теле и изделии посредством штифтов, служащих и для закрепления эталонного тела и изделия на подвижной части.

[8]

При использовании предложенного устройства, в котором эталонное тело выполнено с дополнительными элементами технологического базирования, расположенными симметрично относительно основных, имеется возможность при установке эталонного тела на дополнительные элементы технологического базирования развернуть эталонное тело на 180° не изменяя его собственного момента инерции относительно оси колебаний. Центр масс эталонного тела расположен ассиметрично относительно основных и дополнительных элементов базирования, поэтому при развороте на 180° изменяется переносный момент инерциии, соответственно, изменяется период колебаний в дополнительном положении эталонного тела. (Переносный момент инерции равен произведению массы эталонного тела на разность квадратов расстояний от центра масс эталонного тела до оси колебаний перед перемещением и после перемещения (см. Гернет М.М., Ратобыльский В.Ф. Определение моментов инерции. - М.: Машиностроение, 1969. Стр.8, §4).

[9]

Переносный момент инерции рассчитывается по известным значениям массы и расстояниям центра масс эталонного тела от оси колебаний. Использование переносного момента инерции вместо собственного момента инерции эталонного тела в алгоритме определения момента инерции изделия позволяет избежать необходимости точных измерений всех геометрических параметров и пространственного распределения плотности материала для определения собственного момента инерции эталонного тела.

[10]

Совокупность отличительных признаков предлагаемого устройства обуславливает более простое и более точное определение момента инерции изделия по сравнению с известными аналогами.

[11]

Сущность изобретения иллюстрируется графическими материалами, на которых:

[12]

- на фиг.1 показана подвижная часть устройства;

[13]

- на фиг.2 показана подвижная часть устройства с закрепленным на ней изделием;

[14]

- на фиг.3 показана подвижная часть устройства с закрепленным на ней эталонным телом с помощью основных элементов технологического базирования;

[15]

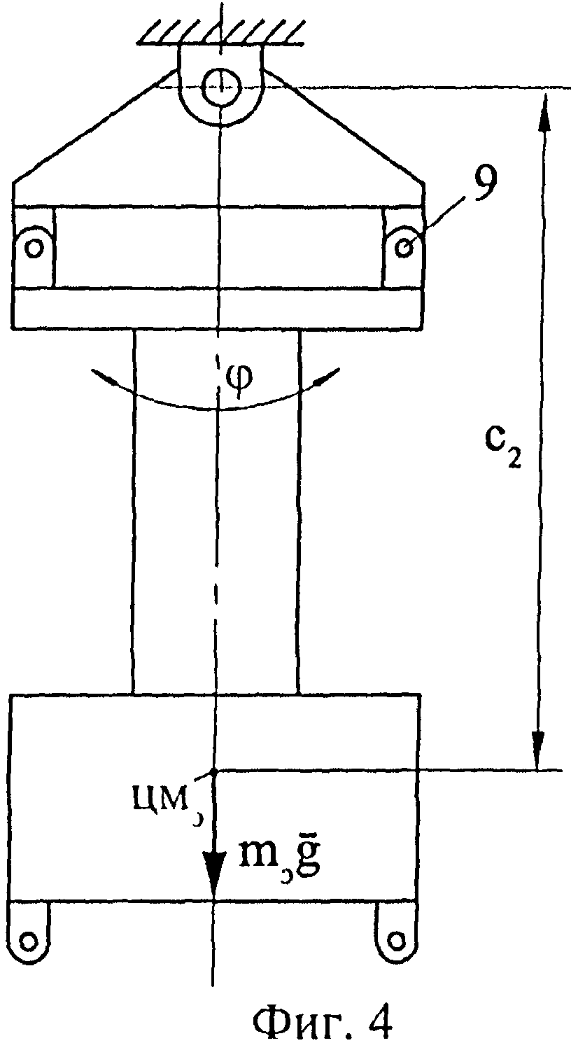
- на фиг.4 показана подвижная часть устройства с закрепленным на ней эталонным телом с помощью дополнительных элементов технологического базирования.

[16]

Устройство для измерения момента инерции изделия содержит подвижную часть 1, имеющую возможность колебаний вокруг оси подшипников 2, которая неподвижна относительно основания 3. Подвижная часть устройства имеет возможность совершения малых колебаний, при которых возникающий возвращающий момент практически пропорционален углу φ отклонения подвижной части от положения равновесия.

[17]

Элементы технологического базирования выполнены в виде базовых отверстий 4 на подвижной части 1 устройства, которые совмещаются с базовыми отверстиями 5 на изделии 6 и базовыми отверстиями 7 на эталонном теле 8 посредством штифтов 9, служащих одновременно и для закрепления эталонного тела и изделия на подвижной части. Назначение элементов технологического базирования состоит в обеспечении однозначной определенности расстояний от оси колебаний до центров масс изделия и эталонного тела. Техническое выполнение элементов технологического базирования может быть различным, в зависимости от конструктивных особенностей изделия.

[18]

Эталонное тело 8 выполнено с дополнительными элементами технологического базирования, выполненными в виде базовых отверстий 10, расположенных симметрично относительно основных элементов 7, причем центр масс ЦМЭ эталонного тела расположен асимметрично относительно основных 7 и дополнительных элементов 10 базирования эталонного тела. Асимметричность выражается разностью расстояний x1 и x2 центра масс ЦМЭ эталонного тела от элементов базирования 7 и 10.

[19]

Устройство для измерения момента инерции изделия работает следующим образом.

[20]

Измеряют периоды малых колебаний: Тo- подвижной части устройства, как показано на фиг.1, Т1 - подвижной части устройства с эталонным телом, закрепленным на подвижной части устройства посредством основных элементов технологического базирования, как показано на фиг.3,Т2- подвижной части устройства с эталонным телом, закрепленным на подвижной части устройства посредством дополнительных элементов технологического базирования, как показано на фиг.4, и Ти - подвижной части устройства с изделием.

[21]

Затем эталонное тело переворачивают на 180°, закрепляют на подвижной части устройства посредством дополнительных элементов технологического базирования, как показано на фиг.4, и измеряют период Т2 малых колебаний подвижной части устройства с эталонным телом в перевернутом положении. Так как основные и дополнительные элементы технологического базирования выполнены симметричными, то после переворота собственный момент инерции Jэ эталонного тела относительно оси, параллельной оси 2 колебаний и проходящей через его центр масс ЦМЭ, остается неизменным, а переносный момент инерции относительно оси колебаний изменится из-за изменения расстояния от центра масс до оси колебаний. Выражения моментов инерции подвижной системы для указанных выше четырех измерений периодов колебаний имеют вид:

[22]

Jо=mоcоgTо2/4π2;

[23]

Jо+Jэ+mэC12=(mоcо+mэс1)gT12/4π2;

[24]

Jо+Jэ+mэc22=(mоcо+mэc2)gT22/4π2;

[25]

Jо+Jи+mиcи2=(mоcо+mиcи)gTи2/4π2,

[26]

где Jои mо - момент инерции и масса подвижной части, Jэ и mэ - собственный момент инерции и масса эталонного тела, Jо и mo - момент инерции и масса подвижной части устройства, co, c1, c2, cи- расстояния от ЦМ до оси колебаний соответственно подвижной части, эталонного тела до и после переворота на 180° и изделия, То, Т1, Т2 и Ти - периоды колебаний соответственно подвижной части, эталонного тела до и после переворота на 180° и изделия, g - ускорение свободного падения.

[27]

Из приведенных уравнений получим выражение для вычисления момента инерции изделия Jи, не содержащее момента инерции эталона Jэ:

[28]

Jи=mоcоg(Tи2-Tо2)/4π2+mиcи(gTи2/4π2и),

[29]

где статический момент подвижной части устройства равен:

[30]

moсo=mэ1222-g(c1T12-c2T22)/4π2].

[31]

Таким образом, предлагаемое техническое решение обладает новой совокупностью отличительных признаков, обеспечивающих по сравнению с аналогами упрощение определения момента инерции изделия, так как исключает необходимость решения сложной технической задачи по определению момента инерции эталонного тела, и повышение точности за счет исключения ошибок в расчетах момента инерции эталонного тела, возникающих из-за неоднородности плотности материала эталонного тела, которые присущи известным близким аналогам.

Как компенсировать расходы
на инновационную разработку
Похожие патенты