патент
№ RU 2289202
МПК H04B1/06

МНОГОКАНАЛЬНЫЙ ПЕРЕПРОГРАММИРУЕМЫЙ ЦИФРОВОЙ ПРИЕМНЫЙ ТРАКТ

Авторы:
Гусев Владимир Валентинович Енин Сергей Владимирович Лихих Сергей Николаевич
Все (8)
Правообладатель:
Номер заявки
2004133967/09
Дата подачи заявки
23.11.2004
Опубликовано
10.12.2006
Страна
RU
Как управлять
интеллектуальной собственностью
Чертежи 
9
Реферат

[144]

Изобретение относится к области цифровой обработки сигнала в приемных устройствах. Перепрограммируемый цифровой приемный тракт обеспечивает работу в различных стандартах связи и содержит, в том числе, несколько каналов, каждый из которых может использоваться как независимый канал, частотно разделенный от других, при этом цифровой гетеродин предназначен для переноса спектра сигнала с промежуточной частоты на нулевую частоту, с выхода гетеродина сигнал поступает на фильтр-дециматор. Порядок фильтра может быть изменен за счет возможности отключения каскадов фильтров, образующих фильтр-дециматор. От порядка и степени фильтра, а также от спектральной плотности мощности входного сигнала зависит коэффициент усиления, устанавливаемый в блоке амплитудно-фазовой коррекции. Наличие маршрутизаторов позволяет подключать любой из входов к любому из выходов блока децимации. Наличие в составе маршрутизаторов наряду с коммутаторами сумматоров позволяет выполнять объединение любой пары каналов. Технический результат заключается в создании цифрового перепрограммируемого мультистандартного приемника, использующего цифровую промежуточную частоту и обеспечивающего высокую скорость обработки сигнала при высокой функциональной гибкости и надежности. 8 з.п. ф-лы, 10 ил.

Формула изобретения

1. Многоканальный перепрограммируемый цифровой приемный тракт, содержащий входной интерфейс, первый и второй аналого-цифровые преобразователи, подключенные последовательно между входным интерфейсом и, по меньшей мере, двумя имеющимися в тракте идентичными каналами передачи сигнала, выполненными с возможностью выполнения функции аналого-цифрового преобразования, гетеродинирования, децимации и канальной фильтрации входного сигнала, причем в каждом из каналов использованы последовательно соединенные гетеродин, мультиплексор и блок децимации сигнала, а также имеется, по меньшей мере один, первый блок фильтрации-децимации, причем каждый из каналов выполнен с возможностью использования, по меньшей мере, двух маршрутизаторов, предназначенных для распределения сигналов, причем все каналы выполнены с возможностью вывода обработанного сигнала через общий выходной интерфейс, к которому они подключены, причем приемный тракт включает также регистр управления и блок синхронизации, приспособленные для осуществляется управления процессом приема, обработки и передачи сигнала, отличающийся тем, что каждый из каналов дополнительно включает соединенные последовательно блок второй фильтрации-децимации и блок амплитудно-фазовой коррекции сигнала, соединенные с блоком хранения-выдачи отсчетов, причем блок синхронизации выполнен с возможностью синхронизировать независимо работу, по меньшей мере, двух устройств, а каждый из маршрутизаторов выполнен с возможностью не только коммутировать входы и выходы блоков, но и выполнять при необходимости суммирование сигналов двух любых каналов, причем тракт дополнительно включает цифровые входы, выполненные параллельно аналогово-цифровым преобразователям, приспособленные для получения входного действительного или комплексного сигнала и передачи его для дальнейшей обработки в тракте в обход аналогово-цифровых преобразователей.

2. Приемный тракт по п.1, отличающийся тем, что блок децимации сигнала включает две ветви фильтрации, каждая из которых включает последовательно соединенные первый фильтр, включающий первый дециматор и первый блок масштабирования, первый мультиплексор, второй фильтр, включающий второй дециматор и второй блок масштабирования, второй мультиплексор, причем первые блоки масштабирования и вторые блоки масштабирования связаны между собой через устройство логического "или".

3. Приемный тракт по п.2, отличающийся тем, что второй фильтр выполнен с возможностью программного изменения свойств фильтра с 4-го до 6-го порядка включительно.

4. Приемный тракт по п.1, отличающийся тем, что маршрутизатор включает демультиплексор, соединенный с комплексными сумматорами, построенными с использованием сумматора и мультиплексора, причем количество комплексных сумматоров соответствует числу каналов передачи сигнала в тракте, причем выходы каналов соединены с устройством коммутатора.

5. Приемный тракт по п.1, отличающийся тем, что первый и второй блоки фильтрации-децимации включают комплексный фильтр, использующий одну и ту же память коэффициентов и две независимые системы памяти данных.

6. Приемный тракт по п.5, отличающийся тем, что в качестве комплексного фильтра использован фильтр с конечной импульсной характеристикой.

7. Приемный тракт по п.1, отличающийся тем, что дополнительно содержит, по меньшей мере, один АЦП.

8. Приемный тракт по пп.1-7, отличающийся тем, что использованы, по меньшей мере, два дополнительных идентичных канала передачи данных, подключенные параллельно имеющимся каналам передачи данных.

9. Приемный тракт по любому из пп.1-7, отличающийся тем, что он выполнен в виде специализированной интегральной микросхемы.

Описание

[1]

Область техники

[2]

Настоящее изобретение относится к области цифровой обработки сигнала в приемных устройствах и более точно касается перепрограммируемого мультистандартного приемника и многоканального перепрограммируемого цифрового приемного тракта. Изобретение предназначено для решения различных фильтровых задач, в том числе при приеме сигналов систем связи, организуемых по стандартам IS-95, GSM, IS136, EDGE, PHS, 3GPP, 3GPP2 и т.п., а также при построении фазированных антенных решеток различных типов и в других многоканальных приложениях. Особенно эффективно использовать данное изобретение при построении многоцелевых перепрограммируемых устройств.

[3]

Уровень техники

[4]

На современном этапе развития техники в приемных устройствах все большая часть обработки сигнала выполняется в цифровом виде. При этом одной из самых сложных с точки зрения физической реализации задач является предварительная обработка сигнала, выполняемая до декодирования и выделения информации: цифровое гетеродинирование, децимация и фильтрация сигнала по полосе.

[5]

Особенно актуальна эта проблема при построении перепрограммируемых мульти-стандартных приемопередатчиков (так называемая технология SDR - Soft Definable Radio), использующих цифровую промежуточную частоту (ПЧ), при этом главным ограничением выступает ограничение по скорости обработки сигнала. Объектом изобретения по настоящей заявке является перепрограммируемый цифровой приемный тракт (тракт приема сигнала).

[6]

В современной связной аппаратуре наиболее часто используются следующие три типа приемных устройств:

[7]

- Супергетеродинный.

[8]

- С прямым преобразованием.

[9]

- Супергетеродинный с цифровой ПЧ.

[10]

Каждый из перечисленных приемников имеет свои преимущества и недостатки, а следовательно, и область применения. Возможности цифровой обработки на современном этапе развития достаточно высоки, а стоимость устройств цифровой обработки неуклонно падает. В связи с этим привлекательность цифровой обработки возрастает и появляется возможность построения перепрограммируемых приемных устройств в концепции SDR.

[11]

Концепция SDR обычно понимается следующим образом. Можно спроектировать перепрограммируемое приемное устройство и при помощи такого перепрограммируемого приемника обеспечивать требования множества стандартов связи. Сложность и стоимость такого приемника на настоящий момент высока. Вследствие этого, концепция SDR находит применение пока только в базовых станциях.

[12]

Одной из составных частей концепции SDR является использование цифровой ПЧ (Digital IF) и перепрограммируемых устройств частотной селекции сигнала. Приемники с цифровой ПЧ являются на настоящий момент быстро развивающейся областью, находящей применение в современных базовых станциях 2-3 поколения. Использование цифровой ПЧ стало реальностью благодаря появлению высокоскоростных АЦП с большой разрядностью и высокой линейностью и высокопроизводительных устройств цифровой обработки сигналов.

[13]

Отличительной особенностью устройств, предназначенных для реализации цифровой ПЧ, является наличие скоростного квадратурного гетеродина ("конвертора" частоты), из-за чего такие устройства часто называют DDC (Digital Down Converter - цифровой понижающий преобразователь частоты). Наиболее часто их реализуют в виде специализированных интегральных микросхем (ИМС). Лидерами в разработке и производстве DDC являются такие фирмы как Analog Devices, Intersil и Texas Instruments. Наиболее полная информация о предлагаемых на сегодняшний день устройствах этого класса и их параметрах доступна на сайтах производителей (www.analog.com, www.intersil.com, www.ti.com).

[14]

Фирма Analog Devices выпустила на рынок серию микросхем цифровой ПЧ. Наиболее близки к заявленному техническому решению следующие из них: AD6620, AD6634, AD6635, AD6652, которые можно рассматривать как функциональные аналоги. Далее кратко рассмотрим каждый из них для пояснения технической задачи, лежащей в основе изобретения.

[15]

Микросхема AD6620 [65 MSPS Digital Receive Signal Processor AD6620. Analog Devices, Inc., 1998] - первая микросхема этой серии, в которой была практически реализована концепция перепрограммируемого цифрового приемного тракта. Входной интерфейс микросхемы обеспечивает работу в нескольких режимах, при этом в зависимости от режима работы изменяются максимально допустимые тактовые частоты.

[16]

Гетеродин AD6620 построен табличным способом формирования опорных частот с использованием так называемых LUT (Look Up Table) - записанных опорных таблиц, содержащих отсчеты косинуса и/или синуса. Кроме этого, гетеродин AD6620 позволяет декоррелировать шумы квантования, используя методы фазового преобразования и амплитудного преобразования - Phase Dither и Amplitude Dither, для улучшения показателя SFDR (spurious-free dynamic range).

[17]

Фильтровое поле AD6620 состоит из последовательно соединенного каскада фильтров: CIC2 и CIC5 фильтры (представляющие собой Cascaded Integrator Comb фильтры с конечной импульсной характеристикой (КИХ) второй и пятой степени соответственно), а также RCF фильтр (RAM Coefficient FIR фильтр). Возможность использования микросхемы для обработки сигналов определяется производительностью каналообразующего RCF фильтра при выбранной частоте дискретизации сигнала. Недостатком этой ИМС можно считать низкую производительность RCF фильтра для обработки широкополосных сигналов, таких как сигналы стандартов сотовой связи IS-95, 3GPP и 3GPP2. Для обработки широкополосного сигнала необходимо проектировать полифазную структуру. Поскольку данная ИМС содержит только один канал, необходимо использовать несколько микросхем AD6620, что значительно повышает стоимость системы и ее габариты.

[18]

Этот недостаток устранен в ИМС AD6634, представляющей собой четырехканальный высокоскоростной DDC. Входной интерфейс обеспечивает работу с двумя высокоскоростными аналого-цифровыми преобразователями (АЦП). Структура одного канала микросхемы аналогична структуре AD6620. Отличия заключаются в наличии передискретизатора в CIC2 (resampler - устройство, изменяющее частоту дискретизации сигнала в нецелое число раз, например 3/4).

[19]

Основные преимущества данной микросхемы перед AD6620 заключаются в наличии 4-х идентичных каналов и возможности их перекоммутирования по входам к одному или двум внешним АЦП. Отличительной особенностью микросхемы является наличие перекрестных связей между 4-мя каналами после децимации. Это позволяет децимировать сигнал в одном канале, а для канальной фильтрации использовать четыре RCF фильтра, построив тем самым полифазную структуру, позволяющую обрабатывать широкополосные сигналы.

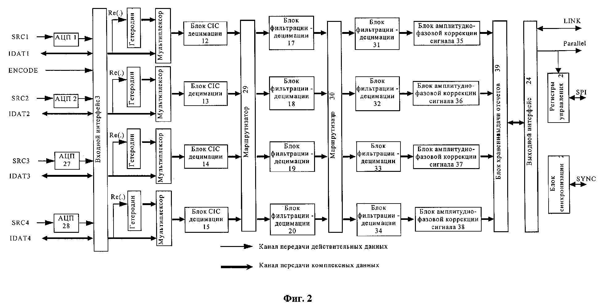
[20]

ИМС AD6635 является дальнейшим развитием технологии, первоначально реализованной в устройствах AD6620/AD6634 и представляет собой четырехвходовой (предусматривающий возможность работы с 4 внешними АЦП), восьмиканальный DDC. За исключением общего входного коммутатора, подключающего каждый из каналов к одному из входов, эта ИМС представляет собой два интегрированных в один корпус четырехканальных устройства, идентичных AD6634.

[21]

Технические решения, представляемые компанией Intersil, реализованы в микросхемах HSP50016 и HSP50216.

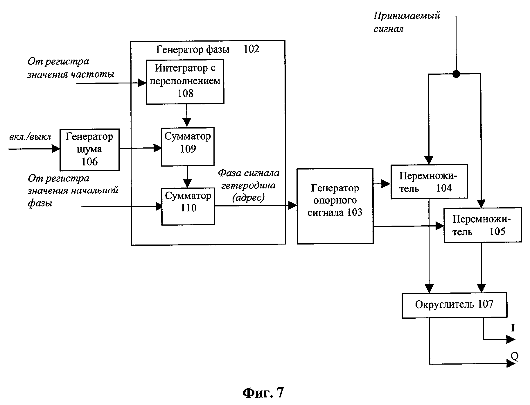
[22]

Структура одноканального DDC HSP50016 подобна структуре микросхемы AD6620: децимация сигнала выполняется с помощью CIC фильтра пятой степени, канальная фильтрация осуществляется RCF фильтром. В гетеродине данной ИМС отсутствует схема декорреляции шума при помощи Phase Dither и Amplitude Dither. Это устройство, так же как и AD6620, предназначено преимущественно для узкополосных приложений.

[23]

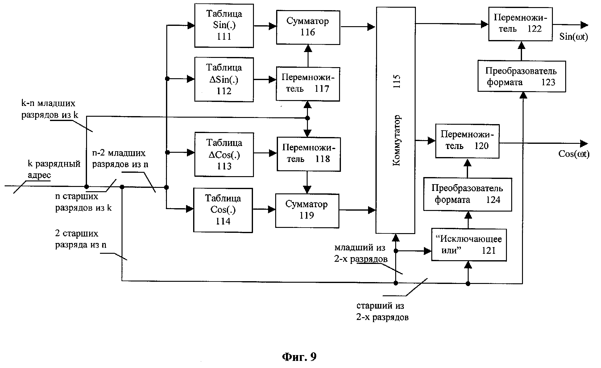
Микросхема HSP50216 представляет собой четырехвходовое, четырехканальное устройство. Структура данной ИМС подобна описанной выше структуре AD6634. Каждый из 4-х каналов состоит из блока коммутации к одному из входов, конвертора формата принимаемых данных, гетеродина, CIC фильтра, RCF фильтра, выходного АРУ и преобразователя из декатровских в полярные координаты. Степень используемого CIC фильтра может изменяться программным путем от 1 до 5. В отличие от Analog Devices, Intersil располагает передискретизатор сигнала не в первых каскадах фильтрового поля, а непосредственно в RCF фильтре. Одновременное использование ресурсов всех 4-х каналов обработки так же как и в случае AD6634 позволяет создать полифазную структуру фильтрации и обрабатывать широкополосные стандарты связи. Для этого между CIC и RCF фильтрами введен маршрутизатор сигнала (Bus Routing), а на выходе ИМС установлен блок, управляющий выдачей отфильтрованных потоков и преобразующий сигнал к необходимому формату представления данных.

[24]

Корпорацией Texas Instruments были разработаны две ИМС, каждая из которых представляет собой четырехканальный DDC: микросхема GC4014 и результат ее усовершенствования GC4016.

[25]

Микросхема GC4016 отличается гибким входным интерфейсом, позволяющим работать с данными, как с фиксированной точкой, так и с плавающей. Децимация сигнала в микросхеме осуществляется в три этапа. При этом общий коэффициент децимации микросхемы зависит от режима работы: каждый канал обрабатывает свой входной сигнал, обрабатывается сигнал одного источника двумя каналами микросхемы или же в обработке сигнала одного источника задействованы все четыре канала. Первый этап децимации реализован на CIC фильтре пятой степени, после которого реализована грубая регулировка усиления, доступная пользователю. Второй этап децимации реализован на КИХ-фильтре 21 порядка. Помимо децимации на КИХ-фильтр возложена коррекция частотной характеристики сигнала после CIC фильтра. Возможности реализации канальных фильтров ограничены фильтром 63-го порядка. Структура гетеродина микросхемы реализована аналогично реализациям других производителей. В гетеродине присутствует схема декорреляции шума при помощи Phase Dither.

[26]

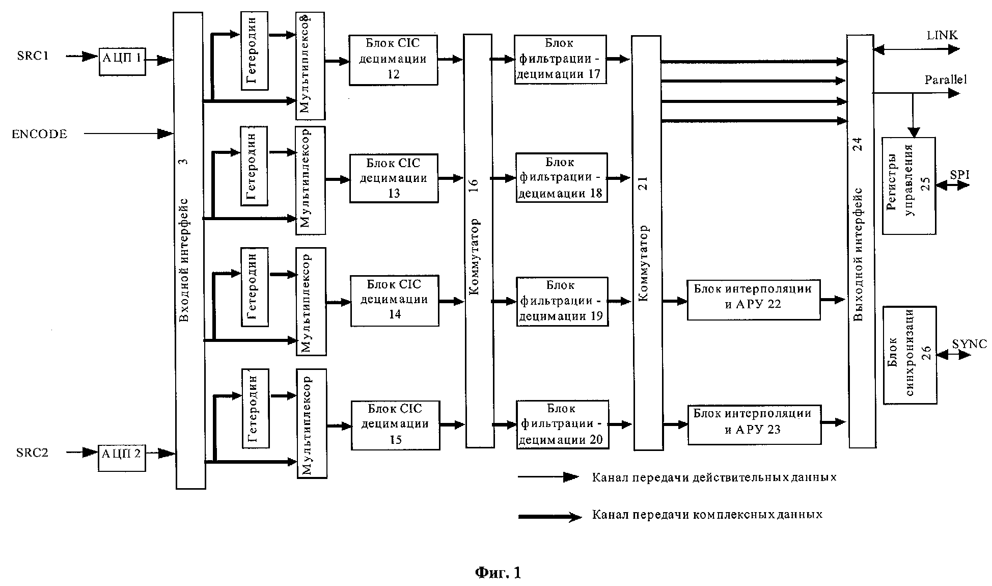
Наиболее близким техническим решением к заявляемому изобретению (ближайший аналог) является многоканальный перепрограммируемый цифровой приемный тракт, выполненный в виде микросхемы AD 6652. На настоящее время это последняя разработка фирмы Analog Devices. Микросхема AD6652 [12-Bit, 65 MSPS IF to Base Band Diversity Receiver AD6652. Analog Devices, Inc., 2002] включает в себя лучшие технические решения, реализованные в вышеописанных предыдущих микросхемах этой фирмы, а также имеет дополнительно два встроенных АЦП. Микросхема представляет собой четырехканальный DDC и разбита на два логических блока: двухканальный высокоскоростной аналого-цифровой тракт и четырехканальный сигнальный процессор. Блок-схема данной ИМС показана на Фиг.1.

[27]

Важнейшим узлом аналого-цифрового тракта микросхемы являются два интегрированных АЦП. Технологически АЦП представляют собой наиболее критический узел при практической реализации, во многом определяющий параметры всей системы в целом.

[28]

Каждый из четырех каналов цифровой обработки сигнального процессора включает в себя цифровой гетеродин, блок CIC-децимаци и блок фильтрации-децимации. В целом, основные узлы сигнального процессора, определяющие фильтровые характеристики микросхемы имеют архитектуру и параметры аналогичные AD6634.

[29]

Входом устройства являются два АЦП (блоки 1 и 2), обрабатывающие действительные аналоговые сигналы (SRC1 и SRC2). Каждый из АЦП, посредством входного интерфейса может быть подключен к любому из каналов обработки. Для тактирования АЦП используется внешний сигнал "Encode".

[30]

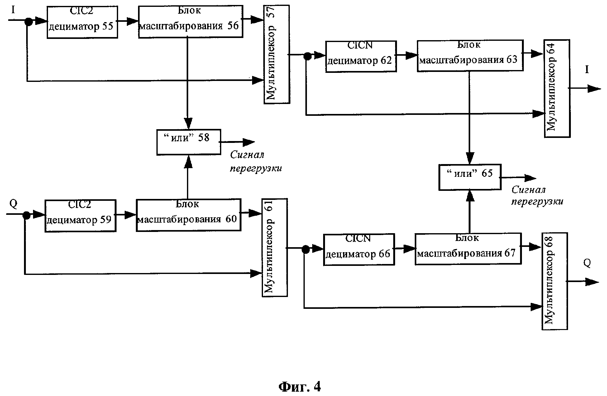
Входные данные могут представлять собой сигнал на промежуточной частоте (два независимых сигнала подаются на два входа) или сигнал на нулевой частоте (каждая компонента комплексного сигнала подается на свой АЦП). Это позволяет использовать ИМС как в приложениях с цифровой ПЧ, так и в системах связи с прямым переносом частоты в аналоговом виде.

[31]

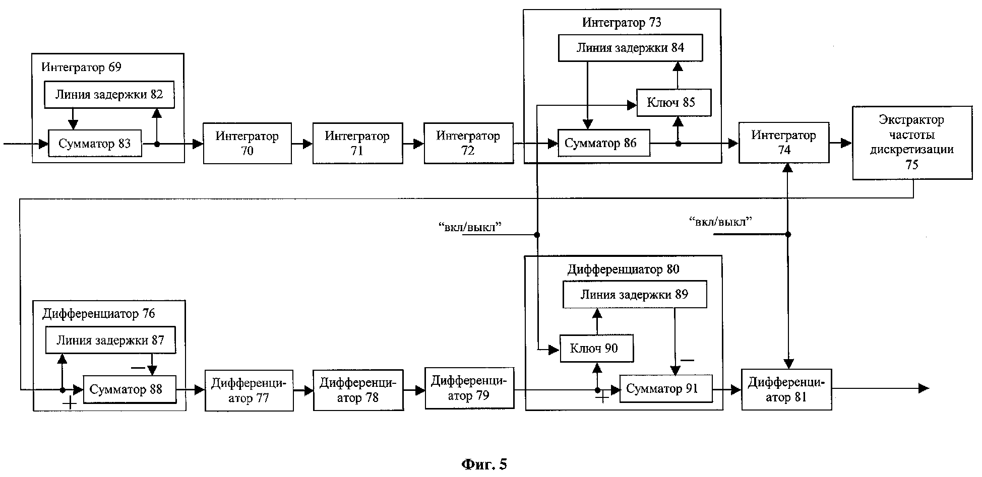
Цифровой квадратурный гетеродин (блоки 4-7) обеспечивает перенос спектра входного действительного сигнала с промежуточной частоты на нулевую частоту, умножая отсчеты входного сигнала на отсчеты опорного сигнала sin(ωt) t) и cos(ωt). Выдаваемый с выхода входного интерфейса (блок 3) сигнал всегда представлен в комплексном виде. При необходимости, гетеродинирование может быть выключено при помощи мультиплексоров 8-11.

[32]

Блоки 12-15 CIC децимации строятся на основе фильтров дециматоров второго и пятого порядков (CIC2 и CIC5) и выполняют предварительную децимацию сигнала. В устройствах реализована возможность отключения каскада децимации на основе фильтра CIC2.

[33]

С выхода блока CIC децимации сигналы всех каналов поступают на коммутатор 16, выполняющий подключение выходов этих блоков ко входам (одному или нескольким) блоков 17-20 фильтрации-децимации. Блоки 17-20 фильтрации-децимации выполнены в прототипе с использованием RCF - фильтра и предназначены для получения требуемой согласно условиям эксплуатации устройства спектральной маски. В устройстве-прототипе предусмотрена возможность регулирования коэффициента усиления на выходе каждого из дециматоров, позволяющая ограничить разрядность сигнала и реализовать грубую регулировку уровня сигнала.

[34]

Отфильтрованный сигнал подается на вход второго коммутатора (блоки 21), который позволяет сразу передать его в выходной интерфейс либо пропустить через один из двух блоков, а именно через блок интерполяции и АРУ (блоки 22 и 23, соответственно).

[35]

Выходной интерфейс (блок 24) предназначен для формирования выходного потока в удобном для пользователя формате. В описании к данной микросхеме указано, что выходной интерфейс представляет собой два независимых порта, каждый из которых может быть включен в режиме линк порта ("LINK") или параллельного порта ("Parallel")

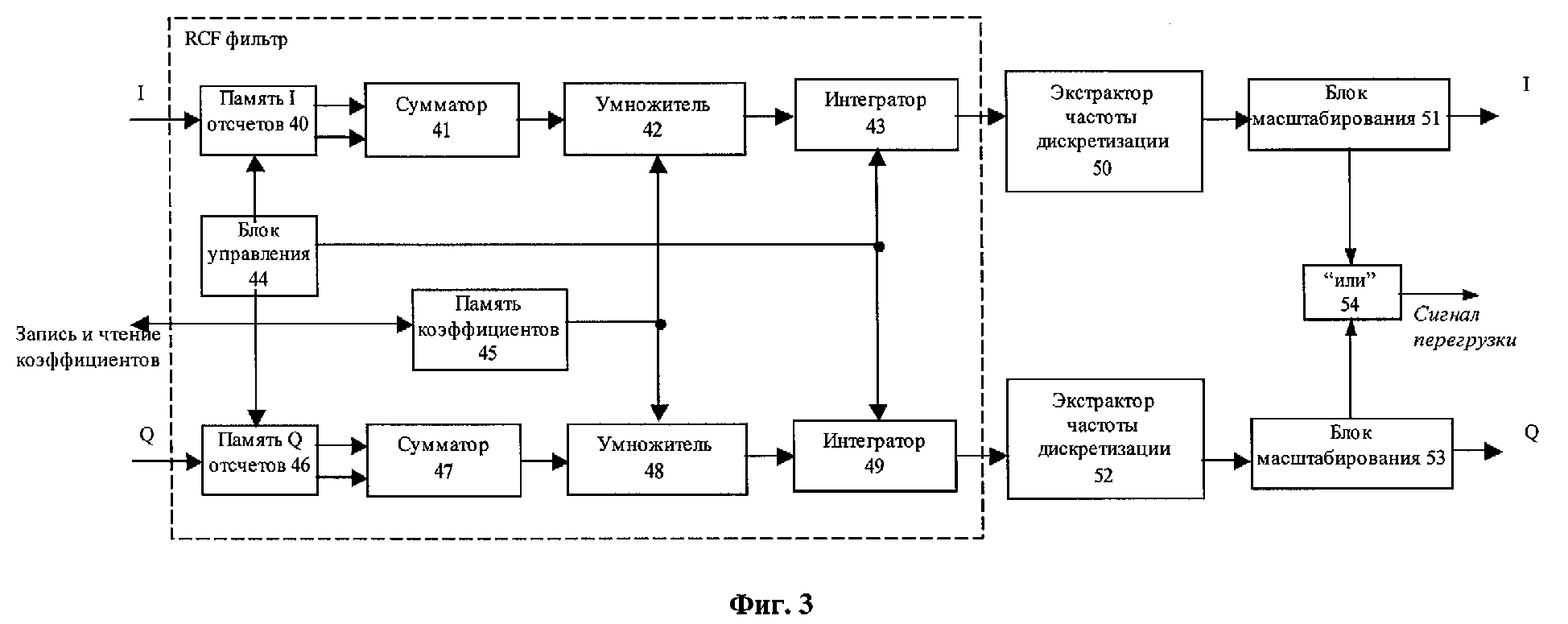
[36]

Общее управление и синхронизацию потоков и блоков устройства выполняет блок синхронизации (блок 26), формирующий необходимые для совместной работы всех блоков тактовые и управляющие сигналы (формирователь внутренних стробирующих сигналов обработки и генерации адресов для блоков памяти). При этом может использоваться сигнал внешней синхронизации "SYNC". Для задания всех параметров функционирования устройства используется установка соответствующих значений в регистрах управления (блок 25) посредством сигнала установки "SPI".

[37]

Ограничения описанного ближайшего аналога состоят в недостаточной функциональной гибкости реализованных каскадов, не позволяющей реализовать оптимальные фильтровые решения в ряде приложений. Сложность схемотехнической реализации устройств с использованием прототипа также является его недостатком. В частности, обязательное использование встроенных АЦП ограничивает возможности использования всех заложенных в устройство ресурсов, а также исключает возможность использования альтернативного АЦП или обработки сигнала, поступающего на вход устройства в цифровом виде. В ряде случаев отсутствие такой возможности не только снижает диапазон функциональных возможностей данной ИМС как перепрограммируемого устройства, но и может оказаться критичным с точки зрения надежности реализуемого на базе ИМС конечного устройства. Еще одно ограничение накладывается отсутствием блока хранения-выдачи отсчетов на выходе устройства. Это не позволяет выдавать отфильтрованные отсчеты в асинхронном режиме, который часто реализуется при использовании для дальнейшей обработки сигнала микропроцессоров. Также ограничены возможности блока синхронизации, не позволяющего одновременно синхронизировать работу нескольких ИМС.

[38]

Раскрытие изобретения

[39]

В основу настоящего изобретения положена техническая задача создать цифровой перепрограммируемый мультистандартный приемник (приемный тракт), использующий цифровую промежуточную частоту (ПЧ), обеспечивающий высокую скорость обработки сигнала при высокой функциональной гибкости и надежности.

[40]

Многоканальный перепрограммируемый цифровой приемный тракт согласно настоящему изобретению должен обеспечивать возможность реализации высокоскоростных трактов фильтрации сигнала при построении радиоаппаратуры систем связи. В частности, устройство по настоящему изобретению должно обеспечивать возможность:

[41]

- Использовать устройство для реализации мультистандартных перепрограммируемых приемопередатчиков (концепция Soft Definable Radio).

[42]

- Использовать при построении приемопередатчиков фазированные антенные решетки и организовывать направленную передачу и прием сигнала (алгоритмы умной антенны и пространственной селекции помех).

[43]

- Реализовывать с использованием нескольких ИМС:

[44]

- многоканальные приемники сигнала с частотным разделением каналов, такие как приемник Глонасс;

[45]

- устройства защиты от узкополосных помех на основе гребенки фильтров (параллельный анализатор спектра).

[46]

- Решать широкий спектр фильтровых задач, среди которых:

[47]

- построение трактов фильтрации с высокой избирательностью и прямоугольностью;

[48]

- блоки преобразования частоты сигнала и изменения частоты дискретизации сигнала и т.п.;

[49]

- построение трактов фильтрации сигнала с использованием цифровой промежуточной частоты, существенно упрощающих реализацию смежных с ними аналоговых трактов.

[50]

Согласно поставленной задаче устройство по настоящему изобретению должно иметь большую гибкость за счет наличия нескольких идентичных каналов приема, каждый из которых может использоваться как независимый канал, частотно разделенный от остальных. Это позволяет, с одной стороны, реализовывать системы со сложной многоканальной структурой сигналов (cdma2000 3х), а, с другой стороны, оптимально перераспределять ресурсы при обработке сигналов с высокой тактовой частотой (UMTS, 802. 11b).

[51]

Возможность использования высокой тактовой частоты обработки сигналов делает перспективным использование устройства по настоящему изобретению при построении высокоскоростных систем передачи данных. Удобный интерфейс заявляемого устройства позволяет при необходимости построения многоканальной структуры легко сопрягать несколько таких устройств между собой, и, кроме того, согласован с интерфейсом цифровых сигнальных процессоров и ряда периферийных устройств.

[52]

Простота переконфигурирования устройства позволяет использовать его для построения портативных мультистандартных терминалов, совмещающих в себе, например, функции устройства позиционирования при помощи глобальной сети навигации и мобильного терминала системы сотовой связи.

[53]

Поставленная задача решается за счет того, что согласно настоящему изобретению предложен многоканальный перепрограммируемый цифровой приемный тракт, который содержит входной интерфейс, первый и второй аналого-цифровой преобразователь, подключенные последовательно между входным интерфейсом и, по меньшей мере, двумя имеющимися в тракте идентичными каналами передачи сигнала, выполненными с возможностью выполнения функции аналогово-цифрового преобразования, гетеродинирования, децимации и канальной фильтрации входного сигнала, причем в каждом из каналов использованы последовательно соединенные гетеродин, мультиплексор и блок децимации сигнала, а также первый блок фильтрации-децимации, причем каждый их каналов выполнен с возможностью использования, по меньшей мере, двух маршрутизаторов (также в ряде источников из уровня техники обозначаемых как коммутаторы-маршрутизаторы), предназначенных для распределения сигналов, причем все каналы выполнены с возможностью вывода обработанного сигнала через общий выходной интерфейс, к которому они подключены, причем приемный тракт включает также регистр управления и блок синхронизации, приспособленные для осуществляется управления процессом приема, обработки и передачи сигнала, отличающийся тем, что каждый из каналов дополнительно включает соединенные последовательно второй блок фильтрации-децимации и блок амплитудно-фазовой коррекции сигнала, соединенные с блоком хранения-выдачи отсчетов, причем блок синхронизации выполнен с возможностью синхронизировать независимо работу, по меньшей мере, двух устройств, а каждый из маршрутизаторов выполнен с возможностью не только коммутировать входы и выходы блоков, но и выполнять при необходимости суммирование сигналов двух любых каналов, причем тракт дополнительно включает цифровые входы, выполненные параллельно аналого-цифровым преобразователям, приспособленные для получения входного действительного или комплексного сигнала и передачи его для дальнейшей обработки в тракте в обход аналого-цифровых преобразователей.

[54]

Предпочтительным является использование, по меньшей мере, четырех соединенных параллельно идентичных каналов, что обеспечивает лучшую работу предлагаемого устройства.

[55]

Предпочтительно блок децимации сигнала включает две ветви фильтрации, каждая из которых включает последовательно соединенные первый фильтр, включающий первый дециматор и первый блок масштабирования, первый мультиплексор, второй фильтр, включающий второй дециматор и второй блок масштабирования, второй мультиплексор, причем первые блоки масштабирования и вторые блоки масштабирования связаны между собой через устройство логического "или". Предпочтительно, второй фильтр выполнен с возможностью программного изменения свойств фильтра с 4-го до 6-го порядка включительно.

[56]

Предпочтительно маршрутизатор включает демультиплексор, соединенный с комплексными сумматорами, построенными с использованием сумматора и мультиплексора, причем количество комплексных сумматоров соответствует числу каналов передачи сигнала в тракте, причем выходы каналов соединены с устройством коммутатора.

[57]

Преимущественно первый и второй блоки фильтрации-децимации включают комплексный фильтр, использующий одну и туже память коэффициентов и две независимые системы памяти данных. Предпочтительно в качестве комплексного фильтра использован фильтр с конечной импульсной характеристикой.

[58]

Предпочтительно тракт по настоящему изобретению содержит дополнительно, по меньшей мере, один АЦП. Предпочтительно тракт по настоящему изобретению выполнен в виде специализированной интегральной микросхемы (аналого-цифровая система на кристалле).

[59]

Предпочтительный вариант осуществления изобретения.

[60]

Настоящее изобретение будет понятно специалисту в данной области из приведенного ниже подробного описания вариантов его осуществления, а также примеров практической реализации устройства по настоящему изобретению и его составных частей. Подробное описание будет вестись со ссылками на чертежи, на которых однотипные блоки разных устройств обозначены одними позициями для удобства сравнения.

[61]

На чертежах показано следующее:

[62]

на Фиг.1 показана блок-схема устройства-прототипа;

[63]

на Фиг.2 - блок-схема устройства по настоящему изобретению;

[64]

на Фиг.3 - схема реализации блока CIC децимации по настоящему изобретению;

[65]

на Фиг.4 - схема реализации блока фильтрации-децимации по настоящему изобретению;

[66]

на Фиг.5 - схема реализации CICN фильтра-дециматора по настоящему изобретению;

[67]

на Фиг.6 - схема реализации маршрутизатора по настоящему изобретению;

[68]

на Фиг.7 - схема реализации квадратурного гетеродина по настоящему изобретению;

[69]

на Фиг.8 - блок-схема блока синхронизации по настоящему изобретению;

[70]

на Фиг.9 - блок-схема генератора опорного сигнала (Sin(ωt) и Cos(ωt));

[71]

на Фиг.10 - блок-схема приемника с цифровой ПЧ.

[72]

Блок-схема многоканального перепрограммируемого цифрового приемного тракта согласно настоящему изобретению, например, для случая четырех параллельных каналов обработки показана на Фиг.2

[73]

Цифровой приемный тракт содержит четыре идентичных канала, реализующих функции аналогово-цифрового преобразования, гетеродинирования, децимации и канальной фильтрации входного сигнала.

[74]

Входной интерфейс (блок 3) позволяет работать с дифференциальным аналоговым и комплексными (двухкомпонентными) цифровыми сигналами. В основе входного интерфейса лежит коммутатор, посредством которого каждый из каналов обработки может быть без ограничений подключен к любому из источников сигнала. Входной интерфейс способен принимать до 4 потоков действительных аналоговых или до 2 потоков комплексных аналоговых данных (входы SRC1-SRC4 устройства) и до 4 потоков комплексных цифровых данных (входы IDAT1-IDAT4). При этом цифровые входы IDAT1-IDAT4 являются двунаправленными и могут использоваться как для загрузки в устройство входных отсчетов, так и для вывода за пределы устройства оцифрованного сигнала с выхода АЦП. На выходе у устройства с выходного интерфейса могут быть получены сигналы LINK, Parallel. Кроме того, регистр 4 управления выдает сигнал SPI, а блок 26 синхронизации выдает сигнал SYNC.

[75]

Входные данные могут представлять сигнал на промежуточной или нулевой частоте, что позволяет использовать данное техническое решение как в приложениях с цифровой ПЧ, так и в системах связи с прямым переносом частоты в аналоговом виде.

[76]

Так же как и в случае прототипа, цифровой квадратурный гетеродин обеспечивает перенос спектра входного действительного сигнала с промежуточной частоты на нулевую частоту, умножая отсчеты входного сигнала на отсчеты опорного сигнала sin(ωt) и cos(ωt). Выдаваемый с выхода входного интерфейса сигнал всегда представлен в комплексном виде. Поскольку гетеродин предназначен для обработки действительного сигнала (обычно это сигнал ПЧ), на его вход поступает только одна из компонент - его реальная часть. Блок-схема гетеродина (блоки 4-7 на Фиг.2) показана на Фиг.7.

[77]

Генератор опорной частоты формирует отсчеты sin(ωt) и cos(ωt) с нужной для преобразования частотой ω, обычно равной несущей частоте входного сигнала (частоте ПЧ). Устанавливаемые пользователем значения частоты генерируемого сигнала и начального сдвига фазы записываются в соответствующие управляющие регистры, откуда поступают в гетеродин. Генератор шума 106 формирует сигнал, представляющий собой псевдослучайный шумовой сигнал с нулевым математическим ожиданием и равномерной функцией распределения амплитуды.

[78]

Генератор фазы 102 представляет собой совокупность интегратора 108 с переполнением и сумматоров 109 и 110. Интегратор с переполнением представляет собой сумматор с ограниченной разрядностью. В результате непрерывного прибавления (накопления) кода частоты происходит естественное переполнение, обусловленное конечной разрядностью, и в интеграторе снова начинается накопление до достижения следующего переполнения. В результате работы блока формируется адрес для генератора 103 опорного сигнала гетеродина. Физический смысл адреса, генерируемого в блоке, представляющем собой генератор фазы 102, - это значение фазы ϕ опорного сигнала.

[79]

На Фиг.9 показана структура генератора 103 опорного сигнала гетеродина. Общий принцип формирования опорных сигналов гетеродина основан на последовательной выборке из таблицы значений отсчетов с определенным шагом. Изменением шага считывания достигается установка требуемого значения частоты. Генератор представляет собой устройство, выполняющее кусочно-линейную аппроксимацию функций синуса и косинуса. Аппроксимация каждого отсчета Sin(.) и Cos(.) вычисляется с использованием двух таблиц, для чего в устройстве используются пары таблиц: блоки 111 и 112 и блоки 113 и 114. Первая таблица содержит отсчеты синуса или косинуса, вторая - поправочные коэффициенты.

[80]

Работает устройство следующим образом. В таблицах хранятся отсчеты четверти периода синуса и косинуса, взаимно дополняющие друг друга до половины периода. Поступающий на вход генератора 103 k-разрядный адрес разделяется на:

[81]

- n старших разрядов;

[82]

- k-n младших разрядов - используются для вычисления аддитивной добавки к отсчетам основной таблицы (Sin(.) и Cos(.))

[83]

Старшие разряды в свою очередь делятся на:

[84]

- 2 старших разряда из n - используются для управления коммутатором 115 и вычисления знака отсчетов;

[85]

- n-2 оставшихся разрядов ("средних" относительно исходного k-разрядного адреса) являются непосредственно адресом для всех 4-х таблиц (блоки 111-114).

[86]

Коммутатор 115 в зависимости от значения второго по старшинству бита коммутирует входные сигналы напрямую (sin→sin и cos→cos) или перекрестно (sin→cos и cos→sin). Знак отсчетов опорного сигнала определяется по следующему правилу:

[87]

- для синуса знаком является старший бит k-разрядного адреса (0 это "+", 1 это "-"); для реализации этого правила используются перемножитель 122 и преобразователь 123 формата;

[88]

- для косинуса знак определяется по 2-м старшим битам 18-разрядного адреса (если биты равны, то знак "+", в противном случае "-"); это правило реализуется при помощи перемножителя 120, схемы 121 "исключающего или" и преобразователя 124 формата.

[89]

Преобразователи формата 123 и 124 выполняют преобразование без знаковых сигналов в знаковые: "0" в "1" и "1" в "-1".

[90]

Выходной поток перемножителей 122 и 120 выдается на выход генератора 103 и используется собственно для переноса сигнала по частоте в перемножителях 104 и 105 (см. Фиг.7). Округлитель 107 сокращает избыточную разрядность после гетеродинирования путем отбрасывания части младших разрядов с округлением.

[91]

Гетеродины двух каналов могут быть объединены для обработки комплексного входного сигнала. Для этого реальная часть сигнала подается на вход гетеродина одного канала, а мнимая часть сигнала поступает на вход гетеродина другого канала. В маршрутизаторах 29 или 30, в зависимости от используемой пользователем схемы перераспределения ресурсов эти два потока данных объединяются, образуя единый комплексный сигнал.

[92]

Сигнал с выхода входного интерфейса через мультиплексоры 8-11 может подаваться сразу (минуя любой из гетеродинов, блоки 4-7) на вход соответствующих блоков 12-15 CIC децимации сигнала.

[93]

Блоки 12-15 CIC децимации (блоки децимации согласно формуле изобретения) предназначены для предварительной децимации сигнала. Основу блока составляют фильтры с единичными коэффициентами. Применение этих фильтров эффективно при больших значениях децимации и высоких тактовых частотах обработки сигнала. Данный блок может быть реализован, например, в виде структуры, изображенной на Фиг.4.

[94]

Как показано на Фиг.4, каждая из квадратурных компонент сигнала (I и Q) поступает на свою ветвь фильтрации, состоящую из последовательно соединенных CIC2 (блоки 55 и 59) и CICN дециматоров (блоки 62 и 66). При необходимости каждый из этих фильтров может быть выключен посредством мультиплексоров 57, 61, 64 и 68.

[95]

Оба каскада CIC децимации построены по известной из уровня техники схеме Хогенауэра [Reduced complexity comb-filters for decimation and interpolation in mobile communications terminals. Tim Hentschel, Gerhard Fettweis]. Особенности этой схемы заключаются в том, что фильтр дециматор, выполняющий внеполосную фильтрацию сигнала, интегрирован в единое целое с экстрактором частоты дискретизации, выполняющим непосредственно прореживание отсчетов сигнала. В отличие от прототипа второй каскад CIC децимации сделан перестраиваемым: порядок используемого фильтра CICN может программно изменяться от CIC4 до CIC6. В схеме Хогенауэра это достигается путем размыкания/замыкания цепей обратной связи в интеграторах и цепей прямой связи в дифференциаторах.

[96]

На Фиг.5 показан пример реализации такого фильтра перестраиваемого от CIC4 до CIC6. Схема Хогенауэра представляет собой каскадное соединение набора интеграторов 69-74, экстрактора 75 частоты дискретизации и дифференциаторов 76-81. Количество интеграторов равно количеству дифференциаторов, а количество задействованных пар интегратор-дифференциатор определяет порядок CIC фильтра. Структура неотключаемых интеграторов 69-72 и дифференциаторов 76-79 раскрыта на примере блоков 69 и 76 и в таком виде понятна специалисту, и не требует дополнительных пояснений. В отключаемые интеграторы 73 и 74 дополнительно введен ключ, позволяющий разомкнуть цепь обратной связи. В результате этого сигнал пропускается со входа на выход без изменений. Аналогично в отключаемых дифференциаторах 80 и 81 посредством ключа выполняется замыкание/размыкания цепи прямой связи.

[97]

Для регулирования коэффициента усиления на выходе каждого из дециматоров CIC2 и CICN установлен блок масштабирования (блоки 56, 60, 63 и 67), позволяющие ограничить разрядность сигнала и выбрать, какие из разрядов с выхода дециматора будут использованы для дальнейшей обработки. При помощи этих блоков в данных точках возможна грубая регулировка уровня сигнала с шагом в 6 дБ. Такой блок может быть реализован, например, как мультиплексор, коммутирующий в соответствии с установленным значением в управляющих регистрах часть своих входов (параллельно поступающих разрядов многоразрядного числа) на выходы, при этом количество выходов равно требуемой разрядности числа после ограничения.

[98]

В процессе ограничения сигнала возможно возникновение превышения сигналом допустимой разрядности. В некоторых приложениях это ограничение может привести к ухудшению характеристик приемного устройства. Для отслеживания подобных ситуаций здесь и в других точках ограничения разрядности вырабатывается контрольный сигнал перегрузки (блоки 58 и 65).

[99]

С выхода блока CIC децимации сигналы всех каналов поступают на соответствующие входы маршрутизатора 29 (также обозначаемого как коммутатор-маршрутизатор), построенного на основе коммутатора. В отличие от использованных в прототипе коммутаторов в состав данного блока входят сумматоры (четыре в данном случае), выполняющие объединение сигналов любой пары каналов. Это связано с упомянутым ранее режимом обработки комплексного сигнала с гетеродинировнием и необходимо для формирования квадратурных компонент сигнала после комплексного переноса частоты.

[100]

Маршрутизаторы 29 и 30, так же как и входной интерфейс, позволяют подключать любой из входов к любому из выходов данного блока без каких бы то ни было ограничений и перенаправлять таким образом потоки данных для объединения вычислительных ресурсов блоков обработки. За счет указанных маршрутизаторов обеспечиваются преобразование частоты комплексного входного сигнала и повышение производительности КИХ фильтров. Так, при реализации устройства на современной элементной базе, в случае объединения четырех каналов в один, частота дискретизации сигнала на выходе блока фильтрации-децимации может достигать 10 МГц для фильтра 64-го порядка при тактовой частоте 80 МГц. Такие параметры позволяют выполнить требования фильтрации практически всех известных стандартов связи.

[101]

Структура маршрутизатора для случая 4-х каналов обработки раскрыта на Фиг.6. На рисунке символами I и Q с цифровым индексом обозначены комплексные сигналы обрабатываемых каналов. Демультиплексор 92 может подключить сигналы из двух любых каналов ко входу одного из комплексных сумматоров (блоки 93-96). Сигнал с выхода любого из комплексных сумматоров через коммутатор 97 может быть передан в любой из 4-х каналов обработки.

[102]

Структура комплексных сумматоров раскрыта на примере блока 93. В качестве примера показано прохождение сигнала через данный блок при суммировании сигналов первого и второго канала. Сумматоры 98 и 99 суммируют реальные и мнимые части сигналов двух каналов и передают суммы на вход мультиплексоров 100 и 101. Мультиплексоры позволяют выбрать, какой сигнал будет передан на выход комплексного сумматора, то есть блока 93: в данном примере это выбор между сигналом первого канала обработки или суммой сигналов первого и второго каналов.

[103]

Как видно из Фиг.2, маршрутизаторы 29 и 30 и блоки 16, 17, 18, 19, 31, 32, 33 и 34 фильтрации-децимации соответственно образуют два одинаковых каскада обработки сигнала (последовательных). Такой подход позволяет при использовании гибко перераспределять ресурсы в соответствии с решаемыми задачами и упростить саму разработку в сложных случаях, например, когда нужно не только отфильтровать сигнал по полосе, но и скорректировать искажения АЧХ, внесенные предыдущими каскадами. Особенно актуально это при необходимости оперативной перестройки фильтра-корректора под изменяющиеся параметры аналоговых каскадов. При этом возможность дополнительной децимации в каждом их каскадов позволяет на каждом из этапов дополнительно понизить частоту обработки сигнала, а следовательно, понизить порядки фильтров и упростить реализацию.

[104]

Блоки 16, 17, 18, 19, 31, 32, 33 и 34 фильтрации-децимации могут быть реализованы, например, по схеме, показанной на Фиг.3. Данный блок состоит из комплексного RCF-фильтра, использующего одну и туже память коэффициентов и две независимые системы памяти данных. Приведенная структура рассчитана на использование фильтров с симметричной импульсной характеристикой, что позволяет выполнять одно умножение для двух отсчетов фильтруемого сигнала. Сумматоры 41 и 47 выполняют суммирование очередной пары отсчетов, после чего они умножаются на соответствующий коэффициент фильтра, хранимый в памяти коэффициентов и накапливаются в интеграторах 43 и 49, формируя таким образом очередной отфильтрованный отсчет сигнала. При помощи экстракторов 50 и 52 частоты дискретизации отсчеты сигнала могут быть прорежены в коэффициент децимации раз. Блоки 51 и 53 масштабирования реализованы аналогично блокам масштабирования в CIC дециматорах и выполняют аналогичные функции.

[105]

Управление записью и чтением отсчетов из памяти, а также накоплением интеграторов выполняется блоком 44 управления. Соответствующая настройка блоков управления, а именно задержка записи-чтения-вычисления одного канала устройства относительно другого позволяет строить фильтры с полифазной структурой с использованием ресурсов нескольких каналов.

[106]

Таким образом, два каскада программируемых КИХ фильтров-дециматоров могут быть использованы для последующей децимации с небольшими коэффициентами децимации, коррекции искажений АЧХ (вызванных, например, CIC-дециматорами) и необходимой фильтрации сигнала.

[107]

Блоки 35-38 амплитудно-фазовой коррекции предназначены для тонкой корректировки сигнала и могут быть организованы, например, как комплексные умножители выходного сигнала на фиксированный, задаваемый извне комплексный масштабирующий коэффициент. Такой подход позволяет осуществлять плавную регулировку усиления канала и управление фазой выходного сигнала, что может быть использовано для улучшения динамического диапазона тракта обработки, построения АРУ или систем с фазированными или адаптивными антенными решетками (ФАР и ААР).

[108]

С выхода блоков амплитудно-фазовой коррекции сигнал всех каналов поступает на соответствующие входы блока 39 хранения-выдачи отсчетов. Такой блок может быть реализован, например, как модуль памяти типа FIFO ("First-In, First-Out" - первым пришел - первым обслужен). Посредством использования данного блока достигается большая функциональность устройства в целом, т.к., в отличие от прототипа заявляемое устройство может осуществлять выдачу отсчетов как в синхронном, так и в асинхронном режиме.

[109]

Выходной интерфейс 24 по назначению аналогичен интерфейсу прототипа и позволяет выбрать наиболее удобный для пользователя формат выдачи данных. В данном устройстве, например, могут быть реализованы протоколы линк порта и параллельного порта. Помимо этого, выходной интерфейс обеспечивает выдачу данных на выход устройства в требуемом периферийными устройствами режиме: синхронно или асинхронно. Как видно из Фиг.2, выходной интерфейс связан не с отдельными каналами, а с блоком хранения-выдачи отсчетов. В процессе работы выходной интерфейс передает в блок хранения-выдачи отсчетов управляющий сигнал чтения данных из FIFO, поступивший от периферийного устройства, и принимает из блока хранения-выдачи отсчетов очередной отсчет.

[110]

Общее управление и синхронизацию потоков и блоков устройства, так же как и в случае прототипа, выполняет блок 26 синхронизации, формирующий необходимые для совместной работы всех блоков тактовые и управляющие сигналы. Кроме того, этот блок предназначен для синхронизации параллельной работы нескольких параллельно работающих устройств. Синхронизация подразумевает синхронный пуск, останов, очистку блоков обработки, установку параметров гетеродина и комплексного выходного умножителя нескольких устройств. Синхронизация параллельно работающих устройств предназначена в первую очередь для использования данного многоканального приемного тракта в системах ФАР и ААР, а также увеличения пропускной способности программируемых КИХ-фильтров.

[111]

Синхронизация нескольких параллельно работающих устройств достигается за счет совместного использования коммутатора 126 и генератора сигналов управления 125 (см. Фиг.8). Фактически, генератор 125 и есть блок синхронизации, реализованный в прототипе. При помощи коммутатора 126, в зависимости от управляющего сигнала "Ведущий/Ведомый" выбирается какие управляющие сигналы (показаны на рисунке в виде шины управления) будут использованы в устройстве. Если устройство выбрано "ведущим", то оно использует собственные сигналы управления из блока 125 и выдает их через коммутатор на выход для синхронизации других устройств. Если устройство выбрано "ведомым", то сигналы собственного генератора 125 отключаются, а для синхронизации блоков устройства используются сигналы управления, поступившие извне на соответствующий вход коммутатора 126.

[112]

Управление устройством осуществляется с помощью последовательного или параллельного порта выходного интерфейса. Для задания всех параметров функционирования устройства (частоты гетеродинов, включение-выключение каскадов, коэффициенты децимации, коэффициенты фильтров и т.п.) используется установка соответствующих значений в регистрах 25 управления.

[113]

В составе приемной аппаратуры заявляемое устройство используется следующим образом. В наиболее общем виде блок-схема супергетеродинного приемника с цифровой ПЧ показана на Фиг.10. Приемник с цифровой ПЧ, согласно данной схеме, включает в себя цифровую и аналоговую части.

[114]

При приеме полезный сигнал на некоторой несущей частоте попадает на вход RF (radio frequency - радиочастотный) тракта, где происходит первичная обработка сигнала: гетеродинирование на некоторую промежуточную частоту и предварительная фильтрация. После оцифровывания сигнал поступает в цифровую часть приемника. В приемной части блока цифровой обработки сигнала выполняются (по необходимости) цифровое гетеродинирование сигнала, децимация и канальная фильтрация сигнала. Для формирования необходимых при цифровой обработки сигнала тактовых частот дискретизации в приемнике обычно используется блок синтезаторов частот. Отфильтрованный по полосе полезный сигнал декодируется и демодулируется в соответствии с требованиями используемого стандарта связи.

[115]

Основное назначение аналогового фильтра ПЧ сводится к выполнению функций antialiasing фильтра (фильтр защиты от наложения спектров). Суммарная избирательность в зонах резекции, необходимая для оцифровывания сигнала (antialiasing фильтрация), должна обеспечиваться диапазонным и/или фильтром ПЧ и составлять 87-90 дБ (это следует из обобщенных требований фильтрации различных стандартов связи).

[116]

Поступающий из аналогового тракта сигнал промежуточной частоты оцифровывается при помощи АЦП, а окончательная обработка (квадратурное гетеродинирование и фильтрация) выполняются в цифровом виде. Такой подход позволяет существенно снизить требования к фильтрации на промежуточной частоте и тем самым существенно упростить аналоговый тракт. Соответствующей получаемому преимуществу платой за это является необходимость использования высокоскоростного АЦП с большим динамическим диапазоном. Необходимая избирательность обеспечивается как фильтрацией на промежуточной частоте, так и цифровой фильтрацией.

[117]

Обобщенная структурная схема заявляемого цифрового тракта приема сигнала выделена на Фиг.10 штрихпунктирной линией. Приемный тракт предназначен для выделения радиосигнала, расположенного на некоторой ПЧ, и формирования ВВ (base band - квадратурный сигнал на нулевой частоте) сигналов на нулевой частоте в соответствии с требованиями поддерживаемых стандартов систем связи. Под выделением сигналов понимается оцифровывание сигнала на ПЧ, цифровое преобразование частоты (гетеродинирование), децимация сигнала (фильтрация и понижение частоты дискретизации) и канальная фильтрация.

[118]

Цифровой гетеродин предназначен для переноса спектра сигнала с ПЧ на нулевую частоту. Выходной сигнал гетеродина представляет собой аналитический сигнал на нулевой частоте и имеет две квадратурные составляющие I и Q (соответственно реальная и мнимая части комплексного сигнала). Гетеродин является первой ступенью обработки цифрового сигнала и наиболее скоростным вычислительным узлом, поскольку тактовая частота обработки в гетеродине как минимум равна частоте дискретизации сигнала в АЦП.

[119]

С выхода гетеродина квадратурный сигнал поступает на вход фильтра-дециматора. Операция уменьшения частоты дискретизации в N раз осуществляется путем взятия только каждого N-го отсчета цифрового сигнала. Для предотвращения явления наложения спектров этой операции предшествует операция фильтрации децимируемого сигнала. Для этого входной сигнал обрабатывается фильтром, назначение которого состоит в подавлении составляющих спектра, которые при последующем уменьшении частоты дискретизации в N раз попадут в область спектра полезного сигнала.

[120]

Окончательное формирование спектра сигнала в соответствии с требованиями стандартов осуществляют канальные фильтры (фильтры основной селекции). Они должны обеспечивать подавление спектральных составляющих в ближней зоне (от начала полосы задержания сигнала до частоты Найквиста).

[121]

Блок формирования стробирующих сигналов формирует выходные сигналы сопровождения и внутренние стробирующие сигналы, обеспечивающие внутреннюю конвейерную обработку и синхронизацию/выравнивание потоков данных.

[122]

Поскольку данная тематика является активно развиваемой областью техники, очевидно, что многие производители делали, делают и будут делать попытки создать аналогичные устройства. Из обзора аналогов следует, что уже сейчас множество различных подходов складываются в одно направление, обусловленное, с одной стороны, возможностями современного уровня техники, а с другой стороны, потребностями будущих пользователей данного продукта (инженеров-разработчиков систем связи). При этом многие решения в силу своей оптимальности стали фактически типовыми.

[123]

Наиболее эффективным методом децимации при условии, что полоса полезного сигнала существенно меньше, чем частота дискретизации является применение фильтров с единичными коэффициентами. Такие фильтры в зарубежной литературе называются фильтрами "moving average" или CIC (cascaded integrator/comb).

[124]

Поскольку все коэффициенты фильтра равны единице, реализация такого фильтра не требует умножителей. Таким образом, для фильтрации сигнала не требуется значительных ресурсов. Недостатком такого фильтра является относительно большая неравномерность его АЧХ в полосе пропускания.

[125]

Увеличение расширения зоны режекции и ее глубины (величины внеполосного подавления) может быть достигнуто последовательным соединением одинаковых фильтров. Последовательное соединение двух CIC фильтров обозначают - CIC2. Соответственно для N каскадов фильтров такая структура обозначается CICN.

[126]

Предлагаемый в рамках настоящего изобретения каскад CIC децимации отличается от известных аналогов большим диапазоном изменения параметров (гибкостью). Это достигается за счет возможности изменения порядка второго фильтра (CICN) и возможности отключения любого из фильтров (CIC2 и CICN). Для обеспечения изменения степени фильтра стандартная структура Хогенауэра была модифицирована.

[127]

Характерной особенностью CIC дециматоров в варианте осуществления изобретения является то, что они приспособлены фильтровать сигнал без децимации. Такого режима работы нет у аналогов, хотя именно он обеспечивает гибкость работы устройства, которая является составной частью технической задачи.

[128]

В заявляемом устройстве используется многоступенчатый метод децимации. На первых этапах децимации, где частота дискретизации высока, для минимизации ресурсоемкости используются фильтры с единичными коэффициентами. При этом коэффициент децимации выбирается таким образом, чтобы не допускать существенных искажений в полосе полезного сигнала. На последней стадии децимации используются КИХ-фильтры.

[129]

Использование нескольких каскадов КИХ децимации встречается среди аналогов устройства (например, GC-4016). Однако в большинстве случаев первый из каскадов либо содержит фиксированный набор коэффициентов, либо фильтр небольшого порядка, предназначенный в первую очередь для корректировки искажений АЧХ, вносимых АЦП и CIC децимацией. Второй каскад КИХ-фильтрации ориентирован преимущественно на обеспечение внеполосного подавления. Однако совместное использование и вариант соединения данных блоков является принципиально новым и не известен ни у одного из аналогов. Данный признак обеспечивает возможность более гибкого перераспределения ресурсов между каскадами фильтрации децимации за счет их идентичности и высокой функциональности.

[130]

Для ограничения разрядности выходного сигнала в каждом модуле предназначен ограничитель разрядности (блоки масштабирования). Ограничитель разрядности осуществляет регулировку уровня сигнала. Для минимизации аппаратных затрат используется грубая регулировка с шагом 6 дБ (т.е. один разряд). При этом ограничитель разрядности строится на основе регистра сдвига или мультиплексора. Регулировка при таком построении осуществляется выбором необходимых разрядов из выходного сигнала в соответствии с управляющим сигналом. Мультиплексоры позволяют отключить данный каскад фильтрации. Дополнительно ограничитель разрядности производит округление сигнала и имеет режим насыщения при переполнении. При этом пользователь может произвольно управлять усилением в каскадах фильтров для достижения оптимального распределения усиления.

[131]

Устанавливаемый коэффициент усиления зависит не только от порядка и степени фильтра, но и от характера спектральной плотности мощности входного сигнала. Если входной сигнал по спектральной плотности мощности сконцентрирован в полосе пропускания фильтра, то мощность выходного сигнала равна мощности входного при единичном коэффициенте передачи фильтра. В случае если входной сигнал имеет равномерную спектральную плотность мощности в полосе от 0 до частоты Найквиста при единичном коэффициенте передачи выходной сигнал будет ослаблен в отношение ширины полосы пропускания фильтра к частоте Найквиста раз. В этом случае коэффициент усиления должен компенсировать ослабление выходного сигнала.

[132]

Таким образом, коэффициент усиления играет двоякую роль, а именно:

[133]

- Коэффициент усиления компенсирует зависимость коэффициента передачи фильтра от порядка и степени фильтра.

[134]

- Коэффициент усиления компенсирует падение мощности сигнала вследствие ограничения его по спектру (фильтрации).

[135]

При фильтрации мощность выходного сигнала фильтра зависит от характера спектральной плотности мощности на входе фильтра и параметров фильтра. Если разработчик задает конфигурацию CIC дециматора, порядки и степени фильтров и знает характер спектральной плотности мощности входного сигнала, помеховую обстановку, то он должен рассчитать и установить необходимый для конкретного случая коэффициент усиления.

[136]

Наличие такой регулировки позволяет при необходимости разрабатывать алгоритмы автоматического регулирования, возложив функцию регулирования на внешний контроллер.

[137]

КИХ фильтр-дециматор и канальная фильтрация в устройстве по настоящему изобретению выполнено следующим образом. Реализованное в виде RCP ядро предназначено для фильтрации сигнала и уменьшения частоты дискретизации одного канала. Каждое из двух таких ядер фактически является функционально завершенным узлом фильтра-дециматора. Эти фильтры могут использоваться без децимации в качестве фильтров основной селекции или как корректирующие фильтры, например для коррекции искажений АЧХ в каскадах CIC децимации.

[138]

Ядра RCF имеют последовательный алгоритм обработки данных. В общем случае для обработки одного звена КИХ-фильтра при последовательной архитектуре требуется одна операция, включающая в себя умножение и суммирование в один такт. Таким образом, при порядке КИХ-фильтра, равном М, требуется М тактов обработки на один отсчет входного сигнала. При условии, что фильтр является симметричным, возможно сокращение количества необходимых тактов в два раза. При этом предварительно попарно суммируются отсчеты сигнала. Просуммированные отсчеты сигнала умножаются на отсчеты импульсной характеристики фильтра. Для симметричного фильтра производится попарное суммирование отсчетов, для антисимметричного - вычитание.

[139]

Ядро RCF фильтра-дециматора состоит из двух идентичных блоков, выполняющих функцию фильтрации и децимации для квадратурных компонент сигнала. Каждый из составляющих блоков состоит из устройства памяти данных отсчетов, сумматора, умножителя, интегратора и блока масштабирования. В целом, для ограничения разрядности, управления ограничителем и синхронизации дециматоров используется подход, идентичный использованному в CIC дециматоре, а сам узел ограничения разрядности унифицирован для всего устройства.

[140]

Так же как и в CIC дециматоре, для взаимной синхронизации КИХ дециматоров используется синхронизирующий сигнал, приводящий устройство в заведомо известное состояние.

[141]

Как отмечалось выше, один из фильтров дециматоров может играть роль канального фильтра (фильтра основной селекции). В задачу канальной фильтрации обычно входит обеспечение необходимого внеполосного подавления в начале полосы задержания сигнала и дофильтровка остаточных продуктов, "недодавленных" в процессе аналоговой фильтрации. В рамках концепции SDR функции канальной фильтрации ставятся немного шире. Поскольку общая концепция состоит в ослаблении требований к подавлению в аналоговом тракте с целью его максимальной универсализации, основная нагрузка по фильтрации сигнал ложится на цифровой тракт. Использование цифровой ПЧ и каскада цифровой децимации сигнала, обеспечивающего в основном только условия, необходимые для понижения частоты дискретизации, приводит к тому, что канальная фильтрация должна рассчитываться исходя из максимальных требований к приемнику.

[142]

Т.е. если при приеме на базовой станции сигнала стандарта IS-95 необходимо обеспечивать внеполосное подавление при отстройках 750 кГц (подавление -50 дБ) и 900 кГц (подавление -87 дБ), то должны выполняться оба эти требования. В отличие от "обычного" приемника, когда помехи на частотах свыше 900кГц частично или полностью подавляются в аналоговом тракте, разрабатываемый цифровой тракт приема должен обеспечивать полное подавление, т.е. все -87 дБ в цифровом виде. Как показали результаты моделирования, при требуемых отстройках каскад CIC децимации не дает большого подавления (для большинства стандартов это величины порядка 2-4 дБ). Т.о. за полосой пропускания канального фильтра стандарта IS-95 при отстройке 900 кГц необходимо обеспечивать подавление не менее -85 дБ. Заявляемое устройство покрывает эти потребности.

[143]

Заявляемое изобретение согласно данному примеру может быть реализовано доступными и известными в области радиотехники устройствами (в аппаратной реализации). В качестве элементной базы могут быть использованы также АЦП фирмы Analog Devices и ПЛИС фирм Xilinx и Altera. Однако наиболее предпочтительным вариантом реализации данного устройства, позволяющим достичь наибольшего экономического и технического эффекта, следует считать создание специализированной СБИС, аналогично прототипу заявленного устройства, которая может быть реализована известными из уровня техники в области схемотехники методами (например, аналого-цифровая система на кристалле).

Как компенсировать расходы
на инновационную разработку
Похожие патенты