патент
№ RU 2562798
МПК H01J25/00

СВЕРХМОЩНЫЙ СВЧ ПРИБОР КЛИСТРОННОГО ТИПА

Авторы:
Мамонтов Алексей Викторович
Номер заявки
2014121841/07
Дата подачи заявки
30.05.2014
Опубликовано
10.09.2015
Страна
RU
Как управлять
интеллектуальной собственностью
Чертежи 
4
Реферат

Изобретение относится к радиоэлектронике, в частности к электровакуумным СВЧ-приборам, предназначенным для получения сверхбольших импульсных и средних мощностей. Технический результат - повышение КПД и импульсной и средней выходной мощности. Сверхмощный СВЧ-прибор клистронного типа содержит соленоид и электронную пушку, содержащую несколько катодов, эмитирующая поверхность каждого из которых имеет форму боковой поверхности усеченного конуса, ось которого параллельна оси соленоида, резонаторную систему, коллектор, ввод и вывод СВЧ-энергии. Электронная пушка прибора содержит управляющий электрод, выполненный в виде совокупности единичных управляющих электродов, выполненных в виде полых усеченных конусов, каждый из которых окружает соответствующий ему катод, при этом внутренний диаметр в самой узкой части каждого единичного управляющего электрода больше диаметра самой широкой части эмитирующей поверхности соответствующего ему катода, ввод СВЧ-энергии выполнен в виде электрически соединенного с коаксиальной линией СВЧ-ввода проводника, размещенного вдоль оси прибора в центре входного резонатора, вывод СВЧ-энергии выполнен в виде по крайней мере двух волноводных выводов, расположенных симметрично относительно оси прибора, при этом каждый из волноводных выводов электромагнитно связан через щель связи с выходным резонатором. 2 з.п. ф-лы, 5 ил.

Формула изобретения

1. Сверхмощный многолучевой СВЧ-прибор клистронного типа, содержащий соленоид и расположенные в нем электронную пушку, содержащую несколько катодов, эмитирующая поверхность каждого из которых имеет форму боковой поверхности усеченного конуса, ось которого параллельна оси соленоида, резонаторную систему, коллектор, ввод и вывод СВЧ-энергии, отличающийся тем, что электронная пушка прибора содержит управляющий электрод, выполненный в виде совокупности единичных управляющих электродов, выполненных в виде полых усеченных конусов, каждый из которых окружает соответствующий ему катод, при этом внутренний диаметр в самой узкой части каждого единичного управляющего электрода больше диаметра самой широкой части эмитирующей поверхности соответствующего ему катода, ввод СВЧ-энергии выполнен в виде электрически соединенного с коаксиальной линией СВЧ-ввода проводника, размещенного вдоль оси прибора в центре входного резонатора, вывод СВЧ-энергии выполнен в виде по крайней мере двух волноводных выводов, расположенных симметрично относительно оси прибора, при этом каждый из волноводных выводов электромагнитно связан через щель связи с выходным резонатором.

2. Сверхмощный многолучевой СВЧ-прибор клистронного типа по п. 1, отличающийся тем, что коаксиальная линия СВЧ-ввода размещена в канале, выполненном по оси прибора через коллектор и резонаторную систему.

3. Сверхмощный многолучевой СВЧ-прибор клистронного типа по п. 1, отличающийся тем, что коаксиальная линия СВЧ-ввода размещена в канале, выполненном перпендикулярно оси прибора в области входного резонатора.

Описание

[1]

Изобретение относится к радиоэлектронике, в частности к электровакуумным СВЧ-приборам, предназначенным для получения сверхбольших импульсных и средних мощностей, и может быть использовано в системах радиопротиводействия, системах функционального поражения, ускорителях заряженных частиц и других областях техники.

[2]

В настоящее время получение сверхбольших СВЧ-мощностей традиционно осуществляется несколькими путями. Один из них - использование сверхмощных СВЧ-устройств различных конструкций, объединяющих в себе несколько мощных клистронов, при этом получение сверхбольших мощностей достигается путем суммирования их мощностей. Другой - это создание единичных сверхмощных однолучевых и многолучевых электровакуумных СВЧ-приборов.

[3]

Известно СВЧ-устройство, содержащее соленоид, в котором на заданном диаметре расположены несколько однолучевых многорезонаторных клистронов, оси которых параллельны оси соленоида (Патент Франции №1324415 «Усовершенствование фокусирующего устройства, направленное на обеспечение одновременной фокусировки нескольких пучков электронов», МПК H01J 23/087, 23/02, пр. 09.03.1962 г., опубл. 19.04.1963 г.). Каждый клистрон содержит электронную пушку с плоским торцевым катодом, резонаторную систему, коллектор, ввод и вывод СВЧ-энергии. Соленоид окружает резонаторные системы всех клистронов (длина соленоида равна длине резонаторной системы каждого из клистронов). С противоположных концов соленоида расположены два магнитных экрана, предназначенных для экранирования электронных пушек и коллекторов клистронов от магнитного поля соленоида. Соленоид создает однородное магнитное поле в области резонаторных систем клистронов, при этом в области электронных пушек и коллектора клистронов магнитное поле неоднородно и существенно ослаблено. Все клистроны СВЧ-устройства размещены в единой вакуумной оболочке. В области резонаторных систем клистронов вакуумная оболочка выполнена в виде установленных между магнитными экранами внутри соленоида и соосно ему двух коаксиально расположенных цилиндров, в кольцеобразном промежутке между которыми размещены резонаторные системы всех клистронов СВЧ-устройства.

[4]

В данном СВЧ-устройстве каждый клистрон имеет свой отдельный ввод и отдельный вывод СВЧ-энергии. В таком СВЧ-устройстве с вывода СВЧ-энергии каждого клистрона можно получать относительно невысокую мощность. Для получения большей мощности на выходе СВЧ-устройства необходимо произвести суммирование мощностей с выводов СВЧ-энергии всех клистронов. Однако и в этом случае полученная на выходе такого СВЧ-устройства мощность будет значительно меньше суммарной мощности всех клистронов. Это обусловлено тем, что если СВЧ-колебания подаются на отдельные вводы СВЧ-энергии всех клистронов независимо друг от друга, то СВЧ-колебания на выходе этих клистронов могут быть не сфазированы между собой. Указанные причины не позволяют использовать такое СВЧ-устройство в системах радиопротиводействия и системах функционального поражения, где требуются сверхбольшие импульсные мощности. Отсутствие фазировки СВЧ-колебаний затрудняет использование такого СВЧ-устройства и в многосекционных ускорителях, а также в ускорителях, где требуются сверхбольшие импульсные мощности. Кроме того, данное устройство имеет значительные габариты.

[5]

Известен сверхмощный однолучевой многорезонаторный клистрон для ускорителя частиц, выполненный с магнитной фокусирующей системой в виде соленоида (D. Sprehn, G. Caryotakis, and R.M. Phillips. 150-MW S-Band Klystron Program at the Stanford Linear Accelerator Center. Stanford Linear Accelerator Center, Stanford University, Stanford, CA 94309, SLAS Pub 7232, July 1996). В клистроне получена максимальная на сегодняшний день выходная импульсная мощность 150 МВт при анодном напряжении 535 кВ. Для получения таких напряжений требуется использование источников питания с большими массогабаритными параметрами. Кроме того, из-за высоких напряжений необходимо применять дополнительные меры для защиты от возможных электрических пробоев как источника питания, так и клистрона, что приводит к усложнению их конструкции. При этом габариты клистрона также значительно увеличиваются, что требует увеличения габаритов соленоида и потребляемой им мощности. Поэтому применение таких клистронов в системах радиопротиводействия и в системах функционального поражения проблематично, а применение в ускорителях ограничено. В настоящее время такой клистрон используется в единственном ускорителе DEZI (Германия).

[6]

В данном клистроне используется торцевой катод. Для получения больших импульсных мощностей в клистроне необходимо увеличивать как его ток, так и величину анодного напряжения.

[7]

Увеличение тока клистрона приводит к увеличению диаметра торцевого катода. Это связано с тем, что для обеспечения высокой долговечности клистрона плотность тока с катода не должна превышать 10 А/см2. В свою очередь, увеличение диаметра катода приводит к увеличению поперечных размеров электронной пушки клистрона.

[8]

Увеличение анодного напряжения клистрона приводит к еще большему увеличению поперечных размеров его электронной пушки, так как требуется увеличить расстояние от катода до окружающих его элементов для предотвращения возможности электрических пробоев. Кроме того, при увеличении анодного напряжения Ua растут и продольные размеры клистрона в соответствии с выражением:

[9]

[10]

где Ua - анодное напряжение в вольтах.

[11]

Таким образом, в прототипе для получения больших импульсных мощностей требуется высокое анодное напряжение, что ведет к значительному увеличению опасности пробоев, а также существенное увеличение как поперечных, так и продольных размеров клистрона, что делает его громоздким. При этом растет вес и мощность питания соленоида.

[12]

Наиболее близким техническим решением, выбранным как прототип изобретения, является известное сверхмощное СВЧ-устройство (патент РФ №2449467, приоритет 26.04.2011, МПК H03F 3/56), содержащее несколько клистронов, каждый из которых содержит электронную пушку, резонаторную систему, коллектор, ввод и вывод СВЧ-энергии, при этом соленоид окружает резонаторные системы всех клистронов, каждый клистрон заключен в отдельную вакуумную оболочку и содержит один или несколько катодов, эмитирующая поверхность каждого из которых имеет форму боковой поверхности усеченного конуса, ось которого параллельна оси соленоида, при этом соленоид окружает также эмитирующие поверхности катодов клистронов и создает единое продольное однородное магнитное поле в области резонаторных систем и эмитирующих поверхностей катодов клистронов, при этом вводы СВЧ-энергии всех клистронов выполнены коаксиальными и подсоединены к первому концу общей коаксиальной линии, расположенной на оси соленоида, причем второй конец общей коаксиальной линии образует единый ввод СВЧ-энергии СВЧ-устройства, а выводы СВЧ-энергии всех клистронов выполнены волноводными.

[13]

Описанный в устройстве-прототипе многолучевой клистрон способен выдавать большую СВЧ-мощность при пониженных значениях анодных напряжений. Однако вышеуказанный клистрон обладает и рядом недостатков. При использовании единственного волноводного вывода энергии выходная мощность клистрона ограничена пропускной способностью вывода (30-40 МВт). Кроме того, такая конструкция системы вывода СВЧ-энергии клистрона не обеспечивает равномерную нагрузку выходного резонатора и не позволяет достичь максимально возможного КПД и выходной мощности. Использование бокового ввода СВЧ-энергии в клистроне-прототипе не позволяет оптимально равномерно нагрузить входной резонатор и, как следствие, получить максимально возможную выходную мощность. Также следует отметить, что применение диодной конструкции электронной пушки, которая содержит только два электрода - катод и анод, влечет за собой необходимость использования импульсного напряжения большой величины. Таким образом, для обеспечения работы рассматриваемого клистрона требуется наличие высоковольтного источника импульсного напряжения (модулятора), обладающего большими габаритами, что значительно сокращает возможности по его применению в ряде областей техники.

[14]

Техническим результатом предлагаемого изобретения является создание сверхмощного СВЧ-прибора клистронного типа, обладающего высоким КПД, а также высокими значениями импульсной и средней выходной мощности, достигаемыми при использовании существенно пониженных значений как постоянного (анодного), так и импульсного напряжения.

[15]

Технический результат достигается тем, что предлагается сверхмощный СВЧ-прибор клистронного типа, содержащий соленоид и расположенные в нем электронную пушку, содержащую несколько катодов, эмитирующая поверхность каждого из которых имеет форму боковой поверхности усеченного конуса, ось которого параллельна оси соленоида, резонаторную систему, коллектор, ввод и вывод СВЧ-энергии, при этом электронная пушка прибора содержит управляющий электрод, выполненный в виде совокупности единичных управляющих электродов, выполненных в виде полых усеченных конусов, каждый из которых окружает соответствующий ему катод, при этом внутренний диаметр в самой узкой части каждого единичного управляющего электрода больше диаметра самой широкой части эмитирующей поверхности соответствующего ему катода, ввод СВЧ-энергии выполнен в виде электрически соединенного с коаксиальной линией СВЧ-ввода проводника, размещенного вдоль оси прибора в центре входного резонатора, вывод СВЧ-энергии выполнен в виде по крайней мере двух волноводных выводов, расположенных симметрично относительно оси прибора, при этом каждый из волноводных выводов электромагнитно связан через щель связи с выходным резонатором.

[16]

В предлагаемом сверхмощном СВЧ-приборе клистронного типа коаксиальная линия СВЧ-ввода может быть размещена в канале, выполненном по оси прибора через коллектор и резонаторную систему.

[17]

В предлагаемом сверхмощном СВЧ-приборе клистронного типа коаксиальная линия СВЧ-ввода может быть размещена в канале, выполненном перпендикулярно оси прибора в области входного резонатора.

[18]

В предлагаемом изобретении электронная пушка содержит управляющий электрод, выполненный в виде совокупности полых усеченных конусов, каждый из которых окружает соответствующий ему катод. Такая конструкция электронной пушки при сохранении компактных размеров позволяет существенно (до трех раз) понизить величину импульсного напряжения, необходимого для обеспечения работы прибора. Выполнение управляющего электрода в виде совокупности единичных управляющих электродов, выполненных в виде полых усеченных конусов, каждый из которых окружает соответствующий ему катод, позволяет эффективно осуществлять управление электронным потоком в приборе. При этом выполнение условия, при котором внутренний диаметр в самой узкой части управляющего электрода больше диаметра самой широкой части эмитирующей поверхности соответствующего ему катода, обеспечивает беспрепятственное прохождение электронного потока в приборе.

[19]

В предлагаемом изобретении ввод СВЧ-энергии выполнен в виде проводника, размещенного вдоль оси прибора в центре входного резонатора и электрически соединенного с коаксиальной линией СВЧ-ввода.

[20]

Такая конструкция ввода СВЧ-энергии обеспечивает равномерное взаимодействие СВЧ-поля входного резонатора с многолучевым электронным потоком, формируемым электронной пушкой. Это позволяет осуществить однородную группировку электронного потока, что является важным в многолучевом приборе для получения высоких значений КПД и, как следствие, высокой выходной мощности.

[21]

При этом коаксиальная линия СВЧ-ввода может быть размещена в канале, выполненном по оси прибора, что дает дополнительный выигрыш в габаритных характеристиках.

[22]

В предлагаемом изобретении вывод энергии выполнен в виде по крайней мере двух волноводных выводов, расположенных симметрично относительно оси прибора, при этом каждый из волноводных выводов электромагнитно связан с выходным резонатором через щель связи.

[23]

Применение такой конструкции вывода энергии позволяет равномерно нагрузить выходной резонатор прибора, что позволяет получить высокие значения КПД прибора. При этом следует учитывать, что предельная мощность, которую возможно получить на выходе единичного волноводного вывода, ограничена его максимальной пропускной способностью, что является ограничивающим фактором при получении сверхбольших мощностей. В предлагаемом изобретении влияние этого фактора значительно снижено.

[24]

Оптимальным вариантом выполнения предлагаемого сверхмощного СВЧ-прибора клистронного типа является использование конструкций, где количество лучей прибора кратно количеству волноводных выводов энергии СВЧ. Например, три вывода и три луча, либо три вывода и шесть лучей и т.д.

[25]

Таким образом, получение в предлагаемом сверхмощном СВЧ-приборе клистронного типа сверхбольшой мощности при относительно низких значениях как импульсного модулирующего, так и постоянного анодного напряжения, достигается за счет выполнения следующих условий:

[26]

- применение электронной пушки с управляющим электродом, выполненным в виде совокупности единичных управляющих электродов, выполненных в виде полых усеченных конусов, каждый из которых окружает соответствующий ему катод,

[27]

- применение ввода СВЧ-энергии, позволяющего равномерно нагрузить входной резонатор и осуществить однородную группировку многолучевого электронного потока формируемого электронной пушкой,

[28]

- применение вывода СВЧ-энергии, выполненного в виде по крайней мере двух волноводных выводов, расположенных симметрично относительно оси прибора, что позволяет равномерно нагрузить выходной резонатор прибора и, как следствие, получить более высокие показатели КПД и выходной мощности, а также обойти ограничения, которые накладывает максимальная пропускная способность единичного волноводного вывода энергии.

[29]

Изобретение поясняется чертежами.

[30]

На фиг. 1 показан предлагаемый сверхмощный СВЧ-прибор клистронного типа в четырехлучевом варианте исполнения, с четырьмя волноводными выводами, коаксиальная линия СВЧ-ввода размещена в канале, выполненном по оси прибора через коллектор и резонаторную систему.

[31]

На фиг. 2 показан предлагаемый сверхмощный СВЧ-прибор клистронного типа в четырехлучевом варианте исполнения, с четырьмя волноводными выводами, коаксиальная линия СВЧ-ввода размещена в канале, выполненном перпендикулярно оси прибора в области входного резонатора.

[32]

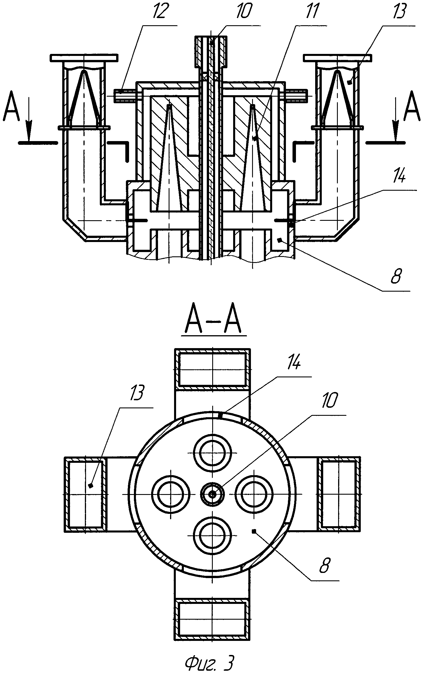
На фиг. 3 показан выходной резонатор предлагаемого сверхмощного многолучевого СВЧ-прибора клистронного типа с волноводными выводами, коллектором и коаксиальной линией СВЧ-ввода.

[33]

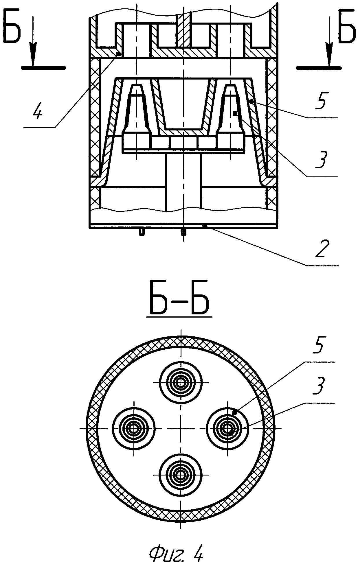
На фиг. 4 показаны электронная пушка предлагаемого сверхмощного СВЧ-прибора клистронного типа.

[34]

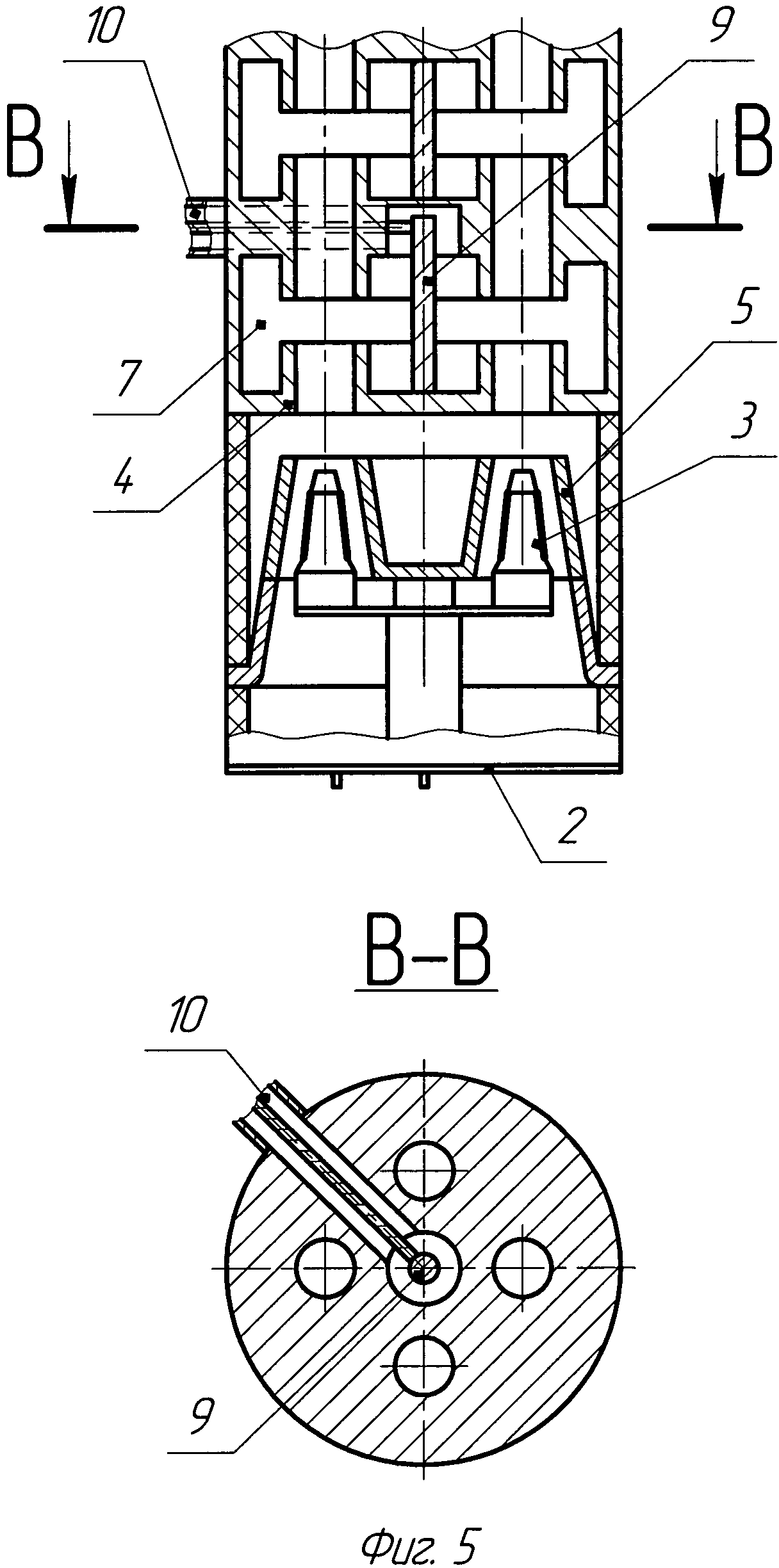
На фиг. 5 показаны электронная пушка и входной резонатор предлагаемого сверхмощного многолучевого СВЧ-прибора клистронного типа, выполненного в варианте, когда коаксиальная линия СВЧ-ввода размещена в канале, выполненном перпендикулярно оси прибора в области входного резонатора.

[35]

Показанный на фиг. 1 предлагаемый сверхмощный многолучевой СВЧ-прибор клистронного типа содержит соленоид 1, в котором расположена многолучевая электронная пушка 2 с катодами 3, эмитирующая поверхность которых выполнена в виде боковой поверхности усеченного конуса, ось которого параллельна оси соленоида 1, при этом катоды 3 окружены полым управляющим электродом 5, анод 4, резонаторную систему 6, содержащую входной резонатор 7, выходной резонатор 8, промежуточные резонаторы и пролетные каналы, ввод СВЧ-энергии 9, соединенный с коаксиальной линией СВЧ-ввода 10, размещенной в канале, выполненном по оси прибора, коллектор 11 с системой жидкостного охлаждения 12 и волноводные выводы СВЧ-энергии 13 с волноводным керамическим окном, каждый из которых электромагнитно связан с выходным резонатором 8 через щель связи 14.

[36]

При этом суммирование мощностей волноводных выводов СВЧ-энергии 13 может осуществляться либо в пространстве, либо посредством подключаемых волноводных сумматоров мощности.

[37]

Соленоид 1 может быть реализован на основе конструкций, предназначенных для создания продольного однородного магнитного поля на большой протяженности. В этом случае соленоид 1 выполняется в виде системы катушек, состоящей из основной катушки и расположенных с ее противоположных торцов дополнительных компенсирующих катушек. Соленоид 1 окружает резонаторную систему 6 и эмитирующие поверхности катодов 3 электронной пушки 2 и создает в области этих элементов единое продольное однородное магнитное поле. В показанных на фиг. 1 и фиг. 2 вариантах выполнения конструкции предлагаемого СВЧ-прибора соленоид 1 окружает также коллектор 11.

[38]

Каждый из волноводных выводов СВЧ-энергии 13 позволяет выводить из выходного резонатора 8 предлагаемого СВЧ-прибора большую СВЧ-мощность и таким образом получить суммарно сверхбольшие мощности на выходе.

[39]

На фиг. 3 показан выходной резонатор 8 предлагаемого сверхмощного СВЧ-прибора клистронного типа с волноводными выводами 13 и коллектором 11 с системой жидкостного охлаждения 12. Четыре волноводных вывода СВЧ-энергии 13 электромагнитно связаны через щели связи 14 с выходным резонатором 8. Через выходной резонатор проходит коаксиальная линия СВЧ-ввода 10.

[40]

На фиг. 4 показана электронная пушка 2 предлагаемого сверхмощного СВЧ-прибора клистронного типа с катодами 3, эмитирующая поверхность которых выполнена в виде боковой поверхности усеченного конуса, ось которого параллельна оси соленоида 1, при этом катоды 3 окружены полым управляющим электродом 5, а также анод 4.

[41]

На фиг. 5 показана электронная пушка 2 предлагаемого сверхмощного многолучевого СВЧ-прибора клистронного типа, а также входной резонатор 7, содержащий ввод СВЧ-энергии 9, выполненный в виде проводника, размещенного вдоль оси прибора в центре входного резонатора 7 и электрически соединенного с коаксиальной линией СВЧ-ввода 10.

[42]

Показанный на фиг. 1 предлагаемый сверхмощный СВЧ-прибор клистронного типа работает следующим образом. На анод 4 прибора подается заданное постоянное анодное напряжение, а на управляющий электрод 5 электронной пушки 2 - импульсное напряжение, величина которого составляет примерно 1/3 от анодного напряжения. При приложении импульсного напряжения к управляющему электроду под воздействием создаваемого соленоидом 1 продольного однородного магнитного поля на выходе каждого из катодов 3 формируется полый электронный пучок. В пространстве между управляющим электродом 5 и анодом 4 электронный пучок подвергается воздействию анодного напряжения (ускоряется), далее каждый полый электронный пучок движется вдоль резонаторной системы 6 клистрона по пролетному каналу к коллектору 11. При прохождении высокочастотного зазора входного резонатора 7 электронный пучок подвергается воздействию СВЧ электрического поля, в результате чего происходит модуляция электронов по скорости и образуются электронные сгустки, которые затем еще более уплотняются под воздействием СВЧ электрических полей последующих резонаторов. При поступлении в выходной резонатор 8 прибора электронные сгустки отдают часть энергии СВЧ электрическому полю выходного резонатора 8 и оседают в коллекторе 11. Усиленная таким образом СВЧ-мощность из выходного резонатора 8 попадает через щели связи 14 в волноводные выводы СВЧ-энергии 13. Далее суммирование мощностей волноводных выводов СВЧ-энергии 13 может осуществляться либо в пространстве, либо СВЧ-мощность из выводов СВЧ-энергии прибора поступает во входные плечи подключенных к прибору волноводных сумматоров мощности, с помощью которых осуществляется суммирование выходных мощностей.

[43]

В качестве примера рассмотрим предлагаемый сверхмощный СВЧ-прибор клистронного типа, работающий в диапазоне длин волн 16,5 см и размещенный в соленоиде с однородным магнитным полем. Рассматриваемый прибор является четырехлучевым, с четырьмя волноводными выводами СВЧ-энергии, резонаторная система прибора содержит входной, выходной и два промежуточных коаксиальных резонатора. В таком СВЧ-приборе при анодном напряжении 260 кВ, первеансе луча, равном 2,8·106 А/В372, и КПД, равном 40%, обеспечивается выходная импульсная мощность ≈150 МВт. При этом импульсное напряжение, прикладываемое к управляющему электроду, составляет примерно 90 кВ, что позволяет использовать весьма компактный и надежно работающий модулятор.

[44]

В то же время в многолучевом клистроне-прототипе невозможно получение таких высоких значений выходной мощности по причине того, что величина максимальной выходной мощности ограничена применением единственного вывода СВЧ-энергии с одним керамическим окном. Опыт разработки сверхмощных клистронов показывает, что пропускная способность такого вывода СВЧ-энергии составляет не более 40 МВт. Кроме того, в прототипе уже для получения выходной импульсной мощности 40 МВт необходимо использование импульсного напряжения величиной не менее 160 кВ.

[45]

В предлагаемом изобретении для получения выходной мощности 40 МВт на анод подается постоянное напряжение 155-160 кВ, а на управляющий электрод импульсное напряжение 50-60 кВ. Импульсный источник питания (модулятор) компактен и надежен в эксплуатации.

[46]

Таким образом, предлагаемое изобретение позволяет:

[47]

- значительно увеличить выходную мощность по сравнению с прототипом;

[48]

- достичь максимально возможных на сегодняшний день значений импульсной мощности (150 МВт) при резком снижении напряжений питания по сравнению с известными аналогами, что позволяет повысить электропрочность и, тем самым, надежность работы клистрона и источников питания.

Как компенсировать расходы
на инновационную разработку
Похожие патенты