патент
№ RU 2674263
МПК F21S8/00

Осветитель светодиодный

Авторы:
Клюкин Александр Валерьевич Ковальчук Виктор Сергеевич Письменный Евгений Владимирович
Все (4)
Номер заявки
2017137689
Дата подачи заявки
27.10.2017
Опубликовано
06.12.2018
Страна
RU
Как управлять
интеллектуальной собственностью
Чертежи 
4
Реферат

Изобретение относится к области светотехники, а именно к светодиодным осветителям, выполняющим функции как осветительные, так и сигнальные, в частности для освещения области пространства, наблюдаемого телевизионной камерой. Техническим результатом является формирование близкого к прямоугольной форме светового пятна осветителя, соответствующего формату изображения телевизионной камеры, а именно 16:9 или 4:3. Технический результат достигается за счет того, что светодиодные источники в количестве не менее двух, на каждом из которых установлена иммерсионная линза, концентрирующая излучение в телесном угле α, расположены в несколько строк, параллельных друг другу, и помещены в вершину соответствующего каждой строке фокона, имеющего две зеркальные поверхности, ограничивающие излучение углом β, определяемым соотношением tg(α/2):tg(β/2)=16:9 или tg(α/2):tg(β/2)=4:3, а защитный колпак-линза выполнен плоским. 4 ил.

Формула изобретения

Осветитель светодиодный, состоящий из корпуса с размещенными в нем элементами питания и подключения, светодиодными источниками (модулями, светодиодами), излучающими в телесном угле α, и защитного колпака-линзы, отличающийся тем, что светодиодные источники в количестве не менее двух расположены в несколько строк, параллельных друг другу, и помещены в вершину соответствующего каждой строке фокона, имеющего две зеркальные поверхности, ограничивающие излучение светодиодных источников углом β, определяемым соотношением tg(α/2):tg(β/2)=16:9 или tg(α/2):tg(β/2)=4:3, а защитный колпак-линза выполнен плоским.

Описание

[1]

Изобретение относится к светотехнике, а именно к светодиодным осветителям (светильникам, прожекторам) с симметричным светораспределением, применяемым для освещения области пространства и объектов, наблюдаемых телевизионной камерой.

[2]

Формат изображения телевизионной камеры стандартизован и равен 16:9 либо 4:3. Поэтому с целью уменьшения энергетических потерь на освещение необходимо сформировать световой поток осветителя не в форме конуса с круглым пятном света, а в форме пирамиды с прямоугольным световым пятном при соотношении сторон 16:9 или 4:3.

[3]

Известно «Осветительное устройство с несимметричным распределением светового потока относительно оптической оси», описанное в патенте RU 2137978 (опубл. 20.09.1999 г.). Световой поток в указанном устройстве формируется следующим образом: сначала излучение проходит линзы - конденсоры, затем линзовый растр - рассеиватель и далее - две оптические поверхности линз-секций внешнего рассеивателя с взаимно перпендикулярными оптическими осями. В результате создается неравномерное распределение света в вертикальной плоскости.

[4]

Известен также «Формирователь светового луча», патент RU 2456503, (опубл. 10.05.2011 г.), предназначенный для придания вытянутой формы лучу света. Устройство содержит линзу, имеющую ось, входной диоптр (поверхность) и выходной диоптр (поверхность). Выходной диоптр содержит первую собирающую секцию, вторую собирающую секцию и рассеивающую секцию, соединяющую упомянутые первую и вторую собирающие секции. Выходной диоптр содержит осесимметричную непрерывную поверхность, выполненную вокруг оси вращения, перпендикулярную к упомянутой оси.

[5]

Недостатком обоих вышеуказанных известных устройств является то, что они не формируют симметричного распределения светового потока со световым пятном необходимой формы.

[6]

Наиболее близким к заявляемому устройству является «Осветительное устройство», патент RU 2499184 (опубл. 20.11.2013 г.). Известное устройство содержит корпус с размещенными в нем элементами питания и подключения, светодиодные источники света, смонтированные на теплопроводящем основании, установленном в тепловом контакте с корпусом, и защитный колпак-линзу. Защитный колпак-линза выполнен в форме параболлоида вращения с вдавленной вершиной, наружная и внутренняя поверхности которого образованы вращением части параболы, отсекаемой прямой, параллельной оси параболы и отстоящей на расстоянии А от нее, причем упомянутая прямая является осью вращения.

[7]

Недостатком прототипа является то, что известное устройство также не формирует симметричного распределения светового потока необходимой формы, и кроме того, защитный колпак-линза сложен в изготовлении (особенно из твердых и хрупких материалов).

[8]

Задачей, на решение которой направлено заявляемое изобретение, является создание светодиодного осветителя со световым потоком, имеющим близкую к прямоугольной форму светового пятна.

[9]

Техническим результатом является формирование близкой к прямоугольной формы пятна излучаемого света, соответствующего формату изображения телевизионной камеры, а именно 16:9 или 4:3.

[10]

Всякий другой формат светового потока (светового пятна), например, круглый, приводит к снижению качества телевизионного изображения и излишним энергозатратам.

[11]

Это достигается тем, что осветитель светодиодный, состоящий из корпуса с размещенными в нем элементами питания и подключения, светодиодными источниками и защитного колпака-линзы, отличается тем, что светодиодные источники, в количестве не менее двух, на каждом из которых установлена иммерсионная линза, концентрирующая излучение в телесном угле α, расположены в несколько строк, параллельных друг другу, и помещены в вершину соответствующего каждой строке фокона, имеющего две зеркальные поверхности, ограничивающие излучение углом β, определяемым соотношением tg(α/2):tg(β/2)=16:9 или tg(α/2):tg(β/2)=4:3, а колпак-линза выполнен плоским.

[12]

Сущность заявляемого изобретения поясняется графическими материалами, где:

[13]

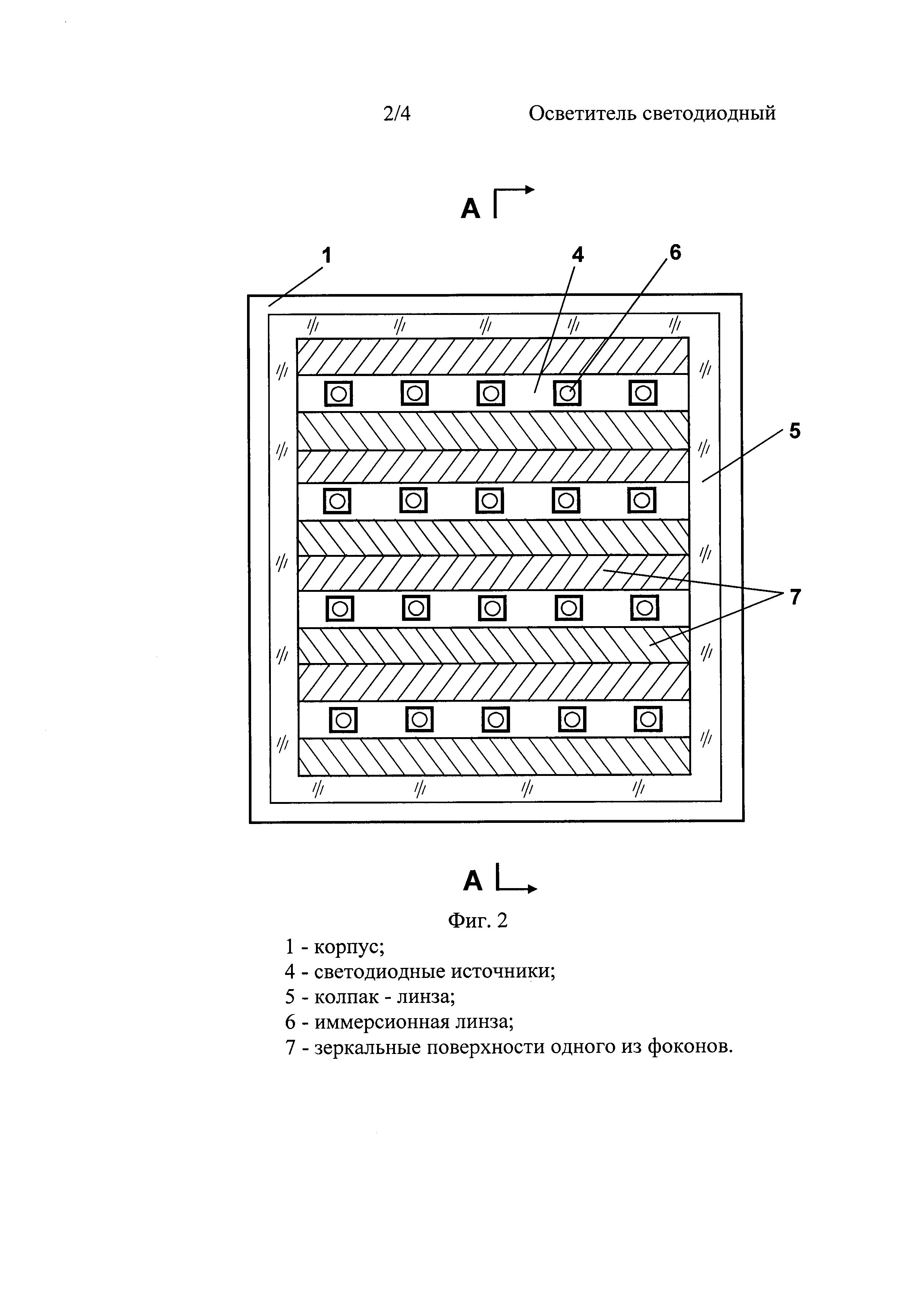
на фиг. 1 изображено сечение А-А заявляемого осветителя;

[14]

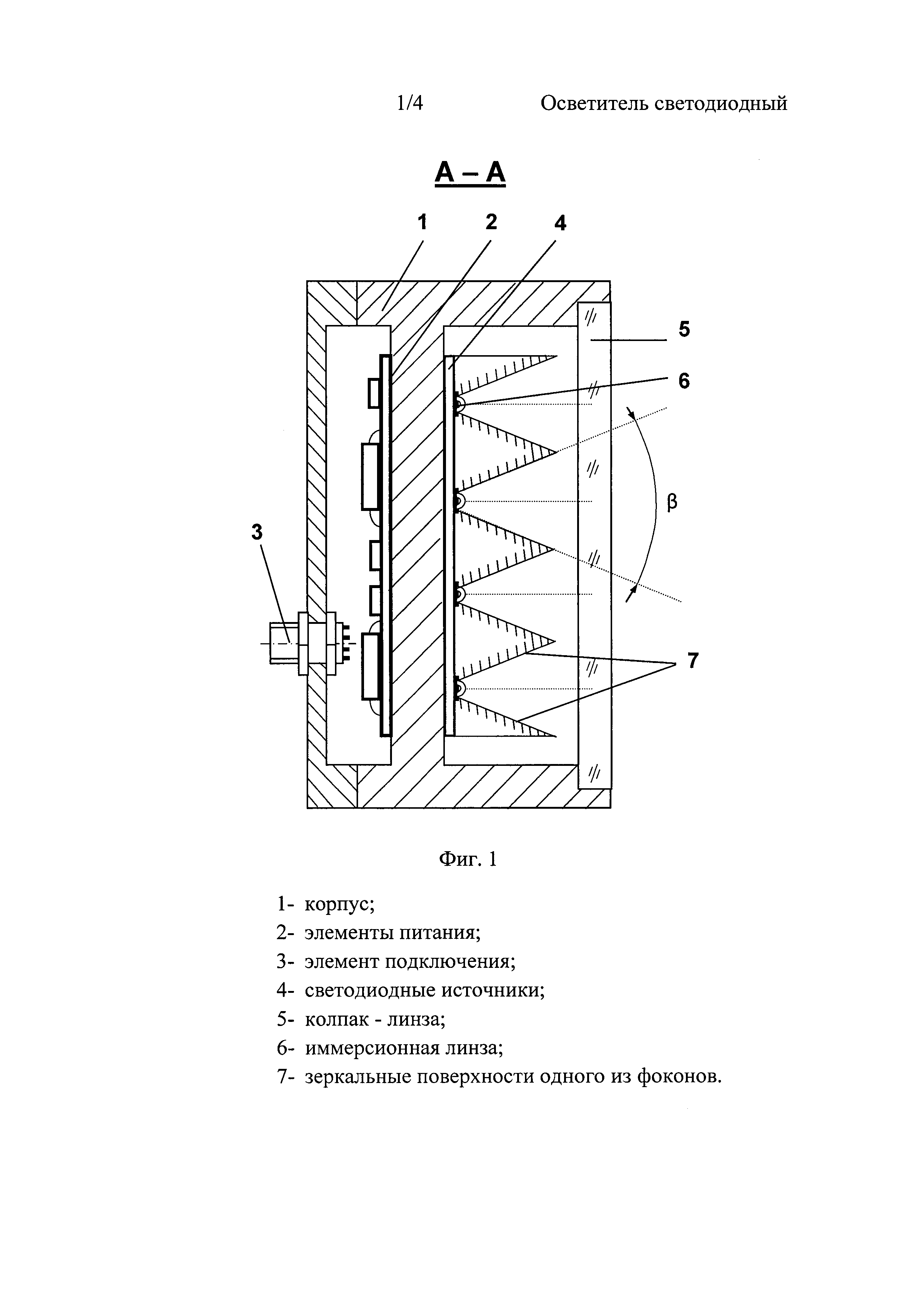
на фиг. 2 - фронтальный вид осветителя;

[15]

на фиг. 3 - диаграммы излучения осветителя;

[16]

на фиг. 4 - формат светового пятна осветителя.

[17]

Осветитель светодиодный (см. фиг. 1, 2) состоит из корпуса 1, в котором установлены элементы 2 питания, элемент 3 подключения, светодиодные источники 4, защитный колпак-линза 5, иммерсионные линзы 6 и один из фоконов 7 с двумя зеркальными поверхностями. Плоскость сечения (А-А) перпендикулярна линиям строк светоизлучающих светодиодных источников 4, каждый из которых может состоять как из одиночного кристалла светодиода, так и из нескольких кристаллов.

[18]

На фиг. 2 показан фронтальный вид взаимного расположения корпуса 1, светодиодных источников 4, колпака-линзы 5, иммерсионных линз 6 и фоконов 7 с зеркальными поверхностями.

[19]

Осветитель светодиодный формирует симметричный световой поток, образующий световое пятно с формой, близкой к прямоугольной и соотношением сторон 16:9 (или 4:3), следующим образом.

[20]

Через элемент 3 подключения внешнее напряжение питания подается на элементы 2 питания, преобразующие и стабилизирующие ток для светодиодных источников 4.

[21]

Каждый из светодиодных источников 4 снабжен иммерсионной линзой 6, концентрирующей излучение в угле α.

[22]

Если конструктивно изменять расстояние между излучающей поверхностью кристалла светодиода и фокусом иммерсионной линзы 6, можно получать различный телесный угол излучения α. На практике он может лежать в интервале от 30° до 110°.

[23]

Таким образом можно формировать необходимую ширину светового пятна по одной оси, например, слева направо. Такая ориентация светового пятна вполне оправдана, так как изображение, формируемое телевизионной камерой, также имеет верх, низ, лево и право.

[24]

Для того чтобы сформировать размер светового пятна по другой оси (верх - низ), светодиодных источников 4 должно быть не менее двух в каждой строке и они должны располагаться в вершинах соответствующих фоконов 7 с двумя зеркальными поверхностями. Эти поверхности ограничивают световой поток, излучаемый в угле α, углом β. При этом угол α, как правило, выбирают равным или большим максимального угла поля зрения телевизионной камеры. Для определения угла β с достаточной для практики точностью следует использовать соотношение tg(α/2):tg(β/2)=16:9, или tg(α/2):tg(β/2)=4:3.

[25]

Увеличение количества светодиодных источников в строке больше 2-х не влияет на форму диаграммы излучения. Поскольку эти источники излучают не когерентный, а диффузный свет, то их световые потоки складываются в пространстве, на расстоянии больше 10 длин строк осветитель можно считать точечным источником. Максимально допустимое количество светодиодных источников в строке и количество строк в осветителе определяется его необходимой мощностью и удобством их питания и управления.

[26]

На фиг. 3 показаны телесные углы излучения (диаграммы) светодиодного осветителя в требуемом формате в декартовых координатах. Оптическая ось излучения осветителя перпендикулярна его фронтальной проекции.

[27]

На фиг. 4 показана форма светового пятна осветителя и пунктиром показан формат изображения телевизионной камеры с соотношением сторон 16:9.

[28]

Существенным преимуществом заявляемого осветителя является плоская форма колпака-линзы. Это особенно важно для осветителей, рассчитанных на работу под высоким давлением, что требует применения труднообрабатываемых неотливаемых материалов, например, закаленных стекол или лейкосапфира. Плоская форма колпака-линзы также предпочтительна для проектирования осветителей на ультрафиолетовых длинах волн, или в инфракрасном диапазоне, когда применение поликарбонатов и других органических материалов невозможно.

[29]

Поскольку ни корпус 1, ни элементы 2, 3 питания и подключения не влияют на достигаемый результат, то они выполнены, исходя исключительно из условий эксплуатации осветителя, эффективности отвода тепла от светодиодных источников 4 и эффективности теплообмена корпуса 1 с внешней средой. Спроектированный, изготовленный и испытанный опытный образец показал реализуемость и соответствие параметров заявленному результату.

[30]

АО «НИИ телевидения»

[31]

Гультяев Юрий Павлович, С-Пб, ул. Грибалевой, д. 8, кв. 48, 194100

[32]

Клюкин Александр Валерьевич, Ленинградская обл., г. Никольское, ул. Первомайская, д. 17, корп. 2, кв. 804, 187026

[33]

Ковальчук Виктор Сергеевич, С-Пб, ул. 2-я Советская, д. 14/4, кв. 2, 191036

[34]

Письменный Евгений Владимирович, С-Пб, ул. Байконурская, д. 19, корп. 1, кв. 3, 197202

Как компенсировать расходы
на инновационную разработку
Похожие патенты