патент
№ RU 2392422
МПК E21B43/16

СПОСОБ ДОБЫЧИ НЕФТИ С ИСПОЛЬЗОВАНИЕМ ЭНЕРГИИ УПРУГИХ КОЛЕБАНИЙ И УСТАНОВКА ДЛЯ ЕГО ОСУЩЕСТВЛЕНИЯ

Авторы:
Печков Андрей Андреевич
Номер заявки
2009115817/03
Дата подачи заявки
28.04.2009
Опубликовано
20.06.2010
Страна
RU
Как управлять
интеллектуальной собственностью
Чертежи 
7
Реферат

Изобретение относится к области нефтедобычи, в частности к добыче нефти с использованием энергии упругих колебаний. Обеспечивает повышение эффективности за счет воздействия на обрабатываемый пласт с осуществлением последовательной и/или поочередной обработки призабойной зоны и зоны питания скважины упругими колебаниями высокой и низкой частоты. Сущность изобретения: способ включает размещение в скважине на рабочей глубине скважинного аппарата, который соединен с наземным источником электропитания промышленной частоты и содержит в себе ультразвуковой преобразователь, обеспечивающий создание упругих колебаний высокой частоты, возбуждение упругих колебаний разных частот и последующее за этим неоднократное воздействие упругими колебаниями разных частот на нефтяной пласт. Это воздействие осуществляют колебаниями высокой и/или низкой частоты. Для создания упругих колебаний высокой и низкой частоты используют два независимых источника колебаний, один из которых выполнен в виде, по меньшей мере, одного излучающего ультразвукового, преимущественно, магнитострикционного преобразователя, а второй создан на базе электроимпульсного устройства, которое обеспечивает создание упругих колебаний низкой частоты, соединено с наземным источником электропитания промышленной частоты и включает в себя электрически взаимосвязанные между собой зарядное устройство, блок накопительных конденсаторов, разрядный блок, оснащенный электродами, и два коммутирующих средства, одно из которых обеспечивает компоновку отдельных накопительных конденсаторов в единый блок, а второе выполняет переключение накопительных к

Формула изобретения

1. Способ добычи нефти с использованием энергии упругих колебаний, включающий размещение в скважине на рабочей глубине скважинного аппарата, который соединен с наземным источником электропитания промышленной частоты и содержит в себе ультразвуковой преобразователь, обеспечивающий создание упругих колебаний высокой частоты, возбуждение упругих колебаний разных частот и, последующее за этим, преимущественно, неоднократное воздействие упругими колебаниями разных частот на нефтяной пласт, отличающийся тем, что воздействие упругими колебаниями на нефтяной пласт осуществляют колебаниями высокой и низкой частоты, а для создания упругих колебаний высокой и низкой частоты используют два независимых источника колебаний, один из которых выполнен в виде, по меньшей мере, одного излучающего ультразвукового, преимущественно, магнитострикционного преобразователя, а второй создан на базе электроимпульсного устройства, которое обеспечивает создание упругих колебаний низкой частоты, соединено с наземным источником электропитания промышленной частоты и включает в себя электрически взаимосвязанные между собой зарядное устройство, блок накопительных конденсаторов, разрядный блок, оснащенный электродами, и два коммутирующих средства, одно из которых обеспечивает компоновку отдельных накопительных конденсаторов в единый блок, а второе выполняет переключение накопительных конденсаторов с одного вида их электрического соединения на другой вид соединения, при этом воздействие упругими колебаниями высокой частоты осуществляют в низкочастотном ультразвуковом диапазоне, преимущественно, на частоте 18-44 кГц и ведут его в постоянном и/или импульсном режиме с интенсивностью в пределах 1-5 Вт/см2, а воздействие упругими колебаниями низкой частоты осуществляют с частотой следования импульсов разряда равной 0,2-0,01 Гц и ведут его с энергией единичного импульса разряда, составляющей 100-800 Дж, причем на зарядное устройство от источника электропитания подают постоянное напряжение, величину которого устанавливают в пределах 300-150 В, перед зарядкой накопительных конденсаторов осуществляют их компоновку в единый блок, зарядку блока накопительных конденсаторов выполняют, преимущественно, при параллельном соединении конденсаторов и ведут ее, преимущественно, в течение 20 с до необходимой величины напряжения, максимальное значение которой принимают равным 20-27 кВ, а перед разрядкой блока накопительных конденсаторов, обеспечивающей поступление его выходного напряжения на электроды разрядного блока, все накопительные конденсаторы или их некоторую часть переключают в последовательное электрическое соединение, вместе с этим воздействие упругими колебаниями высокой и низкой частоты осуществляют поочередно и/или одновременно, преимущественно, при неподвижном расположении скважинного аппарата, ведут его с постоянными и/или с изменяющимися электрическими и акустическими характеристиками наземного и/или скважинного оборудования и технологическими параметрами процесса добычи нефти и, преимущественно, при постоянной и/или при периодической откачке нефти из скважины.

2. Способ по п.1, отличающийся тем, что компоновку отдельных накопительных конденсаторов в единый блок и переключение накопительных конденсаторов с одного вида их электрического соединения на другой вид осуществляют, преимущественно, в автоматическом режиме.

3. Способ по п.1, отличающийся тем, что величину напряжения, подаваемого на зарядное устройство, в процессе зарядки блока накопительных конденсаторов, устанавливают постоянной и/или изменяют ее значение.

4. Способ по п.3, отличающийся тем, что величину напряжения изменяют плавно и/или скачкообразно.

5. Способ по п.3, отличающийся тем, что величину напряжения изменяют, преимущественно, в сторону увеличения ее значения.

6. Способ по п.3, отличающийся тем, что величину напряжения изменяют, по меньшей мере, один раз.

7. Способ по п.1, отличающийся тем, что блок накопительных конденсаторов компонуют, по меньшей мере, из двух конденсаторов.

8. Способ по п.1, отличающийся тем, что блок накопительных конденсаторов компонуют, преимущественно, из четного количества конденсаторов.

9. Способ по п.1, отличающийся тем, что блок накопительных конденсаторов компонуют из конденсаторов, электрическая емкость которых составляет 0,5-3 мкФ, а величина напряжения находится в пределах 20-30 кВ.

10. Способ по п.1, отличающийся тем, что блок накопительных конденсаторов компонуют из конденсаторов с одинаковыми и/или с разными техническими характеристиками.

11. Способ по п.1, отличающийся тем, что компоновку блока накопительных конденсаторов на соответствующих этапах работы электроимпульсного устройства оставляют постоянной или ее изменяют.

12. Способ по п.1, отличающийся тем, что при зарядке блока накопительных конденсаторов конденсатор заряжают до рабочего напряжения или не менее чем на 35-5% от его величины.

13. Способ по п.1, отличающийся тем, что при зарядке блока накопительных конденсаторов конденсаторы заряжают до одинакового и/или до разного рабочего напряжения.

14. Способ по п.1, отличающийся тем, что при зарядке блока накопительных конденсаторов конденсаторы заряжают одновременно и/или последовательно один за другим.

15. Способ по п.14, отличающийся тем, что при последовательной зарядке зарядку конденсаторов осуществляют с временными интервалами или без них.

16. Способ по п.15, отличающийся тем, что при зарядке с временными интервалами зарядку осуществляют с одинаковыми и/или с разными интервалами.

17. Способ по п.15, отличающийся тем, что продолжительность интервала устанавливают в пределах от 5 с до 10 мин.

18. Способ по п.1, отличающийся тем, что при разрядке блока накопительных конденсаторов конденсаторы разряжают одновременно и/или последовательно один за другим.

19. Способ по п.18, отличающийся тем, что при одновременной разрядке накопительных конденсаторов разряжают все конденсаторы блока или некоторую часть их них.

20. Способ по п.19, отличающийся тем, что при одновременной разрядке некоторой части из накопительных конденсаторов разряжают по меньшей мере два конденсатора.

21. Способ по п.18, отличающийся тем, что при последовательной разрядке конденсаторов разрядку осуществляют с временными интервалами или без временных интервалов.

22. Способ по п.21, отличающийся тем, что при разрядке с временными интервалами разрядку осуществляют с одинаковыми и/или с разными интервалами.

23. Способ по п.21, отличающийся тем, что продолжительность временного интервала устанавливают в пределах 5-20 с.

24. Способ по п.1, отличающийся тем, что при импульсном режиме воздействия упругими колебаниями высокой частоты продолжительность воздействия составляет 0,1-0,5 с, а продолжительность паузы - от 0,5 до 5 с.

25. Установка для осуществления способа, включающая наземный источник электропитания промышленной частоты и оснащенный блоком управления скважинный аппарат, который посредством электрического кабеля соединен с наземным источником электропитания, выполнен в виде полого цилиндрообразного корпуса, перегородками разделен на герметичные отсеки и содержит в себе источник упругих колебаний высокой частоты, выполненный в виде излучающего ультразвукового преобразователя, отличающаяся тем, что она дополнительно снабжена источником упругих колебаний низкой частоты, который создан, преимущественно, на базе электроимпульсного устройства, соединен с наземным источником электропитания промышленной частоты и установлен в скважинном аппарате, причем источник упругих колебаний высокой частоты выполнен в виде, по меньшей мере, одного ультразвукового, преимущественно, магнитострикционного преобразователя, а электроимпульсное устройство включает в себя электрически взаимосвязанные между собой зарядное устройство, блок накопительных конденсаторов, разрядный блок, оснащенный электродами, и два коммутирующих средства, одно из которых на соответствующих этапах работы скважинного аппарата обеспечивает компоновку отдельных накопительных конденсаторов в единый блок, а второе выполняет в блоке накопительных конденсаторов переключение конденсаторов с их параллельного соединения на последовательное и, наоборот, с последовательного соединения на параллельное, при этом коммутирующие средства выполнены, преимущественно, как одно единое устройство, которое установлено в одном отсеке с блоком накопительных конденсаторов, а отсеки скважинного прибора, в которых расположены блок накопительных конденсаторов и источник упругих колебаний высокой частоты, заполнены электроизолирующей средой.

26. Установка по п.25, отличающаяся тем, что отсек скважинного прибора заполнен, преимущественно, жидкой электроизолирующей средой.

27. Установка по п.25, отличающаяся тем, что отсек скважинного прибора электроизолирующей средой заполнен таким образом, что, при условии вертикального расположения скважинного аппарата, все комплектующие изделия, находящиеся в указанном отсеке, полностью погружены в электроизолирующую среду и при этом в отсеке, в котором установлен блок накопительных конденсаторов, имеется некоторая воздушная подушка.

28. Установка по п.27, отличающаяся тем, что объем воздушной подушки в отсеке составляет не менее 15% от объема электроизолирующей среды.

29. Установка по п.26, отличающаяся тем, что отсеки скважинного прибора, в которых расположены блок накопительных конденсаторов и источник упругих колебаний высокой частоты, заполнены, преимущественно, одной и той же электроизолирующей средой.

30. Установка по п.26, отличающаяся тем, что электроизолирующая среда выполнена на базе, преимущественно, термостойкой кремнийорганической жидкости.

Описание

[1]

Изобретение относится к области нефтедобычи, в частности к добыче нефти с использованием энергии упругих колебаний, и может быть с достаточно высокой эффективностью реализовано при выполнении работ на глубинах, превышающих 2000 м.

[2]

Известно устройство для импульсного воздействия на нефтяной пласт скважинным аппаратом, принцип работы которого базируется на «электрогидравлическом эффекте», позволяющим повысить продуктивность обрабатываемого пласта.

[3]

В этом устройстве скважинный аппарат выполнен в виде полого цилиндрообразного корпуса и содержит в себе зарядное устройство, блок накопительных конденсаторов и разрядный блок, оснащенный двумя электродами и спусковым средством [1].

[4]

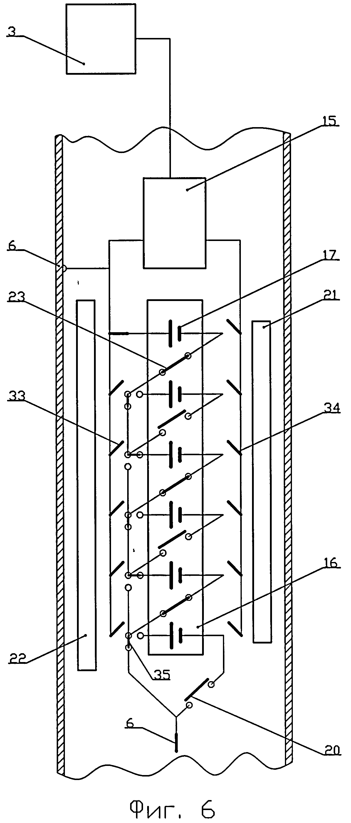
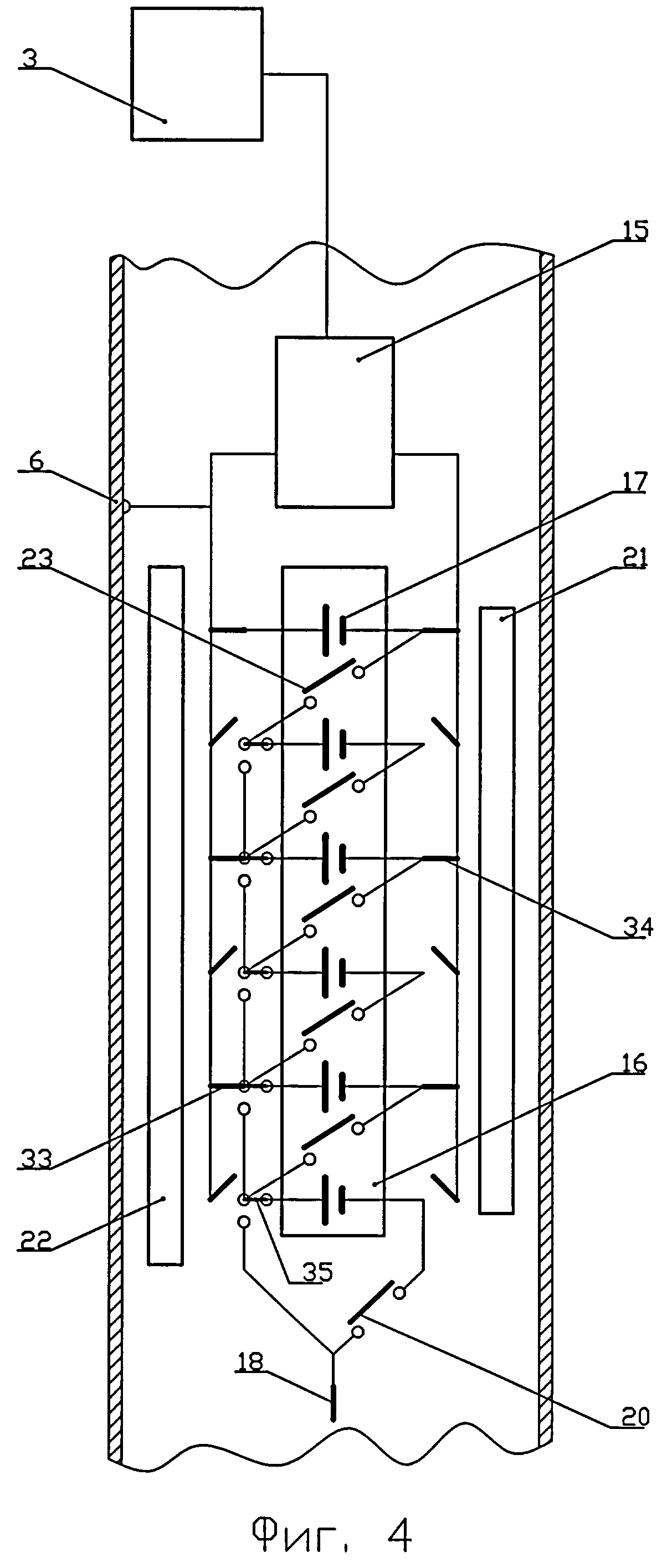
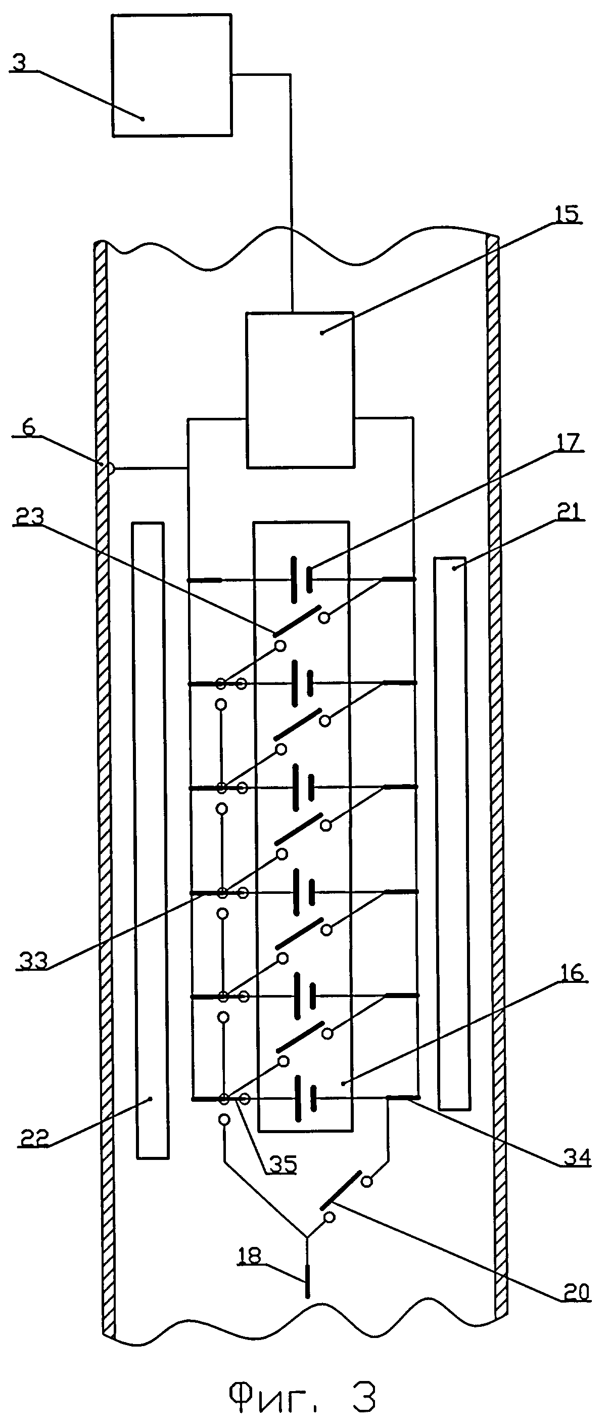
Основные недостатки этого устройства заключаются в больших габаритных размерах скважинного аппарата (ориентировочно: диаметр 250 мм, длина 3500 мм) и в незначительной величине энергии (не более 100-300 Дж), создаваемой при единичном разряде блока накопительных конденсаторов.

[5]

Эксплуатация скважинного аппарата с такой энергией разрядного импульса не позволяет работать на глубинах более 1500-2000 м, в то время как подавляющее большинство скважин, например в западной Сибири Российской Федерации и в

[6]

Канаде, имеют нефтеносные пласты на глубинах в 2500-2700 и более метров, а его габариты затрудняют процесс работы в обсадной трубе с пониженными диаметрами, при переменной конфигурации уклонов по сечению пласта и ограничивают его перемещение от скважины к скважине.

[7]

Второй и наиболее важный недостаток этого устройства является следствием «негативных конструктивных особенностей» блока накопительных конденсаторов.

[8]

Обычно для увеличения энергии разрядного импульса идут по пути увеличения емкости накопительного конденсатора, т.к. энергия его разрядного импульса равна половине произведения емкости конденсатора и квадратичного значения напряжения на него подаваемого. Однако это приводит к резкому увеличению габаритных размеров скважинного аппарата и затрудняет его эксплуатацию.

[9]

«Негативные конструктивные особенности» блока накопительных конденсаторов известного устройства заключаются в том, что его накопительные конденсаторы как при их зарядке, так и при их разрядке, имеют параллельное электрическое соединение между собой. А это не позволяет обеспечить в разрядном блоке пробивное напряжение выше 20 кВт (работоспособность электропитающего кабеля, требования техники безопасности) и не позволяет получать энергию разрядного импульса более 1 кДж, необходимые (см. «кривая Пашена» /представлена в аналоге на фиг.1/) для эффективной работы на больших глубинах.

[10]

Прямого указания на такое (параллельное) соединение накопительных конденсаторов в описании известного изобретения нет, но информация, имеющаяся в книге Л.Я.Попилова «Электрофизическая и электрохимическая обработка материалов» (Глава 13, «Электрогидравлическая обработка», с.265-270, рис.1, 2 и 3), Москва, «Машиностроение», 1982 г., позволяет утверждать, что авторами изобретения был использован именно такой общеизвестный и общепринятый вид электрического соединения накопительных конденсаторов.

[11]

Кроме того, использование в данном устройстве «электрогидравлического эффекта», предопределяющего возникновение в жидком флюиде нефтяного пласта упругих колебаний только низкой частоты, обеспечивающих обработку зоны питания скважины, не позволяет обрабатывать упругими колебаниями призабойную зону скважины (необходимы колебания высокой частоты), что могло бы в большей степени повысить продуктивность обрабатываемого нефтяного пласта. Данный недостаток следует отнести и к способу добычи нефти, который реализуется на этом устройстве.

[12]

Известен также способ добычи нефти с использованием энергии упругих колебаний высокой частоты, для осуществления которого скважинный аппарат, выполняют на базе источника акустических колебаний [2].

[13]

Использование упругих колебаний высокой частоты позволяет располагать скважинный аппарат на глубине в районе 2700 м, но не позволяет обрабатывать упругими колебаниями зону питания скважины (необходимы колебания низкой частоты), что могло бы в большей степени повысить продуктивность обрабатываемого нефтяного пласта. Это и является основным недостатком данного способа добычи нефти, а следовательно, и устройства, с помощью которого он реализуется.

[14]

Кроме этого, известен способ добычи нефти с использованием энергии упругих колебаний двух частот, лежащих в диапазоне 10-60 кГц, включающий размещение в скважине на рабочей глубине скважинного аппарата, возбуждение упругих колебаний разных частот и последующее за этим, преимущественно, неоднократное воздействие упругими колебаниями разных частот на нефтяной пласт. Этот способ реализуется с помощью установки, в которой скважинный аппарат соединен с наземным источником электропитания промышленной частоты и содержит в себе один излучающий ультразвуковой пьезоэлектрический преобразователь, имеющий достаточно узкую амплитудно-частотную характеристику и обеспечивающий создание упругих колебаний высокой частоты на своей резонансной частоте [3].

[15]

Однако данная установка, а следовательно, и реализуемый на ней способ воздействия упругими колебаниями на нефтяной пласт, которые по своей технической сущности являются наиболее близкими к изобретению и приняты в качестве прототипа, имеют ряд существенных недостатков.

[16]

Во-первых, нелинейность пористой среды, содержащей флюид, может быть недостаточной для преобразования импульсного излучения пъезообразователей с помощью биений в низких частотах. Кроме того, поскольку максимальна амплитуда высокочастотных колебаний сохраняется, и в случае создания биений, для излучения низкой частоты, это частота в среднем в 103 меньше высокой частоты, то интенсивность излучения низкой частоты будет в 106 раз меньше, чем высокой частоты, что явно недостаточно для оказания какого-либо воздействия на пласт. Таким образом, использование одного пьезоэлектрического преобразователя при различных вариантах его возбуждения не позволяет получать упругие колебания. Следовательно, известный способ и известная установка при использовании пьезоэлектрического преобразователя (авторы известного изобретения указывают только на пьзоэлектрический преобразователь) не обеспечивают обработки приемной зоны скважины.

[17]

Во-вторых, предложенное авторами известного изобретения воздействие упругими колебаниями низкой частоты в диапазоне 10-15 кГц и воздействие упругими колебаниями высокой частоты в диапазоне, превышающем 44 кГц, не являются оптимальными для обработки нефтяного пласта.

[18]

В-третьих, известная установка не обеспечивает, а известный способ не предусматривает одновременного воздействия упругими колебаниями высокой и низкой частоты.

[19]

Вследствие указанных недостатков известные способ и установка могут быть охарактеризованы как имеющие низкие технические возможности, которые резко снижают эффективность обработки нефтяного пласта и не позволяют повысить его продуктивность до требуемой степени.

[20]

Задачей, на решение которой направлено изобретение, является разработка такого устройства и такого способа его использования, которые при минимально возможных габаритах скважинного аппарата позволят осуществлять добычу нефти на глубинах более 2000 метров и эффективно выполнять воздействие на обрабатываемый пласт, осуществляя последовательную и/или поочередную обработку призабойной зоны и зоны питания скважины.

[21]

Решение данной задачи в изобретении достигается техническими результатами, которые в процессе добычи нефти предоставляют возможность обработки нефтяного пласта упругими колебаниями высокой и низкой частоты, обеспечивают в разрядном блоке скважинного аппарата создание пробивного напряжения выше 20 кВ и получение разрядного импульса с энергией, превышающей 1 кДж.

[22]

Поставленная задача в способе добычи нефти с использованием энергии упругих колебаний, включающем размещение в скважине на рабочей глубине скважинного аппарата, который соединен с наземным источником электропитания промышленной частоты и содержит в себе ультразвуковой преобразователь, обеспечивающий создание упругих колебаний высокой частоты, возбуждение упругих колебаний разных частот и последующее за этим, преимущественно, неоднократное воздействие упругими колебаниями разных частот на нефтяной пласт, достигается за счет того, что воздействие упругими колебаниями на нефтяной пласт осуществляют колебаниями высокой и/или низкой частоты, а для создания упругих колебаний высокой и низкой частоты используют два независимых источника колебаний, один из которых выполнен в виде, по меньшей мере, одного излучающего ультразвукового, преимущественно, магнитострикционного преобразователя, а второй создан на базе электроимпульсного устройства, которое обеспечивает создание упругих колебаний низкой частоты, соединено с наземным источником электропитания промышленной частоты и включает в себя электрически взаимосвязанные между собой зарядное устройство, блок накопительных конденсаторов, разрядный блок, оснащенный электродами и два коммутирующих средства, одно из которых обеспечивает компоновку отдельных накопительных конденсаторов в единый блок, а второе выполняет переключение накопительных конденсаторов с одного вида их электрического соединения на другой вид соединения, при этом воздействие упругими колебаниями высокой частоты осуществляют в низкочастотном ультразвуковом диапазоне, преимущественно, на частоте 18-44 кГц и ведут его в постоянном и/или импульсном режиме с интенсивностью в пределах 1-5 Вт/см2, а воздействие упругими колебаниями низкой частоты осуществляют с частотой следования импульсов разряда, равной 0,2-0,01 Гц, и ведут его с энергией единичного импульса разряда, составляющей 100-800 Дж, причем на зарядное устройство от источника электропитания подают постоянное напряжение, величину которого устанавливают в пределах 300-150 В, перед зарядкой накопительных конденсаторов осуществляют их компоновку в единый блок, зарядку блока накопительных конденсаторов выполняют, преимущественно, при параллельном соединении конденсаторов и ведут ее, преимущественно, в течение 20 с до необходимой величины напряжения, максимальное значение которой принимают равным 20-27 кВ, а перед разрядкой блока накопительных конденсаторов, обеспечивающей поступление его выходного напряжения на электроды разрядного блока, все накопительные конденсаторы или их некоторую часть переключают в последовательное электрическое соединение, вместе с этим воздействие упругими колебаниями высокой и низкой частоты осуществляют поочередно и/или одновременно, преимущественно, при неподвижном расположении скважинного аппарата, ведут его с постоянными и/или с изменяющимися электрическими и акустическими характеристиками наземного и/или скважинного оборудования и технологическими параметрами процесса добычи нефти и, преимущественно, при постоянной и/или при периодической откачке нефти из скважины.

[23]

Этому же способствует также и то, что:

[24]

- компоновку отдельных накопительных конденсаторов в единый блок и переключение накопительных конденсаторов с одного вида их электрического соединения на другой вид осуществляют, преимущественно, в автоматическом режиме;

[25]

- величину напряжения, подаваемого на зарядное устройство, в процессе зарядки блока накопительных конденсаторов устанавливают постоянной и/или изменяют ее значение;

[26]

- величину напряжения изменяют плавно и/или скачкообразно;

[27]

- величину напряжения изменяют, преимущественно, в сторону увеличения ее значения;

[28]

- величину напряжения изменяют, по меньшей мере, один раз;

[29]

- блок накопительных конденсаторов компонуют, по меньшей мере, из двух конденсаторов;

[30]

- блок накопительных конденсаторов компонуют, преимущественно, из четного количества конденсаторов;

[31]

- блок накопительных конденсаторов компонуют из конденсаторов, электрическая емкость которых составляет 0,5-3 мкФ, а величина напряжения находится в пределах 20-30 кВ;

[32]

- блок накопительных конденсаторов компонуют из конденсаторов с одинаковыми и/или с разными техническими характеристиками;

[33]

- компоновку блока накопительных конденсаторов на соответствующих этапах работы электроимпульсного устройства оставляют постоянной или ее изменяют;

[34]

- при зарядке блока накопительных конденсаторов, конденсатор заряжают до рабочего напряжения или не менее чем на 35-5% от его величины;

[35]

- при зарядке блока накопительных конденсаторов конденсаторы заряжают до одинакового и/или до разного рабочего напряжения;

[36]

- при зарядке блока накопительных конденсаторов конденсаторы заряжают одновременно и/или последовательно один за другим;

[37]

- при последовательной зарядке зарядку конденсаторов осуществляют с временными интервалами или без них;

[38]

- при зарядке с временными интервалами зарядку осуществляют с одинаковыми и/или с разными интервалами;

[39]

- продолжительность интервала устанавливают в пределах от 5 с до 10 мин;

[40]

- при разрядке блока накопительных конденсаторов конденсаторы разряжают одновременно и/или последовательно один за другим;

[41]

- при одновременной разрядке накопительных конденсаторов разряжают все конденсаторы блока или некоторую часть их них;

[42]

- при одновременной разрядке некоторой части из накопительных конденсаторов разряжают, по меньшей мере, два конденсатора;

[43]

- при последовательной разрядке конденсаторов разрядку осуществляют с временными интервалами или без временных интервалов;

[44]

- при разрядке с временными интервалами разрядку осуществляют с одинаковыми и/или с разными интервалами;

[45]

- продолжительность временного интервала устанавливают в пределах 5-20 с;

[46]

- при импульсном режиме воздействия упругими колебаниями высокой частоты продолжительность воздействия составляет 0,1-0,5 с, а продолжительность паузы - от 0,5 до 5 с.

[47]

Поставленная задача в установке для осуществления способа по п.1, включающей, наземный источник электропитания промышленной частоты и оснащенный блоком управления скважинный аппарат, который посредством электрического кабеля соединен с наземным источником электропитания, выполнен в виде полого цилиндрообразного корпуса, перегородками разделен на герметичные отсеки и содержит в себе источник упругих колебаний высокой частоты, выполненный в виде излучающего ультразвукового преобразователя, достигается за счет того, что она дополнительно снабжена источником упругих колебаний низкой частоты, который создан, преимущественно, на базе электроимпульсного устройства, соединен с наземным источником электропитания промышленной частоты и установлен в скважинном аппарате, причем источник упругих колебаний высокой частоты выполнен в виде, по меньшей мере, одного ультразвукового, преимущественно, магнитострикционного преобразователя, а электроимпульсное устройство включает в себя электрически взаимосвязанные между собой зарядное устройство, блок накопительных конденсаторов, разрядный блок, оснащенный электродами, и два коммутирующих средства, одно из которых на соответствующих этапах работы скважинного аппарата обеспечивает компоновку отдельных накопительных конденсаторов в единый блок, а второе выполняет в блоке накопительных конденсаторов переключение конденсаторов с их параллельного соединения - на последовательное и, наоборот, с последовательного соединения - на параллельное, при этом коммутирующие средства выполнены, преимущественно, как одно единое устройство, которое установлено в одном отсеке с блоком накопительных конденсаторов, а отсеки скважинного прибора, в которых расположены блок накопительных конденсаторов и источник упругих колебаний высокой частоты, заполнены электроизолирующей средой.

[48]

Этому же способствует также и то, что:

[49]

- отсек скважинного прибора заполнен, преимущественно, жидкой электроизолирующей средой;

[50]

- отсек скважинного прибора электроизолирующей средой заполнен таким образом, что при условии вертикального расположения скважинного аппарата все комплектующие изделия, находящиеся в указанном отсеке, в котором устанавливается блок накопительных конденсаторов, полностью погружены в электроизолирующую среду и при этом в отсеке имеется некоторая воздушная подушка;

[51]

- объем воздушной подушки в отсеке составляет не менее 15% от объема электроизолирующей среды;

[52]

- отсеки скважинного прибора, в которых расположены блок накопительных конденсаторов и источник упругих колебаний высокой частоты заполнены, преимущественно, одной и той же электроизолирующей средой;

[53]

- электроизолирующая среда выполнена на базе, преимущественно, термостойкой кремнийорганической жидкости.

[54]

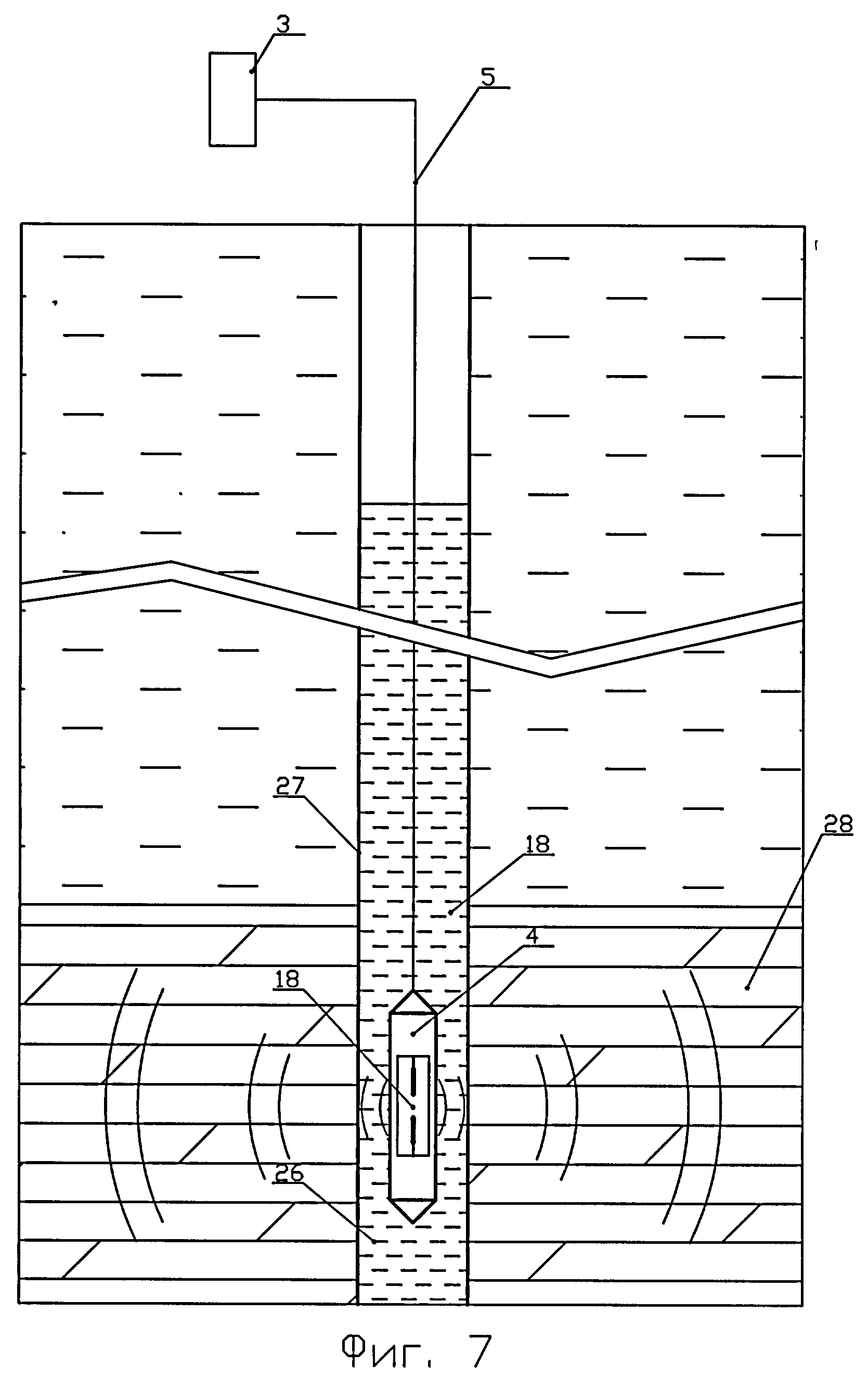
Предлагаемое изобретение поясняется чертежами, на которых схематично представлены:

[55]

на фиг.1 - продольный разрез скважинного аппарата;

[56]

на фиг.2 - вертикальный разрез обрабатываемой скважины;

[57]

на фиг.3 - продольный разрез скважинного аппарата на стадии компоновки блока накопительных конденсаторов из полного комплекта конденсаторов;

[58]

на фиг.4 - продольный разрез скважинного аппарата на стадии компоновки блока накопительных конденсаторов из неполного комплекта конденсаторов;

[59]

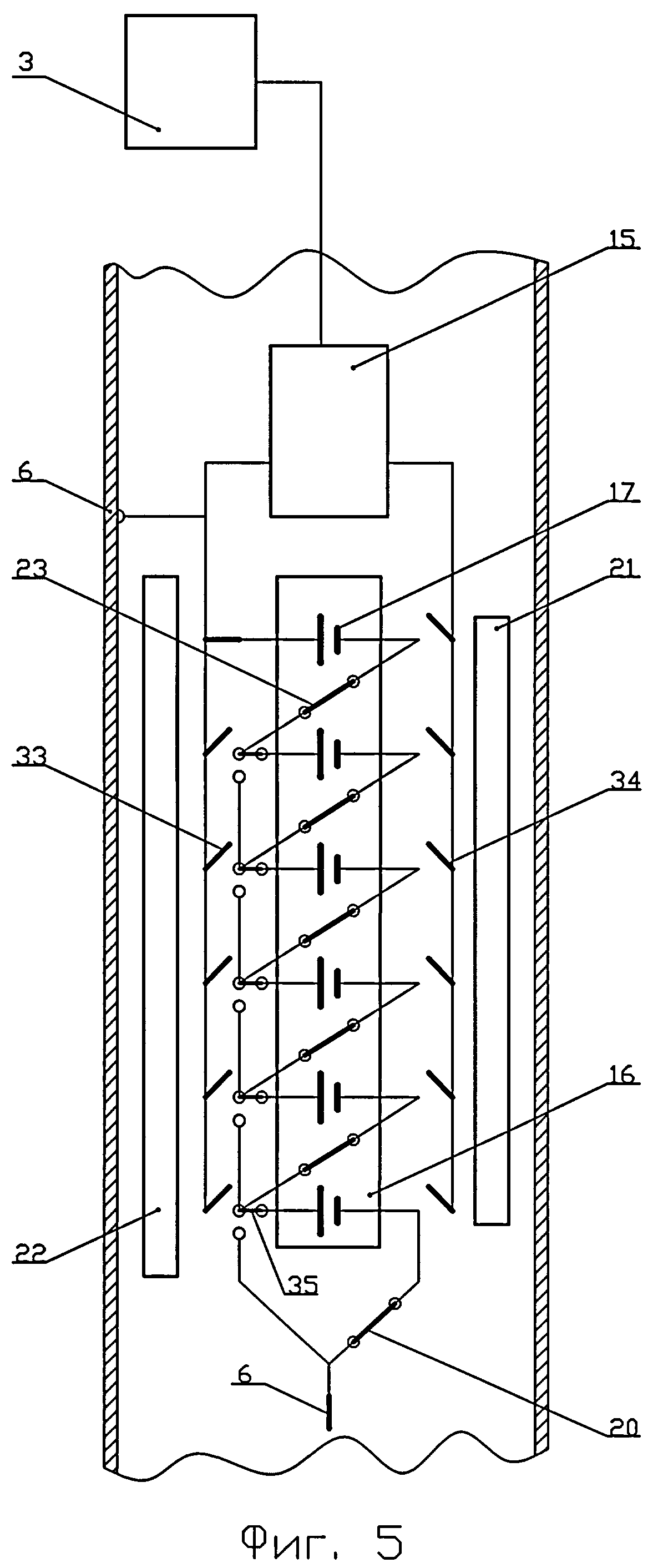
на фиг.5 и 6 - продольный разрез скважинного аппарата на стадии разрядки блока накопительных конденсаторов при разных вариантов его компоновки;

[60]

на фиг.7 - один из возможных вариантов осуществления способа.

[61]

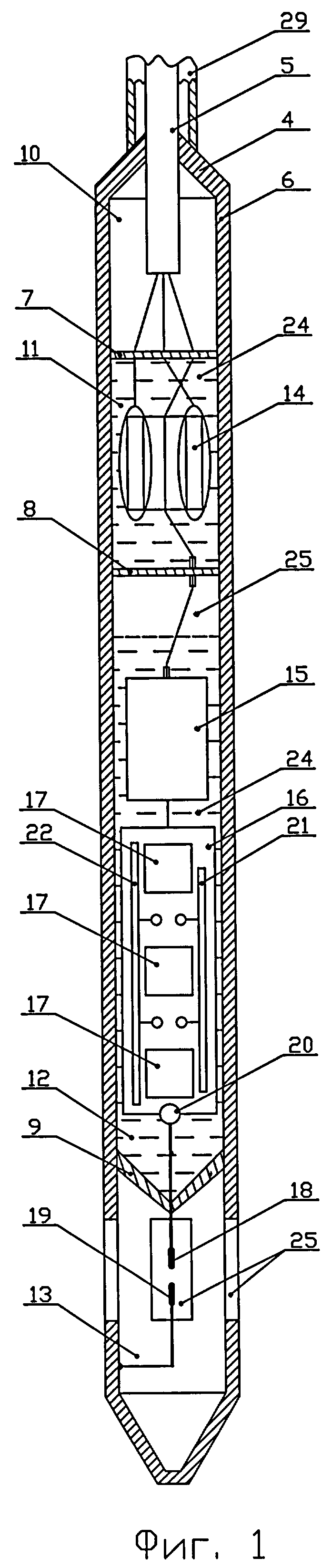
Установка для добычи нефти с использованием энергии упругих колебаний высокой и низкой частоты включает в себя (см. фиг.1-4) оснащенные пультом управления 1 два наземных блока электропитания 2 и 3 и скважинный аппарат 4, который посредством кабеля 5 соединен с блоками электропитания 2 и 3, выполнен в виде полого цилиндрообразного корпуса 6 и перегородками 7, 8 и 9 разделен на герметичные отсеки 10, 11, 12 и 13. Скважинный аппарат 4 содержит в себе источник упругих колебаний высокой частоты, который создан на базе магнитострикционного преобразователя 14 и источник упругих колебаний, который создан на базе электроимпульсного устройства. Это электроимпульсное устройство включает в себя электрически взаимосвязанные между собой и последовательно расположенные зарядное устройство 15, блок 16 накопительных конденсаторов 17 и разрядный блок, оснащенный электродами 18, 19 и спусковым устройством 20, которое может быть выполнено в виде, например, газонаполненного разрядника. Скважинный аппарат 4 снабжен установленными в его полости двумя коммутирующими средствами 21 и 22, которые соединены с пультом управления 1, взаимосвязаны с блоками электропитания 2 и 3 и работают в автоматическом режиме. Одно из них 21 на соответствующих этапах работы скважинного аппарата 4 обеспечивает в блоке 16 накопительных конденсаторов 17 компоновку накопительных конденсаторов в единый блок.

[62]

Второе коммутирующее средство 22 на соответствующих этапах работы скважинного аппарата 4 обеспечивает в блоке 16 накопительных конденсаторов 17 переключение накопительных конденсаторов 17 с их параллельного электрического соединения (фиг.5) - на последовательное электрическое соединение (фиг.6) и, наоборот, с последовательного соединения - на параллельное. Это коммутирующее средство 14 выполнено, преимущественно, на базе газовых быстродействующих разрядников 23 и установлено в одном отсеке 12 с блоком 16 накопительных конденсаторов 17.

[63]

Отсеки 11 и 12, в которых расположены магнитострикционный преобразователь 14, блок 16 накопительных конденсаторов 17 и коммутирующие средства 21 и 22, заполнены электроизолирующей средой 24, которая представляет собой жидкую кремнийорганическую жидкость, например жидкостью «Пента - ТРМС-110». Этот отсек электроизолирующей жидкостью заполнен таким образом, что при условии вертикального расположения скважинного аппарата 4 все комплектующие изделия, находящиеся в данном отсеке, полностью погружены в электроизолирующую жидкость, и при этом в отсеке имеется некоторая воздушная подушка 25, объем которой составляет не менее 15% от объема электроизолирующей жидкости. Такие электроизолирующая среда и вариант заполнения полости отсека обеспечивают наиболее благоприятные условия для работы вышеуказанных комплектующих изделий. Отсек 13, в котором расположены электроды 18 и 19, взаимосвязанные соответственно с выходом блока 16 накопительных конденсаторов 17 и с корпусом 6 скважинного аппарат 4, выполнен со сквозными окнами 25, обеспечивающими доступ в его полость обрабатываемой среды 26, которой заполнена скважина 27.

[64]

Ниже приводится пример конкретной реализации предлагаемого способа, не исключающий других вариантов его осуществления в объеме формулы изобретения.

[65]

Предварительно (см. фиг.1) скважинный аппарат 4 посредством насосно-компрессорных труб 29 опускают в скважину 27, заполненную, например, флюидом (при необходимости в скважину заливают рабочую жидкость), и располагают его в зоне предполагаемого воздействия на нефтенесущий пласт 28, требующий соответствующей обработки. Вследствие этого отсек 13 скважинного аппарата 4 через окна 25 заполняется флюидом и электроды 18 и 19 оказываются полностью в него погруженными. Затем наземный блок питания 2 соединяют с промышленной электрической сетью (напряжение 220 В, частота 50 Гц) и с помощью пульта управления 1 включают его. Блок питания 2 преобразует напряжение 220 В в постоянное регулируемое напряжение (диапазон 300-150 В) и по кабелю 5 передает его (например, 200 В и не изменяемое по величине) в зарядное устройство 3, обеспечивающее зарядку блока 9 накопительных конденсаторов 10 (три конденсатора, конденсаторы соединены параллельно, емкость каждого конденсатора 3 мкФ /возможно 25 и более/) до величины в 20 кВ. Зарядку блока накопительных конденсаторов осуществляют в течение 20 с (время зарядки может быть значительно увеличено, а максимальное значение величины зарядки блока накопительных конденсаторов может составлять 25-27 и несколько более киловольт). После окончания зарядки блока 9 накопительных конденсаторов 10 накопительные конденсаторы с помощью коммутирующего устройства 14 по соответствующей команде с пульта управления 1 в автоматическом режиме из параллельного соединения (фиг.2) переключают на последовательное соединение (фиг.3). Затем с пульта управления 1 на спусковое устройство 13 выдают команду на электрическое соединение блока накопительных конденсаторов с разрядным блоком.

[66]

В результате этого соединения происходит разрядка блока накопительных конденсаторов, обеспечивающая поступление его выходного напряжения (пробивное напряжение) на электроды 11 и 12 разрядного блока. Величина этого пробивного напряжения пропорциональна количеству накопительных конденсаторов, представляет собой сумму напряжений, накопленных каждым из них, и при указанных выше параметрах составляет 40-42 кВ, что позволяет получить энергию разряда в пределах 1,6-1,8 кДж. При несколько иных параметрах пробивное напряжение может быть увеличено до 75-81 кВ, а энергия разрядного импульса может быть доведена до 3 кДж.

[67]

Особенностью предлагаемого технического решения является образование ударных давлений внутри объема любой жидкости, возникающих при протекании в ней электрического импульсного разряда. Действием возникающих разрядов внутри объема жидкости создаются значительные перемещения последней, приводящие к образованию кавитационной полости с последующим ее смыканием. Результатом единичного электрического разряда является гидравлический удар, представляющий совокупность двух гидравлических ударов: основного, возникающего, когда жидкость раздвигается, и кавитационного, возникающего при смыкании полости. Давления, возникающие при электрогидравлическом ударе, тем выше, чем более плотна используемая жидкость, чем мощнее импульс и чем круче его фронт.

[68]

Цикл, состоящий из этих двух ударов, может повторяться с необходимой частотой в соответствии с частотой следования разрядов. Частота следования разрядов в предлагаемом техническом решении составляет 0,2-0,01 Гц.

[69]

Для увеличения проницаемости прискважинной зоны пласта, для очистки перфорационных отверстий и пор коллекторов от механических примесей и других загрязнений, для развития систем трещин в пласте, а также и для воздействия на зону питания скважины может быть использован скважинный аппарат с внешним диаметром, равным 102 мм, и с длиной, не превышающей 3,2 м. Причем достаточно незначительные габаритные размеры этого скважинного аппарата позволяют эксплуатировать его в условиях скважин с любой конфигурацией уклонов по сечению пласта и с любыми оперативными перемещениями от скважины к скважине.

[70]

Однако, прежде чем подробно рассматривать достоинства предлагаемого устройства, необходимо завершить технологический цикл работы его скважинного аппарата, прерванный на этапе получения первого разряда.

[71]

После завершения разрядки блока 9 накопительных конденсаторов они с помощью коммутирующего устройства 14 в автоматическом режиме из последовательного соединения (фиг.5) переключаются на параллельное соединение (фиг.3). После этого первый технологический цикл работы скважинного аппарата 3 окончен и устройство вновь готового к продолжению работы, которая при соответствующих командах с пульта управления 1 может вестись уже с другими технологическими параметрами. Следует отметить, что наиболее эффективные работа предлагаемого устройства и реализация предлагаемого способа достигаются в том случае, когда из обрабатываемой зоны скважины 27 через насосно-компрессорные трубы 29 посредством насоса 30 и качалки 31 откачивают скважинную жидкость.

[72]

Через блок 3 передают колебания высокой частоты от магнитострикционного преобразователя 14.

[73]

Сопоставительный анализ известного и предлагаемого технических решений показывает значительные преимущества последнего из них. Во-первых, это обеспечение возможности воздействия на нефтяной пласт упругими колебаниями высокой и/или низкой частоты и, следовательно, обеспечение обработки приемной зоны скважины. Во-вторых, это обеспечение возможности проведения работ на глубинах более 3000 м и с оптимальными режимами обработки. В-третьих, это минимальные размеры (в сравнении с аналогом, диаметр - в 2,5 раза меньше, длина в 1,04 или в 2,3 раза короче) и широкие технические возможности при высокой эффективности обработки нефтяного пласта и повышении его продуктивности до требуемой степени.

[74]

Источники информации

[75]

1. Патент РФ №2283951, «Электрогидравлическое импульсное устройство», 2006 г.

[76]

2. Патент РФ №2026969, «Способ акустического воздействия на призабойную зону продуктивного пласта», 1995 г.

[77]

3. Патент РФ №2162519, «Способ акустической обработки продуктивной зоны скважины и устройство для его реализации», 2001 г.

Как компенсировать расходы
на инновационную разработку
Похожие патенты