Изобретение относится к области оптического приборостроения и касается оптической системы тепловизионного прибора. Оптическая система включает в себя объектив, приемник излучения с охлаждаемой диафрагмой, блок обработки информации, датчик температуры, блок позиционирования и блок обработки информации. Объектив включает в себя два компонента. Первый компонент имеет положительную оптическую силу и состоит из выпукло-вогнутой положительной линзы и отрицательной выпукло-вогнутой линзы. Второй компонент имеет отрицательную оптическую силу и состоит из имеющей возможность перемещения под управлением блока позиционирования отрицательной выпукло-вогнутой линзы и положительной выпукло-вогнутой линзы. Расстояния между первым и вторым компонентами dи между линзами второго компонента dудовлетворяют следующим условиям: 0,2f'<d<0,4f'; 0,1f'<d<0,2f', где f' - фокусное расстояние системы. Технический результат заключается в повышении углового разрешения прибора, обеспечении компенсации терморасфокусировки изображения и коррекции неоднородности параметров фоточувствительных элементов приемника излучения. 3 ил., 3 табл.
Оптическая система тепловизионного прибора, состоящая из объектива, содержащего последовательно расположенные вдоль оптической оси первый компонент, первая линза которого выполнена выпукло-вогнутой, и второй компонент, выполненный в виде двух выпукло-вогнутых линз, и приемника излучения с охлаждаемой диафрагмой, выход которого соединен с входом блока обработки информации, отличающаяся тем, что введены датчик температуры и блок позиционирования, подключенные к входу и выходу блока обработки информации соответственно, в первом компоненте объектива первая линза выполнена положительной и дополнительно введена отрицательная выпукло-вогнутая линза, при этом оптическая сила первого компонента в целом положительная, во втором компоненте первая линза выполнена отрицательной и установлена с возможностью перемещения вдоль оптической оси под управлением блока позиционирования, вторая линза выполнена положительной, при этом оптическая сила второго компонента в целом отрицательная, а расстояния между первым и вторым компонентами d1 и между линзами второго компонента d2 удовлетворяют следующим условиям: 0,2f'<d1<0,4f'; 0,1f'<d2<0,2f', где f' - фокусное расстояние системы.
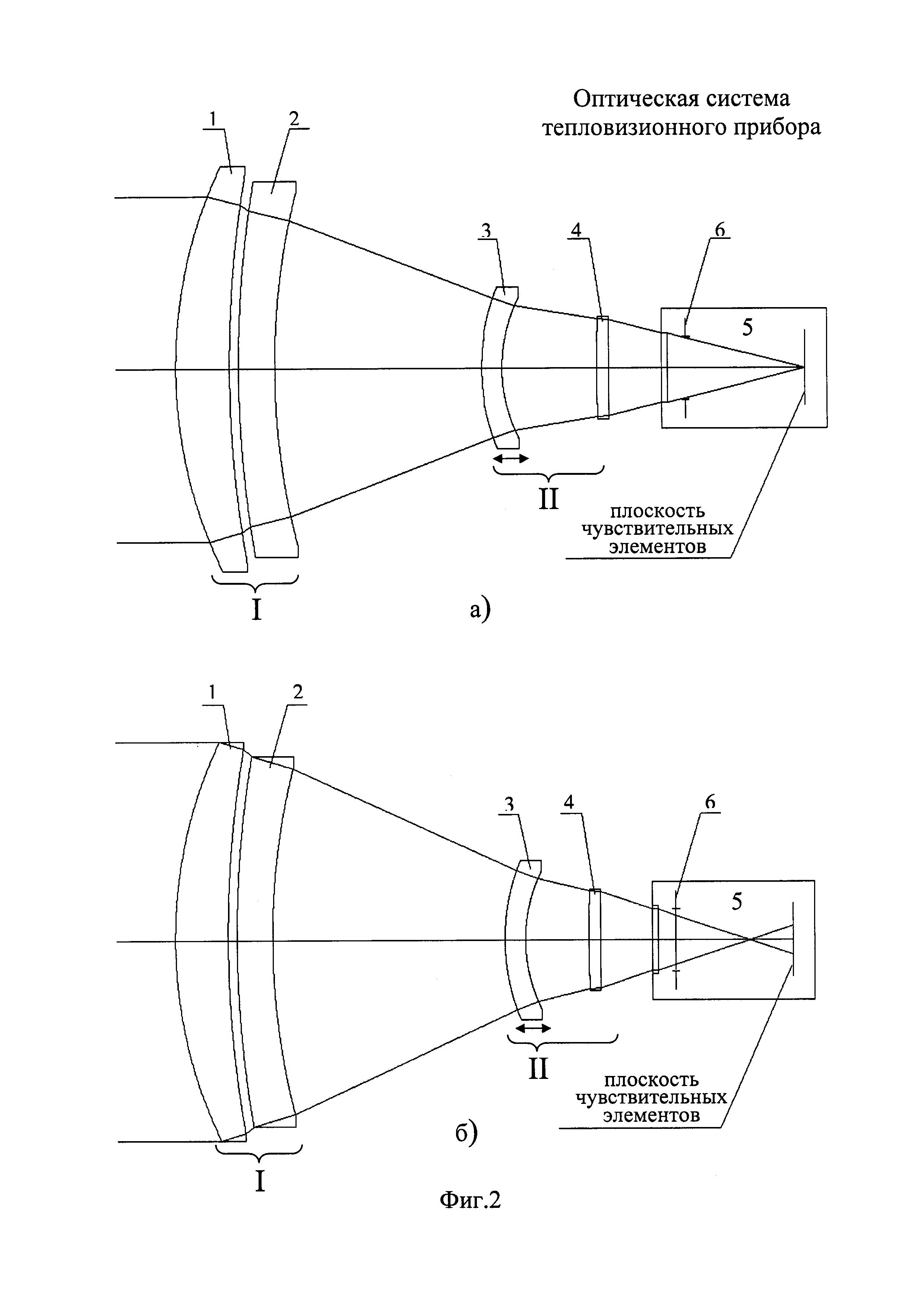
Изобретение относится к инфракрасным оптическим системам и может быть использовано при создании тепловизионных приборов с охлаждаемыми матричными приемниками излучения. Известна оптическая система для тепловизионных приборов (см. патент RU 2449328 А1, МПК7 G02B 13/14, 23/12, публ. 27.04.2012 г.), содержащая входной и проекционный объективы, между которыми формируется промежуточное изображение, и матричный приемник излучения с охлаждаемой диафрагмой. Система имеет следующие характеристики: спектральный диапазон работы 3…5 мкм, фокусное расстояние 60 мм, длина от первой линзы до плоскости изображения 150 мм. Система содержит расфокусирующий элемент, установленный с возможностью ввода-вывода его в оптический тракт. С помощью этого элемента осуществляется необходимая при работе инфракрасных систем коррекция неоднородности параметров фоточувствительных элементов приемника излучения (калибровка). Недостатками являются небольшое фокусное расстояние и большая длина оптической системы. Также известно оптическое устройство формирования изображения с ИК-калибровкой (см. патент FR 2928462 А1, МПК7 G02B 13/14, 15/16, H04N 5/235 публ. 11.09.2009 г.), содержащее входной объектив, проекционный объектив, приемник излучения с охлаждаемой диафрагмой, блок обработки информации, блок позиционирования и блок калибровки. Фокусное расстояние системы изменяемое, причем максимальное фокусное расстояние f'max=135 мм, минимальное - f'min=25 мм. Устройство работает в спектральном диапазоне 3…5 мкм, формат матрицы приемника излучения 384×288 элементов с шагом 15 мкм. Длина оптической системы устройства от первой линзы до плоскости изображения не менее 170 мм. В описанном устройстве предусмотрена калибровка, которая осуществляется перемещением двух линз, устанавливаемых в положении, обеспечивающем полную расфокусировку изображения от бесконечно удаленного объекта. Недостатками описанного устройства являются большая длина оптической системы, небольшое линейное поле зрения, а также осуществление калибровки в результате перемещения двух оптических элементов. Наиболее близкой по технической сущности к заявляемой системе, выбранной в качестве прототипа, является оптическая система для инфракрасной камеры (см. патент US 5909307 А, МПК7 G02B 13/14, публ. 01.06.1999 г.), содержащая объектив и приемник излучения с охлаждаемой диафрагмой. Объектив работает в спектральном диапазоне 3…5 мкм и состоит из двух компонентов, при этом первый компонент выполнен в виде отрицательной выпукло-вогнутой линзы, второй компонент в целом положительный и содержит первую положительную выпукло-вогнутую, вторую отрицательную выпукло-вогнутую и третью двояковыпуклую линзы; вблизи первой линзы второго компонента расположена апертурная диафрагма. Фокусное расстояние объектива f'=22,1 мм, длина L от первой поверхности первого компонента до плоскости изображения 80 мм. Для оптической силы объектива ϕ, оптических сил первого ϕ1 и второго ϕ2 компонентов, расстояния между ними d и длины второго компонента d2 выполнены соотношения: 1) 0,5ϕ<-ϕ1<0,7ϕ; 2) 0,55ϕ<ϕ2<0,87ϕ; 3) 1,55/ϕ<d<1,98/ϕ; 4) d2<2,1/ϕ. К недостаткам описанной системы можно отнести следующее. При работе со стандартным приемником излучения, имеющим формат матрицы 640×512 с шагом элементов 15 мкм, элементарное поле зрения этой оптической системы составляет γ=15/f'=0,68 мрад, что не обеспечивает достаточного углового разрешения тепловизионного прибора. В описанной системе компенсация терморасфокусировки изображения осуществляется, предположительно, перемещением всего объектива, поскольку он имеет небольшие габаритные размеры, и при возрастании диаметров линз и длины (в случае увеличения фокусного расстояния системы) становится неприемлемой. Кроме того, в этой системе отсутствует возможность коррекции неоднородности параметров фоточувствительных элементов приемника излучения. Задачей, на решение которой направлено изобретение, является повышение углового разрешения тепловизионного прибора при обеспечении компенсации терморасфокусировки изображения и коррекции неоднородности параметров фоточувствительных элементов приемника излучения перемещением одного из элементов системы. Поставленная задача решается за счет того, что в оптической системе тепловизионного прибора, состоящей из объектива, содержащего последовательно расположенные вдоль оптической оси первый компонент, первая линза которого выполнена выпукло-вогнутой, и второй компонент, выполненный в виде двух выпукло-вогнутых линз, и приемника излучения с охлаждаемой диафрагмой, выход которого соединен с входом блока обработки информации, введены датчик температуры и блок позиционирования, подключенные к входу и выходу блока обработки информации соответственно, в первом компоненте объектива первая линза выполнена положительной и дополнительно введена отрицательная выпукло-вогнутая линза, при этом оптическая сила первого компонента в целом положительная, во втором компоненте первая линза выполнена отрицательной и установлена с возможностью перемещения вдоль оптической оси под управлением блока позиционирования, вторая линза выполнена положительной, при этом оптическая сила второго компонента в целом отрицательная, а расстояния между первым и вторым компонентами d1 и между линзами второго компонента d2 удовлетворяют следующим условиям: 0,2f'<d1<0,4f'; 0,1f'<d2<0,2f', где f' - фокусное расстояние системы. На фиг. 1 представлена оптическая схема тепловизионного прибора. На фиг. 2 представлен ход лучей в системе с расположением элементов, соответствующим рабочему режиму (а) и режиму калибровки (б). На фиг. 3 представлены графики функции концентрации энергии (ФКЭ) системы для температур 20, 60 и минус 50°С. Оптическая система тепловизионного прибора состоит из объектива, содержащего последовательно расположенные вдоль оптической оси первый компонент I, включающий первую положительную 1 и вторую отрицательную 2 выпукло-вогнутые линзы, и второй компонент II, включающий подвижную первую отрицательную 3 и вторую положительную 4 выпукло-вогнутые линзы, при этом расстояния между первым и вторым компонентами d1 и между линзами второго компонента d2 удовлетворяют следующим условиям: 0,2f'<d1<0,4f'; 0,1f'<d2<0,2f' (f' - фокусное расстояние системы), приемника излучения 5 с охлаждаемой диафрагмой 6, выход которого соединен с входом блока обработки информации 7, датчика температуры 8, подключенного к входу блока обработки информации 7, и блока позиционирования 9, управляющего первой линзой 3 второго компонента II и подключенного к выходу блока обработки информации 7. Дополнительно показано устройство отображения информации (монитор) 10. Блок обработки информации 7 может быть выполнен на основе микропроцессоров типа цифрового сигнального процессора TMS320 DM642 или подобного и микросхем памяти, обеспечивающих осуществление связей с блоком позиционирования 9 и датчиком температуры 8, электронную обработку сигнала и вывод его на экран монитора 10. Блок позиционирования 9 может быть выполнен в виде шагового двигателя, осуществляющего перемещение линзы 3 вдоль оптической оси. В таблице 1 приведены технические характеристики системы. Конструктивные параметры конкретного примера исполнения объектива приведены в таблице 2. В таблице 3 приведены значения перемещений линзы 3 в зависимости от температуры окружающей среды. Как следует из таблицы 1, элементарное поле зрения этой оптической системы составляет γ=15/f'=0,13 мрад, что в 5 раз меньше, чем в прототипе, при этом ее длина увеличена незначительно. Конструктивное исполнение, при котором линза 3 установлена с возможностью перемещения вдоль оптической оси, позволяет осуществлять компенсацию расфокусировки изображения при изменении температуры (см. фиг. 3) и частичную расфокусировку изображения для выполнения коррекции неоднородности чувствительных элементов приемника излучения (см. фиг. 2б). Оптическая система тепловизионного прибора работает следующим образом. Инфракрасное излучение от бесконечно удаленного объекта попадает в объектив, где проходит через линзы 1-4 первого I и второго II компонентов и фокусируется в плоскости чувствительных элементов приемника излучения 5, выходные сигналы с которого поступают в блок обработки информации 7, причем выходной зрачок системы совмещен с охлаждаемой диафрагмой 6. В рабочем режиме показания датчика температуры поступают в блок обработки информации 7, сигнал с которого поступает в блок позиционирования 9. В соответствии с этим сигналом осуществляется перемещение линзы 3 вдоль оптической оси в заданное положение (см. таблицу 2) и устраняется расфокусировка изображения при изменении температуры. В режиме калибровки сигнал от блока обработки информации 7 поступает в блок позиционирования 9, и линза 3 перемещается вдоль оптической оси в положение, при котором осуществляется частичная расфокусировка системы. Затем выходные сигналы с приемника излучения 5 поступают в блок обработки информации 7, где вычисляются корректирующие поправки для каждого элемента приемника излучения 5, которые учитываются при формировании изображения в рабочем режиме, после чего скорректированное изображение выводится на экран монитора 10. Таким образом, выполнение оптической системы тепловизионного прибора в соответствии с предлагаемым техническим решением позволяет повысить его угловое разрешение при обеспечении компенсации терморасфокусировки изображения и коррекции неоднородности параметров фоточувствительных элементов приемника излучения перемещением одного из элементов системы, что улучшает эксплуатационные характеристики прибора в целом.

