патент
№ RU 2581443
МПК H01L21/76

СТРУКТУРА ПОЛУПРОВОДНИК-НА-ИЗОЛЯТОРЕ И СПОСОБ ЕЕ ПОЛУЧЕНИЯ

Авторы:
Александров Петр Анатольевич
Номер заявки
2015111283/28
Дата подачи заявки
30.03.2015
Опубликовано
20.04.2016
Страна
RU
Как управлять
интеллектуальной собственностью
Чертежи 
1
Реферат

Изобретение относится к твердотельной электронике. Изобретение заключается в том, что на изоляторе формируют поверхностный слой полупроводника. В изоляторе на расстоянии от поверхностного слоя полупроводника, меньшем длины диффузии носителей заряда, возникающих при облучении внешним ионизирующим излучением, формируют путем имплантации ионов легкого газа и последующего высокотемпературного отжига дефектный термостабильный слой с высокой рекомбинационной способностью указанных носителей заряда и создают в этом дефектном слое термостабильные микропоры. В качестве подложки может использоваться изолятор, в качестве изолятора - сапфир, в качестве полупроводника - кремний, а в качестве легкого газа - гелий. Изобретение обеспечивает повышение радиационной стойкости, улучшение электрических свойств этих структур и упрощение способа их изготовления. 2 н. и 4 з.п. ф-лы, 1 ил.

Формула изобретения

1. Структура полупроводник-на-изоляторе, содержащая изолятор, расположенный на нем поверхностный слой полупроводника и сформированный в изоляторе вблизи от поверхностного слоя полупроводника дефектный термостабильный слой с высокой рекомбинационной способностью носителей заряда, возникающих при облучении внешним ионизирующим излучением, отличающаяся тем, что указанный дефектный слой сформирован имплантацией ионов легкого газа в изолятор и последующим высокотемпературным отжигом, содержит термостабильные микропоры и расположен на расстоянии от поверхностного слоя полупроводника, меньшем длины диффузии носителей заряда, возникающих при указанном облучении.

2. Структура по п. 1, отличающаяся тем, что в качестве подложки использован изолятор.

3. Структура по п. 1, отличающаяся тем, что в качестве изолятора использован сапфир, а в качестве полупроводника использован кремний.

4. Способ изготовления структуры полупроводник-на-изоляторе, при котором в изоляторе вблизи от поверхностного слоя полупроводника формируют путем имплантации и высокотемпературного отжига дефектный термостабильный слой с высокой рекомбинационной способностью носителей заряда, возникающих при облучении внешним ионизирующим излучением, отличающийся тем, что перед созданием этого дефектного слоя формируют поверхностный слой полупроводника, а затем имплантируют ионы легкого газа в изолятор со стороны поверхностного слоя полупроводника и в результате последующего высокотемпературного отжига формируют содержащий микропоры дефектный термостабильный слой на расстоянии от поверхностного слоя полупроводника, меньшем длины диффузии носителей заряда, возникающих при указанном облучении.

5. Способ по п. 4, отличающийся тем, что при имплантации в качестве ионов легкого газа используют ионы гелия.

6. Способ по п. 4, отличающийся тем, что в качестве полупроводника используют кремний, а в качестве изолятора используют сапфир.

Описание

[1]

Область техники, к которой относится изобретение

[2]

Изобретение относится к области полупроводниковой технологии, и, более точно, к области создания радиационно стойких структур полупроводник-на-изоляторе, которые могут быть использованы для получения полупроводниковых приборов при производстве интегральных схем.

[3]

Уровень техники

[4]

В известных структурах полупроводник-на-изоляторе тонкий поверхностный слой полупроводника расположен на изоляторе, т.е. диэлектрике. Этот поверхностный слой иначе называют также активным, рабочим, приборным.

[5]

Структуры полупроводник-на-изоляторе, например структуры кремний-на-сапфире, являются более радиационно стойкими по сравнению с объемным полупроводником. Однако для получения полупроводниковых приборов, гораздо более стойких к воздействию внешнего ионизирующего излучения, необходимо создание в изоляторе центров захвата/рекомбинации зарядов.

[6]

Так, например, известны структура полупроводник-на-изоляторе и способ ее изготовления, в которых поверхностный слой полупроводника выполнен из кремния, в качестве изолятора использована двуокись кремния, а изолятор расположен на кремниевой подложке (см. патент США на изобретение US 5795813 от 1996 г., U.S. Class 438/423, "Radiation-hardening of SOI by ion implantation into the buried oxide layer", авторы Hughes и др, (USA), патентовладелец The United States of America as represented by the Secretary of the Navy). В способе по этому патенту проводят имплантацию в слой изолятора примесей акцепторного типа, таких как кремний, алюминий, мышьяк, германий, бор или азот для создания центров захвата/рекомбинации электронов, являющихся носителями заряда и возникающих при облучении внешним ионизирующим облучением, вблизи поверхностного слоя кремния. И затем проводят отжиг проимплантированной структуры в температурном диапазоне 800-1400°C.

[7]

Способ по патенту US 5795813 имеет следующие недостатки:

[8]

- имплантация таких относительно тяжелых ионов, как кремний в слой изолятора через поверхностный слой кремния приводит к накоплению в этом поверхностном слое нежелательных радиационных дефектов;

[9]

- хотя в способе предусмотрен высокотемпературный отжиг для улучшения качества поверхностного слоя кремния, все равно не обеспечивается достаточно высокое его качество из-за существующих ограничений по дозе имплантируемой примеси (так, для ионов кремния верхний дозовый предел составляет 5·1014 Si+/см2);

[10]

- в-третьих, поскольку количество центров рекомбинации/захвата в двуокиси кремния напрямую зависит от имплантируемой дозы, то ограничения, налагаемые на дозу имплантации, уменьшают количество возможных центров захвата/рекомбинации;

[11]

- способ не предусматривает имплантацию примесей выше предела растворимости, сегрегацию и синтез преципитатов в двуокиси кремния, что также уменьшает эффективность рекомбинации зарядов;

[12]

- способ предназначен только для структуры, в которой в качестве изолятора используется двуокись кремния.

[13]

Вследствие указанных недостатков способа полученная структура полупроводник-на-изоляторе не обеспечивает высокую радиационную стойкость.

[14]

Известны структура полупроводник-на-изоляторе и другой способ ее изготовления, в которых в поверхностный слой полупроводника выполнен из кремния, в качестве изолятора использована двуокись кремния, а изолятор расположен на кремниевой подложке (см. патент США на изобретение US 5360752 от 1993 г., U.S. Class 438/421. "Manufacturing method for a semiconductor isolation region", авторы Park и др. (Корея, Сеул), патентообладатель Samsung Electronics Co., Корея, Сеул). В способе по этому патенту проводят имплантацию в слой изолятора тяжелых ионов примесей, в качестве которых используют германий или мышьяк, для создания центров захвата/рекомбинации электронов - носителей заряда, возникающих при облучении внешним ионизирующим излучением. И затем проводят отжиг проимплантированной структуры при температуре до 850°C.

[15]

Способ по патенту US 5360752 имеет следующие недостатки:

[16]

- имплантация тяжелых ионов ведет к накоплению в изоляторе радиационных дефектов, стабильных при высокой температуре, что ухудшает изоляционные свойства двуокиси кремния;

[17]

- формирование области изолятора, насыщенной примесными атомами германия и мышьяка, также ухудшает изоляционные свойства изолятора;

[18]

- используемый режим отжига при температуре до 850°C ухудшает качество структуры кремний-на-изоляторе по сравнению с использующимися в настоящее время режимами отжига при температуре, равной или превышающей 1000°C;

[19]

- способ применим только при использовании в нем стыковки и сращивания промежуточных структур для получения структуры кремний-на-изоляторе.

[20]

Общие недостатки аналогов по патентам США US 5795813 и US 5360752 состоят в следующем:

[21]

- недостаточная радиационная стойкость получаемых структур полупроводник-на-изоляторе вследствие недостаточного количества центров рекомбинации носителей заряда, возникающих при облучении внешним ионизирующим излучением;

[22]

- накопление в изоляторе радиационных дефектов, обусловленных использованием относительно тяжелых ионов при имплантации.

[23]

Прототипами предлагаемой структуры полупроводник-на-изоляторе и способа ее изготовления является иные названные структура и способ, в которых поверхностный слой полупроводника выполнен из кремния, в качестве изолятора использована двуокись кремния, а изолятор расположен на кремниевой подложке (см. патент РФ №RU 2498450 от 2012 г., класс МПК H01L 21/76, «Способ изготовления структуры полупроводник-на-изоляторе, автор Тысченко И.Е., патентообладатель Институт физики полупроводников им. А.В. Ржанова СО РАН, Новосибирск).

[24]

Структура-прототип содержит изолятор, расположенный на нем поверхностный слой полупроводника и сформированный в изоляторе вблизи от поверхностного слоя полупроводника, а именно на расстоянии от этого слоя, меньшем длины диффузии носителей заряда, возникающих при облучении внешним ионизирующим излучением, дефектный термостабильный слой с высокой рекомбинационной способностью указанных носителей заряда. Этот дефектный слой содержит преципитаты (т.е. микровключения) инородного полупроводникового материала, обладающие иными химическими и физическими свойствами, чем материал, используемый в изоляторе. В патенте №RU 2498450 эти преципитаты являются нанокристаллами кремния или германия.

[25]

Наличие этих преципитатов снижает диэлектрические свойства изолятора, что приводит впоследствии к ухудшению свойств полупроводниковых приборов, сделанных в поверхностном слое структуры-прототипа. К этим свойствам относятся значения токов утечки и напряжения пробоя в полупроводниковых приборах.

[26]

Кроме того, недостаток структуры-прототипа состоит в том, что в ней изолятор содержит радиационные нарушения, не устраняемые при последующих температурных обработках, что приводит к ухудшению диэлектрических свойств изолятора. Этот недостаток обусловлен тем, что в способе-прототипе, который будет рассмотрен ниже, производят имплантацию в изолятор тяжелых ионов.

[27]

Способ-прототип характеризуется тем, что в изоляторе вблизи от поверхностного слоя полупроводника, а именно на расстоянии от этого слоя, меньшем длины диффузии носителей заряда, возникающей при облучении внешним ионизирующим излучением, формируют путем имплантации и высокотемпературного отжига дефектный термостабильный слой с высокой рекомбинационной способностью указанных носителей заряда. В этом дефектном слое образуют указанные выше преципитаты (т.е. микровключения) инородного полупроводникового материала.

[28]

Более подробно способ-прототип может быть представлен следующей последовательностью выполняемых шагов:

[29]

шаг 1: на поверхности кремниевой подложки, которую будем условно считать первой (или основной), формируют изолятор в виде слоя двуокиси кремния;

[30]

шаг 2: производят имплантацию в указанный изолятор тяжелых ионов дозами, достаточными для формирования в нем нанокристаллов кремния или германия, являющихся преципитатами;

[31]

шаг 3: производят низкотемпературный отжиг полученной в шаге 2 структуры, состоящей из изолятора на кремниевой подложке (в патенте-прототипе эта структура названа «подложкой с аморфным изолирующим слоем»);

[32]

шаг 4: внутри другой кремниевой подложки, которую будем условно считать второй (или дополнительной), путем имплантации ионов водорода формируют тонкий слой разупрочненной зоны; полученную структуру, содержащую кремниевую подложку с указанной зоной в патенте-прототипе называют «подложкой-донором»;

[33]

шаг 5: производят очистку и гидрофилизацию поверхности изолятора «подложки с аморфным изолирующим слоем» и поверхности кремния в подложке-доноре, ближайшей к указанной разупрочненной зоне;

[34]

шаг 6: стыкуют меду собой «подложку с аморфным изолирующим слоем» и подложку-донор, полученные в шаге 5, таким образом, что поверхность изолятора «подложки с аморфным изолирующем слоем» примыкает к поверхности кремния подложки-донора, ближайшей к указанной разупрочненной зоне;

[35]

шаг 7: стыкованные в шаге 6 структуры сращивают путем нагрева с одновременным расслоением подложки-донора; это расслоение заключается в том, что по плоскости указанной разупрочненной зоны идет разделение («скалывание») подложки-донора, при котором «толстая» (верхняя) часть кремния подложки-донора удаляется, а тонкая (нижняя часть) часть кремния, расположенная под указанной зоной, остается; эта тонкая часть кремния и является поверхностным слоем полупроводника (т.е. слоем кремния) в структуре полупроводник-на-изоляторе;

[36]

шаг 8: полученную в шаге 7 структуру отжигают (при температуре 800-1000°C), в результате чего в слое изолятора возникает дефектный слой, содержащий преципитаты (кристаллы), о которых говорилось выше.

[37]

Таким образом, в способе-прототипе в шагах 2 и 8 в изоляторе вблизи от поверхностного слоя полупроводника путем имплантации тяжелых ионов и высокотемпературного отжига формируется дефектный термостабильный слой с высокой рекомбинационной способностью носителей заряда, возникающих при облучении внешним ионизирующим облучением.

[38]

Способ-прототип имеет следующие недостатки:

[39]

- образование преципитатов в дефектном слое (как указывалось при описании недостатков структуры-прототипа), приводит впоследствии к ухудшению свойств полупроводниковых приборов, сделанных в поверхностном слое полупроводника в структуре-прототипе;

[40]

- имплантация в изолятор тяжелых ионов приводит к тому, что изолятор содержит радиационные нарушения, не устраняемые при последующих температурных обработках, что обуславливает ухудшение диэлектрических свойств изолятора, включая его дефектный слой;

[41]

- кристаллическое качество поверхностного слоя полупроводника оказывается не достаточно высоким из-за накопления радиационных нарушений, обусловленных использованием тяжелых ионов при имплантации их в изолятор, и, как следствие, оказываются недостаточно высокими электрические свойства полупроводниковых приборов, созданных в этом слое;

[42]

- большая сложность способа-прототипа;

[43]

- пригодность способа-прототипа только для случая, когда в качестве полупроводника использован кремний, а в качестве изолятора - двуокись кремния.

[44]

Раскрытие (сущность) изобретения

[45]

Задачей предлагаемого изобретения является разработка структуры полупроводник-на-изоляторе и способа ее изготовления, которые по сравнению с аналогами и прототипом обеспечили бы технический результат в виде одновременного достижения следующих целей:

[46]

- улучшение кристаллического качества поверхностного слоя полупроводника, и, как следствие, улучшение электрических свойств полупроводниковых приборов, создаваемых в этом слое;

[47]

- увеличение выхода годных полупроводниковых приборов при изготовлении их в структуре полупроводник-на изоляторе;

[48]

- упрощение способа получения структуры полупроводник-на-изоляторе.

[49]

обеспечение возможности применения способа получения структуры полупроводник-на-изоляторе при использовании различных сочетаний материалов полупроводника и изолятора;

[50]

- повышение радиационной стойкости структуры полупроводник-на изоляторе.

[51]

Этот технический эффект достигается, во-первых, благодаря тому, что в структуре полупроводник-на-изоляторе, содержащей изолятор, поверхностный слой полупроводника, расположенный на изоляторе, и сформированный в изоляторе вблизи от поверхностного слоя полупроводника дефектный термостабильный слой с высокой рекомбинационной способностью носителей заряда, возникающих при облучении внешним ионизирующим излучением, - в этой структуре указанный дефектный слой сформирован имплантацией ионов легкого газа в изолятор и последующим высокотемпературным отжигом, содержит термостабильные микропоры и расположен на расстоянии от поверхностного слоя полупроводника, меньшем длины диффузии носителей заряда, возникающих при указанном облучении.

[52]

Создание этих термостабильных микропор в дефектном слое позволяет увеличить количество центров рекомбинации носителей зарядов, возникающих при облучении внешним ионизирующим излучением, и вследствие этого повысить радиационную стойкость предлагаемой структуры по сравнению со структурами, не содержащими указанного дефектного слоя. При этом диэлектрические свойства изолятора не ухудшаются вследствие того, что дефектный слой, содержащий микропоры, обладает значительным сопротивлением. Кроме того, создание дефектного слоя, содержащего микропоры, на расстоянии от поверхностного слоя полупроводника, меньшем длины диффузии указанных носителей заряда, приводит к значительному улучшению кристаллического качества поверхностного слоя полупроводника.

[53]

Получению этого технического результата способствует то, что в структуре полупроводник-на-изоляторе в качестве подложки использован изолятор.

[54]

Это повышает высокочастотность полупроводниковых приборов, сделанных в предложенной структуре полупроводник-на-изоляторе.

[55]

Получению указанного технического результата способствует также то, что в структуре полупроводник-на-изоляторе в качестве изолятора использован сапфир, а в качестве полупроводника - кремний.

[56]

Это упрощает структуру полупроводник-на-изоляторе и способ ее изготовления, а также повышает высокочастотность полупроводниковых приборов, сделанных в предложенной структуре полупроводник-на-изоляторе.

[57]

Указанный технический результат достигается также благодаря тому, что в способе изготовления структуры полупроводник-на-изоляторе, при котором в изоляторе вблизи от поверхностного слоя полупроводника формируют путем имплантации и высокотемпературного отжига дефектный термостабильный слой с высокой рекомбинационной способностью носителей заряда, возникающих при облучении внешним ионизирующим излучением, - в этом способе перед созданием этого дефектного слоя формируют поверхностный слой полупроводника, а затем имплантируют ионы легкого газа в изолятор со стороны поверхностного слоя полупроводника и в результате последующего высокотемпературного отжига формируют содержащий микропоры дефектный термостабильный слой на расстоянии от поверхностного слоя полупроводника, меньшем длины диффузии носителей заряда, возникающих при указанном облучении.

[58]

Создание этих термостабильных микропор по сравнению с прототипом улучшает диэлектрические свойства изолятора и приводит к значительному улучшению кристаллического качества поверхностного слоя полупроводника. Кроме того, создание этих термостабильных микропор в дефектном слое позволяет повысить радиационную стойкость этой структуры по сравнению со структурами, не содержащими дефектного термостабильного слоя, и упрощает способ создания этого дефектного слоя по сравнению с прототипом.

[59]

Получению этого технического результата способствует то, что при имплантации в качестве ионов легкого газа используют ионы гелия. Это повышает термостабильность предлагаемой структуры при температуре около 1000°C (для сравнения - при использовании ионов водорода микропоры исчезают при этих температурах).

[60]

Получению этого технического результата способствует то, что в качестве изолятора используют сапфир, а в качестве полупроводника - кремний. Это упрощает структуру полупроводник-на-изоляторе и способ ее изготовления, а также повышает высокочастотность полупроводниковых приборов, сделанных в предложенной структуре.

[61]

Краткое описание чертежей

[62]

На фигуре показана предлагаемая структура полупроводник-на-изоляторе.

[63]

Осуществление изобретения

[64]

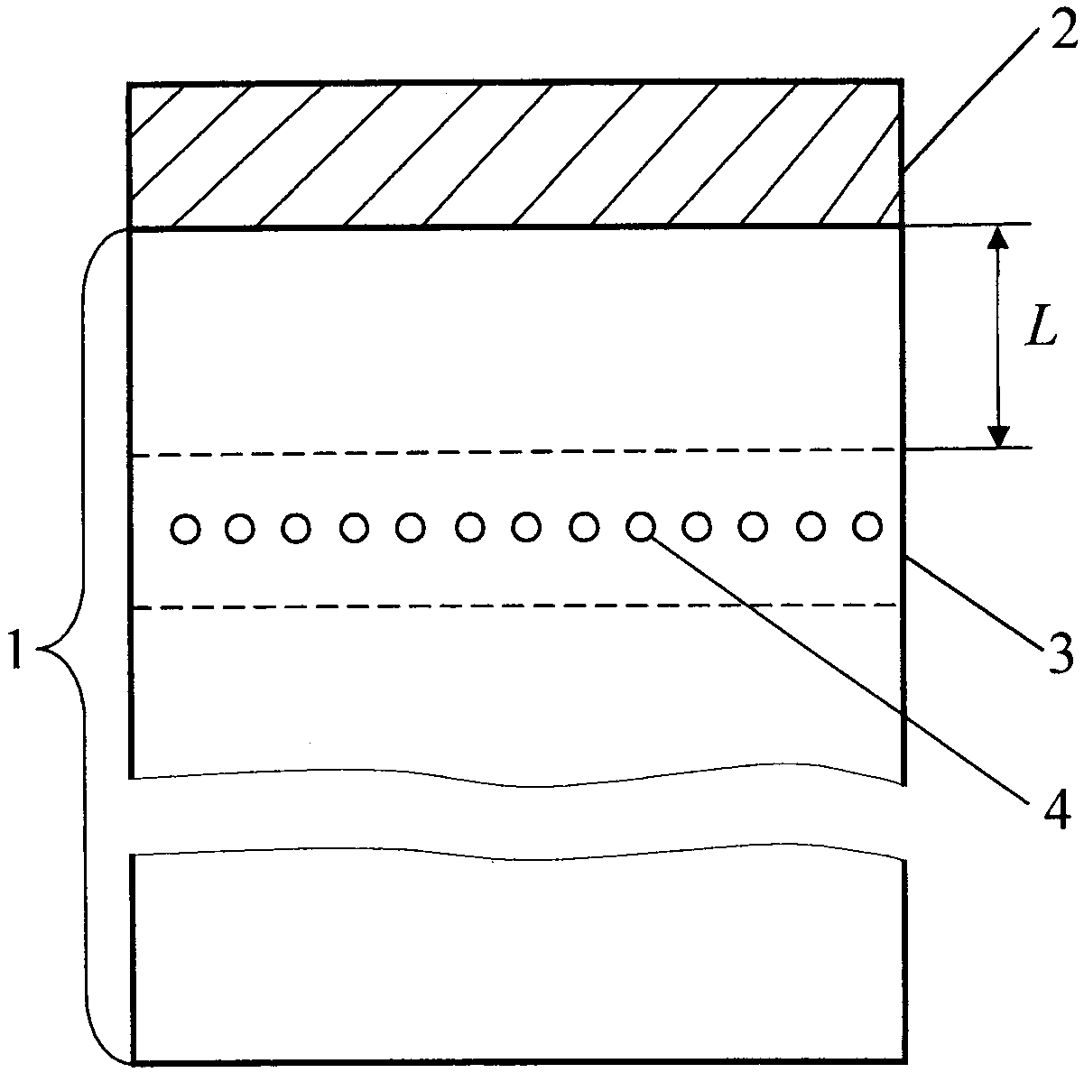
Предлагаемая структура полупроводник-на-изоляторе (см. чертеж) содержит изолятор 1, расположенный на нем поверхностный слой 2 полупроводника и сформированный в изоляторе 1 дефектный термостабильный слой 3, обладающий высокой рекомбинационной способностью носителей заряда, возникающих при облучении внешним ионизирующим облучением. Дефектный слой 3 содержит микропоры 4 и сформирован в изоляторе 1 на расстоянии L от поверхностного слоя 2 полупроводника, меньшем, чем длина диффузии носителей заряда, возникающих при указанном облучении. Изолятор 1 может быть использован в качестве подложки. В качестве изолятора 1 может быть использован сапфир, а качестве полупроводника поверхностного слоя 2 может быть использован кремний.

[65]

Предлагаемый способ изготовления структуры полупроводник-на-изоляторе представлен ниже в виде последовательности шагов:

[66]

шаг 1: поверхностный слой 2 полупроводника формируют на поверхности изолятора 1;

[67]

шаг 2: путем имплантации ионов газа в изолятор 1 со стороны поверхностного слоя 2 полупроводника формируют в изоляторе 1 обогащенный этими ионами слой; имплантацию могут проводить ионами легкого газа, в частности - гелия;

[68]

шаг 3: проводят температурный отжиг структуры, полученной в шаге 2 (например, при температурах 800-1100°C); в результате этого в изоляторе 1, а именно в обогащенном ионами газа слое, созданном в шаге 2, формируется дефектный слой 3 на расстоянии от поверхностного слоя 2 полупроводника, меньшем, чем длина диффузии носителей заряда, возникающих при облучении внешним ионизирующем облучением.

[69]

После выполнения этих трех шагов предлагаемая структура полупроводник-на-изоляторе оказывается изготовленной.

[70]

Рассмотрим пример реализации способа изготовления предлагаемой структуры полупроводник-на-изоляторе для случая, когда в качестве изолятора 1 использован сапфир, а в качестве полупроводника поверхностного слоя 2 использован кремний.

[71]

Тогда в шаге 1 на поверхности сапфира, который служит изолятором 1, формируют поверхностный слой 2 кремния любым известным методом, например эпитаксиальным методом или методом типа Smart-Cut, предложенным в патенте RU 2538352 от 2013 г. («Способ изготовления структуры кремний-на-сапфире»). Шаг 1 может быть существенно отделен по времени от шага 2, если для шага 2 в качестве исходной структуры взять структуру кремний-на сапфире с толщиной поверхностного кремниевого слоя 2, равной 3000 Å. В этом случае можно считать, что шаг 1 сделан задолго до шага 2.

[72]

В шаге 2 имплантацию в изолятор 1, выполненный из сапфира, проводят ионами гелия энергией 75 кэВ при температуре менее 100°C.

[73]

В шаге 3 производят отжиг структуры, полученной в шаге 2, при температуре 1000°C. При дозе имплантации 3,5·1016 Не+/см2 толщина дефектного слоя 3 составляет около 750 Å. Дефектный слой 3, содержащий микропоры 4, находится на расстоянии L~1200 Å.

[74]

Размер дефектного слоя 3 и содержащихся в нем микропор определяется энергией имплантации, дозой имплантации и температурой отжига.

Как компенсировать расходы
на инновационную разработку
Похожие патенты