патент
№ RU 2624936
МПК F24J2/34
Номер заявки
2016122434
Дата подачи заявки
06.06.2016
Опубликовано
11.07.2017
Страна
RU
Как управлять
интеллектуальной собственностью
Чертежи 
1
Реферат

Изобретение относится к гелиотехнике и предназначено для нагрева воды за счет преобразования солнечной энергии в тепловую энергию и может быть использовано в биотехнологической, пищевой, сельскохозяйственной и других отраслях промышленности, а также в быту. Солнечный водонагреватель содержит вертикально расположенный прозрачный корпус. Внутри корпуса размещена емкость, окрашенная в черный цвет, с подводящим патрубком для воды, образованная поверхностями двух коаксиально расположенных цилиндров, крышкой и днищем. Внутренний полый цилиндр с открытым верхним концом выполнен удлиненным и имеет отверстия, расположенные внутри корпуса под днищем емкости. Внутри емкости расположена многозаходная спиралевидная вставка с образованием раздельных каналов. Смежные каналы снабжены в верхней части вставки переливным патрубком. Каждый канал снабжен патрубком для отвода нагретой воды. Технический эффект: повышение эффективности солнечного водонагревателя за счет сокращения времени нагрева воды до заданной температуры. 2 ил.

Формула изобретения

Солнечный водонагреватель, содержащий вертикально расположенный прозрачный корпус, внутри которого размещена емкость, окрашенная в черный цвет, с подводящим патрубком для воды, образованная поверхностями двух коаксиально расположенных цилиндров, крышкой и днищем, внутренний полый цилиндр с открытым верхним концом выполнен удлиненным и имеет отверстия, расположенные внутри корпуса под днищем емкости, внутри емкости расположена спиралевидная вставка, отличающийся тем, что спиралевидная вставка выполнена многозаходной с образованием раздельных каналов, при этом смежные каналы снабжены в верхней части вставки переливным патрубком и каждый канал снабжен патрубком для отвода нагретой воды.

Описание

[1]

Изобретение относится к гелиотехнике и предназначено для нагрева воды за счет преобразования солнечной энергии в тепловую энергию и может быть использовано в биотехнологической, пищевой, сельскохозяйственной и других отраслях промышленности, а также в быту.

[2]

Известен солнечный водонагреватель, содержащий корпус с застекленной верхней крышкой, внутри которого размещена емкость для воды, окрашенная в черный цвет или с селективной наружной поверхностью, которая имеет патрубки для подвода холодной воды и отвода нагретой. Водонагреватель расположен горизонтально. Солнечные лучи проходят через застекленную верхнею крышку, падают на емкость, которая поглощает тепло лучей солнца, вода нагревается и выводится из емкости по мере необходимости, см. Н.В. Харченко. Монография. «Индивидуальные солнечные установки». М.: «Энергоатомиздат». 1991 г., с. 56-57, фиг. 25а.

[3]

Недостатком известного устройства является длительность нагрева воды, уменьшение длительности нагрева можно решить путем увеличения длины емкости для воды, а следовательно, и размера аппарата, что приводит к увеличению стоимости устройства, к тому же скорость нагрева воды зависит от угла поворота солнца и его высоты над горизонтом.

[4]

Наиболее близким по технической сущности является солнечный водонагреватель, содержащий вертикально расположенный прозрачный корпус, внутри которого размещена емкость, окрашенная в черный цвет, с подводящим и отводящим патрубками для воды, емкость для воды образована поверхностями двух коаксиально расположенных цилиндров, крышкой и днищем, внутри емкости расположена спиралевидная вставка, а внутренний полый цилиндр с открытым верхним концом выполнен удлиненным и имеет отверстия, расположенные внутри корпуса под днищем емкости, см. патент RU №2555611, МПК F24J 2/04 (2006.01), 2014.

[5]

Недостатком известного солнечного водонагревателя является длительность нагрева воды, что обусловлено высокой теплопроводностью воды, например, по сравнению с воздухом, тепло нагретой воды быстро рассеивается по всему спиральному каналу, в результате чего скорость нагрева воды в емкости замедляется.

[6]

Задачей изобретения является повышение эффективности солнечного водонагревателя за счет сокращения времени нагрева воды до заданной температуры.

[7]

Техническая задача решается тем, что в солнечном водонагревателе, содержащем вертикально расположенный прозрачный корпус, внутри которого размещена емкость, окрашенная в черный цвет, с подводящим патрубком для воды, образованная поверхностями двух коаксиально расположенных цилиндров, крышкой и днищем, внутренний полый цилиндр с открытым верхним концом выполнен удлиненным и имеет отверстия, расположенные внутри корпуса под днищем емкости, внутри емкости расположена спиралевидная вставка, согласно изобретению спиралевидная вставка выполнена многозаходной с образованием раздельных каналов, при этом смежные каналы снабжены в верхней части вставки переливным патрубком и каждый канал снабжен патрубком для отвода нагретой воды.

[8]

Решение технической задачи позволяет повысить эффективность солнечного нагревателя за счет сокращения времени нагрева воды до заданной температуры, что приводит к удобству его использования в промышленности и быту.

[9]

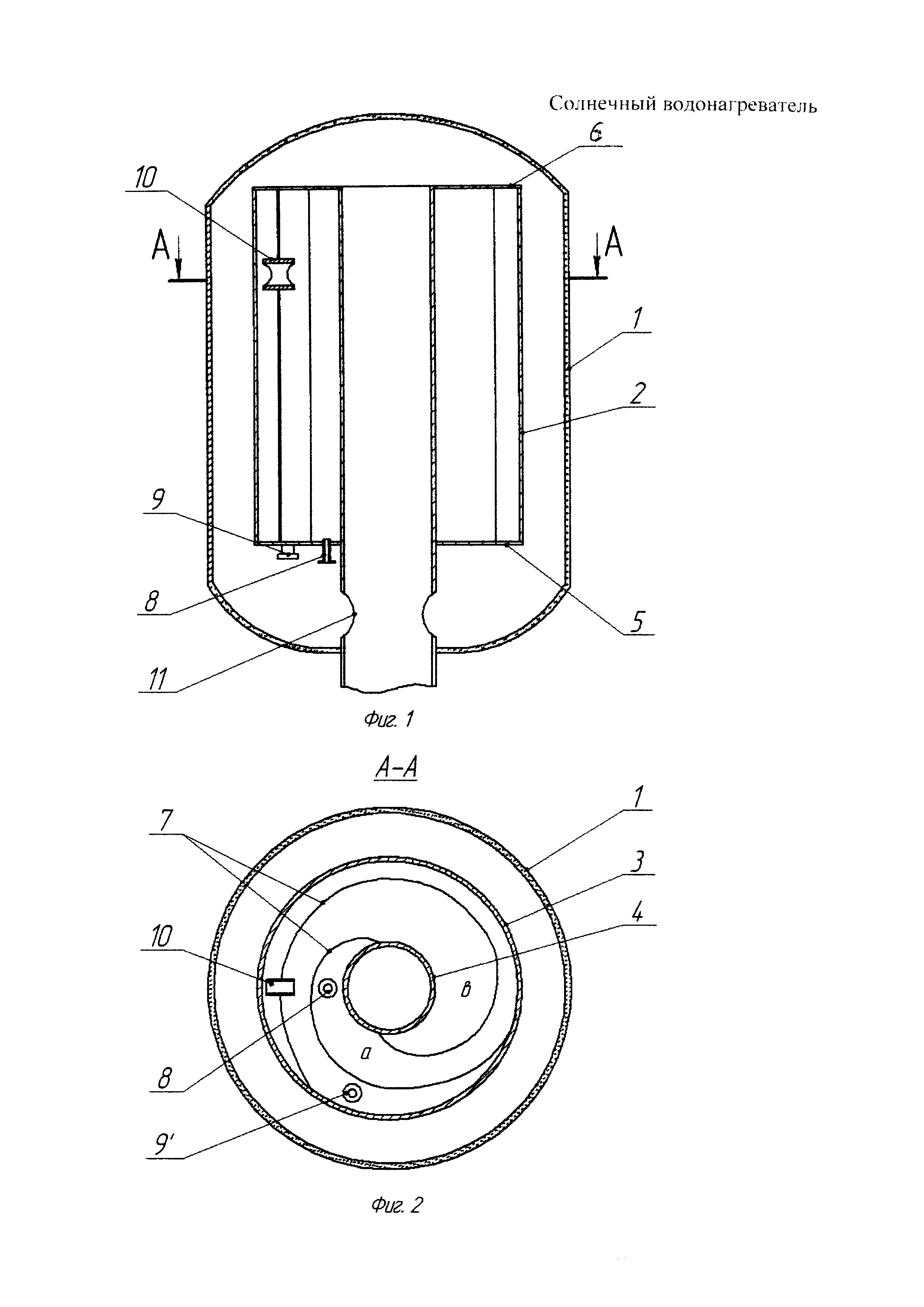
На фиг. 1 изображен общий вид солнечного водонагревателя в разрезе; на фиг. 2 - разрез А-А.

[10]

Солнечный водонагреватель состоит из прозрачного корпуса 1, внутри размещена емкость 2, окрашенная в черный цвет, которая образована поверхностями двух коаксиально расположенных цилиндров 3 и 4, днищем 5 и крышкой 6. Внутри емкости расположена многозаходная спиралевидная вставка 7, например, на фиг. 1 и 2 изображена двухзаходная спиралевидная вставка, которая образует два раздельных канала - а и b. Один из каналов, например канал а, снабжен патрубком 8 для подвода холодной воды, а каждый канал снабжен отдельным отводящим патрубком для воды 9 и 9'. Смежные каналы снабжены переливным патрубком 10, расположенным в верхней части многозаходной спиральной вставки. Внутренний полый цилиндр 4 с открытым верхним концом выполнен удлиненным и имеет отверстия 11, которые расположены внутри корпуса под днищем емкости.

[11]

Солнечный водонагреватель может работать в периодическом и непрерывном режиме следующим образом.

[12]

В начальный момент времени (например, до восхода солнца) канал а через патрубок 8 заполняют холодной водой полностью или частично, при этом остальные каналы воды не содержат.

[13]

Нагрев воды осуществляют за счет тепла солнечных лучей, которые проходят через прозрачный корпус 1 и нагревают внешнюю поверхность емкости 2. Благодаря наличию многозаходной спиралевидной вставки 7, вся поглощенная солнечная энергия затрачивается на нагрев объема воды, находящегося в канале а. Дополнительно нагрев воды осуществляется за счет конвекции горячего воздуха из пространства, образованного прозрачным корпусом 1 и емкостью для воды 2, во внутренний полый цилиндр 4, который имеет в нижней части отверстия 11, расположенные внутри корпуса под днищем 5 емкости 2.

[14]

Если воду в аппарат подают непрерывно и не отводят из канала а, неиспользованная нагретая вода канала а начинает переливаться через переливной патрубок 10, расположенный в верхней части многозаходной спиральной вставки 7 в смежный канал b, откуда она при необходимости расходуется через отводящий патрубок 9'.

[15]

Наличие удлиненного внутреннего цилиндра 4 позволяет устанавливать водонагреватель в любом удобном месте над землей, обеспечивая доступ к водонагревателю максимального количества солнечных лучей.

[16]

Цилиндрическая греющая поверхность водонагревателя не зависит от угла поворота солнца. Это существенно упрощает конструкцию аппарата по сравнению с аппаратами, следящими за поворотом солнца.

[17]

Солнечный водонагреватель прошел испытания и по сравнению с прототипом показал удобство его эксплуатации, заключающееся в увеличении скорости нагрева воды в 2-4 раза.

[18]

Таким образом, совокупность признаков заявленного объекта по сравнению с прототипом обеспечивает повышение эффективности солнечного водонагревателя за счет сокращения времени нагрева, что приводит к удобству его использования в промышленности и быту.

Как компенсировать расходы
на инновационную разработку
Похожие патенты