Использование: в области электроэнергетики. Технический результат - повышение чувствительности и расширение функциональных возможностей способа дальнего резервирования. Согласно способу фиксируют токи и напряжения в начале линии, используют передающую модель линии со входом в месте наблюдения и выходами в ответвлениях, формируют двумерные сигналы, по одному для каждого ответвления, и задают на плоскости каждого двумерного сигнала области срабатывания защиты. Передающую модель выполняют с дополнительным выходом в конце линии и с основными выходами на шинах нагрузок ответвлений, двумерные сигналы формируют в виде комплексных замеров, определяют дополнительный замер для конца линии, а основные замеры - для нагрузок ответвлений, на плоскостях всех замеров задают области блокирования защиты. Блокируют защиту, если все замеры отображаются в соответствующих областях блокирования, в противном случае разрешают срабатывание защиты, если по меньшей мере один основной замер отображается в своей области срабатывания. 3 з.п. ф-лы, 9 ил.
1. Способ релейной защиты дальнего резервирования для линии электропередачи с ответвлениями путем наблюдения токов и напряжений в начале линии, использования передающей модели линии со входом в месте наблюдения и выходами в ответвлениях, формирования двумерных сигналов, по одному для каждого ответвления, и задания на плоскости каждого двумерного сигнала области срабатывания защиты, отличающийся тем, что передающую модель выполняют с дополнительным выходом в конце линии и с основными выходами на шинах нагрузок ответвлений, двумерные сигналы формируют в виде комплексных замеров, определяют дополнительный замер для конца линии, а основные замеры - для нагрузок ответвлений, на плоскостях всех замеров задают области блокирования защиты, блокируют защиту, если все замеры отображаются в соответствующих областях блокирования, в противном случае разрешают срабатывание защиты, если по меньшей мере один основной замер отображается в своей области срабатывания. 2. Способ по п. 1, отличающийся тем, что замеры формируют в виде комплексных сопротивлений на выходах передающей модели. 3. Способ по п. 1, отличающийся тем, что области блокирования определяют на плоскостях всех замеров путем обучения защиты сигналами имитационной модели неповрежденной линии электропередачи, а области срабатывания определяют на плоскостях основных замеров путем обучения защиты сигналами имитационной модели линии электропередачи с повреждением в ответвлении. 4. Способ по п. 1, отличающийся тем, что области блокирования защиты определяют отдельно для каждой группы однотипных режимов неповрежденной линии электропередачи.
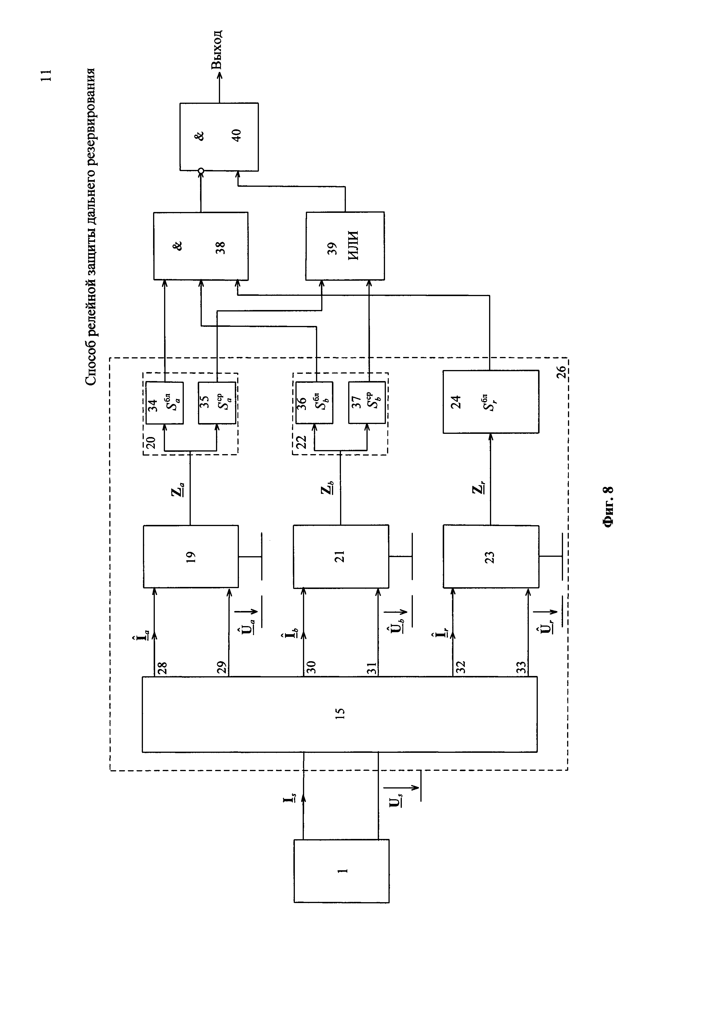
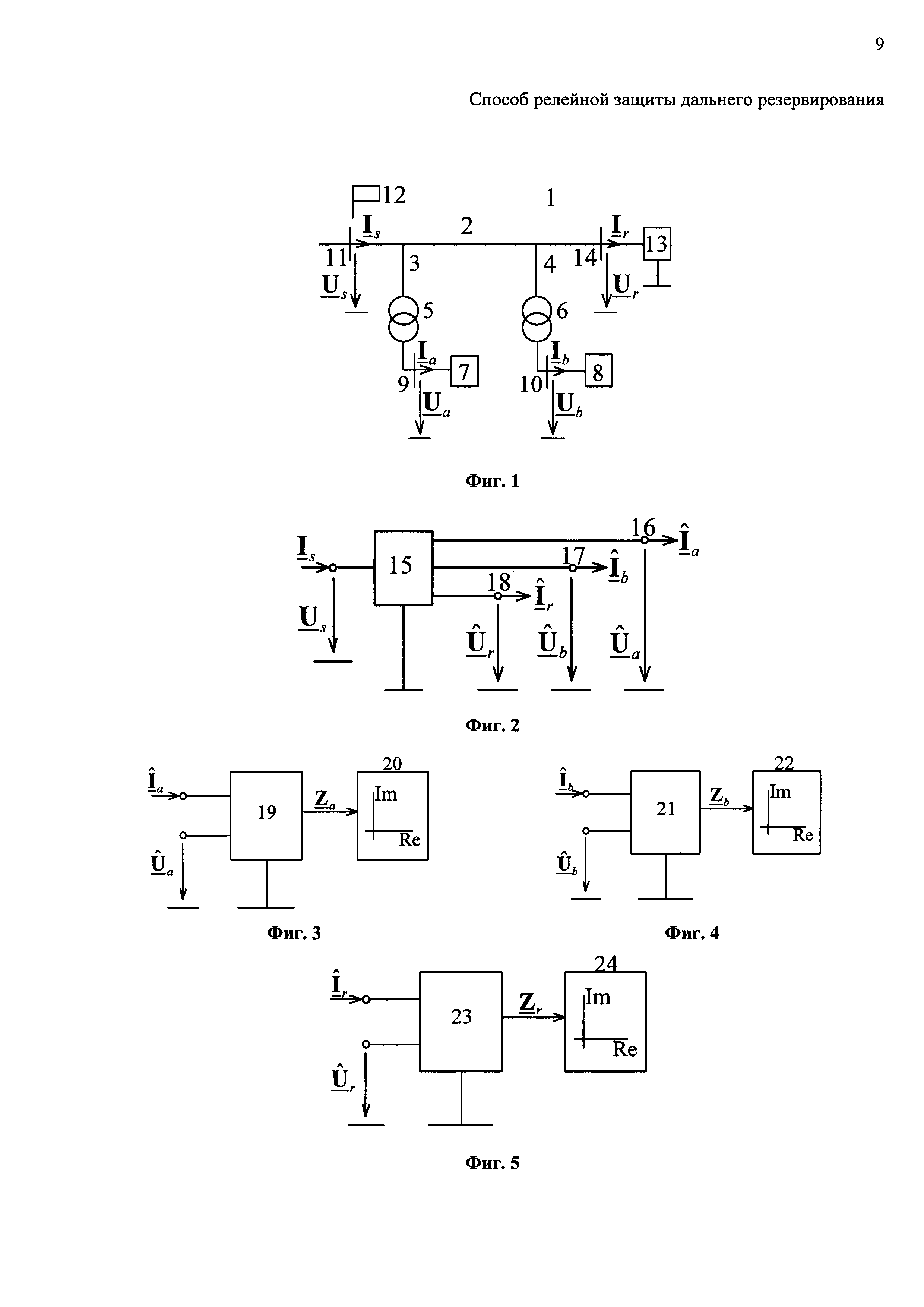
Изобретение относится к области электроэнергетики, а именно к релейной защите линий электропередачи с ответвлениями (с ответвительными подстанциями). Принцип дальнего резервирования имеет непреложное значение в теории и практике релейной защиты электрических систем, говоря о том, что неисправность оборудования на каком-либо участке не должна приводить к системной аварии [1-4]. Термин «защита дальнего резервирования» несет конкретный смысл, обозначая методы и средства релейной защиты линий электропередачи с ответвлениями, называемыми в обиходе отпайками. Защита дальнего резервирования обычно осуществляется по тому же принципу, что и дистанционная защита линий электропередачи. Вторая и последующая ступени дистанционной защиты выполняют функцию дальнего резервирования защит удаленных линий. Взаимодействие защит разных линий обеспечивает отстройка по времени срабатывания. Ответвления контролируются самой старшей ступенью с наивысшей выдержкой времени [4]. Дистанционная защита оперирует токами и напряжениями текущего режима линии электропередачи, реагируя на замер комплексного сопротивления, определяемого в начале линии. Защита дальнего резервирования такого типа имеет недостаточно высокую чувствительность к коротким замыканиям в ответвлениях. Дело в том, что по сопротивлениям в начале линии сложно отличить короткое замыкание в трансформаторе ответвления и в отходящем от него фидере от нагрузочного режима, особенно при пуске мощных электродвигателей. Микропроцессорная техника позволяет расширить информационную базу релейной защиты благодаря сохранению в памяти сведений о токах и напряжениях в режиме, предшествующем текущему состоянию электропередачи. Предложен способ дальнего резервирования, объединяющий информацию о текущем и предшествующем состоянии линии электропередачи с целью повышения чувствительности релейной защиты [5-6]. Отличительной особенностью этого способа является включение в структуру защиты моделей особого типа, называемых алгоритмическими или передающими [7]. Последнее название обусловлено тем, что в теоретическом плане эти модели представляют собой многополюсники в режиме обратной передачи. Вход передающей модели располагается в месте наблюдения линии электропередачи, а именно в ее начале, где записываются токи и напряжения. Выход модели располагается в месте подключения ответвления к главной линии. Выходные величины передающей модели - токи и напряжения в соответствующем ответвлении. В обсуждаемом способе играют самостоятельную роль передающие модели ответвлений, с помощью которых формируются двумерные сигналы, иначе замеры. Их столько, сколько ответвлений. Области срабатывания защиты дальнего резервирования задают на плоскостях замеров. Сигналы срабатывания объединяют по схеме ИЛИ. Подобная организация работы защиты дальнего резервирования имеет ряд недостатков. Поскольку каждый из используемых замеров способен привести к срабатыванию, области срабатывания приходится ограждать от замеров, создаваемых в тех режимах, которые альтернативны замыканиям в ответвлениях. Это нагрузочные режимы, сопровождаемые коммутациями, пуском электродвигателей, и иные нормальные режимы, например плавка гололеда. Обилие альтернативных режимов приводит к тому, что характеристики срабатывания, ограничивающие соответствующие области на плоскостях замеров, принимают сложную форму. Характеристики представляют в виде полигональных фигур. Число сторон оказывается значительным. Мало того, появляется нежелательная вогнутость. Разумеется, в конечном счете приходится аппроксимировать сложную фигуру вписанной в нее более простой выпуклой фигурой с небольшим (не более шести) числом сторон, но при этом область срабатывания утрачивает часть своей площади. Как следствие, понижается чувствительность защиты. Ситуация усугубляется тем обстоятельством, что исполнительные модули обсуждаемой защиты дальнего резервирования действуют по схеме ИЛИ, а при такой логике работы каждая характеристика срабатывания требует индивидуальной отстройки от альтернативных режимов. Цель изобретения заключается в повышении чувствительности, обеспечиваемой способом защиты дальнего резервирования. Дополнительно ставится цель расширить функциональные возможности способа с тем, чтобы исключить необходимость в индивидуальном подборе характеристик срабатывания. Поставленные цели достигаются благодаря обнаружению важной закономерности: в отличие от отображений аварийных режимов отображения альтернативных режимов образуют компактные области. Но этого мало. Главное, что они являются областями блокировки релейной защиты, а условия блокирования предполагают объединение сигналов блокирующих модулей без необходимости проводить индивидуальное обучение каждого из них. Как и прототип, предлагаемый способ исходит из результатов одностороннего наблюдения линии электропередачи. Наблюдают токи и напряжения в начале линии. Для их преобразования используют передающую модель линии - многополюсник со входом в месте наблюдения и выходами в ответвлениях. Из выходных величин формируют двумерные сигналы для каждого ответвления. Каждый двумерный сигнал отображают на его плоскости. Множество отображений, получаемое в процессе обучения защиты, используют для задания областей срабатывания защиты на каждой плоскости. Отличительные признаки нацелены на такое видоизменение передающей модели и конкретизацию формулируемых замеров, которые переносят центр тяжести алгоритма с режимов замыкания в ответвлениях на альтернативные режимы и попутно с областей срабатывания защиты на области блокирования. Надежная отстройка от альтернативных режимов позволяет, вообще говоря, вовсе отказаться от задания областей срабатывания или же задавать их в виде простых фигур, руководствуясь общим критерием повреждения. Передающую модель выполняют с дополнительным выходом в конце линии, что вводит прямой контроль за ее нагрузочными режимами. Основные выходы передающей модели доводят до шин нагрузки каждого ответвления, так как и здесь ставится задача отслеживать поведение нагрузки. В прототипе двумерные сигналы формировались так, как этого требовал положенный там в основу действия защиты критерий резистивности повреждения. Каждый двумерный сигнал был образован из двух вещественных скалярных сигналов, относимых к началу и концу ответвления. Критерий резистивности востребован при определении места замыкания. Для защиты дальнего резервирования он не столь необходим и в предлагаемом способе не применяется. Здесь двумерные сигналы представляют собой комплексные величины и отображаются на комплексных плоскостях. Это обычные для релейной защиты просто определяемые комплексные замеры, конкретно - комплексные сопротивления на выходах передающей модели, как на основных, так и на дополнительном выходе. В предлагаемом способе принципиально важную роль играют также логические операции с сигналами исполнительных модулей защиты. Защиту блокируют в том случае, если все замеры отображаются в соответствующих областях, полученных на этапе обучения путем имитации альтернативных режимов. Разрешение на срабатывание выдается для каждого основного замера в отдельности, но и здесь опять-таки предусматривают блокировку, если именно этот замер попадает в свою область блокирования. В дополнительных пунктах формулы изобретения оговаривается вид замера, характер обучающих режимов и представление итога обучения. На фиг. 1 изображена схема линии электропередачи с двумя ответвительными подстанциями, на фиг. 2 - передающая модель защищаемого объекта, на фиг. 3-5 - формирователи замеров, дополняющие передающую модель. Фиг. 6 и 7 иллюстрируют процедуры обучения защиты дальнего резервирования, фиг. 6 - обучение альтернативными режимами, фиг. 7 - режимами замыканий в ответвлениях. Наконец, фиг. 8 представляет структуру защиты дальнего резервирования и поясняет ее функционирование на реальном объекте, что дополняется отображениями наблюдаемых режимов на плоскостях замеров; последнее иллюстрируется на фиг. 9. Электрическая сеть 1 имеет в своем составе линию электропередачи 2 с ответвительными подстанциями (ответвлениями) 3 и 4. В ответвлениях через понижающие трансформаторы 5 и 6 запитаны нагрузки 7 и 8, подключенные к шинам 9 и 10. Линия 2 идет от своих шин 11. Релейная защита 12 является наблюдателем, фиксирующим ток Is и напряжение Us в начале линии. Электрические величины представлены в комплексной и векторной форме. Элементами векторов I, U являются скалярные комплексы Iν, Uν, где ν - обозначение фазы (ν=А, В, С) или номер провода в многопроводной системе, скажем, в двухцепной электропередаче. Линии 2 соединена с ненаблюдаемой подстанцией 13, подключенной к шинам 14. Ответвления 3 и 4 обозначены еще и индексами а и b. Наблюдаемые величины отмечены индексами s, а ненаблюдаемые в конце линии - индексом r. Ненаблюдаемые величины на шинах 9, 10, 14 подлежат оцениванию. Эту функцию выполняет передающая модель электропередачи 15, выходы которой 16-18 соответствуют шинам реального объекта. Выходные величины модели 15 отмечены верхним символом оценки: Выходные величины модели 15 преобразуются в комплексные замеры Z Для обучения защиты используется имитационная модель электрической сети 1; модель воспроизводит возможные режимы работы сети. Различаются роли имитационных моделей нормальных и аварийных режимов. Модель 25 воспроизводит нормальные режимы (β-режимы), альтернативные аварийным. Обучение затрагивает измерительную часть 26 релейной защиты 12, куда входит передающая модель 15, формирователи замеров 19, 21, 23 и исполнительные модули 20, 22, 24. Сигналы имитационных моделей, как и реакции на них, отмечены верхним индексом «им». Нижний индекс β указывает на то, что проводится обучение альтернативными режимами. Результат обучения защиты имитационной моделью 25 - области отображения β-режимов на комплексных плоскостях Z Блокирование исключает ложную работу защиты и, вообще говоря, избавляет от необходимости тщательного определения характеристик срабатывания. Тем не менее, имеет смысл очертить область срабатывания отображениями реальных режимов короткого замыкания в ответвлениях 3 и 4 (α-режимы). Имитационная модель 27, воспроизводящая α-режимы, завершает обучение измерительной части 26. Характеристики срабатывания, ограничивающие области Структура защиты дальнего резервирования 12, функционирующей в реальной сети 1, изображена более детально, чем на этапе обучения. В измерительной части 26 каналы токов и напряжений разделены: вместо одного канала 16 показаны два 28, 29; вместо 17 показаны 30, 31, вместо 18 - соответственно 32, 33. В исполнительных модулях 20, 22 выделены блоки контроля разных режимах: в модуле 20 это блокирующий блок 34 с характеристикой Структура защиты, действующей на объекте, дополнена логической частью в составе элемента И 38, формирующего блокирующий сигнал, элемента ИЛИ 39, выдающего разрешающий согнал, и оконечного элемента И 40, посылающего сигнал на срабатывание защиты при условии, что поступил разрешающий сигнал, но отсутствует блокирующий сигнал. Способ защиты включает в себя два автономных этапа. Первый - обучение измерительной части защиты. Второй - работу реализованной и прошедшей обучение защиты на реальной линии электропередачи. В свою очередь первый этап подразделяется на два цикла обучения. Сначала от имитационной модели альтернативных β-режимов 15, затем от модели 19 аварийных α-режимов ответвлений. Итогом первого цикла обучения становятся блокирующие характеристики защиты Перед подключением к сети 1 прошедшая обучение защита дальнего резервирования дополняется логическими элементами 38-42, а в исполнительных модулях 20, 22 разделяются функции блокирования и срабатывания. Первые передаются элементам 34, 36, вторые - элементам 35, 37. В линии электропередачи 2 возможны кратковременные режимы, от которых защита дальнего резервирования 12 отстроена выдержкой времени. Длительно существуют нормальные режимы (β-режимы). Они распознаются исполнительными модулями 34, 36, 24, после срабатывания которых подаются все три сигнала на элемент И 38. Последний блокирует выходной элемент И 40. Срабатывание защиты возможно только при отсутствии блокирующего сигнала. Происходит это следующим образом. Допустим, случилось замыкание в одном из ответвлений электропередачи, скажем, в ответвлении 3. Место замыкания может находиться в трансформаторе 5 или в отходящем от него фидере, идущем к шинам 9. Основная защита линии это замыкание не почувствовала. Однако защита дальнего резервирования способна его почувствовать благодаря тому, что передающая модель линии 15 отображает аварийные режимы совсем не так, как нормальные. К нормальным режимам модель адекватна и передает сигнал так, как происходит в неповрежденном объекте. Те же закономерности передачи действуют и в аварийном режиме, но теперь их адекватность объекту утрачивается. Получается, что выходные величины модели что означает работу всех трех блокирующих исполнительных модулей 34, 36, 24, которые подают сигналы на элемент И 38. Последний блокирует выходной элемент И 40. В режиме повреждения ответвления 3 замер Z но не попадает в область Что же касается двух других замеров, то их отображения уже не играют никакой роли. В данном случае принято (фиг. 9), что Произойдет, таким образом, включение четырех исполнительных модулей 35, 36, 37, 24 из пяти. Модуль 34 не изменит своего состояния, и на элемент И 38 поступят только два сигнала от модулей 36 и 24. Этого недостаточного для его включения. Блокирующий сигнал на этот раз сформирован не будет. На элемент ИЛИ 39 поступят сигналы от сработавших модулей 35 и 37. Любой из них и, тем более, оба вместе поступают через элемент 39 на выходной элемент 40 и в отсутствие блокирующего сигнала приводят к срабатыванию защиты. В предложенном способе главенствующая роль отводится операциям распознавания режимов, альтернативных повреждению, что открывает новые возможности повышения распознающей способности защиты дальнего резервирования. В частности, открывается интересный путь дальнейшего повышения чувствительности защиты - построение блокирующих характеристик отдельно для каждой группы однотипных альтернативных режимов. Например, первая группа - подключение нагрузки к шинам 9, вторая - к шинам 10, третья - к шинам 14. Каждая группа получает свое семейство блокирующих характеристик, что создает высокоэффективную отстройку от нормальных режимов работы линии электропередачи. Источники информации 1. Луппа В.И. Дальнее резервирование при повреждениях трансформаторов. - Электрические станции, 1989, №4, С. 67-68. 2. Авторское свидетельство СССР №955348, 1983. 3. Патент РФ №2162269, 2001. 4. Нагай В.И. Релейная защита ответвительных подстанций электрических сетей. - Энергоатомиздат, 2002. 5. Павлов А.О. Информационные аспекты распознавания коротких замыканий в линиях электропередачи в приложении к защите дальнего резервирования. - Автореферат канд. дисс., Чувашский гос. ун-т, Чебоксары, 2002. 6. Еремеев Д.Г. Разработка и исследование микропроцессорной защиты дальнего резервирования. - Автореферат канд. дисс., Чувашский гос. ун-т, Чебоксары, 2010. 7. Васильев А.С. Совершенствование микропроцессорной защиты дальнего резервирования и обобщение опыта ее эксплуатации. - Автореферат канд. дисс., Чувашский гос. ун-т, Чебоксары, 2011 (прототип, с. 12, 13, рис. 5-6).
,
. Они приближены к наблюдаемым величинам I, U при условии, что модель 15 адекватна неповрежденному объекту и что электропередача 2 на самом деле не повреждена. Замыкания в магистрали быстро ликвидируются основной защитой линии и на работу защиты дальнего резервирования, имеющей задержку во времени, не влияют. Условие неповрежденности объекта имеет, таким образом, прямое отношение только к ответвлениям 3, 4.
,
и
. Верхний индекс указывает на то, что границы этих областей являются блокирующими характеристиками защиты дальнего резервирования.
и
, определяются только теми исполнительными модулями 20, 22, которые непосредственно контролируют состояние ответвлений 3, 4. Роль модуля 24 ограничена функцией блокировки защиты, в распознавании α-режимов он не участвует, и его обучение от имитационной модели 27 не предусматривается.
и разрешающий блок 35 с характеристикой
. Исполнительный модуль 24 осуществляет единственную функцию блокировки и в подобном разделении не нуждается.
,
,
на плоскостях замеров Z
,
, также сохраняемые в памяти, но на этот раз только двух исполнительных модулей 20, 22.
,
будут формировать замеры Z в аварийных режимах с отклонением от закономерностей, присущих неповрежденному объекту. Данное обстоятельство способствует расхождению на плоскости Z областей отображения α- и β-режимов Sср и Sбл, хотя и не исключает их пересечения, как это и показано на фиг. 9, где помимо областей блокирования и срабатывания даны иллюстрации отображения двух режимов электропередачи. Нормальный режим отмечен индексом β, аварийный - α. Отображения Zα показаны зачерненными квадратиками, a Zβ - звездочками. В нормальном режиме все отображения попадают в области блокирования




