патент
№ RU 2605673
МПК F16K1/32
Номер заявки
2015141170/06
Дата подачи заявки
28.09.2015
Опубликовано
27.12.2016
Страна
RU
Как управлять
интеллектуальной собственностью
Чертежи 
1
Реферат

Изобретение относится к криогенной технике, и предназначено для перекрытия при вакуумировании и для заправки газообразным криоагентом охладителей. Запорный клапан содержит корпус с двумя присоединительными патрубками, шток с выполненным на его конце ключом, сальниковое уплотнение штока, кольцо уплотнительное, запирающий элемент с резьбой и углублением под ключ, устанавливаемый в резьбовое заправочное отверстие охладителя. Один присоединительный патрубок выполнен в виде муфты, второй - в виде штуцера, часть штока и корпуса выполнена в виде резьбового соединения с шагом резьбы, равным шагу резьбы заправочного отверстия охладителя, а резьба штуцера, равная резьбе заправочного отверстия охладителя, выполнена соосно резьбовому соединению. Такое выполнение изобретения позволяет уменьшить габаритные и внутренние размеры запорного клапана, что, в свою очередь, дает возможность повысить рабочее давление. 1 ил.

Формула изобретения

Запорный клапан, содержащий корпус с двумя присоединительными патрубками, шток с выполненным на его конце ключом, сальниковое уплотнение штока, кольцо уплотнительное, запирающий элемент с резьбой и углублением под ключ, устанавливаемый в резьбовое заправочное отверстие охладителя, отличающийся тем, что один присоединительный патрубок выполнен в виде муфты, второй - в виде штуцера, часть штока и корпуса выполнена в виде резьбового соединения с шагом резьбы, равным шагу резьбы заправочного отверстия охладителя, а резьба штуцера, равная резьбе заправочного отверстия охладителя, выполнена соосно резьбовому соединению.

Описание

[1]

Изобретение относится к криогенной технике и предназначено для перекрытия при вакуумировании и для заправки газообразным криоагентом охладителей.

[2]

Известен запорный клапан - вентиль запорный (каталог «Микрокриогенная техника», М.: ЦИНТИХИМНЕФТЕМАШ, 1972, стр. 26), содержащий корпус с седлом, шток, выполненный заодно с конусным запирающим элементом, сальниковое уплотнение штока (манжета).

[3]

Основной недостаток такого вентиля заключается в том, что его нельзя отсоединять после заправки от заправляемого объекта, т.к. запирающий элемент и седло расположены в корпусе самого вентиля.

[4]

Наиболее близким по технической сущности к предложенному техническому решению является запорный затвор фирмы Leybold (DE), применяющийся для перекрытия откачанного объекта (А. Рот. Вакуумные уплотнения. - М, 1971, стр. 381-382, рис. 6-90), основными частями которого являются корпус и патрубок с фланцем, герметично монтируемый на откачиваемый объект. Корпус затвора имеет два присоединительных патрубка с фланцами (один - для подключения к вакуумному посту, другой - для присоединения к откачиваемому объекту через монтируемый на нем патрубок с фланцем), шток с выполненным на его конце ключом, сальниковое уплотнение штока.

[5]

В смонтированный на откачиваемый объект патрубок с фланцем вворачивают имеющую углубление под ключ резьбовую втулку с установленным на ней запирающим элементом, ключ осевым усилием на шток вдвигают в углубление втулки, фланцы патрубков корпуса и объекта соединяют между собой через уплотнительное кольцо хомутом, обеспечивая их соосность, проводят операцию вакуумирования, затем, завернув до упора штоком резьбовую втулку, перекрывают запирающим элементом проходное сечение в патрубке объекта, после чего корпус запорного затвора со штоком отсоединяют от объекта.

[6]

К недостаткам данной конструкции относятся:

[7]

- применение фланцевых соединений, которые препятствуют миниатюризации как самого затвора, так и объекта, к которому затвор присоединяется;

[8]

- малое рабочее давление ~0,25 МПа (www.oerlikon.com, Catalog Part Leybold Worldwide, Edition 2013, p. 40), которое не позволяет использовать подобные затворы для заправки охладителей;

[9]

- необходимость вручную прилагать осевое усилие на шток для преодоления трения штока в сальниковом уплотнении при совмещении ключа штока с углублением втулки.

[10]

Задачей, на решение которой направлено заявляемое техническое решение, является уменьшение размеров запорного клапана, а также повышение рабочего давления.

[11]

Поставленная задача решается тем, что в запорном клапане, содержащем корпус с двумя присоединительными патрубками, шток с выполненным на его конце ключом, сальниковое уплотнение штока, кольцо уплотнительное, запирающий элемент с резьбой и углублением под ключ, устанавливаемый в резьбовое заправочное отверстие охладителя, один присоединительный патрубок выполнен в виде муфты, второй - в виде штуцера, часть штока и корпуса выполнена в виде резьбового соединения с шагом резьбы, равным шагу резьбы заправочного отверстия охладителя, а резьба штуцера, равная резьбе заправочного отверстия охладителя, выполнена соосно резьбовому соединению.

[12]

На фиг. изображен предложенный запорный клапан.

[13]

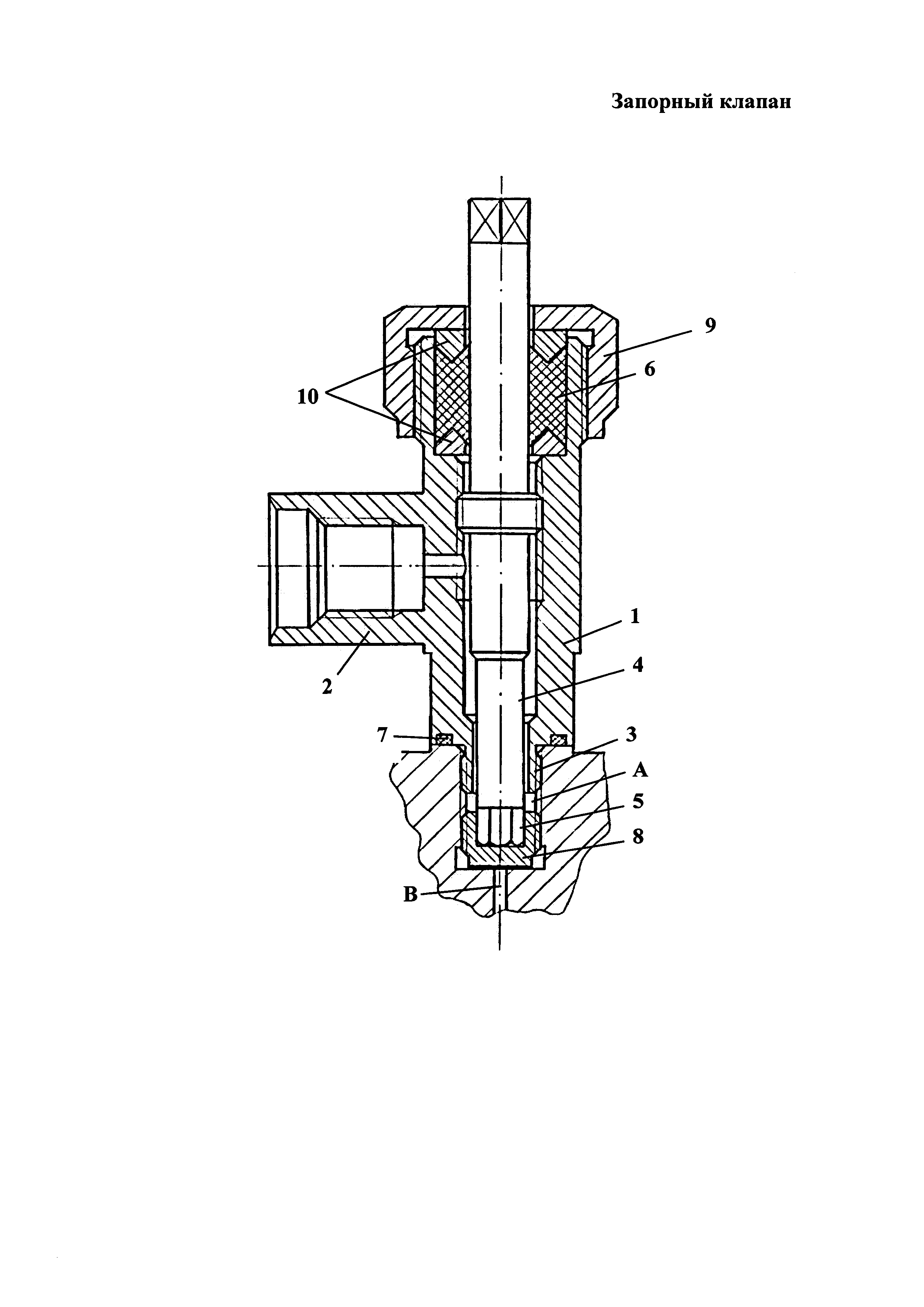
Запорный клапан содержит корпус 1 с двумя присоединительными патрубками, один из которых выполнен в виде муфты 2 для присоединения к заправочному стенду (на чертеже не показан), а второй - в виде штуцера 3 для присоединения к заправочному отверстию А охладителя (на чертеже не показан), шток 4 с выполненным на его конце ключом 5, сальниковое уплотнение 6 штока, кольцо уплотнительное 7. В резьбовое заправочное отверстие А охладителя ввернут имеющий углубление под ключ 5 запирающий элемент 8. Вакуумирование и заправка охладителя криоагентом осуществляется по зазору в резьбе запирающего элемента 8 и заправочного отверстия А. Часть штока 4 и корпуса 1 выполнена в виде резьбового соединения с шагом резьбы, равным шагу резьбы заправочного отверстия А охладителя, при этом резьба штуцера 3 равна резьбе заправочного отверстия А охладителя и выполнена соосно резьбовому соединению. На фиг. также изображены гайка 9, кольца 10 и проходное сечение В заправочного отверстия А охладителя.

[14]

Запорный клапан работает следующим образом.

[15]

Вращением штока 4 по часовой стрелке ключ 5 выдвигают из штуцера 3 на величину, равную глубине от торца заправочного отверстия А охладителя до дна углубления под ключ 5 запирающего элемента 8, устанавливают в это углубление, вворачивают штуцер 3 корпуса 1 в заправочное отверстие А, герметизируя их между собой кольцом уплотнительным 7, присоединяют муфту 2 к заправочному стенду, приоткрывают проходное сечение В заправочного отверстия А охладителя, повернув против часовой стрелки штоком 4 запирающий элемент 8, проводят операцию вакуумирования и заправки охладителя газообразным криоагентом, заворачивают до упора запирающий элемент 8, отсоединяют муфту 2 от заправочного стенда, после чего запорный клапан отсоединяют от охладителя, вывернув из заправочного отверстия А.

[16]

В соответствии с заявляемой формулой изобретения был изготовлен запорный клапан со следующими техническими характеристиками:

[17]

габаритные размеры запорного клапана, мм30×65
резьбовое соединение, обозначение по ГОСТМ8×1
резьба штуцера, обозначение по ГОСТМ6
рабочее давление, МПа4

[18]

Резьбовое соединение штока 4 и корпуса 1, выполненное соосно с резьбой штуцера 3, устраняет необходимость прилагать вручную осевое усилие на шток 4 при совмещении ключа 5 штока 4 с углублением под ключ 5 запирающего элемента 8, обеспечивая при этом соосность ключа 5 с углублением под ключ 8, а равенство шага резьбы резьбового соединения с шагом резьбы заправочного отверстия А охладителя обеспечивает равное осевое перемещение штока 4 и запирающего элемента 8 при их совместном вращении.

[19]

Выполнение патрубков в виде муфты и штуцера, части корпуса и штока в виде резьбового соединения, использование резьбового заправочного отверстия охладителя для установки запирающего элемента и присоединения запорного клапана в совокупности позволяют уменьшить габаритные и внутренние размеры запорного клапана, что, в свою очередь, дает возможность повысить рабочее давление, обеспечивая функцию заправки охладителей.

Как компенсировать расходы
на инновационную разработку
Похожие патенты