патент
№ RU 2484370
МПК F23D14/26

СПОСОБ СЕЛЕКТИВНОГО КОНТРОЛЯ ФАКЕЛА КАЖДОЙ ГОРЕЛКИ НА МНОГОГОРЕЛОЧНОМ КОТЛЕ

Авторы:
Кулинич Михаил Юрьевич
Номер заявки
2011141602/06
Дата подачи заявки
14.10.2011
Опубликовано
10.06.2013
Страна
RU
Как управлять
интеллектуальной собственностью
Чертежи 
1
Реферат

Изобретение относится к теплоэнергетике, а именно к селективному контролю основного факела горелки на многогорелочном котле, т.е. к достоверности наличия основного факела каждой отдельной горелки независимо от их количества и расположения на котле. Несколько горелок установлены на внешней стенке котла в один или несколько рядов по высоте топки либо по ее углам. В корпусе каждой горелки располагают запальник и пилотную горелку. Пилотная горелка предназначена для розжига и контроля наличия основного факела горелки. Подают воздух и газ на пилотную горелку с постоянным давлением. Контролируют факел каждой пилотной горелки способом, исключающим влияние факелов других работающих горелок, например ионизационным датчиком. Гарантируют наличие основного факела каждой горелки наличием факела ее постоянно действующей пилотной горелки. Перед горелками установлены блоки газооборудования автоматические, управление которыми осуществляется шкафом управления горелками. Изобретение позволяет создать надежный способ, исключающий ложную информацию о наличии факела на данной горелке при его потере. 1 ил.

Формула изобретения

Способ селективного контроля основного факела каждой горелки на многогорелочном котле, заключающийся в том, что располагают в корпусе каждой горелки пилотную горелку, осуществляют подачу воздуха и газа с постоянным давлением в каждую пилотную горелку, контролируют факел каждой пилотной горелки способом, исключающим влияние факелов других работающих горелок, гарантируют наличие основного факела каждой горелки наличием факела постоянно действующей пилотной горелки.

Описание

[1]

Изобретение относится к теплоэнергетике, а именно к селективному контролю основного факела каждой горелки на многогорелочном котле большой мощности, т.е. к достоверности наличия факела каждой отдельной горелки независимо от их количества и расположения на котле. Способ может быть применен при работе паровых энергетических и водогрейных котлов ТЭЦ.

[2]

Многогорелочным в данном случае считается котел, нагрев которого осуществляется более чем одной горелкой.

[3]

При отсутствии факела одной из горелок система безопасности котла дает команду на отключение подачи газа на эту горелку.

[4]

Важным требованием, предъявляемым к системе контроля факела горелки на многогорелочном котле, является индивидуальный (селективный) контроль факела каждой горелки. При этом факт погасания или отрыва факела от горелки, в которую подается топливо, должен надежно фиксироваться тем датчиком контроля пламени, который смонтирован на этой горелке. Это означает, что этот датчик должен реагировать только на погасание или отрыв факела на данной горелке при наличии факелов остальных горелок многогорелочного котлоагрегата независимо от их расположения. Указанное свойство датчика пламени называется селективностью.

[5]

Согласно разделу 7 «Особенные требования взрывобезопасности при эксплуатации систем газоснабжения тепловых электрических станций (ТЭС) и котельных» ПБ 12-529-03 Правил безопасности систем газораспределения и газопотребления, утвержденных постановлением Госгортехнадзора России от 18.03.2003 г. №9, а именно пункту 7.35 «каждая горелка котла должна быть оснащена защитно-запальным устройством (ЗЗУ), обеспечивающим факел у горелки в режиме розжига и селективный контроль факела горелки во всех режимах работы котла, включая режим розжига».

[6]

Таким образом, селективность контроля факела каждой горелки, установленной на многогорелочных котлах, является основным системным требованием, предъявляемым к конструкциям горелок.

[7]

Известен способ контроля наличия пламени горелки по излучению (SU, авторское свидетельство №714100, опубл. 05.02.1980 г.), измеряемому двумя датчиками, визируемыми в одну зону контролируемого пламени, путем формирования разности сигналов, выдаваемых датчиками, и сравнения ее с заданной установкой. Известное изобретение направлено на создание надежного селективного контроля пламени отдельной горелки на многогорелочном котлоагрегате.

[8]

Известен способ контроля факела горелки котлоагрегата (SU, авторское свидетельство №1539468, опубл. 30.01.1990 г.) путем измерения с помощью оптического датчика лучистого потока корня факела горелки, установленной в стенке топки. В известном изобретении с целью повышения надежности контроля в многогорелочном котлоагрегате путем уменьшения влияния излучения стенок топки и других горелок измеряют только ту часть лучистого потока корня факела, которая распространяется параллельно стенке топки и визирной оси датчика.

[9]

Известен способ селективного контроля пламени горелки (RU, патент №2282789, опубл. 20.06.2003 г.), принятый в качестве прототипа, заключающийся в том, что регистрируют излучение в ИК-области одного или более продуктов сгорания одной из зон факела горелки. Регистрацию излучения осуществляют в крыльях спектральных линий излучения продукта или продукта сгорания, в которых интенсивность излучения меньше половины максимального значения интенсивности, и по наличию излучения судят о наличии пламени. Задачей указанного изобретения является повышение достоверности контроля пламени горелки теплоэнергетического устройства путем обеспечения, регистрации, излучения только высокотемпературных продуктов сгорания при одновременном обеспечении регистрации факела только «своей» горелки при наличии в котле любого количества горящих факелов.

[10]

Недостатком всех указанных известных способов селективного контроля факела горелки на многогорелочном котле является то обстоятельство, что для селективного контроля факела горелок датчики контроля устанавливают вне конструкции горелок, а именно на экранах котлов. Это требует внесения изменений в конструкцию котлов. При этом в известных способах осуществляют контроль основного факела «отдельной» горелки на многогорелочном котле. В случае его погасания или отрыва возможен вариант, когда датчик покажет наличие основного факела из-за наличия факелов других работающих горелок. Кроме этого в известных способах факел контролируют в одной из зон пламени, что не позволяет говорить о достоверности контроля при работе горелки в широком диапазоне давлений.

[11]

Задачей изобретения является создание надежного способа селективного контроля основного факела каждой горелки на многогорелочном котле, исключающего ложную информацию о наличии факела на данной горелке при его погасании или отрыве. Предложенный способ решает задачу обеспечения постоянного наличия основного факела каждой горелки для обеспечения взрывобезопасности газоиспользующей установки.

[12]

Технический результат достигается тем, что для селективного контроля основного факела каждой горелки на многогорелочном котле располагают в корпусе каждой горелки пилотную горелку, осуществляют подачу воздуха и газа с постоянным давлением в каждую пилотную горелку, контролируют факел каждой пилотной горелки способом, исключающим влияние факелов других работающих горелок, гарантируют наличие основного факела каждой горелки наличием факела постоянно действующей пилотной горелки.,

[13]

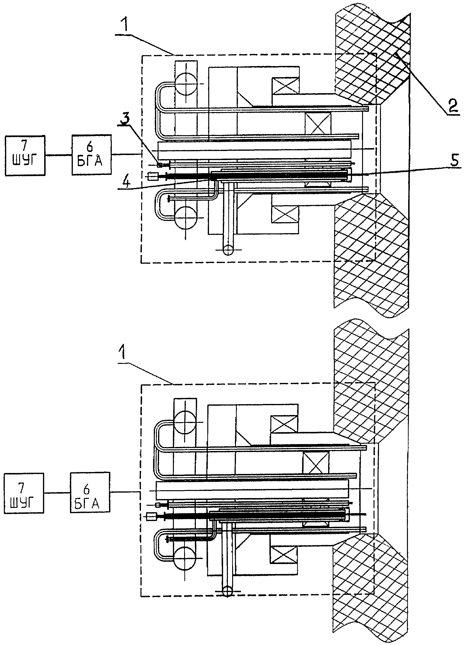
Контроль основного факела каждой горелки на многогорелочном котле производят посредством контроля наличия факела каждой пилотной горелки. Изобретение поясняется функциональной схемой, где:

[14]

1 - горелка;

[15]

2 - стенка котла;

[16]

3 - запальник;

[17]

4 - пилотная горелка;

[18]

5 - датчик контроля факела пилотной горелки;

[19]

6 - блок газооборудования автоматический (БГА);

[20]

7 - шкаф управления горелками (ШУГ).

[21]

Несколько горелок 1 установлены встречно на внешних стенках 2 котла в один или несколько рядов по высоте топки (топочной камеры) либо по ее углам. Каждая горелка 1 выполнена с раздельной подачей воздуха и топлива. В корпусе каждой горелки 1 установлены запальник 3 и пилотная горелка 4.

[22]

Розжиг факела запальника 3 осуществляют устройством для электророзжига, находящимся под высоким напряжением. Наличие факела запальника контролируют датчиком контроля факела запальника. Факел запальника контролируется датчиком, принцип действия которого исключает возможность влияния на него другого факела, например ионизационным датчиком, принцип действия которого основан на электропроводимости факела.

[23]

Разжигают от запальника 3 пилотную горелку 4. Пилотную горелку в конструкции горелки 1 используют для розжига и контроля основного факела горелки. Каждая пилотная горелка выполнена с раздельной подачей воздуха и топлива. Для гарантированного контроля основного факела пилотную горелку располагают в корпусе горелки 1 таким образом, чтобы устье ее факела при работе располагалось внутри амбразуры горелки 1. Подачу воздуха и газа в пилотную горелку 4 осуществляют с постоянным давлением (p=const), что обеспечивает постоянную мощность пилотной горелки и стабилизацию факела пилотной горелки. Контроль факела пилотной горелки 4 осуществляют датчиком 5 контроля факела пилотной горелки (далее датчик). При этом используется датчик, принцип действия которого исключает возможность влияния на него другого факела, например основного факела этой горелки или факела других работающих горелок. Контроль факела пилотной горелки, как правило, осуществляют ионизационным датчиком, контрольный электрод которого всегда находится в зоне факела пилотной горелки.

[24]

Перед горелками установлены блоки газооборудования автоматические (далее БГА) 6, управление которыми осуществляется шкафом управления горелками (далее ШУГ) 7. БГА 6 предназначены для автоматической подачи природного газа в качестве топлива к основной горелке, пилотной горелке и запальнику и выполняют следующие функции: регулирование расхода газа, обеспечение автоматической опрессовки запорной арматуры, входящей в состав блока, обеспечение безопасного розжига и отсечки газа при нарушении технологических параметров котла. Сигналы от устройств контроля факелов пилотных горелок и запальников поступают в ШУГ 7, где реализуется команда на отключение горелки 1 при потере факела пилотной горелки 4.

[25]

Реализация способа осуществляется следующим образом.

[26]

Для розжига и контроля каждой горелки на многогорелочном котле осуществляют следующий порядок действий:

[27]

- на запальник 3, расположенный в корпусе горелки 1, подают газ;

[28]

- разжигают запальник 3 устройством для электророзжига и убеждаются в наличии его факела при помощи датчика контроля факела запальника;

[29]

- осуществляют подачу воздуха и газа с постоянным давлением в пилотную горелку 4. Образовавшуюся на выходе из пилотной горелки газовоздушную смесь воспламеняют от запальника 3. При этом осуществляют непрерывный контроль наличия факела пилотной горелки датчиком 5;

[30]

- после срабатывания датчика 5 контроля факела пилотной горелки отключают подачу газа на запальник 3;

[31]

- осуществляют подачу воздуха и газа в горелку 1. Образовавшуюся на выходе из горелки газовоздушная смесь воспламеняют от устойчивого постоянно горящего факела пилотной горелки 4. При погасании или отрыве основного факела непрерывно работающая пилотная горелка вновь поджигает основной факел, что гарантирует его постоянное наличие;

[32]

- если датчик контроля 5 покажет отсутствие факела пилотной горелки, БГА 6 прекратит подачу газа на всю горелку.

[33]

Наличие факела каждой постоянно действующей пилотной горелки на многогорелочном котле гарантирует наличие основных факелов горелок, а контроль факела каждой пилотной горелки обеспечивает селективный контроль основного факела каждой горелки на многогорелочном котле.

Как компенсировать расходы
на инновационную разработку
Похожие патенты