патент
№ RU 2602027
МПК F16K1/44

КЛАПАН ЛЕТАТЕЛЬНОГО АППАРАТА ДЛЯ СЛИВА ВОДЫ

Авторы:
Силин Вадим Сергеевич
Номер заявки
2015124825/06
Дата подачи заявки
25.06.2015
Опубликовано
10.11.2016
Страна
RU
Как управлять
интеллектуальной собственностью
Чертежи 
2
Реферат

Группа изобретений относится к авиационной технике, а именно к клапану летательного аппарата для слива воды, и предназначена для предотвращения течи топлива при деформации конструкций клапана и топливного бака в случае нештатной жесткой посадки летательного аппарата. Клапан летательного аппарата для слива воды состоит из пропускного канала для протекания жидкости из топливного бака летательного аппарата, штока, первого элемента уплотнения и второго элемента уплотнения, установленных на упомянутом штоке. Корпус клапана установлен на стенке топливного бака таким образом, что внешняя поверхность стенки топливного бака плотно прилегает к внутренней поверхности обшивки летательного аппарата. Клапан изготовлен с внешним нижним выступом по периметру, плотно прилегающим к внешней поверхности обшивки летательного аппарата и имеющим проточку, выполненную по периметру нижней поверхности клапана и создающую область ослабленного сечения. Со стороны внутреннего пространства топливного бака параллельно стенке топливного бака на корпусе клапана герметично закреплена с помощью основного элемента крепления плоская гибкая мембрана. Внешний периметр мембраны герметично закреплен на внутренней поверхности стенки топливного бака, образуя тем самым герметичную полость между корпусом клапана и внутренней поверхностью стенки топливного бака летательного аппарата. Имеются также топливный бак летательного аппарата с упомянутым клапаном и летательный аппарат с таким топливным баком. Группа изобретений направлена на улучшение эксплуатационных характеристик клапана для слива при его работе в нештатных ситуациях

Формула изобретения

1. Клапан летательного аппарата для слива воды, состоящий из пропускного канала для протекания жидкости из топливного бака летательного аппарата, штока, первого элемента уплотнения и второго элемента уплотнения, установленных на упомянутом штоке, отличающийся тем, что корпус клапана установлен на стенке топливного бака таким образом, что внешняя поверхность стенки топливного бака плотно прилегает к внутренней поверхности обшивки летательного аппарата, при этом клапан изготовлен с внешним нижним выступом по периметру, плотно прилегающим к внешней поверхности обшивки летательного аппарата и имеющим проточку, выполненную с отступлением от края выступа по периметру нижней поверхности клапана и создающую область ослабленного сечения, одновременно со стороны внутреннего пространства топливного бака параллельно стенке топливного бака на корпусе клапана герметично закреплена с помощью основного элемента крепления плоская гибкая мембрана, внешний периметр которой герметично закреплен на внутренней поверхности стенки топливного бака, образуя тем самым герметичную полость между корпусом клапана и внутренней поверхностью стенки топливного бака летательного аппарата.

2. Топливный бак летательного аппарата, содержащий клапан для слива воды по п. 1.

3. Летательный аппарат, включающий топливный бак по п. 2.

Описание

[1]

Изобретение относится к авиационной технике, а именно к клапану летательного аппарата для слива воды и может быть использовано в конструкции топливного бака летательного аппарата для предотвращения течи топлива при деформации конструкций клапана и топливного бака в случае нештатной жесткой посадки летательного аппарата.

[2]

В настоящее время при жесткой посадке летательного аппарата нередки случаи возникновения пожара на борту вследствие разрушения и деформации конструкций топливных баков, в частности, в местах установки в них клапанов слива, а также вследствие разрушения и деформации самих клапанов слива. В этом случае процент травматизма и смертности значительно возрастает. Между тем, раздел «Топливная система», пункт 29.952 авиационных правил АП-29 гласит, что конструкция топливных баков не должна иметь таких разрушений, которые могли бы вызвать течь топлива на источник возгорания, а также должны быть установлены рассоединяющиеся самоуплотняемые соединители в местах топливной системы, где местные деформации могут привести к течи топлива. (Межгосударственный авиационный комитет. Авиационные правила, часть 29, 2003, 129 с.).

[3]

Известно техническое решение «Клапан летательного аппарата для слива воды, топливный бак летательного аппарата, летательный аппарат и способ слива воды из топливного бака летательного аппарата», защищенное патентом РФ №2429399, кл. F16K 1/44, B64D 37/00 опубл. 20.09.2011. Данный клапан содержит пропускной канал для протекания жидкости между внутренней и внешней сторонами топливного бака, шток, первый и второй элементы уплотнения. Шток может перемещаться между открытым положением, в котором расположение первого и второго элементов уплотнения позволяет жидкости свободно протекать через пропускной канал, и закрытым положением, в котором расположение первого и второго элементов уплотнения не позволяет жидкости протекать через пропускной канал, предотвращая тем самым попадание жидкости в пространство между первым и вторым элементами уплотнения. Данное техническое решение способствует улучшению эксплуатационных характеристик клапана для слива воды при его работе в условиях низких температур.

[4]

Однако, при такой конструкции данного клапана, в момент нештатной жесткой посадки летательного аппарата, под воздействием внешней силы неизбежно происходят местные деформации топливного бака и обшивки летательного аппарата от выступающих частей клапана. Именно выступающие части данного клапана первыми принимают на себя воздействие негативной внешней силы. Местные деформации обшивки летательного аппарата и стенок топливного бака могут привести к течи топлива и, как следствие, к возникновению пожара.

[5]

Цель изобретения - улучшение эксплуатационных характеристик клапана для слива при его работе в нештатных ситуациях полета и посадки, повышение надежности работы топливной системы летательного аппарата.

[6]

Поставленная цель достигается в клапане летательного аппарата для слива воды, состоящем из пропускного канала для протекания жидкости из топливного бака летательного аппарата, штока, первого элемента уплотнения и второго элемента уплотнения, установленных на упомянутом штоке. Корпус клапана установлен на стенке топливного бака таким образом, что внешняя поверхность стенки топливного бака плотно прилегает к внутренней поверхности обшивки летательного аппарата, при этом клапан изготовлен с внешним нижним выступом по периметру, плотно прилегающим ко внешней поверхности обшивки летательного аппарата, и имеющим проточку, выполненную с отступлением от края выступа по периметру нижней поверхности клапана и создающую область ослабленного сечения. Одновременно, со стороны внутреннего пространства топливного бака параллельно стенке топливного бака на корпусе клапана герметично закреплена с помощью основного элемента крепления плоская гибкая мембрана, внешний периметр которой герметично закреплен на внутренней поверхности стенки топливного бака, образуя тем самым герметичную полость между корпусом клапана и внутренней поверхностью стенки топливного бака летательного аппарата. Поставленная цель достигается также в топливном баке летательного аппарата, содержащем вышеназванный клапан для слива воды, и в летательном аппарате, включающем такой топливный бак.

[7]

В источниках информации не обнаружено сведений о создании такого клапана летательного аппарата для слива воды, гарантированно обеспечивающего предотвращение течи топлива при деформации конструкции клапана в случае нештатной жесткой посадки летательного аппарата, не обнаружено сведений о включении такого клапана, как элемента конструкции, в конструкцию топливного бака и об использовании такого топливного бака в конструкции летательного аппарата, что позволяет сделать вывод о соответствии данного технического решения критериям охраноспособности.

[8]

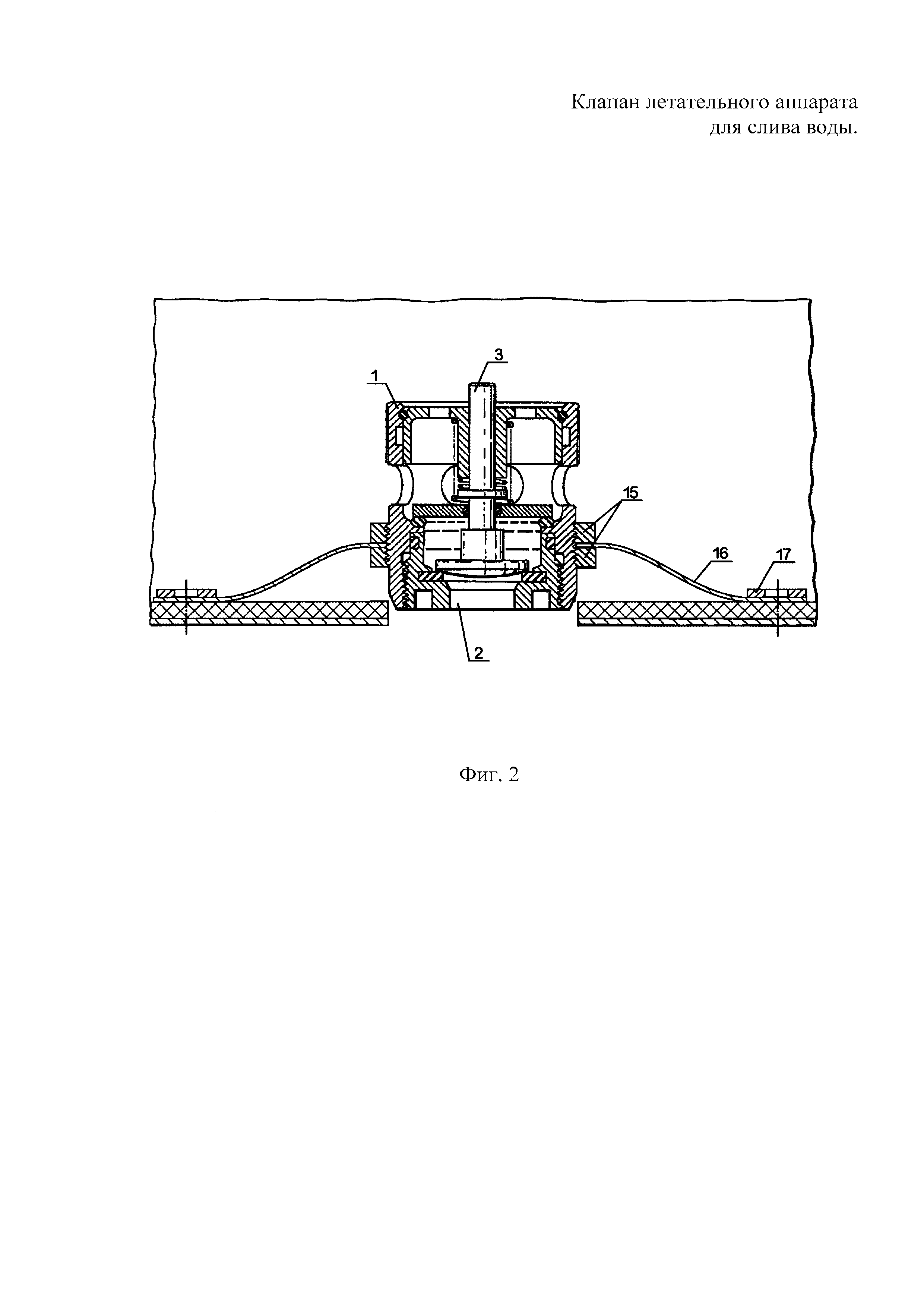
На Фиг. 1 представлен клапан летательного аппарата для слива воды, который может быть использован также и для взятия проб топлива. Этот клапан устанавливается на стенке топливного бака летательного аппарата обычно в самой нижней точке бака. На Фиг. 2 представлен этот клапан при разрушении его корпуса под воздействием внешней силы по проточке, создающей область ослабленного сечения в корпусе клапана, где:

[9]

1 - корпус клапана,

[10]

2 - пропускной канал,

[11]

3 - шток,

[12]

4 - вода,

[13]

5 - топливо,

[14]

6 - первый элемент уплотнения,

[15]

7 - второй элемент уплотнения,

[16]

8 - стенка топливного бака.

[17]

9 - обшивка летательного аппарата,

[18]

10 - нижний выступ корпуса клапана,

[19]

11 - проточка,

[20]

12 - нижняя поверхность клапана,

[21]

13 - посадочное место первого элемента уплотнения,

[22]

14 - посадочное место второго элемента уплотнения,

[23]

15 - компоненты основного элемента крепления клапана,

[24]

16 - мембрана,

[25]

17 - элемент крепления мембраны к внутренней поверхности стенки топливного бака.

[26]

Клапан летательного аппарата для слива воды содержит корпус 1 с выполненным в нем пропускным каналом 2 для протекания воды 4 или топлива 5 из топливного бака летательного аппарата, шток 3, первый элемент уплотнения 6 с его посадочным местом 13 и второй элемент уплотнения 7 с его посадочным местом 14, установленные на штоке 3. Корпус 1 клапана установлен на стенке 8 топливного бака так, что внешняя поверхность стенки 8 топливного бака плотно прилегает к внутренней поверхности обшивки 9 летательного аппарата. Корпус 1 клапана изготовлен с внешним нижним выступом 10 по периметру, плотно прилегающим ко внешней поверхности обшивки 9 летательного аппарата. Внешний нижний выступ 10 имеет проточку 11, выполненную с отступлением от края выступа 10 по периметру нижней поверхности 12 клапана. Одновременно с этим, параллельно стенке 8 топливного бака на корпусе 1 клапана герметично закреплена с помощью основного элемента крепления, например, но не ограничиваясь этим, с помощью гайки или фланца, 15 плоская гибкая мембрана 16. Внешний периметр мембраны 16 герметично закреплен на внутренней поверхности стенки 8 топливного бака с помощью элемента крепления, например, но не ограничиваясь этим, с помощью фланца или кольца, 17.

[27]

Клапан летательного аппарата для слива воды и взятия проб топлива работает следующим образом.

[28]

Клапан устанавливается на стенке 8 топливного бака летательного аппарата в самой нижней точке бака. В топливном баке находятся вода 4 и топливо 5, при этом вода 4 находится на дне бака и, следовательно, может быть слита через клапан под действием силы тяжести до того, как потечет топливо. Пропускной канал 2 в корпусе 1 клапана обеспечивает вытекание жидкости из топливного бака летательного аппарата. Шток 3 устанавливается в корпусе 1 с возможностью скольжения. На нижнем конце штока 3 неподвижно закрепляется первый элемент уплотнения 6. Второй элемент уплотнения 7 устанавливается на штоке 3 с возможностью скольжения. В корпусе 1 клапана также устанавливаются две пружины (на рисунке не обозначены), первая из которых обеспечивает перемещение штока 3 вниз в положение, в котором первый элемент уплотнения 6 плотно садится на свое посадочное место 13, а вторая вызывает перемещение второго элемента уплотнения 7 вниз по направлению к положению, в котором он плотно садится на свое посадочное место 14. Во время полета шток 3 находится в закрытом положении, как показано на Фиг. 1, обеспечивая герметичность топливного бака, а когда летательный аппарат находится на земле, клапан может быть использован для слива жидкости из топливного бака, а также для взятия проб топлива.

[29]

Для того, чтобы слить воду 4, нужно надавить на первый элемент уплотнения 6 для его перемещения вверх из закрытого состояния в открытое. Одновременно с ним перемещается и шток 3. При дальнейшем движении штока 3 вверх элемент штока нажимает на второй элемент уплотнения 7, приподнимая его над посадочным местом 14. В этом случае шток находится в открытом положении и расположение элементов уплотнения 6 и 7 позволяет жидкости свободно проходить через пропускной канал, в результате чего вода начинает вытекать из топливного бака. Когда оператор клапана слива обнаружит, что вместо воды начинает вытекать топливо, он прекращает нажимать на шток, что требовалось для его перемещения вверх. Пружина (на рисунке не обозначена) будет сдвигать шток 3 вниз до тех пор, пока первый элемент уплотнения 6 не встанет на свое посадочное место 13. Второй элемент уплотнения 7 также будет двигаться вниз под действием связанной с ним пружины, в результате чего встанет на свое посадочное место 14.

[30]

Для достижения цели изобретения: улучшение эксплуатационных характеристик клапана при его работе в нештатных ситуациях полета и посадки летательного аппарата, корпус 1 клапана по периметру его нижней части изготовлен с внешним нижним выступом 10 и располагается на стенке 8 топливного бака особенным образом: так, что внешняя поверхность стенки 8 топливного бака плотно прилегает к внутренней поверхности обшивки 9 летательного аппарата и внешний нижний выступ 10 корпуса 1 клапана плотно прилегает ко внешней поверхности обшивки 9 летательного аппарата. На внешнем нижнем выступе 10 выполнена проточка 11, создающая область ослабленного сечения на корпусе 1 клапана. Под воздействием негативной внешней силы, например, в момент нештатной жесткой посадки летательного аппарата, неизбежное разрушение корпуса 1 клапана происходит именно по проточке 11, создавшей область ослабленного сечения, и он смещается внутрь топливного бака. Одновременно, герметично закрепленная на корпусе 1 клапана и на внутренней поверхности стенки 8 топливного бака плоская гибкая мембрана 16 препятствует течи топлива из топливного бака. Мембрана 16 обеспечивает герметичность топливного бака и удерживает частично разрушенный клапан внутри топливного бака, что не позволяет топливу вытекать из топливного бака.

[31]

Такая конструкция клапана позволяет предотвратить местные деформации обшивки 9 летательного аппарата и стенок 8 топливного бака от выступающих частей корпуса 1 клапана, которые первыми подвергаются воздействию негативной внешней силы, а плоская гибкая мембрана 16 обеспечивает связь корпуса 1 клапана со стенкой 8 топливного бака, т.е. обеспечивает герметичность конструкции, гарантированно исключая течь топлива. Тем самым удовлетворяется требование авиационных правил АП29.952(с) об установке рассоединяющихся самоуплотняемых соединителей в местах топливной системы, где местные деформации могут привести к течи топлива и, следовательно, к пожару.

[32]

В соответствии с другой особенностью настоящего изобретения предложен топливный бак, содержащий описанный выше клапан для слива воды.

[33]

В соответствии с еще одной особенностью настоящего изобретения предложен летательный аппарат, содержащий описанный выше топливный бак.

[34]

Таким образом, располагая корпус клапана охватывающим и стенку топливного бака и обшивку летательного аппарата, выполняя корпус клапана с проточкой, создающей область ослабленного сечения, и, одновременно, устанавливая герметично закрепленную на корпусе клапана и на внешней поверхности стенки топливного бака мембрану, значительно улучшают эксплуатационные характеристики клапана при его работе в нештатных ситуациях полета и посадки летательного аппарата, повышают надежность работы в целом всей топливной системы, тем самым повышая безопасность полета летательного аппарата.

Как компенсировать расходы
на инновационную разработку
Похожие патенты