патент
№ RU 2635017
МПК B62D3/12

РУЛЕВОЙ МЕХАНИЗМ КОЛЕСНОГО ТРАНСПОРТНОГО СРЕДСТВА

Авторы:
Корягин Сергей Андреевич
Правообладатель:
Номер заявки
2016127153
Дата подачи заявки
05.07.2016
Опубликовано
08.11.2017
Страна
RU
Как управлять
интеллектуальной собственностью
Чертежи 
1
Реферат

Изобретение относится к области транспортного машиностроения. Рулевой механизм колесного транспортного средства содержит рулевое колесо, рулевую колонку, вал рулевого управления с расположенной на нем шестерней. Шестерня вала рулевого управления находится в зацеплении с зубчатой рейкой. Шестерня вала рулевого управления подпружинена рычагом к зубчатой рейке. Зубчатая рейка имеет форму зубчатого сектора. Достигается упрощение конструкции и повышение надежности рулевого механизма. 1 з.п. ф-лы, 3 ил.

Формула изобретения

1. Рулевой механизм колесного транспортного средства, содержащий рулевое колесо, рулевую колонку, вал рулевого управления с расположенной на нем шестерней, находящейся в зацеплении с зубчатой рейкой, отличающийся тем, что шестерня вала рулевого управления подпружинена рычагом к зубчатой рейке, а зубчатая рейка имеет форму зубчатого сектора.

2. Рулевой механизм колесного транспортного средства по п.1, отличающийся тем, что шестерня выполнена в виде зубчатого колеса, а зубчатый сектор выполнен в виде сектора цевочного колеса.

Описание

[1]

Изобретение относится к колесным транспортным средствам, в частности к механизмам рулевого управления, и может быть использовано в качестве рулевого механизма в минитракторах, другой самоходной техники.

[2]

Известен рулевой механизм, описанный в книге В.М. Семенова и В.Н. Власенко «Трактор», Москва, ВО «Агропромиздат», 1989 г., стр. 262-268. Рулевой механизм выполнен в виде червячной пары: червяка и ролика. Червяк жестко насажен на рулевой вал, а ролик на подшипниках сидит на оси, запрессованной в выступы вала рулевой сошки.

[3]

Недостатком известного устройства является сложность изготовления, обслуживания и, как следствие, высокая стоимость рулевого механизма.

[4]

Известен рулевой механизм колесного транспортного средства (авторское свидетельство №656900, B62D 3/02, опубликовано 15.04.1979), снабженный шестерней, установленной на рулевом валу, и зубчатым сектором, зацепленным с шестерней рулевого вала и расположенным концентрично ведущей шестерне, причем последняя установлена с эксцентриситетом относительно своей оси, а ведомые элементы выполнены в виде секторов, установленных с эксцентриситетом относительно осей поворота колес, при этом указанные эксцентриситеты равны и направлены по разные стороны оси вращения колес.

[5]

Недостатком известного устройства является сложность изготовления, обслуживания и, как следствие, высокая стоимость рулевого механизма.

[6]

Известен рулевой механизм колесного транспортного средства (патент №2271954, B62D 3/02, опубликовано 20.03.2006, выбран за прототип) (содержащий выходное звено рулевой колонки, пару ведомых зубчатых секторов, которые укреплены на валах поворота колес, и промежуточный элемент, обеспечивающий связь выходного звена рулевой колонки с парой одинаковых ведомых зубчатых секторов), ведомые зубчатые сектора имеют эллиптическую форму с центрами вращения в одном из фокусов и взаимно симметричны, а промежуточный элемент имеет три рабочих участка, два из которых находятся в зацеплении с эллиптическими зубчатыми секторами, а третий связан с выходным звеном рулевой колонки.

[7]

Недостатком известного устройства является сложность изготовления, обслуживание и, как следствие, высокая стоимость рулевого механизма.

[8]

Задачей изобретения является устранение указанных недостатков.

[9]

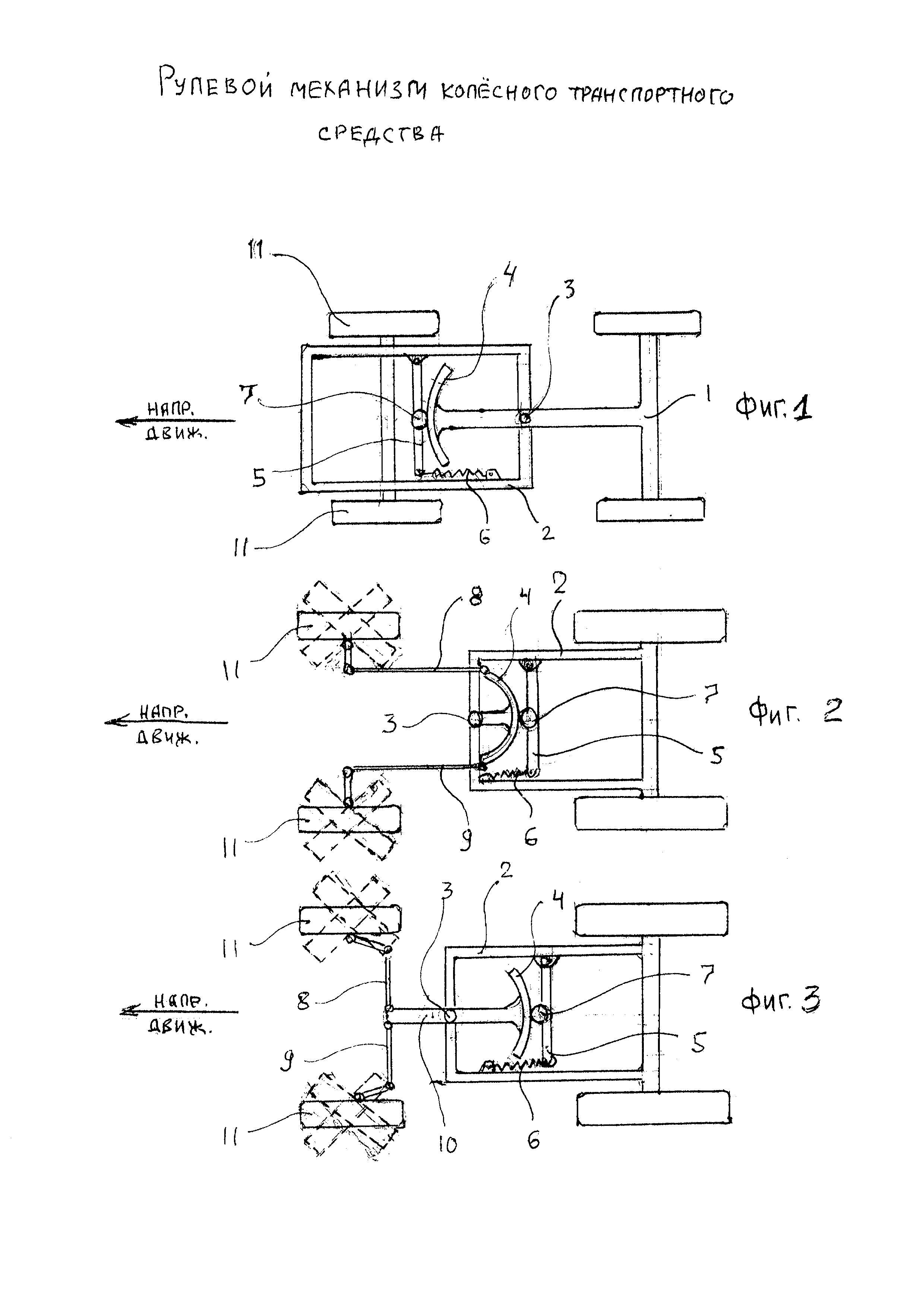
На фиг. 1 показан рулевой механизм, установленный на транспортном средстве с ломающейся рамой. На фиг. 2, 3 показаны рулевые механизмы с продольными и поперечными рулевыми тягами на транспортном средстве с передними направляющими колесами.

[10]

На фиг. 1 рулевой механизм установлен на транспортном средстве с ломающейся рамой, состоящей из двух частей 1 и 2, скрепленных осью 3, причем части 1 и 2 ломающейся рамы имеют возможность поворота относительно друг друга. Зубчатый сектор 4 установлен на раме 1 соосно оси 3. При этом звездочка 7, при помощи рычага 5 и пружины 6, прижимается к зубчатому сектору 4.

[11]

Рулевой механизм колесного транспортного средства с ломающейся рамой, указанный на фиг. 1, работает следующим образом.

[12]

При повороте рулевого колеса (на рисунке не указано) вправо относительно линии движения транспортного средства усилие при помощи рулевого вала (на рисунке не указан) передается шестерне (или зубчатому колесу) 7, которая жестко закреплена на этом рулевом валу. Шестерня (или зубчатое колесо) 7, вращаясь вправо, передает усилие зубчатому сектору 4 и заставляет его перемещаться влево относительно линии движения транспортного средства. При этом часть рамы 1, скрепленная осью 3 с рамой 2, и на которой расположены колеса 11, перемещается вправо относительно линии движения транспортного средства, заставляя двигаться транспортное средство вправо.

[13]

При повороте рулевого колеса (на рисунке не указано) влево относительно линии движения транспортного средства усилие при помощи рулевого вала (на рисунке не указан) передается шестерне (или зубчатому колесу) 7, которая жестко закреплена на этом рулевом валу. Шестерня (или зубчатое колесо) 7, вращаясь влево, передает усилие зубчатому сектору 4 и заставляет его перемещаться вправо относительно линии движения транспортного средства. При этом часть рамы 1, скрепленная осью 3 с рамой 2, и на которой расположены колеса 11, перемещается влево относительно линии движения транспортного средства, заставляя двигаться транспортное средство влево.

[14]

На фиг. 2 показан рулевой механизм транспортного средства с продольными рулевыми тягами 8 и 9 и зубчатым сектором 4, который скреплен осью 3 с рамой 2. При этом звездочка 7, при помощи рычага 5 и пружины 6, прижимается к зубчатому сектору 4.

[15]

Рулевой механизм колесного транспортного средства с рулевыми тягами, указанный на фиг. 2, работает следующим образом.

[16]

При повороте рулевого колеса (на рисунке не указано) вправо относительно линии движения транспортного средства усилие при помощи рулевого вала (на рисунке не указан) передается шестерне (или зубчатому колесу) 7, которая жестко закреплена на этом рулевом валу. Шестерня (или зубчатое колесо) 7, вращаясь вправо, передает усилие зубчатому сектору 4 и перемещает его вправо относительно линии движения транспортного средства. Зубчатый сектор 4, шарнирно соединенный с продольной тягой 8, перемещает ее вперед (по линии движения транспортного средства). Продольная тяга 8 передает усилие колесу 11, которое поворачивает вправо. Продольная тяга 9 перемещается назад (по линии движения транспортного средства), поворачивая колесо 11 вправо.

[17]

При повороте рулевого колеса (на рисунке не указано) влево относительно линии движения транспортного средства усилие при помощи рулевого вала (на рисунке не указан) передается шестерне (или зубчатому колесу) 7, которая жестко закреплена на этом рулевом валу. Шестерня (или зубчатое колесо) 7, вращаясь влево, передает усилие зубчатому сектору 4 и перемещает его влево относительно линии движения транспортного средства. Зубчатый сектор 4, шарнирно соединенный с продольной тягой 9, перемещает ее вперед (по линии движения транспортного средства). Продольная тяга 9 передает усилие колесу 11, которое поворачивает влево. Продольная тяга 8 перемещается назад (по линии движения транспортного средства), поворачивая колесо 11 влево.

[18]

На фиг. 3 показан вариант транспортного средства с рулевым механизмом, снабженным поперечными тягами 8 и 9 закрепленными на рычаге 10 с одной стороны и зубчатым сектором 4 с другой стороны. Рычаг 10 соединен с рамой 2 осью 3 и имеет возможность поворота. При этом звездочка 7, при помощи рычага 5 и пружины 6, прижимается к зубчатому сектору 4.

[19]

Рулевой механизм колесного транспортного средства, указанный на фиг. 3, работает следующим образом.

[20]

При повороте рулевого колеса (на рисунке не указано) вправо относительно линии движения транспортного средства усилие при помощи рулевого вала (на рисунке не указан) передается шестерне (или зубчатому колесу) 7, которая жестко закреплена на этом рулевом валу. Шестерня (или зубчатое колесо) 7, вращаясь вправо, передает усилие зубчатому сектору 4 и перемещает его вправо относительно линии движения транспортного средства. Поперечные тяги 8 и 8, соединенные шарнирно с рычагом 10, перемещаются влево и поворачивают колеса 11 вправо.

[21]

При повороте рулевого колеса (на рисунке не указано) влево относительно линии движения транспортного средства усилие при помощи рулевого вала (на рисунке не указан) передается шестерне (или зубчатому колесу) 7, которая жестко закреплена на этом рулевом валу. Шестерня (или зубчатое колесо) 7, вращаясь влево, передает усилие зубчатому сектору 4 и перемещает его влево относительно линии движения транспортного средства. Поперечные тяги 8 и 9, соединенные шарнирно с рычагом 10, перемещаются вправо и поворачивают колеса 11 влево.

[22]

Созданные два образца колесного транспортного средства с ломающейся рамой, оснащенные данным рулевым механизмом, показали абсолютную надежность, простоту в эксплуатации и ремонте предлагаемого рулевого механизма. Производство и оснащение колесных транспортных средств таким рулевым механизмом значительно упростит и удешевит их изготовление, а также техническое обслуживание.

Как компенсировать расходы
на инновационную разработку
Похожие патенты