патент
№ RU 2663537
МПК G01S3/78

ОПТИКО-ЭЛЕКТРОННОЕ УСТРОЙСТВО

Авторы:
Зарипов Ренат Исламович Фаткуллин Артур Эдуардович Балоев Виллен Арнольдович
Все (5)
Номер заявки
2017126855
Дата подачи заявки
25.07.2017
Опубликовано
07.08.2018
Страна
RU
Как управлять
интеллектуальной собственностью
Чертежи 
1
Реферат

Изобретение может быть использовано в системах наблюдения, выполненных на матричных фотоприемных устройствах (МФУ). Оптико-электронное устройство (ОЭУ) содержит оптическую систему, в фокальной плоскости которой расположено МФУ, выходы которого через многоканальное устройство аналоговой обработки (УАО) подключены к многоканальному аналого-цифровому преобразователю и далее через мультиплексор к видеовходу устройства видеообработки и управления (УВУ), а также блок управления, вход которого подключен к первому выходу УВУ, а соответствующие выходы подключены к управляющим входам многоканального УАО и МФУ, и устройство интерфейса, видеовход которого подключен к видеовыходу УВУ, а видеовыход является видеовыходом ОЭУ. Второй выход УВУ подключен к управляющему входу мультиплексора. УВУ выполнено в виде многопроцессорного устройства с возможностью порежимного и динамического перераспределения вычислительных ресурсов. Третий выход УВУ подключен к входу управления оптической системы, первый порт устройства интерфейса подключен к порту управления УВУ, а второй порт устройства интерфейса является портом управления ОЭУ. Технический результат - повышение быстродействия при расширении функциональных возможностей без значительного увеличения энергопотребления. 4 з.п. ф-лы, 1 ил.

Формула изобретения

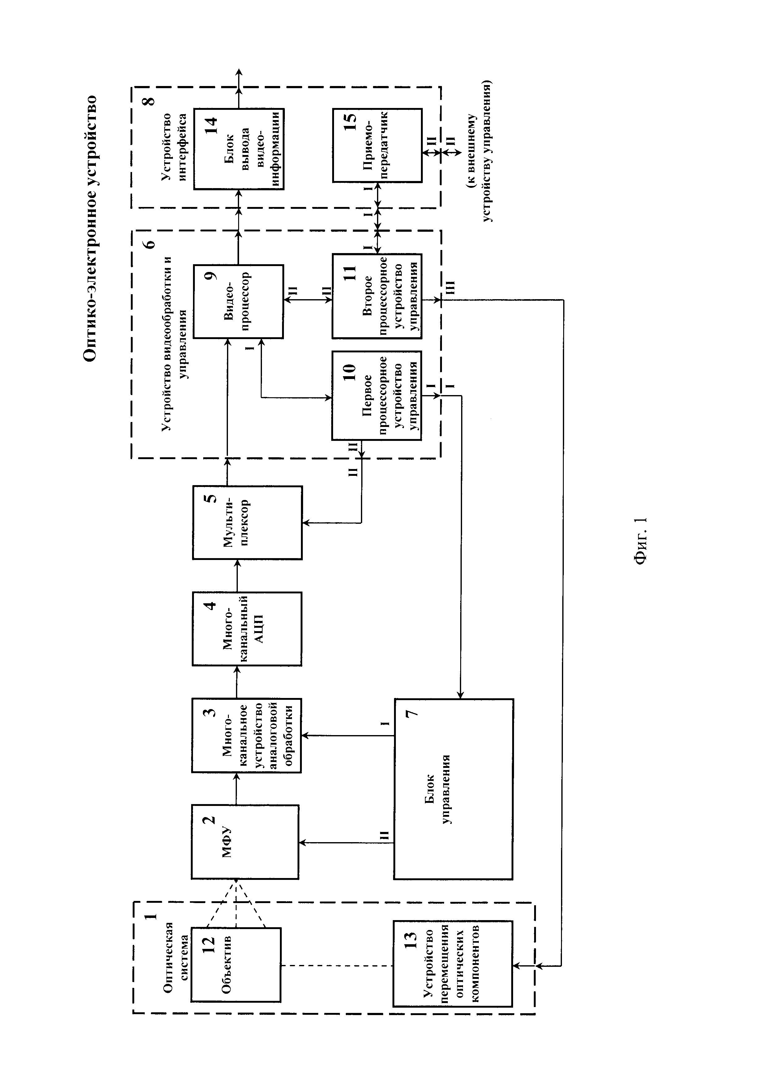
1. Оптико-электронное устройство, содержащее оптическую систему, в фокальной плоскости которой расположено матричное фотоприемное устройство (МФУ), выходы которого через многоканальное устройство аналоговой обработки (УАО) подключены к многоканальному аналого-цифровому преобразователю и далее через мультиплексор к видеовходу устройства видеообработки и управления (УВУ), а также блок управления, вход которого подключен к первому выходу УВУ, а соответствующие выходы подключены к управляющим входам многоканального УАО и МФУ, и устройство интерфейса, видеовход которого подключен к видеовыходу УВУ, а видеовыход является видеовыходом оптико-электронного устройства, при этом второй выход УВУ подключен к управляющему входу мультиплексора, отличающееся тем, что УВУ выполнено в виде многопроцессорного устройства с возможностью порежимного и динамического перераспределения вычислительных ресурсов, при этом третий выход УВУ подключен к входу управления оптической системы, первый порт устройства интерфейса подключен к порту управления УВУ, а второй порт устройства интерфейса является портом управления оптико-электронного устройства.

2. Оптико-электронное устройство по п. 1, отличающееся тем, что УВУ содержит видеопроцессор, видеовход и видеовыход которого являются соответственно видеовходом и видеовыходом УВУ, первое процессорное устройство управления (ПУУ), первый и второй выходы которого являются соответственно первым и вторым выходами УВУ, а порт приема-передачи соединен с первым портом видеопроцессора, второе ПУУ, первый порт которого является портом управления УВУ, второй порт подключен ко второму порту видеопроцессора, а выход является третьим выходом УВУ.

3. Оптико-электронное устройство по п. 1, отличающееся тем, что оптическая система содержит объектив и устройство перемещения оптических компонентов объектива, вход которого является входом управления оптической системы.

4. Оптико-электронное устройство по п. 1, отличающееся тем, что устройство интерфейса содержит блок вывода видеоинформации, видеовход и видеовыход которого являются соответственно видеовходом и видеовыходом устройства интерфейса, и приемо-передатчик, первый и второй порты которого являются соответственно первым и вторым портом устройства интерфейса.

5. Оптико-электронное устройство по п. 1, отличающееся тем, что МФУ включает в себя N матричных фотоприемных устройств, где N≥1, каждое из которых расположено в соответствующей фокальной плоскости оптической системы, при этом блок управления выполнен многоканальным.

Описание

[1]

Изобретение относится к оптическому приборостроению и может быть использовано в системах наблюдения, выполненных на матричных фотоприемных устройствах (МФУ).

[2]

Известно оптико-электронное устройство (патент RU 2558351, МПК H04N 5/33, опубликован 10.08.2015 г.), содержащее объектив, в фокальной плоскости которого расположено матричное фотоприемное устройство, выходами подключенное к входам многоканального предварительного усилителя, аналого-цифровой преобразователь, мультиплексор, блок управления, выход которого подключен к управляющему входу фотоприемного устройства, видеопроцессор, управляющим выходом подключенный к входу блока управления и управляющему входу мультиплексора, блок вывода видеосигнала, выход которого является выходом тепловизионного канала, блок аппаратной обработки сигналов, включенный между выходом мультиплексора и входом блока вывода видеосигнала и подключенный портом ввода-вывода данных к соответствующему порту видеопроцессора, а управляющим входом к управляющему выходу видеопроцессора, при этом блок аппаратной обработки сигналов реализован с возможностью одновременного выполнения как минимум двух различных вычислительных операций цифровой обработки данных.

[3]

Известно также оптико-электронное устройство, работающее в инфракрасной области спектра (патент RU 2387092, МПК H04N 5/33, опубликован 20.01.2010 г.), содержащее объектив, в фокальной плоскости которого расположено МФУ, выходы которого подключены к входам соответствующих предусилителей, последовательно соединенные многоканальный аналого-цифровой преобразователь (АЦП), входы которого подключены к выходам соответствующих предусилителей, мультиплексор, видеопроцессор и блок вывода видеосигнала, а также блок управления, выход которого подключен к управляющему входу МФУ.

[4]

Недостатком известных устройств-аналогов является невысокая надежность обнаружения тепловых объектов, вызванная ограниченностью согласования динамического диапазона изменения электрического сигнала с МФУ с допустимым входным диапазоном многоканального АЦП.

[5]

Прототипом является оптико-электронное устройство, работающее в инфракрасном диапазоне спектра (патент RU 2425463, МПК H04N 5/33, опубликован 27.07.2011 г.), содержащее оптическую систему, в фокальной плоскости которой расположено МФУ, выходы которого через многоканальное устройство аналоговой обработки (УАО) подключены к многоканальному АЦП и далее через мультиплексор к видеовходу устройства видеообработки и управления (УВУ), блок управления, вход которого подключен к первому выходу УВУ, первый выход блока управления подключен к управляющему входу многоканального УАО, а второй выход - к управляющему входу МФУ, устройство интерфейса, видеовход которого подключен к видеовыходу УВУ, а видеовыход является видеовыходом оптико-электронного устройства, при этом второй выход УВУ подключен к управляющему входу мультиплексора.

[6]

Подобное устройство с помощью многоканального УАО, управляемого через блок управления устройством УВУ, обеспечивает автоматическое оптимальное согласование динамического диапазона выходного сигнала с МФУ с допустимым входным диапазоном многоканального АЦП и повышение за счет этого надежности обнаружения тепловых объектов.

[7]

Недостатком такого оптико-электронного устройства является существенное снижение быстродействия за счет повышенной загруженности УВУ, связанной с необходимостью обработки большого объема информации для управления многоканальным УАО.

[8]

Данный недостаток усиливается при возможном использовании в таком оптико-электронном устройстве дополнительных устройств и режимов обработки информации, позволяющих расширить его функциональные возможности, а именно:

[9]

- режимов поиска, дешифрования и сопровождения объекта наблюдения;

[10]

- МФУ, работающих в нескольких спектральных диапазонах излучения (как конструктивно независимых, так и совмещенных в одной конструкции), с повышенным форматом матрицы (не менее 640×512 пикселей), что значительно увеличивает надежность обнаружения тепловых объектов (см. В.В. Тарасов и др. Инфракрасные системы "смотрящего" типа, Москва, Логос, 2004 г., стр. 419-421);

[11]

- высокоточных механизмов перемещения оптических компонентов, позволяющих проводить автофокусировку, т.е. скомпенсировать температурную расфокусировку оптической системы, обусловленную, в частности, значительными температурными коэффициентами показателей преломления оптических материалов, особенно оптических материалов, прозрачных в ИК диапазоне, что позволяет существенно расширить рабочий диапазон температуры оптико-электронных устройств. Это особенно актуально для сложных оптических систем, например систем, позволяющих получить изображение в двух и более спектральных диапазонах (см. В.В. Тарасов и др. Инфракрасные системы "смотрящего" типа, Москва, Логос, 2004 г., стр. 97);

[12]

- скоростных помехозащищенных устройств ввода-вывода.

[13]

Увеличение быстродействия оптико-электронного устройства при использовании дополнительных устройств и режимов обработки информации возможно за счет параллельной обработки информации, т.е. создания многопроцессорных систем, в которых для решения каждого определенного круга задач используется отдельный процессор, работающий параллельно с другими, например, как в астровизирующем приборе (патент RU 2540136, МПК G01C 21/02, опубликован 10.02.2015 г.).

[14]

Для своевременного решения задач от каждого из процессоров в определенные интервалы времени требуется значительная вычислительная мощность. Использование в оптико-электронном устройстве ряда мощных процессоров приводит к повышенному энергопотреблению и внутреннему перегреву аппаратуры, что часто неприемлемо, особенно для переносных компактных приборов, беспилотных летательных аппаратов и т.д. При этом процессоры загружены во времени неравномерно, т.е. в определенные моменты времени (в общем случае разные для разных процессоров) их вычислительные мощности используются максимально, а в какие-то - не полностью, или практически не используются вообще (энергопотребление при этом снижается незначительно).

[15]

Задачей изобретения является разработка оптико-электронного устройства, в котором устранены недостатки аналогов и прототипа.

[16]

Техническим результатом изобретения является повышение быстродействия при расширении функциональных возможностей оптико-электронного устройства без значительного увеличения энергопотребления.

[17]

Технический результат достигается тем, что в оптико-электронном устройстве, содержащем оптическую систему, в фокальной плоскости которой расположено матричное фотоприемное устройство (МФУ), выходы которого через многоканальное устройство аналоговой обработки (УАО) подключены к многоканальному аналого-цифровому преобразователю и далее через мультиплексор к видеовходу устройства видеообработки и управления (УВУ), а также блок управления, вход которого подключен к первому выходу УВУ, а соответствующие выходы - к управляющим входам многоканального УАО и МФУ, и устройство интерфейса, видеовход которого подключен к видеовыходу УВУ, а видеовыход является видеовыходом оптико-электронного устройства, при этом второй выход УВУ подключен к управляющему входу мультиплексора, согласно настоящему изобретению, УВУ выполнено в виде многопроцессорного устройства с возможностью порежимного и динамического перераспределения вычислительных ресурсов, при этом третий выход УВУ подключен к входу управления оптической системы, первый порт устройства интерфейса подключен к порту управления УВУ, а второй порт устройства интерфейса является портом управления оптико-электронного устройства.

[18]

УВУ содержит видеопроцессор, видеовход и видеовыход которого являются соответственно видеовходом и видеовыходом УВУ, первое процессорное устройство управления (ПУУ), первый и второй выходы которого являются соответственно первым и вторым выходами УВУ, а порт приема-передачи соединен с первым портом видеопроцессора, второе ПУУ, первый порт которого является портом управления УВУ, второй порт подключен ко второму порту видеопроцессора, а выход является третьим выходом УВУ.

[19]

Оптическая система содержит объектив и устройство перемещения оптических компонентов объектива, вход которого является входом управления оптической системы.

[20]

Устройство интерфейса содержит блок вывода видеоинформации, видеовход и видеовыход которого являются соответственно видеовходом и видеовыходом устройства интерфейса, и приемо-передатчик, первый и второй порты которого являются соответственно первым и вторым портом устройства интерфейса.

[21]

МФУ включает в себя N матричных фотоприемных устройств, где N≥1, каждое из которых расположено в соответствующей фокальной плоскости оптической системы, при этом блок управления выполнен многоканальным.

[22]

Сущность изобретения поясняется чертежом (фиг. 1), на котором представлена функциональная схема предлагаемого оптико-электронного устройства.

[23]

На чертеже блоки и узлы оптико-электронного устройства обозначены следующими позициями:

[24]

1 - оптическая система,

[25]

2 - матричное фотоприемное устройство,

[26]

3 - многоканальное устройство аналоговой обработки,

[27]

4 - многоканальный аналого-цифровой преобразователь,

[28]

5 - мультиплексор,

[29]

6 - устройство видеообработки и управления,

[30]

7 - блок управления,

[31]

8 - устройство интерфейса,

[32]

9 - видеопроцессор,

[33]

10 - первое процессорное устройство управления,

[34]

11 - второе процессорное устройство управления,

[35]

12 - объектив,

[36]

13 - устройство перемещения оптических компонентов,

[37]

14 - блок вывода видеоинформации,

[38]

15 - приемо-передатчик.

[39]

Оптико-электронное устройство содержит оптическую систему 1, в фокальной плоскости которой расположено матричное фотоприемное устройство 2 (МФУ), выходы которого через многоканальное устройство 3 аналоговой обработки (УАО) подключены к многоканальному аналого-цифровому преобразователю 4 (АЦП) и далее через мультиплексор 5 к видеовходу устройства 6 видеообработки и управления (УВУ).

[40]

Оптико-электронное устройство также содержит блок 7 управления и устройство 8 интерфейса.

[41]

Вход блока 7 управления подключен к первому выходу УВУ 6. Второй выход УВУ 6 подключен к управляющему входу мультиплексора 5. Первый выход блока 7 управления подключен к управляющему входу многоканального УАО 3, а второй выход - к управляющему входу МФУ 2.

[42]

Видеовход устройства 8 интерфейса подключен к видеовыходу УВУ 6. Видеовыход устройства 8 интерфейса является видеовыходом оптико-электронного устройства.

[43]

Отличием предлагаемого оптико-электронного устройства является то, что УВУ 6 выполнено в виде многопроцессорного устройства с возможностью порежимного и динамического перераспределения вычислительных ресурсов, при этом третий выход УВУ 6 подключен к входу управления оптической системы 1, первый порт устройства 8 интерфейса подключен к порту управления УВУ 6, а второй порт устройства 8 интерфейса является портом управления оптико-электронного устройства.

[44]

УВУ 6 содержит видеопроцессор 9, первое 10 и второе 11 процессорные устройства управления (ПУУ). В общем случае многопроцессорное УВУ 6 может содержать К процессорных устройств управления, где К>1. Их количество зависит от сложности выполняемых оптико-электронным устройством задач и требуемой скорости их решения. Видеовход и видеовыход видеопроцессора 9 являются соответственно видеовходом и видеовыходом УВУ 6. Первый и второй выходы первого процессорного устройства 10 управления являются соответственно первым и вторым выходами УВУ 6, а порт приема-передачи первого ПУУ 10 соединен с первым портом видеопроцессора 9. Первый порт второго процессорного устройства 11 управления является портом управления УВУ 6. Второй порт второго ПУУ 11 подключен ко второму порту видеопроцессора 9. Выход второго ПУУ 11 является третьим выходом УВУ 6. Оптическая система 1 содержит объектив 12 и устройство 13 перемещения оптических компонентов объектива. Объектив 12 для получения равномерной освещенности и однородного качества изображения на всех чувствительных элементах МФУ 2 включает в себя, как правило, несколько оптических компонентов - зеркал, линз, в том числе расфокусирующей линзы, используемых в режиме калибровки (на фиг. 1 не показаны). Компенсация температурного ухода фокальной плоскости объектива 12 от плоскости размещения матрицы чувствительных элементов МФУ (на фиг. 1 не показана) обеспечивается соответствующим механическим перемещением оптических компонентов объектива 12 (см. В.В. Тарасов и др. Инфракрасные системы "смотрящего" типа, Москва, Логос, 2004 г., стр. 97) с помощью устройства 13 перемещения оптических компонентов, состоящего, например, из ряда прецизионных механических приводов (на фиг. 1 не показаны). Устройство 13 перемещения оптических компонентов включает в себя и привод расфокусирующих линз, в качестве которого, для ускорения перемещения, может быть использован релейный механизм (на фиг. 1 не показан). Вход устройства 13 перемещения оптических компонентов является входом управления оптической системы 1. Устройство 8 интерфейса содержит блок 14 вывода видеоинформации и приемо-передатчик 15. Видеовход и видеовыход блока 14 вывода видеоинформации являются соответственно видеовходом и видеовыходом устройства 8 интерфейса. Порты I и II приемо-передатчика 15 являются соответственно портами I и II устройства 8 интерфейса. МФУ 2 включает в себя N матричных фотоприемных устройств, где N≥1, каждое из которых расположено в соответствующей фокальной плоскости оптической системы 1. Блок 7 управления выполнен многоканальным.

[45]

Оптико-электронное устройство работает следующим образом.

[46]

Рассмотрим более подробно основные режимы работы оптико-электронного устройства.

[47]

1. Режим установки оптимальных характеристик оптико-электронного устройства

[48]

После включения оптико-электронного устройства излучение наблюдаемой сцены с помощью объектива 12 фокусируется на чувствительные элементы МФУ 2.

[49]

Электрические сигналы с выхода МФУ 2 через многоканальное УАО 3, многоканальный АЦП 4, поступают на мультиплексор 5, с выхода которого видеопроцессор 9 многопроцессорного УВУ 6 принимает последовательность цифровых сигналов двумерного массива данных, соответствующих кадру, проводит их обработку, формирует цифровой видеокадр, проводит обработку цифрового видеокадра и т.д.

[50]

Из видеопроцессора 9 этот двумерный массив данных поступает также в первое ПУУ 10 и второе ПУУ 11 многопроцессорного УВУ 6.

[51]

Первое ПУУ 10 проводит обработку массива - определяет динамический диапазон и среднее значение сигналов с чувствительных элементов МФУ 2 и с учетом полученных результатов рассчитывает и устанавливает с помощью многоканального блока 7 управления необходимые характеристики многоканального УАО 3, обеспечивающие оптимальное согласование динамического диапазона выходного сигнала фотоприемного устройства МФУ 2 с допустимым входным диапазоном многоканального АЦП 4, оптимальное время накопления МФУ 2.

[52]

Кроме того, первое ПУУ 10 выдает постоянно формируемые во всех режимах работы оптико-электронного устройства, необходимые для его функционирования сигналы управления мультиплексором 5.

[53]

Второе ПУУ 11 помимо приема-передачи информации (например, по каналу CAN) осуществляет опрос ряда датчиков температуры, установленных внутри оптико-электронного устройства (на фиг. 1 не показаны) и, в соответствии с текущим распределением температур внутри оптико-электронного устройства, по ранее заложенным в него зависимостям, полученным, как правило, эмпирическим путем, рассчитывает требуемое для текущего момента времени положение оптических компонентов объектива 12, обеспечивающее совпадение с требуемой точностью расположения фокальной плоскости объектива 12 с плоскостью расположения матрицы чувствительных элементов МФУ 2 и осуществляет установку их в это положение с помощью устройства 13 перемещения оптических компонентов (осуществляет автофокусировку).

[54]

Затем видеопроцессор 9 через второе ПУУ 11 и приемо-передатчик 15 высылает внешнему управляющему устройству (на фиг. 1 не показано) запрос на калибровку.

[55]

Далее, при получении от внешнего управляющего устройства через порт II приемо-передатчика 15 устройства 8 интерфейса и порт I второго ПУУ 11 многопроцессорного УВУ 6 команды на калибровку, оптико-электронное устройство переходит в режим калибровки.

[56]

2. Режим калибровки

[57]

Калибровка проводится каждый раз после включения оптико-электронного устройства или в процессе работы в случае значительного изменения интенсивности принимаемого МФУ 2 излучения.

[58]

При проведении калибровки штатная работа оптико-электронного устройства прерывается, поэтому время калибровки должно быть минимальным (порядка 0,1…0,2 с). В связи с этим процесс калибровки осуществляется, как правило, видеопроцессором 9, первым ПУУ 10 и вторым ПУУ 11 многопроцессорного УВУ 6, т.е. в процессе используется максимум вычислительных ресурсов.

[59]

При этом для освобождения вычислительных ресурсов в этот период:

[60]

- видеопроцессор 9 не формирует видеоизображение (не выдает видеосигнал на устройство 8 интерфейса);

[61]

- первое ПУУ 10 не анализирует видеосигнал с целью оптимизации характеристик многоканального УАО 3 и МФУ 2 (сохраняются их ранее установленные характеристики), а лишь формирует сигналы, необходимые для функционирования фотоприемных устройств МФУ 2 и мультиплексора 5;

[62]

- второе ПУУ 11 не выдает и не принимает сигналы с приемо-передатчика 15, не анализирует сигналы с термодатчиков, не управляет устройством 13 перемещения оптических компонентов (за исключением расфокусирующей линзы - на фиг. 1 не показана).

[63]

При проведении калибровки второе ПУУ 11 осуществляет с помощью устройства 13 перемещения оптических компонентов полную расфокусировку объектива 12, например, быстрым введением с помощью релейного механизма в оптический канал расфокусирующей линзы, что обеспечивает поступление одинаковых оптических сигналов на все чувствительные элементы фотоприемных устройств МФУ 2.

[64]

Первое ПУУ 10 устанавливает минимальное значение времени интегрирования, равное Int 1.

[65]

Массивы данных, полученных при времени интегрирования Int 1, поступают в видеопроцессор 9, первое ПУУ 10 и второе ПУУ 11, при этом каждое из этих устройств работает со своей частью кадра, размеры которой зависят от свободной вычислительной мощности соответствующего устройства, затем устанавливает другое значение времени интегрирования, равное Int 2 (Int 2 > Int 1), что изменяет величину сигналов на выходе чувствительных элементов МФУ 2.

[66]

Данные этого массива используются вместе с данными Int 1 для определения неоднородности на определенном участке характеристики для каждого из чувствительных элементов соответствующих фотоприемных устройств МФУ 2 (вычисление поправочных коэффициентов и поправочных смещений).

[67]

Операция повторяется при других значениях Int (при значениях Int 2 и Int 3, Int 3 и Int 4, и т.д.), т.е. осуществляется многоточечная коррекция. По завершении калибровки все вычисленные поправочные значения поступают в видеопроцессор 9 для использования при обработке массивов данных с учетом неоднородности чувствительных элементов соответствующих фотоприемных устройств МФУ 2. Далее оптико-электронное устройство переходит в режим поиска объекта наблюдения.

[68]

3. Режим поиска объекта наблюдения

[69]

В этом режиме:

[70]

- видеопроцессор 9 осуществляет обработку поступающих на него массивов данных в реальном масштабе времени с учетом дефектных чувствительных элементов и неоднородности чувствительных элементов, с наложением на кадр служебной информации и т.д. и выдает видеоинформацию через блок 14 вывода видеоинформации;

[71]

- первое ПУУ 10 обрабатывает поступающие на него через видеопроцессор 9 массивы данных и с помощью блока 7 управления постоянно оптимизирует характеристики многоканального УАО 3, управляет работой устройства МФУ 2 и мультиплексора 5, при значительном изменении входных данных, например, значительном изменении интенсивности принимаемого МФУ 2 излучения выдает через видеопроцессор 9 запрос на калибровку или проводит ее автоматически;

[72]

- второе ПУУ 11 обеспечивает прием, обработку и передачу служебной информации через приемо-передатчик 15, обрабатывает данные с температурных датчиков оптико-электронного устройства и управляет устройством 13 перемещения оптических компонентов для осуществления температурной автофокусировки.

[73]

Кроме того, первое ПУУ 10 и второе ПУУ 11 осуществляют постоянный анализ поступающих массивов данных на наличие объектов наблюдения с определенными признаками (размеры, контраст), при этом каждое из устройств анализирует свою группу признаков.

[74]

При появлении таких объектов наблюдения второе ПУУ 11 выдает через приемо-передатчик 15 соответствующую информацию во внешнее устройство управления и переходит (автоматически или по команде с внешнего устройства управления) в режим дешифрирования изображения объекта наблюдения, при этом при наличии в канале широкого и узкого полей зрения устанавливается путем перемещения оптических компонентов объектива 12 оптической системы 1 узкое поле зрения.

[75]

4. Режим дешифрирования изображения объекта наблюдения

[76]

Дешифрирование изображения объекта наблюдения осуществляется по его дешифровочным признакам, например:

[77]

- по характеру распределения радиационной температуры по площади объекта наблюдения, т.е. по показателям текстуры ("грубость", вытянутость, контраст, регулярность, "шероховатость" и т.д.);

[78]

- по форме объекта наблюдения (компактность, прямолинейность, резкость, коллинеарность, симметричность и т.д.).

[79]

Расчет этих показателей проводится по определенным алгоритмам.

[80]

При выполнении оптико-электронным устройством данной задачи время дешифрирования является критичной величиной и, как правило, не должно превышать 0,2…0,5 с (в зависимости от назначения оптико-электронного устройства).

[81]

Расчет показателей выполняют видеопроцессор 9, первое ПУУ 10 и второе ПУУ 11 (каждое рассчитывает свои определенные признаки). На время расчетов их вычислительные ресурсы направляются, в основном, на решение этих задач, поэтому во время этих расчетов:

[82]

- первое ПУУ 10 не корректирует работу МФУ 2 и многоканального УАО 3 (сохраняются ранее установленные режимы);

[83]

- второе ПУУ 11 не управляет перемещением оптических компонентов и не работает с приемо-передатчиком 15;

[84]

- видеопроцессор 9 работает в режиме с меньшей частотой выдачи кадров.

[85]

Рассчитанные первым ПУУ 10 и вторым ПУУ 11 значения передаются в видеопроцессор 9, где происходит сравнение совокупности всех вычисленных ими показателей объекта наблюдения (метрики объекта) с хранящимися в памяти видеопроцессора 9 метриками известных (представляющих интерес) объектов наблюдения.

[86]

При совпадении с определенной точностью с какой-либо из метрик видеопроцессор 9 фиксирует наличие объекта наблюдения, соответствующего этой метрике, в известной области поля зрения оптико-электронного устройства, выдает информацию о нем через второе ПУУ 11 и приемо-передатчик 15 внешнему устройству управления и при поступлении с него соответствующей команды переходит в режим сопровождения объекта наблюдения.

[87]

5. Режим сопровождения объекта наблюдения

[88]

В этом режиме:

[89]

- видеопроцессор 9 производит с повышенной частотой прием и обработку массивов данных соответствующих кадру (или, как правило, части кадра, для чего, для ускорения работы МФУ 2 переходит в "оконный" режим, когда выводятся данные лишь с определенного выбранного участка ("окна") фотоприемного устройства МФУ 2 и определяет положение объекта наблюдения на матрице МФУ 2;

[90]

- второе ПУУ 11 осуществляет с повышенной частотой прием данных через приемо-передатчик 15 от внешнего устройства управления, в том числе данных о положении (перемещении в процессе сопровождения) оптической оси оптико-электронного устройства, выдает через приемо-передатчик 15 устройства 8 интерфейса во внешнее устройство управления поступающие с видеопроцессора 9 текущие данные о положении объекта наблюдения на матрицах МФУ 2, рассчитывает предполагаемую траекторию перемещения объекта наблюдения;

[91]

- первое ПУУ 10 через блок 7 управления осуществляет управление "окнами" фотоприемного устройства МФУ 2 с учетом текущего положения объекта наблюдения и данных о предполагаемой траектории его перемещения, поступающих через видеопроцессор 9 со второго ПУУ 11 на первое ПУУ 10. Кроме того, в зависимости от параметров (размеров) "окна" первое ПУУ 10 корректирует управление мультиплексором 5.

[92]

Для освобождения вычислительных ресурсов в режиме сопровождения объекта наблюдения:

[93]

- первое ПУУ 10 не анализирует видеосигналы для оптимизации характеристик многоканального УАО 3 и МФУ 2, сохраняя их ранее установленные характеристики;

[94]

- второе ПУУ 11 не анализирует сигналы с датчиков температуры, не выдает сигналы управления на устройство 13 перемещения оптических компонентов.

[95]

В рассмотренных выше основных режимах все операции должны выполняться максимально быстро (с полным использованием вычислительных ресурсов).

[96]

Приведенное распределение вычислительных ресурсов в каждом из основных режимов (порежимное распределение) является ориентировочным и в реальном случае не всегда оптимально, т.к. время на выполнение операций может отличаться от ожидаемого.

[97]

Например, время обработки массива данных, соответствующих кадру, будет разным у МФУ с большим (несколько тысяч) и малым (единицы) числом дефектных чувствительных элементов, время дешифрирования изображения будет зависеть от условий наблюдения, качества изображения, типа наблюдаемого объекта и т.д.

[98]

В связи с этим в многопроцессорном УВУ 6 использован режим динамического перераспределения вычислительных ресурсов его составных частей, осуществляемого автоматически по определенным алгоритмам.

[99]

Например, возможно перераспределение вычислительных ресурсов между видеопроцессором 9, первым ПУУ 10 и вторым ПУУ 11 при обработке массивов данных в режиме калибровки, перераспределение анализируемых признаков между первым ПУУ 10 и вторым ПУУ 11 в режиме поиска объекта наблюдения, перераспределение рассчитываемых показателей между видеопроцессором 9, первым ПУУ 10 и вторым ПУУ 11 в режиме дешифрования изображения и т.д. Такое перераспределение вычислительных ресурсов позволяет обеспечить максимальную загрузку, а значит и быстродействие, в любой момент времени всех составных частей многопроцессорного УВУ 6.

[100]

Таким образом, использование предлагаемого изобретения позволит повысить быстродействие при расширении функциональных возможностей оптико-электронного устройства без значительного увеличения энергопотребления. Указанный технический результат достигается благодаря тому, что устройство видеообработки и управления выполнено в виде многопроцессорного УВУ 6 на экономичных процессорах невысокой мощности с возможностью порежимного и динамического перераспределения вычислительных ресурсов, что обеспечивает максимальную загрузку всех процессоров и высокую суммарную производительность при разных режимах работы оптико-электронного устройства без значительного увеличения энергопотребления, что является важным при использовании оптико-электронного устройства в составе, например, переносных компактных приборов или беспилотных летательных аппаратов.

Как компенсировать расходы
на инновационную разработку
Похожие патенты