патент
№ RU 2678601
МПК F16K17/40

Отсечной клапан

Авторы:
Тумановская Валентина Павловна Лобанов Олег Александрович Лавров Сергей Владимирович
Все (4)
Номер заявки
2017145525
Дата подачи заявки
25.12.2017
Опубликовано
30.01.2019
Страна
RU
Как управлять
интеллектуальной собственностью
Чертежи 
1
Реферат

Изобретение относится к области отсечки тяги РДТТ и направлено на совершенствование отсечных клапанов, работающих на продуктах сгорания ракетных топлив. Отсечной клапан состоит из корпуса, соединенного жестко с комбинированной заглушкой, содержащей сферическую и цилиндрическую части, кольцевого детонирующего заряда, охватывающего цилиндрическую часть заглушки, электродетонатора, установленного напротив кольцевого детонирующего заряда, выполненного с кольцевой кумулятивной канавкой, направленной в сторону цилиндрической части заглушки, при этом внутренняя часть корпуса и комбинированная заглушка защищены теплоизолятором, при этом в корпус установлен вкладыш из эрозионно-стойкого пресс-материала, геометрически вкладыш представляет собой сопло Лаваля с критической и разнонаправленными расширяющимися частями. Закритическая часть вкладыша расположена напротив ДУЗа и защищена снаружи металлической втулкой, установленной на адгезионном составе. Техническим результатом является повышение надежности работы клапана. 3 з.п. ф-лы, 1 ил.

Формула изобретения

1. Отсечной клапан, состоящий из корпуса, соединенного жестко с комбинированной заглушкой, содержащей сферическую и цилиндрическую части, кольцевого детонирующего заряда (ДУЗа), выполненного с кольцевой кумулятивной канавкой, направленной в сторону цилиндрической части заглушки, электродетонатора, установленного напротив кольцевого детонирующего заряда, при этом внутренняя часть корпуса и комбинированная заглушка защищены теплоизоляцией, отличающийся тем, что в корпус установлен вкладыш из эрозионно-стойкого пресс-материала, геометрически вкладыш представляет собой сопло Лаваля с критической и разнонаправленными расширяющимися частями, при этом закритическая часть вкладыша расположена напротив ДУЗа и защищена снаружи металлической втулкой, установленной на адгезионном составе.

2. Отсечной клапан по п. 1, отличающийся тем, что выходной диаметр закритической части вкладыша определяется по формуле:

, где

da - выходной диаметр закритической части, мм;

dkp - диаметр критического сечения вкладыша, мм;

Рк.с - расчетное давление в камере сгорания, МПа;

βкр - расходный комплекс топлива, м/с;

ρa - плотность газа на срезе, кг/м3;

Iуд.п - импульс удельный пустотный, м/с.

3. Отсечной клапан по п. 1, отличающийся тем, что цилиндрическая часть заглушки установлена по посадке во втулку, выполненную как минимум с двумя направляющими.

4. Отсечной клапан по п. 1, отличающийся тем, что в направляющую, расположенную дальше от ДУЗа, установлено герметизирующее уплотнение.

Описание

[1]

Изобретение относится к области отсечки тяги РДТТ и направлено на совершенствование отсечных клапанов, работающих на продуктах сгорания ракетных топлив при использовании его в РД, предназначенного для посадки кабины космонавтов на землю.

[2]

Известна конструкция отсечного клапана, состоящего из корпуса, соединенного жестко с комбинированной заглушкой, содержащей сферическую и цилиндрическую части, кольцевого детонирующего заряда, выполненного с кольцевой кумулятивной канавкой, направленной в сторону цилиндрической части заглушки, электродетонатора, установленного напротив кольцевого детонирующего заряда, при этом внутренняя часть корпуса и комбинированная заглушка защищены теплоизоляцией (А.М. Липанов, А.В. Алиев. Проектирование ракетных двигателей твердого топлива. Москва. Машиностроение. 1995 г. Стр. 306. Рис. 8.36), принятого за прототип.

[3]

Недостаток такой конструкции заключается в том, что не конкретизирована форма сопла и степень его расширения, также в зазоре между срезом и корпусом возможны вихревые течения, что приведет к дополнительному нагреву конструкции, а введение дополнительного ТЗП и утолщение стенок ведут к увеличению веса всей конструкции. Также непонятно как происходит вылет заглушки, возможно заклинивание, что приведет к резкому повышению давления и разрушению летательного аппарата.

[4]

Задачей предполагаемого изобретения является повышение надежности работы отсечного клапана.

[5]

Указанная задача решается так, что в отсечном клапане, состоящем из корпуса, соединенного жестко с комбинированной заглушкой, содержащей сферическую и цилиндрическую части, сопла, кольцевого детонирующего заряда, выполненного с кольцевой кумулятивной канавкой, направленной в сторону цилиндрической части заглушки, электродетонатора, установленного напротив кольцевого детонирующего заряда, при этом внутренняя часть корпуса и комбинированная заглушка защищены теплоизоляцией, кроме того в корпус установлен вкладыш из эрозионностойкого прессматериала, геометрически вкладыш представляет собой сопло Лаваля с критической и разнонаправленными расширяющимися частями, закритическая часть вкладыша расположена напротив ДУЗа и защищена снаружи металлической втулкой, установленной на адгезионном составе, выходной диаметр закритической части вкладыша определяется по формуле:

[6]

, где

[7]

da - выходной диаметр закритической части, мм;

[8]

dkp - диаметр критического сечения вкладыша, мм;

[9]

Рк.с - давление в камере сгорания, Мпа;

[10]

β - расходный комплекс топлива, м/с;

[11]

ρа- плотность газа на срезе, кг/м3;

[12]

Iуд.п. - импульс удельный пустотный, м/с.

[13]

Цилиндрическая часть заглушки установлена по посадке во втулку, выполненную, как минимум, с двумя направляющими, в направляющую, расположенную дальше от ДУЗа, установлено герметизирующее уплотнение.

[14]

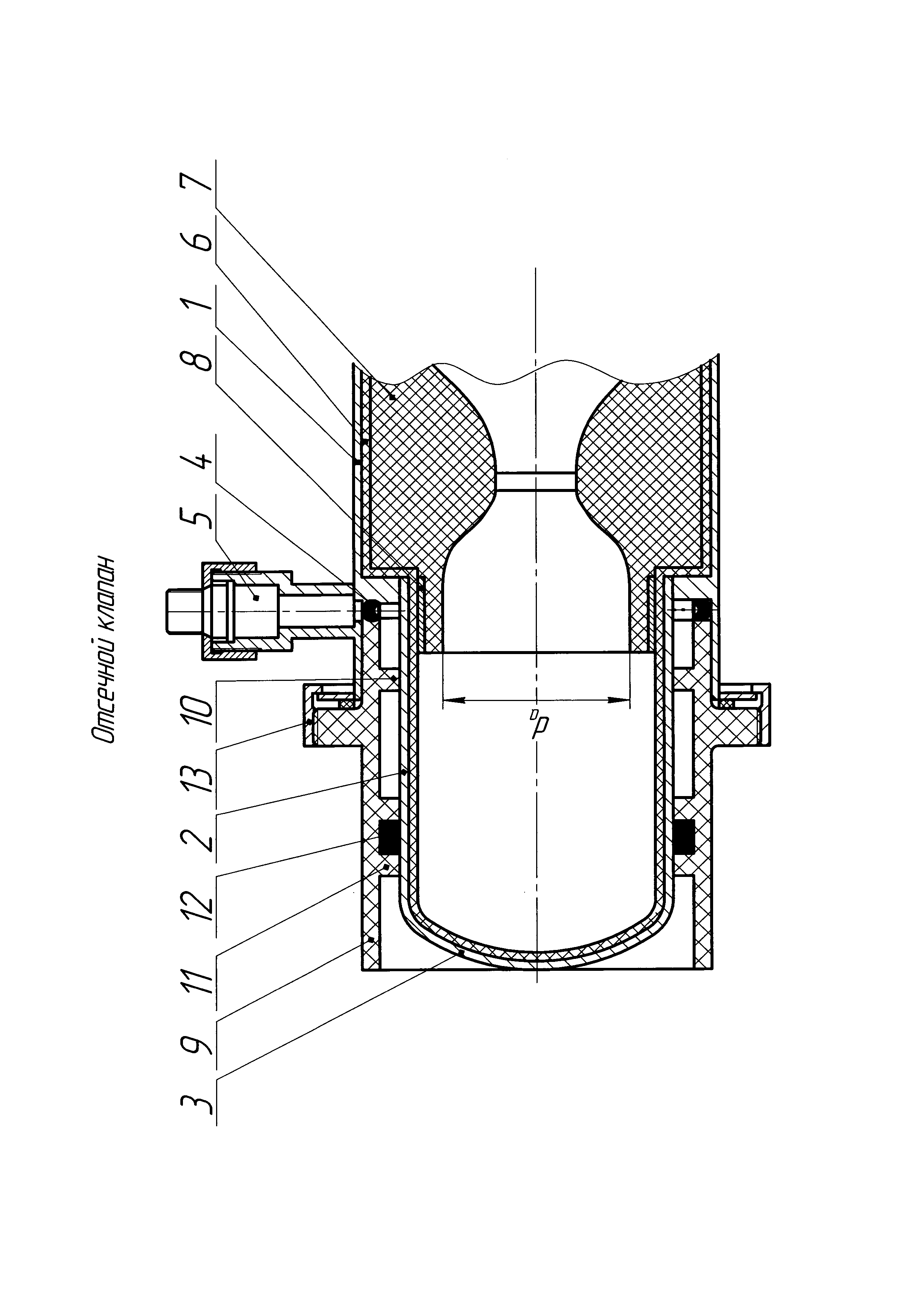
На представленной фигуре изображен общий вид отсечного клапана.

[15]

Отсечной клапан содержит корпус 1, жестко соединенный с комбинированной заглушкой, содержащей цилиндрическую 2 и сферическую 3 части, в корпусе 1 расположен кольцевой детонирующий заряд 4, охватывающий цилиндрическую часть 2 комбинированной заглушки, выполненный с кольцевой кумулятивной канавкой, направленной в сторону цилиндрической части 2 комбинированной заглушки. В корпусе 1, напротив кольцевого детонирующего заряда 4 установлен электродетонатор 5. Внутренняя часть корпуса 1 и комбинированная заглушка защищены теплоизоляцией 6.

[16]

В корпус 1 установлен вкладыш 7 из эрозионностойкого прессматериала в форме сопла Лаваля с критической и разнонаправленными расширяющимися частями, при этом диаметр среза сопла - da, выбран таким образом, чтобы при работе отсечного клапана давление на срезе сопла было меньше или равно атмосферному давлению (ра≤рн), т.е. чтобы сопло работало без перерасширения и недорасширения, что позволяет получить на выходе из отсечного клапана осесимметричный поток, не создающий вихревых течений в зазорах и исключить заброс давления в зону электродетонатора 5, его прогар и разрушение при посадке кабины космонавтов на землю.

[17]

Закритическая часть вкладыша 7 расположена напротив детонирующего заряда 4 и снаружи защищена металлической втулкой 8, установленной на адгезионном составе.

[18]

Выходной диаметр закритической части вкладыша 7 определяется по формуле:

[19]

, где

[20]

da - выходной диаметр закритической части, мм;

[21]

d - диаметр критического сечения вкладыша, мм;

[22]

Рк.с - давление в камере сгорания, Мпа;

[23]

β - расходный комплекс топлива, м/с;

[24]

ρа - плотность газа на срезе, кг/м3;

[25]

Iуд.п. - импульс удельный пустотный, м/с.

[26]

Цилиндрическая часть 2 заглушки установлена по посадке во втулку 9, выполненную, как минимум, с двумя направляющими 10 и 11. Втулка 9 установлена в корпус 1 на герметике и соединена с корпусом 1, при помощи гайки 13. В направляющую 11, расположенную дальше от ДУЗа, установлено герметизирующее уплотнение 12.

[27]

Применение вкладыша 7 из эрозионностойкого материала в форме сопла Лаваля где диаметр среза сопла - da, выбран таким образом, чтобы при работе отсечного клапана давление на срезе сопла было меньше или равно атмосферному давлению (ра≤рн), позволяет получить на выходе из отсечного клапана осесимметричный поток, не создающий вихревых течений в зазорах и исключить заброс давления в зону электродетонатора 5, его прогар и разрушение.

[28]

Установка втулки 9 по посадке с двумя направляющими 10 и 11 позволяет добиться контролируемого вылета заглушки при срабатывании отсечного клапана.

[29]

Установка металлической втулки 8 защищает закритическую часть вкладыша 7 от разрушения при срабатывании детонирующего заряда 4.

[30]

Соединение втулки 9 с корпусом 1 при помощи гайки 13 предотвращает вылет втулки 9 под действием усилий от взрыва детонирующего заряда 4.

[31]

Установка уплотнительного кольца 12 и втулки 9 в корпус 1 на герметике обеспечивает герметизацию детонирующего заряда.

[32]

В процессе работы продукты сгорания топлива, имеющие высокую температуру и давление, поступают во внутреннюю полость отсечного клапана и благодаря тому, что внутренняя полость защищена теплоизоляцией 6 не происходит преждевременное вскрытие заглушки. При подаче электрического сигнала на электродетонатор 5 происходит передача детонации к кольцевому детонирующему заряду 4, комбинированная заглушка разрушается под действием давления продуктов сгорания и вылетает из корпуса 1 без перекосов и закусываний. При дальнейшем работе отсечного клапана давление на срезе сопла меньше или равно атмосферному давлению (ра≤рн), что позволяет получить на выходе из отсечного клапана осесимметричный поток, не создающий вихревых течений в зазорах и исключить заброс давления в зону электродетонатора 5, его прогар и разрушение.

[33]

Таким образом, предложенная конструкция отсечного клапана обеспечивает повышение надежности работы отсечного клапана за счет исключения заброса давления в зону электродетонатора, исключает дополнительное температурное воздействие на корпус отсечного клапана, защиту докритической части вкладыша, контролируемый вылет комбинированной заглушки и герметизацию полости, в которую установлен детонирующий заряд.

Как компенсировать расходы
на инновационную разработку
Похожие патенты