патент
№ RU 2613101
МПК F02C7/20

Газотурбинный двигатель

Авторы:
Хрящиков Михаил Сергеевич Нихамкин Леонид Шмерович Красинский Леонид Григорьевич
Все (4)
Номер заявки
2015145851
Дата подачи заявки
26.10.2015
Опубликовано
15.03.2017
Страна
RU
Как управлять
интеллектуальной собственностью
Чертежи 
4
Реферат

[23]

Изобретение относится к двигателестроению, а именно к газотурбинным двигателям авиационного и наземного применения. Газотурбинный двигатель включает компрессор высокого давления, спрямляющий аппарат которого размещен на двух упругих обечайках диффузора камеры сгорания. Спрямляющий аппарат выполнен заодно с упругими обечайками или соединен с упругими обечайками при помощи пайки или сварки. Длина упругих обечаек составляет 0,3-3,5 Lca, где Lca - осевая ширина лопаток спрямляющего аппарата компрессора. Нижняя из обечаек закреплена с фланцем лабиринтного уплотнения с образованием замкнутой полости между ним и нижней упругой обечайкой. Фланец лабиринтного уплотнения может быть выполнен упругим и закреплен с нижней обечайкой при помощи болтовых соединений с самоконтрящимися гайками. Заявленное изобретение позволяет повысить надежность и ресурс работы газотурбинного двигателя, а также его экономичность. 1 з.п. ф-лы, 7 ил.

Формула изобретения

1. Газотурбинный двигатель, включающий компрессор высокого давления, спрямляющий аппарат которого размещен на двух упругих обечайках диффузора камеры сгорания, отличающийся тем, что спрямляющий аппарат выполнен заодно с упругими обечайками или соединен с упругими обечайками при помощи пайки или сварки, при этом длина упругих обечаек составляет 0,3-3,5 Lca, где Lca - осевая ширина лопаток спрямляющего аппарата компрессора, а нижняя из обечаек закреплена с фланцем лабиринтного уплотнения с образованием замкнутой полости между ним и нижней упругой обечайкой.

2. Газотурбинный двигатель по п. 1, отличающийся тем, что фланец лабиринтного уплотнения выполнен упругим и закреплен с нижней обечайкой при помощи болтовых соединений с самоконтрящимися гайками.

Описание

[1]

Изобретение относится к двигателестроению, а именно к газотурбинным двигателям авиационного и наземного применения.

[2]

Известен газотурбинный двигатель, содержащий статор, в котором внутренний корпус компрессора соединен с наружным силовым корпусом компрессора и с корпусом стоек камеры сгорания двумя упругими обечайками (патент РФ №2330167, F02C 7/20, опубл. 27.07.2008).

[3]

Недостатком известной конструкции является наличие соединения между внутренним корпусом КВД и корпусом стоек камеры сгорания, что приводит к снижению параметров компрессора из-за увеличения рабочих радиальных зазоров, в том числе при обдуве корпусов, а также громоздкость и увеличенная масса соединения.

[4]

Наиболее близким к заявляемой конструкции является газотурбинный двигатель, включающий компрессор высокого давления, спрямляющий аппарат которого размещен на двух упругих обечайках диффузора камеры сгорания (патент РФ №2463465, F02C 7/20, опубл. 10.10.2012). При этом спрямляющий аппарат компрессора расположен перед силовыми стойками диффузора.

[5]

Недостатком известной конструкции, принятой за прототип, является снижение экономичности газотурбинного двигателя из-за наличия стоек диффузора за спрямляющим аппаратом компрессора.

[6]

Технический результат заявляемого изобретения заключается в повышении надежности и ресурса работы газотурбинного двигателя, а также в его экономичности.

[7]

Указанный технический результат достигается тем, что в газотурбинном двигателе, включающем компрессор высокого давления, спрямляющий аппарат которого размещен на двух упругих обечайках диффузора камеры сгорания, согласно изобретению, спрямляющий аппарат выполнен заодно с упругими обечайками или соединен с упругими обечайками при помощи пайки или сварки, при этом длина упругих обечаек составляет 0,3-3,5 Lca, где Lca - осевая ширина лопаток (каждой лопатки) спрямляющего, а нижняя из обечаек закреплена с фланцем лабиринтного уплотнения с образованием замкнутой полости между ним и нижней упругой обечайкой.

[8]

При этом фланец лабиринтного уплотнения выполнен упругим и закреплен с нижней обечайкой при помощи болтовых соединений с самоконтрящимися гайками.

[9]

Выбор длины упругих обечаек обусловлен тем, что длина менее 0,3 Lca недостаточна для компенсации термических споров, а более 3,5 Lca - увеличивается податливость в радиальном направлении, что увеличивает колебания и массу обечайки.

[10]

Установка и закрепление фланца лабиринтного уплотнения с нижней из обечаек с образованием замкнутой полости между ним и нижней упругой обечайкой спрямляющего аппарата обеспечивает получение эффекта теплоизоляции спрямляющего аппарата и фланца, которая позволяет увеличить их тепловую инерцию и приблизить тепловую инерцию статорной части уплотнения к тепловой инерции массивной роторной части (уменьшаются износ и рабочие радиальные зазоры в лабиринтном уплотнении), а также позволяет уменьшить уступ по газовоздушному тракту перед спрямляющим аппаратом, что повышает надежность газотурбинного двигателя и его параметры. При этом исключение из конструкции стоек диффузора улучшает параметры двигателя за счет исключения потерь на стойках диффузора.

[11]

Закрепление фланца лабиринтного уплотнения при помощи болтовых соединений с самоконтрящимися гайками устраняет выпадение последних в надроторную полость при поломке болтового соединения и обеспечивает удобство сборки, а также позволяет конструктивно увеличить замкнутую полость и убрать резьбовые отверстия во фланце лабиринтного уплотнения.

[12]

Спрямляющий аппарат компрессора может быть цельнолитым, т.е. выполнен заодно (зацело) с упругими обечайками диффузора камеры сгорания, или может быть соединен с упругими обечайками при помощи пайки (лопатки спрямляющего аппарата припаяны к упругим обечайкам диффузора камеры сгорания) или сварки.

[13]

На фиг. 1 показано соединение компрессора с камерой сгорания газотурбинного двигателя.

[14]

На фиг. 2 представлен элемент I на фиг. 1 в увеличенном виде - вариант соединения спрямляющего аппарата с упругими обечайками при помощи пайки.

[15]

На фиг. 3 представлен элемент I на фиг. 1 в увеличенном виде - вариант соединения спрямляющего аппарата заодно с упругими обечайками.

[16]

На фиг. 4 представлен элемент I на фиг. 1 в увеличенном виде - вариант соединения спрямляющего аппарата с упругими обечайками при помощи сварки.

[17]

На фиг. 5 представлен элемент I на фиг. 1 в увеличенном виде - закрепление фланца лабиринтного уплотнения при помощи болтовых соединений с самоконтрящимися гайками (вариант соединения спрямляющего аппарата с упругими обечайками при помощи пайки).

[18]

На фиг. 6 представлен элемент I на фиг. 1 в увеличенном виде - закрепление фланца лабиринтного уплотнения при помощи болтовых соединений с самоконтрящимися гайками (вариант соединения спрямляющего аппарата заодно с упругими обечайками).

[19]

На фиг. 7 представлен элемент I на фиг. 1 в увеличенном виде - закрепление фланца лабиринтного уплотнения при помощи болтовых соединений с самоконтрящимися гайками (вариант соединения спрямляющего аппарата с упругими обечайками при помощи сварки).

[20]

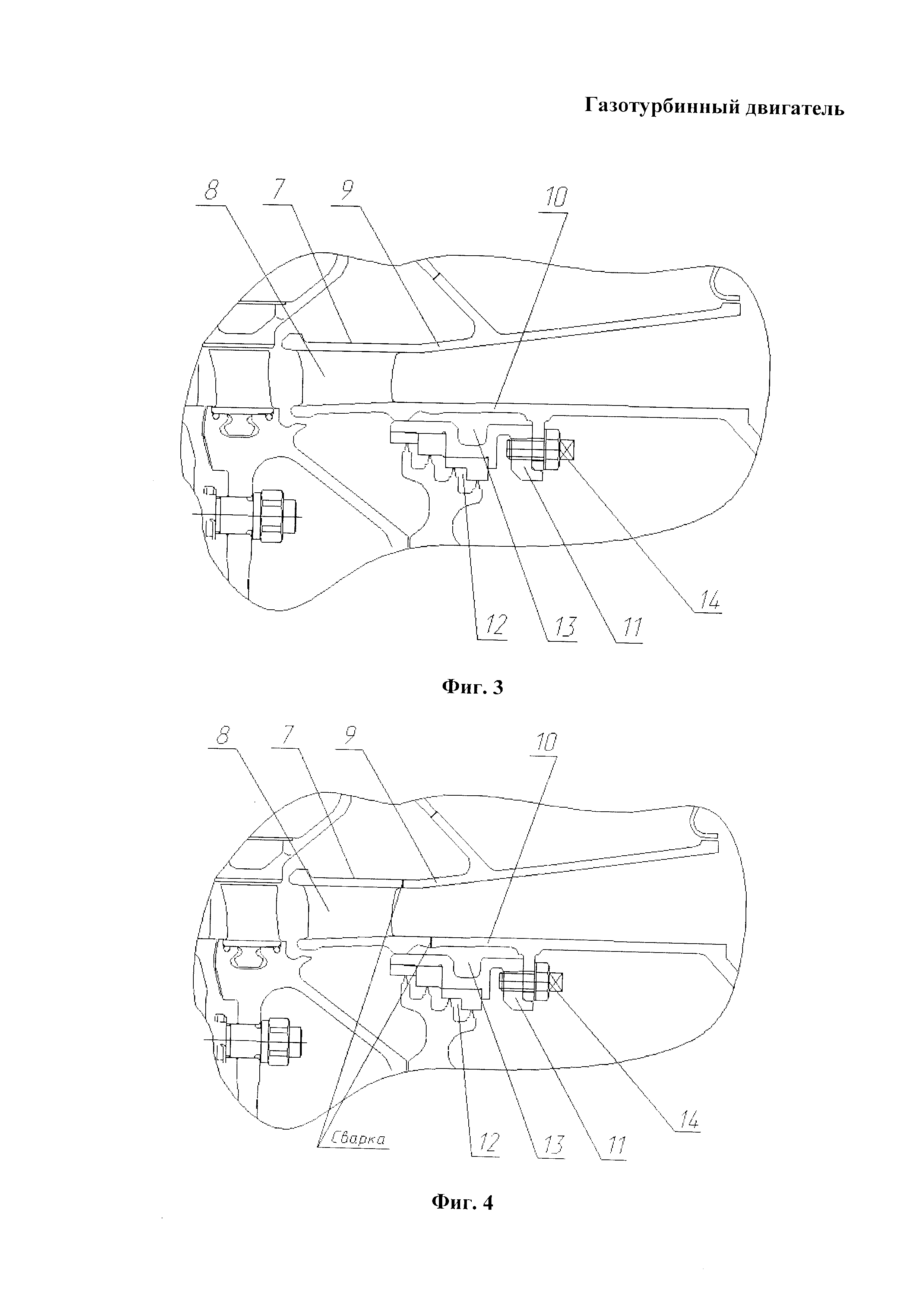
Газотурбинный двигатель 1 включает компрессор 2 высокого давления и камеру сгорания 3. Корпус компрессора 2 состоит из наружного силового корпуса 4 и внутреннего корпуса 5, который установлен раздельно с диффузором 6 камеры сгорания 3. В диффузоре 6 установлен спрямляющий аппарат 7 с лопатками 8, который выполнен заодно (или соединен при помощи пайки или сварки) верхней 9 и нижней 10 упругими обечайками (с их передними частями) диффузора 6. Под спрямляющим аппаратом 7 на нижней 10 упругой обечайке, являющейся внутренней, установлен фланец 11 лабиринтного уплотнения 12, образующий с нижней 10 упругой обечайкой замкнутую теплоизоляционную полость 13. Фланец 11 лабиринтного уплотнения 12 закреплен на нижней 10 упругой обечайке при помощи болтовых соединений (болтов 14). Фланец 11 может быть выполнен упругим и закреплен на нижней 10 упругой обечайке при помощи болтовых соединений с самоконтрящимися гайками (болтов 14 и самоконтрящихся гаек 15, расположенных внутри замкнутой полости 13). Выполнение фланца 11 упругим уменьшает напряжения во фланце 11, диффузоре 6, спрямляющем аппарате 7, лопатках 8, в местах пайки и сварки, и увеличивает термоинертность статора, уменьшает рабочие зазоры в лабиринтном уплотнении 12. Крепление фланца 11 лабиринтного уплотнения 12 с нижней 10 упругой обечайкой при помощи болтов 14 и самоконтрящихся гаек 15 позволяет избежать попадания гаек 15 в надроторную полость в случае поломки болтового соединения, что дополнительно повышает надежность двигателя.

[21]

Работа газотурбинного двигателя осуществляется следующим образом.

[22]

При работе газотурбинного двигателя 1 внутренний корпус 5 компрессора 2, не имея связи с диффузором 6 камеры сгорания 3, обеспечивает минимальные рабочие радиальные зазоры над лопатками компрессора 2, в том числе при регулируемом обдуве корпуса компрессора 2. Спрямляющий аппарат 7 не влияет на радиальные зазоры по рабочим лопаткам компрессора 2, он разгружен от воздействия диффузора 6 камеры сгорания 3 при помощи верхней 9 и нижней 10 упругих обечаек. Замкнутая полость 13 между спрямляющим аппаратом 7 и фланцем 11 лабиринтного уплотнения 12 позволяет теплоизолировать фланец 11 и спрямляющий аппарат 7 и приблизить тепловую инерцию статора к тепловой инерции массивной роторной части лабиринтного уплотнения 12.

Как компенсировать расходы
на инновационную разработку
Похожие патенты