патент
№ RU 2600742
МПК C10G33/06

УСТРОЙСТВО ДЛЯ РАЗРУШЕНИЯ ВОДОНЕФТЯНОЙ ЭМУЛЬСИИ ПРИ ТРАНСПОРТИРОВАНИИ ПО ТРУБОПРОВОДУ

Авторы:
Исламова Чачка Салиховна Гараев Ахат Абдуллович Аухадеев Рашит Равилович
Все (5)
Номер заявки
2015139664/04
Дата подачи заявки
17.09.2015
Опубликовано
27.10.2016
Страна
RU
Как управлять
интеллектуальной собственностью
Чертежи 
1
Реферат

Изобретение относится к нефтедобывающей и нефтеперерабатывающей промышленности, в частности к разрушению водонефтяных эмульсий. Предложено устройство для разрушения водонефтяной эмульсии при транспортировании по трубопроводу, включающее трубопровод и продольную перегородку, изготовленную в виде прямоугольной пластины, плавно свернутой по спирали, причем ее кромка на выходе повернута на 180° по отношению к кромке на входе. Трубопровод перед продольной перегородкой по направлению потока водонефтяной эмульсии оснащен сначала сужающимся конусом, а затем расширяющимся конусом с возможностью раздельного продольного перемещения и фиксации относительно трубопровода, при этом сужающийся конус снаружи снабжен спиральной пластиной с углом поворота по длине сужающегося конуса на 90° в соотношении проходных кольцевых сечений площадей у оснований на входе и выходе конуса 3:1 по направлению потока водонефтяной эмульсии и длиной сужающегося конуса к максимальному его диаметру на входе в соотношении 4:1, причем расширяющийся конус внутри снабжен спиральной пластиной с углом поворота по длине расширяющегося конуса на 90° в соотношении площадей на входе и выходе у оснований конуса 1:3 по направлению потока водонефтяной эмульсии и длиной расширяющегося конуса к максимальному его диаметру на входе в соотношении 1:4, при этом в трубопроводе за сужающимся и расширяющимся конусами выполнены радиальные отверстия, соединенные отводом с задвижкой, врезанным в трубопровод для выноса тяжелых фракций. Устройство позволяет повысить эффективность разрушения водонефтяной эмульсии, ускорить процесс разрушения водонефтяной эмульсии, повысить

Формула изобретения

Устройство для разрушения водонефтяной эмульсии при транспортировании по трубопроводу, включающее трубопровод и продольную перегородку, изготовленную в виде прямоугольной пластины, плавно свернутой по спирали, причем ее кромка на выходе повернута на 180° по отношению к кромке на входе, отличающееся тем, что трубопровод перед продольной перегородкой по направлению потока водонефтяной эмульсии оснащен сначала сужающимся конусом, а затем расширяющимся конусом с возможностью раздельного продольного перемещения и фиксации относительно трубопровода, при этом сужающийся конус снаружи снабжен спиральной пластиной с углом поворота по длине сужающегося конуса на 90° в соотношении проходных кольцевых сечений площадей у оснований на входе и выходе конуса 3:1 по направлению потока водонефтяной эмульсии и длиной сужающегося конуса к максимальному его диаметру на входе в соотношении 4:1, причем расширяющийся конус внутри снабжен спиральной пластиной с углом поворота по длине расширяющегося конуса на 90° в соотношении площадей на входе и выходе у оснований конуса 1:3 по направлению потока водонефтяной эмульсии и длиной расширяющегося конуса к максимальному его диаметру на входе в соотношении 1:4, при этом в трубопроводе за сужающимся и расширяющимся конусами выполнены радиальные отверстия, соединенные отводом с задвижкой, врезанным в трубопровод для выноса тяжелых фракций.

Описание

[1]

Изобретение относится к нефтедобывающей и нефтеперерабатывающей промышленности, в частности к разрушению водонефтяных эмульсий.

[2]

Известно устройство для разрушения водонефтяной эмульсии при транспортировании по трубопроводу (авторское свидетельство SU №1142499, C10G 33/06, опубл. в бюл. №8 от 28.02.1985 г.), включающее трубопровод и продольную перегородку, установленную в центральной части его поперечного сечения, при этом с целью интенсификации процесса разрушения и снижения эксплуатационных затрат перегородка выполнена в виде прямоугольной пластины, плавно свернутой по спирали, при этом ее кромка на выходе повернута на 180° по отношению к кромке на входе эмульсии.

[3]

Недостатками данного устройства являются:

[4]

- во-первых, низкая эффективность разрушения водонефтяной эмульсии, так как выделившаяся свободная вода и крупные капли, оказавшиеся после перегородки в верхней части трубы, через край перегородки в задней ее части направляются вниз рассосредоточенными в потоке нефти, поэтому часть потока водонефтяной эмульсии, оказавшаяся после перегородки ниже ее, в которой преобладают мелкие капли, проходит через рассосредоточенную в нефти воду на небольшом по длине участке, а следовательно, взаимодействие мелких капель и свободной воды практически отсутствует, что не позволяет максимально эффективно производить разрушение эмульсии;

[5]

- во-вторых, медленный процесс разрушения водонефтяной эмульсии из-за слабого закручивания потока водонефтяной эмульсии продольной перегородкой в трубопроводе всего на 180°, вследствие чего центробежные силы в трубопроводе практически не оказывают влияния на процесс разрушения водонефтяной эмульсии, при этом разрушение эмульсии происходит под действием гравитационных сил, поэтому водонефтяная эмульсия не успевает разрушиться в трубопроводе;

[6]

- в-третьих, низкая надежность, обусловленная износом под действием абразивного материала перегородки, выполненной в виде прямоугольной пластины при перекачке по трубопроводу водонефтяной эмульсии с содержанием механических примесей (песком, шламом, и т.д.) особенно при перекачке из скважин с пескопроявлениями и, как следствие, преждевременный выход из строя устройства;

[7]

- в-четвертых, большие затраты по времени на проведение операций по обессоливанию и обезвоживанию нефти, а также затраты на деэмульгатор после транспортировки.

[8]

Наиболее близким по технической сущности и достигаемому результату является устройство для разрушения водонефтяной эмульсии при транспортировании по трубопроводу (патент RU №2308312, C10G 33/06, опубл. в бюл. №29 от 20.10.2007 г.), включающее трубопровод и центральную перегородку, изготовленную в виде прямоугольной пластины, плавно свернутой по спирали, причем ее кромка на выходе повернута на 180° по отношению к кромке на входе, при этом трубопровод снабжен дополнительными перегородками, параллельно и симметрично установленными относительно центральной перегородки, при этом все перегородки снабжены на выходе эмульсии конечными горизонтальными участками с длиной не менее 1,8 диаметра трубы, увеличивающейся сверху вниз, при этом конечный горизонтальный участок каждой перегородки, расположенной ниже, выполнен длиннее не менее чем на 0,5 м аналогичного участка вышележащей перегородки.

[9]

Недостатками данного устройства являются:

[10]

- во-первых, низкая эффективность разрушения водонефтяной эмульсии, связанная с тем, что дополнительные продольные перегородки, установленные параллельно и симметрично относительно центральной продольной перегородки, увеличивают металлоемкость конструкции, при этом выделившаяся свободная вода и крупные капли, оказавшиеся за основной и дополнительной продольными перегородками, направляются вниз рассосредоточенными в потоке нефти, поэтому часть потока водонефтяной эмульсии проходит через рассосредоточенную в нефти воду на небольшом по длине участке даже с учетом удлинения на 0,5 м каждой нижележащей перегородки, при этом взаимодействие мелких капель и свободной воды практически отсутствует, что не позволяет максимально эффективно производить разрушение эмульсии;

[11]

- во-вторых, низкая интенсивность (медленный процесс) разрушения водонефтяной эмульсии из-за слабого закручивания потока водонефтяной эмульсии продольной и дополнительной перегородками в трубопроводе всего на 180°, вследствие чего центробежные силы в трубопроводе практически не оказывают влияния на процесс разрушения водонефтяной эмульсии, при этом разрушение эмульсии происходит под действием гравитационных сил, поэтому водонефтяная эмульсия не успевает разрушиться в трубопроводе;

[12]

- в-третьих, низкая надежность, обусловленная износом под действием абразивного материала перегородки, выполненной в виде прямоугольной пластины при перекачке по трубопроводу водонефтяной эмульсии с содержанием механических примесей (песком, шламом и т.д.) особенно при перекачке из скважин с пескопроявлениями и, как следствие, преждевременный выход из строя устройства;

[13]

- в-четвертых, большие затраты по времени на проведение операций по обессоливанию и обезвоживанию нефти, а также затраты на деэмульгатор после транспортировки.

[14]

Технической задачей изобретения является повышение эффективности разрушения водонефтяной эмульсии и интенсификация (ускорение) процесса разрушения водонефтяной эмульсии в трубопроводе, а также повышение надежности работы устройства при перекачке по трубопроводу водонефтяной эмульсии с механическими примесями и сокращение затрат на обессоливание и обезвоживание нефти после транспортировки.

[15]

Поставленная техническая задача решается устройством для разрушения водонефтяной эмульсии при транспортировании по трубопроводу, включающим трубопровод и продольную перегородку, изготовленную в виде прямоугольной пластины, плавно свернутой по спирали, причем ее кромка на выходе повернута на 180° по отношению к кромке на входе.

[16]

Новым является то, что трубопровод перед продольной перегородкой по направлению потока водонефтяной эмульсии оснащен сначала сужающимся конусом, а затем расширяющимся конусом с возможностью раздельного продольного перемещения и фиксации относительно трубопровода, при этом сужающийся конус снаружи снабжен спиральной пластиной с углом поворота по длине сужающегося конуса на 90° в соотношении проходных кольцевых сечений площадей у оснований на входе и выходе конуса 3:1 по направлению потока водонефтяной эмульсии и длиной сужающегося конуса к максимальному его диаметру на входе в соотношении 4:1, причем расширяющийся конус внутри снабжен спиральной пластиной с углом поворота по длине расширяющегося конуса на 90° в соотношении площадей на входе и выходе у оснований конуса 1:3 по направлению потока водонефтяной эмульсии и длиной расширяющегося конуса к максимальному его диаметру на входе в соотношении 1:4, при этом в трубопроводе за сужающимся и расширяющимся конусами выполнены радиальные отверстия, соединенные отводом с задвижкой, врезанным в трубопровод для выноса тяжелых фракций.

[17]

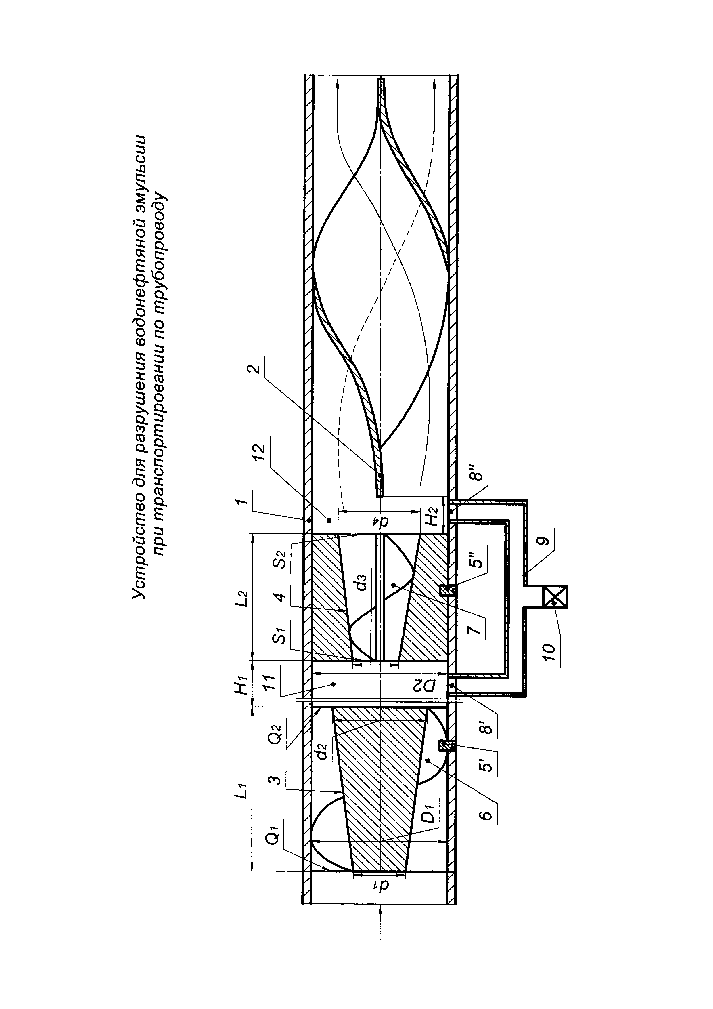
На чертеже схематично изображено предлагаемое устройство для разрушения водонефтяной эмульсии при транспортировании по трубопроводу в продольном разрезе.

[18]

Известно, что причиной образования водонефтяных эмульсий является перемешивание пластовой воды с нефтью и конденсатом при добыче и перекачке, а также содержащихся в ней парафинов, асфальто-смолистых веществ.

[19]

Устройство для разрушения водонефтяной эмульсии при транспортировании по трубопроводу включает трубопровод 1 (см. чертеж) и продольную перегородку 2, изготовленную в виде прямоугольной пластины, плавно свернутой по спирали, причем ее кромка на выходе повернута на 180° по отношению к кромке на входе.

[20]

Трубопровод 1, например внутренним диаметром 400 мм = 0,4 м, перед продольной перегородкой 2 по направлению потока водонефтяной эмульсии оснащен сначала сужающимся конусом 3, а затем расширяющимся конусом 4 с возможностью раздельного продольного перемещения и фиксации с помощью винтов 5′ и 5″ относительно трубопровода 1.

[21]

Сужающийся конус 3 снаружи снабжен спиральной пластиной 6 с углом поворота по длине конуса на 90° в соотношении проходных кольцевых сечений площадей у оснований на входе и выходе конуса 3:1 по направлению потока водонефтяной эмульсии и длиной сужающегося конуса к максимальному его диаметру на входе в соотношении 4:1.

[22]

Например, конус 3 сужается в соотношении проходных кольцевых сечений у оснований конуса Q1:Q2=(3:1) по направлению потока водонефтяной эмульсии, например, если:

[23]

[24]

где π=3,14;

[25]

Q1 - площадь проходного кольцевого сечения на входе в сужающийся конус, м2;

[26]

D1 - максимальный диаметр на входе в сужающийся конус 3, м;

[27]

d1 - минимальный диаметр на входе в сужающийся конус 3, м.

[28]

Подставляя числовые значения в формулу (1), получим:

[29]

Q1=π·(D12-d12)/4=3,14((0,4 м)2-(0,2 м)2)/4=0,0942 м2=9,42·10-2 м2.

[30]

Тогда Q2=9,42·10-2 м2/3=3,14·10-2 м2.

[31]

Поскольку Q2=π·(D22-d22)/4, то:

[32]

[33]

где Q2 - площадь проходного кольцевого сечения на выходе из сужающегося конуса, м2;

[34]

D2=D1 - максимальный диаметр на выходе из сужающегося конуса 3, м;

[35]

d2 - минимальный диаметр на выходе из сужающегося конуса 3, м.

[36]

Подставляя числовые значения в формулу (2), получим:

[37]

[38]

Длина L1 сужающегося конуса 3 к максимальному его диаметру D1 на входе в сужающийся конус 3 имеет отношение, как 1:4.

[39]

Тогда длина L1 сужающегося конуса будет равна:

[40]

L1=0,4 м·4=1,6 м.

[41]

Расширяющийся конус 4 внутри снабжен спиральной пластиной 7 с углом поворота по длине конуса на 90° в соотношении площадей на входе и выходе у оснований конуса 1:3 по направлению потока водонефтяной эмульсии и длиной расширяющегося конуса к максимальному его диаметру на входе в отношении 1:4.

[42]

Например, конус 4 расширяется в соотношении площадей на входе и выходе у оснований конуса S1:S2=(1:3) по направлению потока водонефтяной эмульсии, например, если:

[43]

[44]

где π=3,14;

[45]

d3 - минимальный диаметр на входе в расширяющийся конус 4, м;

[46]

S1 - площадь на входе у основания расширяющегося конуса, м2;

[47]

Подставляя числовые значения в формулу (3), получим:

[48]

S1=3,14(0,15 м)2/4=0,01766 м2=17,66·10-3 м2..

[49]

Тогда S2=17,66·10-3 м2·3=52,98·10-3 м2=53·10-3 м2.

[50]

Поскольку S2=π·(d42)/4, то:

[51]

[52]

где d4 - максимальный диаметр на выходе из расширяющегося конуса 4, м.

[53]

S2 - площадь на входе у основания расширяющегося конуса, м2.

[54]

Подставляя числовые значения в формулу (4), получим:

[55]

d4=√(4·(53·10-3 м2)/3,14)=0,2598 мм=0,26 м.

[56]

Длина L2 расширяющегося конуса 4 к максимальному его диаметру d4 на выходе из расширяющегося конуса 4 имеет отношение, как 1:4:

[57]

L2=0,26 м·4=1,04 м.

[58]

В трубопроводе за сужающимся 3 и расширяющимся 4 конусами выполнены радиальные отверстия 8′ и 8″, соединенные отводом 9, врезанным в трубопровод 1. Отвод 9 имеет задвижку 10 для выноса тяжелых фракций.

[59]

Предлагаемое устройство работает следующим образом.

[60]

Проводят монтаж устройства (см. фиг. 1). Устанавливают и фиксируют с помощью стопорных винтов 5′ и 5″ соответственно сужающийся конус 3 и расширяющийся конус 3 в трубопроводе 1 на расстоянии H1 и H2 от расширяющегося конуса 4 и продольной перегородки 2, соответственно. Расстояния H1 и H2 зависят от физико-химических свойств (плотности, вязкости и состав эмульгаторов, pH водной фазы) и определяется опытным путем. Например размещают сужающийся конус 3 на расстоянии H1=1,2 м от расширяющегося конуса 4, а сужающийся конус 3 размещают на расстоянии Н2=1,5 м от продольной перегородки 2.

[61]

Производят перекачку водонефтяной эмульсии по трубопроводу 1.

[62]

Сначала поток водонефтяной эмульсии попадает в сужающийся конус 3, где подвергается воздействию центробежных сил, возникающих в сужающемся конусе 3 благодаря спиральной пластине 6 с углом поворота по длине сужающегося конуса 3 на 90°.

[63]

При прохождении потока водонефтяной эмульсии по спиральной пластине 6 сужающегося конуса 3 вследствие соотношения проходных кольцевых сечений у оснований конуса Q1:Q2=(3:1) скорость потока водонефтяной эмульсии постепенно увеличивается от входа к выходу сужающегося конуса 3.

[64]

Это, в свою очередь, увеличивает действие центробежных сил на поток водонефтяной эмульсии и создает условия для ускоренного разрушения водонефтяной эмульсии, при этом крупные тяжелые капли воды (фракции) и механические примеси отбрасываются к наружным стенкам сужающегося конуса 3 и по периферии сужающегося конуса 4 перетекают в пространство 11 между сужающимся 3 и расширяющимся 4 конусами, расположенными друг от друга на расстоянии H1, а мелкие легкие частицы нефти концентрируются в закрученном потоке на спиральной поверхности спиральной пластины 6 и по центру потока выносятся из сужающегося конуса 3, где также попадают в пространство 11.

[65]

После выхода водонефтяной эмульсии из сужающегося конуса 3 в пространство 11 происходит резкая потеря скорости потока водонефтяной эмульсии вследствие изменения площади поперечного сечения до внутреннего диаметра трубопровода 1,что создает эффективные условия для гравитационного разделения водонефтяной эмульсии в закрученном потоке водонефтяной эмульсии.

[66]

Далее разрушающийся поток водонефтяной эмульсии попадает на вход расширяющегося конуса 4, а так как соотношении площадей на входе S1 и выходе S2 у оснований конуса 1:3, то S1 в три раза меньше S2.

[67]

Это означает, что на входе в расширяющийся конус 4 происходит максимальное увеличение скорости потока водонефтяной эмульсии, что увеличивает скорость вращения потока разрушающейся водонефтяной эмульсии на начальном участке конуса 6, что увеличивает действие центробежных сил на поток водонефтяной эмульсии на начальном участке расширяющегося конуса 4 и создает условия для ускоренного разрушения водонефтяной эмульсии, при этом крупные тяжелые капли воды и механические примеси отбрасываются к внутренним стенкам расширяющегося конуса 4 и по периферии расширяющегося конуса 4 перемещаются к продольной перегородке 2. Мелкие легкие частицы нефти концентрируются в закрученном потоке на спиральной поверхности спиральной пластины 7 с углом поворота по длине конуса на 90° и по центру потока выносятся из расширяющегося конуса 4, где также попадают на продольную перегородку 2. По мере перемещения разрушающегося потока водонефтяной эмульсии в расширяющемся конусе 4 ее скорость падает, также снижается воздействие на разрушающийся поток водонефтяной эмульсии действия центробежных сил.

[68]

После выхода водонефтяной эмульсии из расширяющегося конуса 4 в пространство 12 трубопровода 1 происходит резкая потеря скорости потока водонефтяной эмульсии, что создает эффективные условия для гравитационного разделения водонефтяной эмульсии в закрученном потоке водонефтяной эмульсии.

[69]

Тяжелые фракции 9 водонефтяной эмульсии с механическими примесями из пространств 11 и 12 трубопровода 1 опускаются вниз и через радиальные отверстия 8′ и 8″ попадают в отвод 9 для тяжелых фракций, откуда при открытой задвижке 10 выводятся из трубопровода 1.

[70]

Повышается надежность работы устройства, так как благодаря отделению наиболее тяжелой фракции водонефтяной эмульсии совместно с механическими примесями исключается износ продольной перегородки в процессе работы устройства, что исключает преждевременный выход из строя устройства.

[71]

Благодаря наличию центробежных сил интенсифицируется (ускоряется) процесс разрушения водонефтяной эмульсии на обеих (сужающемся 3 и расширяющемся 4) конусах посредством осуществления фильтрования всех слоев ее потока через выделившуюся свободную воду, что позволяет повысить качество разрушения водонефтяной эмульсии в системе нефтесбора.

[72]

Повышается эффективность разрушения водонефтяной эмульсии, так как за сужающимся 3 и расширяющимся 4 конусами запускается механизм разрушения водонефтяной эмульсии за счет действия гравитационных сил еще до ее попадания на продольную перегородку 2.

[73]

Таким образом, под действием сил гравитации водонефтяная эмульсия начинает разделяться, так как вода и нефть имеют разные значения плотности.

[74]

В сравнении с прототипом, где основную роль в разрушении водонефтяной эмульсии выполняет продольная перегородка 2, в предлагаемом устройстве на продольную перегородку 2 водонефтяная эмульсия попадает в стадии разрушения водонефтяной эмульсии и роль продольной перегородки 2 заключается в завершении разрушения водонефтяной эмульсии, благодаря чему также повышается эффективность работы устройства.

[75]

Поэтому после попадания водонефтяной эмульсии на продольную перегородку 2, нижний слой разрушающегося потока водонефтяной эмульсии переходит в верхний, а верхний слой потока переходит в нижний, при этом крупные капли пластовой воды, оказавшиеся в верхнем и нижнем слоях, двигаясь в потоке по мере осаждения, захватывают мелкие капли из среднего слоя (центра), и тем самым ускоряют процесс их оседания.

[76]

Таким образом, происходит интенсивное (ускоренное) взаимодействие мелких капель и свободной воды, что позволяет максимально эффективно производить разрушение эмульсии. Для незахваченных мелких капель время оседания сокращается в 2-3 раза за счет уменьшения расстояния их расположения до нижней образующей трубопровода 1.

[77]

Повышение эффективности и интенсификации процесса разрушения водонефтяной эмульсии за счет комплексного действия гравитационных и центробежных сил позволяет сократить продолжительность проводимых в дальнейшем операций по обессоливанию и обезвоживанию нефти, снизить расход реагента деэмульгатора и, таким образом, сократить эксплуатационные затраты при подготовке нефти.

[78]

В процессе работы при изменении физико-химических свойств водонефтяной эмульсии, например при снижении вязкости и плотности водонефтяной эмульсии, отворачивают стопорный винты 5′ и 5″ сужающегося 3 и расширяющегося 4 конусов соответственно.

[79]

После чего перемещают сужающийся 3 и расширяющийся 4 конусы относительно друг друга и неподвижной продольной перегородки 2, например, так, чтобы расстояние H1=0,8 м, H2=1,2 м (определяются опытным путем), и вновь фиксируют сужающийся 3 и расширяющийся 4 конусы стопорными винтами 5′ и 5″, соответственно в трубопроводе 1.

[80]

Далее запускают устройство в эксплуатацию, как описано выше.

[81]

Предлагаемое устройство для разрушения водонефтяной эмульсии при транспортировании по трубопроводу позволяет:

[82]

- повысить эффективность разрушения водонефтяной эмульсии;

[83]

- ускорить процесс разрушения водонефтяной эмульсии;

[84]

- повысить надежность работы устройства;

[85]

- сократить затраты на обессоливание и обезвоживание нефти после транспортировки.

Как компенсировать расходы
на инновационную разработку
Похожие патенты