патент
№ RU 2642895
МПК G01S13/02

АНТЕННОЕ УСТРОЙСТВО ОБЗОРА

Авторы:
Анцев Георгий Владимирович
Номер заявки
2016140792
Дата подачи заявки
17.10.2016
Опубликовано
29.01.2018
Страна
RU
Как управлять
интеллектуальной собственностью
Чертежи 
4
Реферат

Изобретение относится к антеннам и может быть использовано на подвижных объектах, например самолетах, для обзора воздушного пространства и контроля загрязнения водной поверхности. Устройство содержит основание, зеркало, блок управления, блок антенный, включающий в себя расположенный на основании привод вращения зеркала по азимуту, выходная шестерня которого кинематически связана с зубчатым колесом, установленным на трубе, закрепленной в подшипниках основания, и расположенным соосно оси вращения зеркала по азимуту, привод наклона зеркала с выходной шестерней и вращающийся переход (вращпереход), состоящий из волновода и сверхвысокочастотного тракта. В верхней части трубы неподвижно закреплена вилка. Внутри трубы установлен корпус со встроенным в него волноводом, являющимся вращающейся частью бесконтактного сверхвысокочастотного перехода. Неподвижная часть вращперехода закреплена внутри втулки, на внешней стороне которой вдоль оси втулки расположена зубчатая рейка, кинематически связанная с выходной шестерней размещенного на основании привода наклона зеркала. Во внутренней части втулки закреплены подшипники, внутренние подвижные кольца которых установлены на нижней части корпуса. Центрирование по окружности верхней части корпуса осуществляется подшипниками, установленными в сквозных пазах, расположенных по окружности трубы вдоль ее оси вращения, и в совпадающих с ними пазах на наружной части корпуса. Боковые поверхности подшипников касаются боковых поверхностей пазов трубы и, соответственно, боковых поверхностей пазов корпуса, внешние же кольца этих подшипников обкатывают, соответственно, внутренние поверхности пазов корпуса в том же направлении. В соосно расположенных отверстиях боковых частей вилки, в подшипниках, установлены валы с закрепленным на них кронштейном, ось наклона которого перпендикулярна оси вращения зеркала по азимуту. На одном конце кронштейна установлено зеркало, а на противоположном конце размещен противовес, выполненный в виде планки с центральным отверстием, в котором закреплен стержень. Консольная часть стержня вставлена в отверстие муфты с роликами, расположенными симметрично относительно стержня в вертикальной плоскости, а в горизонтальной плоскости муфта закреплена с двух сторон симметрично относительно стержня в подшипниках, установленных на скобе держателя, неподвижно закрепленного на верхней части корпуса. Технический результат заключается в улучшении балансировки подвижного зеркала антенны и упрощении конструкции всего антенного устройства. 5 ил.

Формула изобретения

Антенное устройство обзора, содержащее основание, зеркало, блок управления, блок антенный, включающий в себя расположенный на основании привод вращения зеркала по азимуту, выходная шестерня которого кинематически связана с зубчатым колесом, установленным на трубе, закрепленной в подшипниках основания, и расположенным соосно оси вращения зеркала по азимуту, привод наклона зеркала с выходной шестерней и вращающийся переход (вращпереход), состоящий из волновода и сверхвысокочастотного тракта, отличающееся тем, что в верхней части трубы неподвижно закреплена вилка, внутри трубы установлен корпус со встроенным в него волноводом, являющимся вращающейся частью бесконтактного сверхвысокочастотного перехода, неподвижная часть которого закреплена внутри втулки, на внешней стороне которой вдоль оси втулки расположена зубчатая рейка, кинематически связанная с выходной шестерней размещенного на основании привода наклона зеркала, во внутренней части втулки закреплены подшипники, внутренние подвижные кольца которых установлены на нижней части корпуса, центрирование по окружности верхней части корпуса осуществляется подшипниками, установленными в сквозных пазах, расположенных по окружности трубы вдоль ее оси вращения, и в совпадающих с ними пазах на наружной части корпуса, боковые поверхности подшипников касаются боковых поверхностей пазов трубы и, соответственно, боковых поверхностей пазов корпуса, внешние же кольца этих подшипников обкатывают, соответственно, внутренние поверхности пазов корпуса в том же направлении, при этом в соосно расположенных отверстиях боковых частей вилки, в подшипниках, установлены валы с закрепленным на них кронштейном, ось наклона которого перпендикулярна оси вращения зеркала по азимуту, на одном конце кронштейна установлено зеркало, а на противоположном конце размещен противовес, выполненный в виде планки с центральным отверстием, в котором закреплен стержень, консольная часть стержня вставлена в отверстие муфты с роликами, расположенными симметрично относительно стержня в вертикальной плоскости, а в горизонтальной плоскости муфта закреплена с двух сторон симметрично относительно стержня в подшипниках, установленных на скобе держателя, неподвижно закрепленного на верхней части корпуса.

Описание

[1]

Изобретение относится к антеннам с механическим сканированием зеркала антенны и может быть использовано на подвижных объектах, например самолетах, для обзора воздушного пространства и контроля загрязнения водной поверхности.

[2]

Известен патент RU 2561496 С1 «Радиолокационная станция обеспечения безопасной посадки вертолета в условиях отсутствия или ограниченной видимости» (опубл. 27.08.2015, МПК G01S 13/93). Данное изобретение предусматривает создание радиолокационной станции (РЛС) кругового обзора, работающей в трехмиллиметровом диапазоне длин волн, с описанием ее конструктивного исполнения. РЛС содержит антенное устройство, привод кругового вращения с вращающимся волноводным переходом, приемопередающее устройство, блок обработки информации, радиопрозрачный обтекатель. Основной принцип функционирования РЛС - обеспечение постоянного обзора земной поверхности в виде кольца под вертолетом. Достигаемый технический результат обеспечивается вращением антенны рупорного типа с противовесом вокруг вертикальной оси, относительно которой она отклонена на фиксированный угол, и наличием другой, неподвижной, антенны рупорного типа, направленной вертикально вниз. Такое решение из-за фиксированного угла наклона антенны от вертикали сужает зону обзора при снижении вертолета и расширяет ее при взлете.

[3]

Недостаток данной схемы заключается в том, что РЛС не имеет возможности поворота антенны от вертикали для регулировки зоны обзора поверхности в виде кольца без изменения положения вертолета по высоте и по крену.

[4]

Наиболее близким по технической сущности является антенное устройство обзора APS-143(V) фирмы США «Telephonics Corporations выбранное за прототип

[5]

(В Интернете: www.telephonics.com.APS-143C(V)3/OceanEye-Telephonics; quickstrike.com.au/imaging/APS-143C.pdf: www.telephonics.com; https://www.forecastinternational.com/archive/disp_old_pdf.cfm?ARC_ID=76). Антенное устройство имеет плоский луч диаграммы направленности (ДНА) по азимуту. Зеркало антенны может вращаться по азимуту от 45 градусов до 350 градусов, а также на 360 градусов. Вращение зеркала по наклону может быть в пределах +/-30 градусов. Передача сверхвысокой частоты на зеркало антенны осуществляется вращающимся волноводным переходом (вращпереходом). Привод наклона зеркала и часть элементов схемы антенного блока, например усилитель мощности, находятся на вращающейся части антенны. Учитывая, что зеркало антенны может вращаться на 360 градусов, передача сигналов и электрического питания на электродвигатель привода наклона и на часть элементов схемы блока антенны осуществляется в низкочастотном диапазоне вращающимся контактным устройством, способным передавать сигналы с неподвижного основания на вращающуюся конструкцию. APS-143(V) устанавливается на нижней части фюзеляжа самолета или вертолета и производит сканирование луча, например, при обзоре водной поверхности для обнаружения нефтяных пятен или других загрязнений.

[6]

Недостатком данного устройства является отсутствие балансировки зеркала антенны. Зеркало крепится через консольный кронштейн, что увеличивает момент несбалансированности при повороте зеркала. Кроме этого расположение привода наклона и элементов схемы блока антенны с соединительными проводами на подвижной части антенны также отрицательно влияет на балансировку из-за появления дополнительных моментов инерции. Отсутствие балансировки приводит к увеличению пусковых моментов для двигателей, которые необходимо выбирать с учетом моментов инерции при воздействии линейных ускорений. Использование приводов большой мощности приводит к увеличению веса всего устройства. Наличие низкочастотного вращающегося контактного устройства усложняет конструкцию всего антенного устройства

[7]

Техническим результатом настоящего изобретения является улучшение балансировки подвижного зеркала антенны и упрощение конструкции всего антенного устройства.

[8]

Указанный технический результат достигается тем, что заявляемое антенное устройство обзора, содержащее основание, зеркало, блок управления, блок антенный, включающий в себя расположенный на основании привод вращения зеркала по азимуту, выходная шестерня которого кинематически связана с зубчатым колесом, установленным на трубе, закрепленной в подшипниках основания, и расположенным соосно оси вращения зеркала по азимуту, привод наклона зеркала с выходной шестерней и вращающийся переход (вращпереход), состоящий из волновода и сверхвысокочастотного (СВЧ) тракта, в отличие от прототипа, в верхней части трубы неподвижно закреплена вилка, внутри трубы установлен корпус со встроенным в него волноводом, являющимся вращающейся частью бесконтактного сверхвысокочастотного перехода, неподвижная часть которого закреплена внутри втулки, на внешней стороне которой вдоль оси втулки расположена зубчатая рейка, кинематически связанная с выходной шестерней размещенного на основании привода наклона зеркала, во внутренней части втулки закреплены подшипники, внутренние подвижные кольца которых установлены на нижней части корпуса. Центрирование по окружности верхней части корпуса осуществляется подшипниками, установленными в сквозных пазах, расположенных по окружности трубы вдоль ее оси вращения, и в совпадающих с ними пазах на наружной части корпуса. Боковые поверхности подшипников касаются боковых поверхностей пазов трубы и, соответственно, боковых поверхностей пазов корпуса, внешние же кольца этих подшипников обкатывают, соответственно, внутренние поверхности пазов корпуса в том же направлении. При этом в соосно расположенных отверстиях боковых частей вилки, в подшипниках, установлены валы с закрепленным на них кронштейном, ось наклона которого перпендикулярна оси вращения зеркала по азимуту. На одном конце кронштейна установлено зеркало, а на противоположном конце размещен противовес, выполненный в виде планки с центральным отверстием, в котором закреплен стержень. Консольная часть стержня вставлена в отверстие муфты с роликами, расположенными симметрично относительно стержня в вертикальной плоскости, а в горизонтальной плоскости муфта закреплена с двух сторон симметрично относительно стержня в подшипниках, установленных на скобе держателя, неподвижно закрепленного на верхней части корпуса.

[9]

В предложенной конструкции антенного устройства обзора привод наклона зеркала с отдельными элементами схемы блока антенны перенесен с подвижной части устройства на неподвижное основание, что улучшает балансировку зеркала антенны.

[10]

Размещение зеркала на кронштейне, конструкция которого симметрична относительно осей вращения зеркала по наклону и по азимуту, позволяет полностью компенсировать дополнительные моменты инерции, возникающие при вращении зеркала. Установка на противоположном плече кронштейна конструктивного противовеса, а в случае необходимости, крепления второго зеркала, аналогичного первому зеркалу, дополнительно улучшает балансировку подвижного зеркала антенны.

[11]

В антенном устройстве используется только бесконтактный сверхвысокочастотный вращающийся переход (вращпереход). Отсутствие низкочастотного вращающегося контактного устройства значительно упрощает конструкцию всего устройства.

[12]

Сущность технического решения поясняется приведенными чертежами:

[13]

Фиг. 1 - сечение антенного устройства обзора по оси азимута.

[14]

Фиг. 2 - сечение антенного устройства обзора по осям наклона и азимута.

[15]

Фиг. 3 - сечение антенного устройства обзора по оси наклона.

[16]

Фиг. 4 - сечение по осям муфты и стержня.

[17]

Фиг. 5 - внешний вид антенного устройства обзора.

[18]

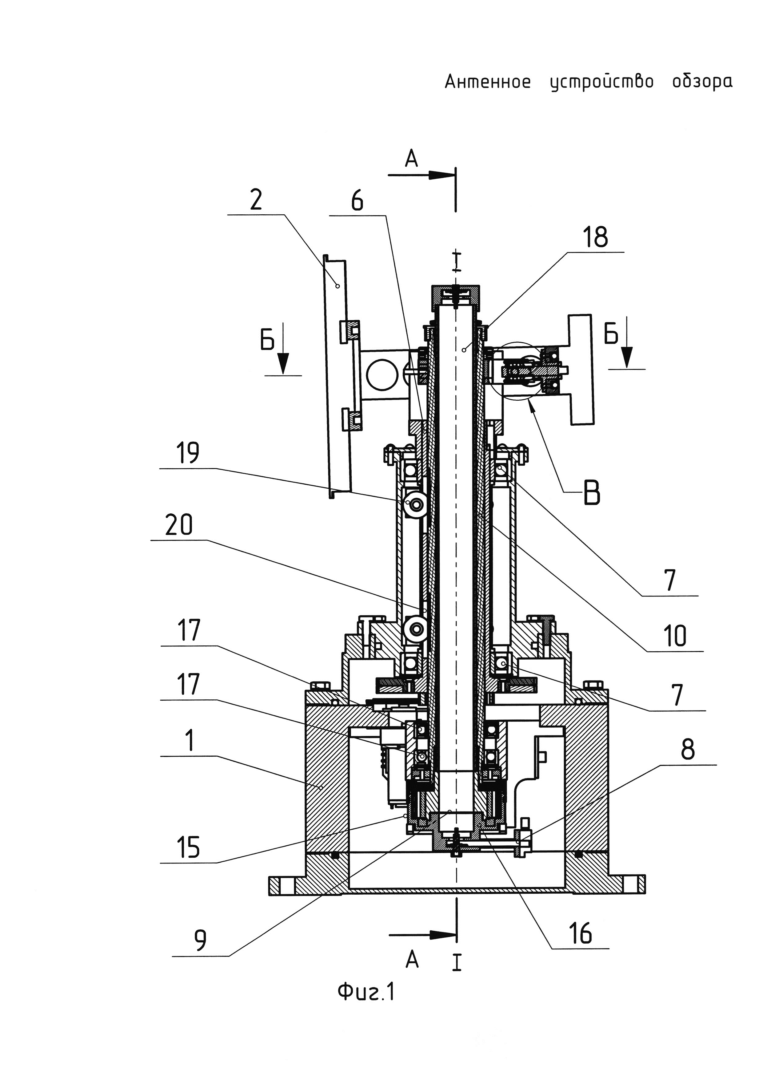
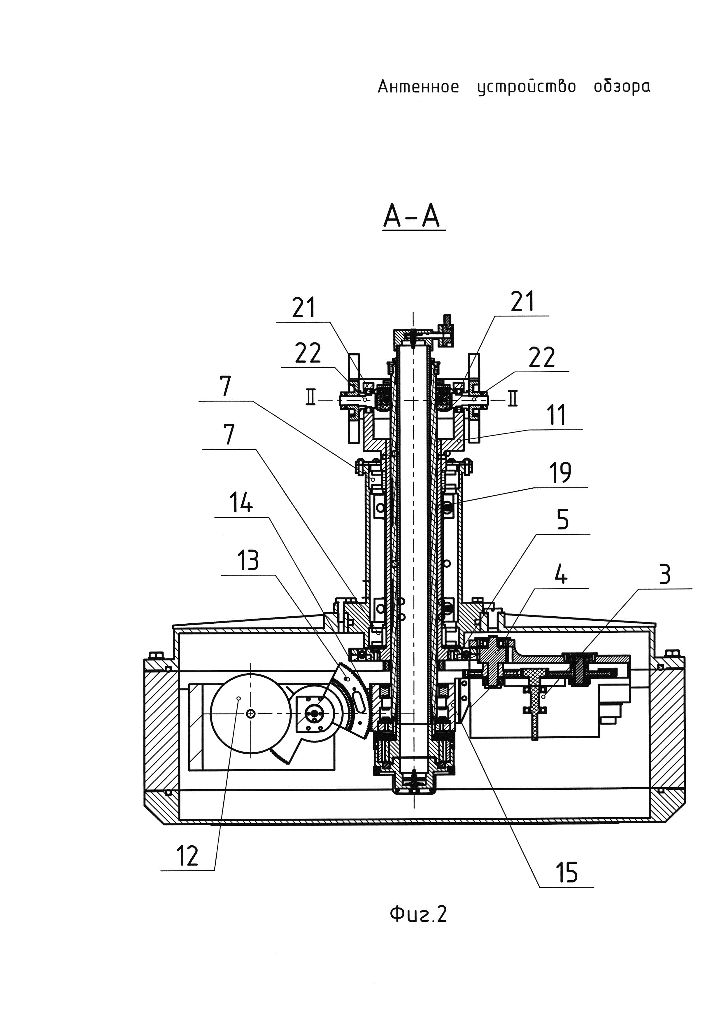
Антенное устройство обзора (фиг. 1, фиг. 2) содержит основание 1, зеркало 2, блок управления (на фигурах не показан), блок антенный, включающий в себя расположенный на основании 1 привод вращения зеркала по азимуту 3, выходная шестерня 4 которого кинематически связана с зубчатым колесом 5, установленным на трубе 6, закрепленной в подшипниках 7 основания 1, и расположенным соосно оси вращения зеркала 2 по азимуту, а также привод наклона 12 зеркала 2 с выходной шестерней 13 и вращающийся переход (вращпереход), состоящий из волновода 18 и СВЧ тракта 8. Неподвижную часть вращперехода 16 и его вращающуюся часть разделяет зазор - дроссельная линия 9. Величина зазора может составлять, например, от 0,1 до 0,5 мм. В верхней части трубы 6 неподвижно закреплена вилка 11, а внутри трубы 6 установлен корпус 10 со встроенным в него волноводом 18, являющимся вращающейся частью бесконтактного сверхвысокочастотного перехода, при этом неподвижная часть вращперехода 16 закреплена внутри втулки 15. На внешней стороне втулки 15 вдоль оси втулки расположена зубчатая рейка 14, кинематически связанная с выходной шестерней 13 размещенного на основании 1 привода наклона 12 зеркала 2. Во внутренней части втулки 15 закреплены подшипники 17, внутренние подвижные кольца которых установлены на нижней части корпуса 10. Центрирование по окружности верхней части корпуса 10 осуществляется подшипниками 19, установленными в сквозных пазах 20, расположенных по окружности трубы 6 вдоль ее оси вращения, и в совпадающих с ними пазах на наружной части корпуса 10. Боковые поверхности подшипников 19 касаются боковых поверхностей пазов 20 трубы 6 и, соответственно, боковых поверхностей пазов корпуса 10, внешние же кольца этих подшипников 19 обкатывают, соответственно, внутренние поверхности пазов корпуса 10 в том же направлении.

[19]

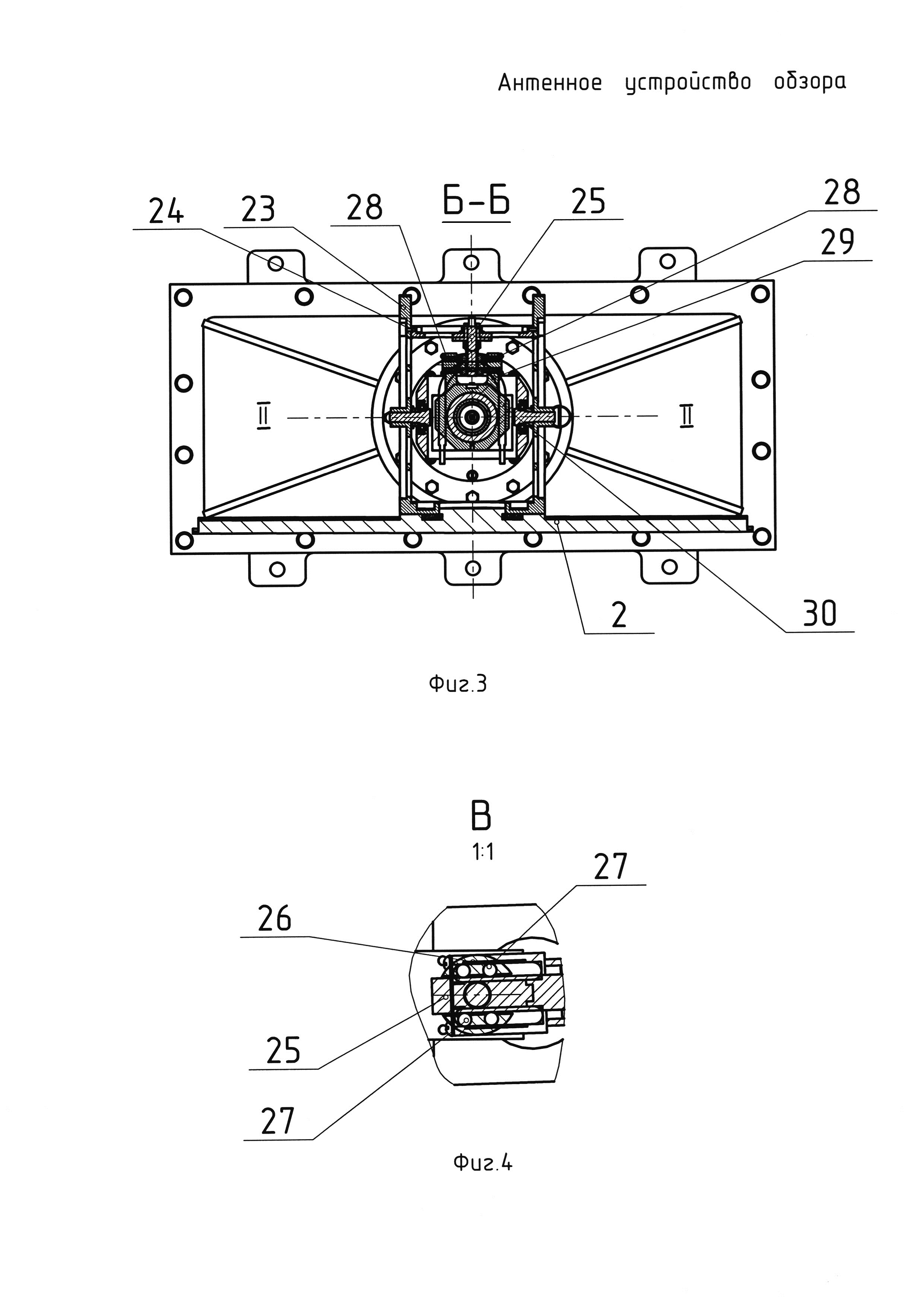
В соосно расположенных отверстиях боковых частей вилки 11, в подшипниках 21, установлены валы 22 с закрепленным на них кронштейном 23. Ось вращения (наклона) II-II кронштейна 23 перпендикулярна оси вращения I-I зеркала 2 по азимуту. На одном конце кронштейна 23 (фиг. 3, 4) установлено зеркало 2, а на противоположном конце размещен противовес 24, выполненный в виде планки с центральным отверстием, в котором закреплен стержень 25, например, прямоугольного сечения. Консольная часть стержня 25 вставлена в отверстие муфты 26 с роликами 27, расположенными симметрично относительно стержня 25 в вертикальной плоскости. В горизонтальной плоскости муфта 26 закреплена с двух сторон симметрично относительно стержня 25 в подшипниках 28, установленных на скобе 29 держателя 30, выполненного, например, в виде пластины с отверстием, и неподвижно закрепленного на верхней части корпуса 10.

[20]

Антенное устройство обзора работает следующим образом.

[21]

Вращение зеркала 2 по азимуту осуществляется установленным на основании 1 приводом 3 через шестерню 4, которая передает вращение трубе 6 через колесо 5 и установленные в основании 1 подшипники 7. Подшипники 19, закрепленные на трубе 6, своими боковыми поверхностями передают вращение корпусу 10 через боковые поверхности пазов на нем. Поскольку вилка 11 неподвижно закреплена на трубе 6, то она вращается вместе с трубой 6. Зеркало 2, закрепленное на вилке 11 с помощью кронштейна 23, также вращается по азимуту вокруг оси I-I.

[22]

Поворот зеркала 2 по наклону (по углу места) по оси II-II осуществляется приводом 12 через выходную шестерню 13. Шестерня 13 через зубчатую рейку 14, расположенную на втулке 15, поднимает или опускает втулку 15 с закрепленными в ней подшипниками 17 и неподвижной частью вращперехода 16. Корпус 10 вместе с вращающейся частью вращперехода (волноводом 18) и дроссельной линией 9 также перемещаются вдоль оси I-I.

[23]

Так как подшипники 19 центрируют корпус 10 с трех сторон с помощью пазов в корпусе 10 и трубе 6, корпус 10, вращаясь, одновременно поступательно перемещается вдоль оси I-I относительно вилки 11, вращающейся в азимутальном направлении. Перемещение корпуса 10 вдоль оси I-I ограничивается длиной пазов в нем, поэтому длина пазов должна быть не меньше хода поступательного движения втулки 15 вдоль той же оси I-I относительно вилки 11. Вместе с корпусом 10 поступательно перемещается и держатель 30 с муфтой 26. Муфта 26 с роликами 27, перемещаясь поступательно вдоль оси I-I, передает усилие на стержень 25 и, соответственно, на противовес 24 и кронштейн 23 с зеркалом 2. Таким образом, кронштейн 23 с зеркалом 2 имеет возможность вращаться по окружности относительно оси наклона II-II в заданных пределах углов наклона, например от +30 до -10 градусов. Зеркало антенны с управляемым в заданных пределах углом наклона вокруг оси II-II осуществляет сканирование не только по азимуту, но и по наклону (углу места), причем электроприводы азимутального и наклонного каналов находятся на неподвижном основании устройства.

[24]

Кроме указанного выше технического результата предложенное антенное устройство обзора обладает более высокой надежностью, чем прототип, вследствие отсутствия вращающего контактного устройства. Наличие в прототипе точечных подвижных контактов, способных к окислению, может привести к изменению переходного сопротивления в схеме.

[25]

Отсутствие вращающего контактного устройства с контактными парами также позволяет повысить скорость вращения зеркала. Бесконтактные устройства более износоустойчивы и могут работать при скоростях вращения до 3000 об/мин (Р.Г. Варламов «Краткий справочник конструктора радиоэлектронной аппаратуры». М.: изд-во «Советское Радио», 1972 г., с. 659).

[26]

Источники информации

[27]

1. Патент RU 2561496 С1 «Радиолокационная станция обеспечения безопасной посадки вертолета в условиях отсутствия или ограниченной видимости», опубл. 27.08.2015, МПК G01S 13/93.

[28]

2. В Интернете: www.telephonics.com; www.telephonics.com.APS-143C(V)3/OceanEye-Telephonics; Антенное устройство обзора APS-143(V) фирмы «Telephonics Corporation», США.

[29]

3. Р.Г. Варламов «Краткий справочник конструктора радиоэлектронной аппаратуры». М.: изд-во «Советское Радио», 1972 г., с. 659.

Как компенсировать расходы
на инновационную разработку
Похожие патенты