патент
№ RU 2653224
МПК B60T13/26

ТОРМОЗНАЯ СИСТЕМА СПЕЦИАЛЬНОГО ЖЕЛЕЗНОДОРОЖНОГО ПОДВИЖНОГО СОСТАВА

Авторы:
Никонов Валерий Алексеевич Мещерин Юрий Васильевич Киреева Елена Николаевна
Все (7)
Номер заявки
2016128795
Дата подачи заявки
15.07.2016
Опубликовано
07.05.2018
Страна
RU
Как управлять
интеллектуальной собственностью
Чертежи 
1
Реферат

Изобретение относится к области железнодорожного транспорта. Тормозная система относится к специальному железнодорожному подвижному составу и содержит тормозную магистраль, пневматический воздухораспределитель грузового типа, соединенный воздухопроводами через разобщительный кран с упомянутой тормозной магистралью, с запасным резервуаром и с двумя тормозными цилиндрами через, как минимум, один авторежим, и электропневматический воздухораспределитель. Электропневматический воздухораспределитель установлен на отдельном кронштейне, соединен посредством обратного клапана и редуктора с запасным резервуаром. Пневматический воздухораспределитель грузового типа соединен с двумя тормозными цилиндрами через, как минимум, один авторежим посредством переключательного клапана, противоположный отросток которого соединен с воздухопроводом тормозных цилиндров электропневматического воздухораспределителя. Достигается повышение эффективности и надежности работы тормозной системы. 1 з.п. ф-лы, 1 ил.

Формула изобретения

1. Тормозная система специального железнодорожного подвижного состава, включающая тормозную магистраль, пневматический воздухораспределитель грузового типа, соединенный воздухопроводами через разобщительный кран с упомянутой тормозной магистралью, с запасным резервуаром и с двумя тормозными цилиндрами через, как минимум, один авторежим, отличающаяся тем, что содержит электропневматический воздухораспределитель, установленный на отдельном кронштейне, соединенный посредством обратного клапана и редуктора с запасным резервуаром, а пневматический воздухораспределитель грузового типа соединен с двумя тормозными цилиндрами через, как минимум, один авторежим посредством переключательного клапана, противоположный отросток которого соединен с воздухопроводом тормозных цилиндров электропневматического воздухораспределителя.

2. Тормозная система специального железнодорожного подвижного состава по п. 1, отличающаяся тем, что пневматический воздухораспределитель грузового типа может быть соединен с двумя тормозными цилиндрами посредством индивидуального авторежима для каждого тормозного цилиндра.

Описание

[1]

Изобретение относится к специальному железнодорожному подвижному составу, как самоходному, так и несамоходному, созданному, в том числе на базе грузовых или пассажирских вагонов с низким коэффициентом тары, и касается устройства тормозных систем указанных транспортных средств с электропневматическим торможением.

[2]

Известна тормозная система железнодорожного подвижного состава, содержащая воздухораспределитель пассажирского типа, сообщенный магистральным отростком через разобщительный кран с тормозной магистралью, питательным отростком с запасным резервуаром и выходным отростком с одним из выходов переключательного клапана, другой вход которого сообщен с электровоздухораспределителем, питающимся от запасного резервуара, систему нештатного торможения, включающую в себя блокировочный клапан и дополнительный переключательный клапан /1/.

[3]

Недостатками известной тормозной системы являются ее сложность, заключающаяся в дополнительной установке переключательного и блокировочного клапанов, а также невозможность отпуска тормоза, пока величина давления в тормозной магистрали не превысит величину уставки блокировочного клапана, что увеличивает время маневровых работ с железнодорожным подвижным составом, особенно связанных с частыми отцепками отдельных вагонов.

[4]

Известна тормозная система железнодорожного вагона, содержащая тормозную магистраль, тормозные цилиндры первой и второй тележек, соединенные воздухопроводами с тормозной магистралью, воздухораспределитель и электровоздухораспределитель, запасный резервуар и ложный резервуар, выполненный в виде емкости с воздуховодом, и два питательных резервуара, каждый из которых соединен со своим реле давления, соединенных с двумя сбрасывающими клапанами и соответствующими тормозными цилиндрами /2/.

[5]

Недостатками известной тормозной системы является наличие нескольких различных по объему резервуаров и зависимость выходных давлений воздухораспределителя и электровоздухораспределителя от подбора объема ложного резервуара, приводящее к тому, что при торможении для независимости величины давления в тормозном цилиндре от изменения его внутреннего объема при перемещении поршня обязательно требуется наполнение сжатым воздухом тормозного цилиндра с помощью реле давления, что существенно усложняет тормозную систему.

[6]

Кроме того, данная тормозная система весьма чувствительна даже к небольшим утечкам воздуха в пневмолинии от воздухораспределителя и электровоздухораспределителя к ложному резервуару, что может привести к неконтролируемому отпуску тормоза.

[7]

Известна тормозная система пассажирского подвижного состава, содержащая воздухораспределитель для пассажирских вагонов, подключенный магистральным отростком через разобщительный кран к тормозной магистрали, питательным отростком к запасному резервуару и выходным отростком через один из входов переключательного клапана к тормозному цилиндру, второй вход переключательного клапана соединен с электровоздухораспределителем, подключенным к запасному резервуару, дополнительно оснащенная клапаном ограничения давления зарядки запасного резервуара /3/.

[8]

Недостатком известной тормозной системы является снижение безопасности эксплуатации подвижного состава, поскольку установка дополнительного клапана ограничения давления запасного резервуара приведет к быстрой истощимости тормоза - уменьшению реализуемой тормозной силы подвижного состава при длительных или при частых, следующих одно за другим торможениях и отпусках, вследствие недостаточности восполнения запасов сжатого воздуха в запасном резервуаре.

[9]

Известна тормозная система грузового вагона, принятая за прототип, содержащая пневматический воздухораспределитель, подключенный к тормозной магистрали через разобщительный кран, запасному резервуару, тормозные цилиндры, соединенные с авторежимами, электропневматический воздухораспределитель, соединенный с запасным резервуаром, пневматическим воздухораспределителем и с переключательным клапаном, реле давления, питательные резервуары, подключенные к тормозной магистрали через дроссели и обратные клапаны, ложный тормозной цилиндр, соединенный с переключательным клапаном /4/.

[10]

Недостатком известной тормозной системы является ее сложность, заключающаяся в необходимости наполнения сжатым воздухом тормозных цилиндров с помощью реле давления и необходимости установки питательных резервуаров, подключенных к тормозной магистрали через дроссели и обратные клапаны, а также наличие ложного тормозного цилиндра, что снижает общий уровень надежности тормозной системы.

[11]

Техническим результатом заявленного изобретения является повышение эффективности и надежности работы тормозной системы специального железнодорожного подвижного состава в результате обеспечения неистощимости тормозов за счет применения пневматического воздухораспределителя грузового типа и электропневматического воздухораспределителя, упрощение конструкции тормозной системы, для которой не требуется применение ряда компонентов, используемых в рассмотренных тормозных системах, таких как реле давления, питательные и ложные резервуары.

[12]

Указанный технический результат достигается тем, что в тормозной системе специального железнодорожного подвижного состава, включающей тормозную магистраль, пневматический воздухораспределитель грузового типа, соединенный воздухопроводами через разобщительный кран с упомянутой тормозной магистралью, с запасным резервуаром и с двумя тормозными цилиндрами через, как минимум, один авторежим, содержится электропневматический воздухораспределитель, установленный на отдельном кронштейне, соединенный посредством обратного клапана и редуктора с запасным резервуаром, а пневматический воздухораспределитель грузового типа соединен с двумя тормозными цилиндрами через, как минимум, один авторежим посредством переключательного клапана, противоположный отросток которого соединен с воздухопроводом тормозных цилиндров электропневматического воздухораспределителя.

[13]

Кроме того, пневматический воздухораспределитель грузового типа может быть соединен с двумя тормозными цилиндрами посредством индивидуального авторежима для каждого тормозного цилиндра.

[14]

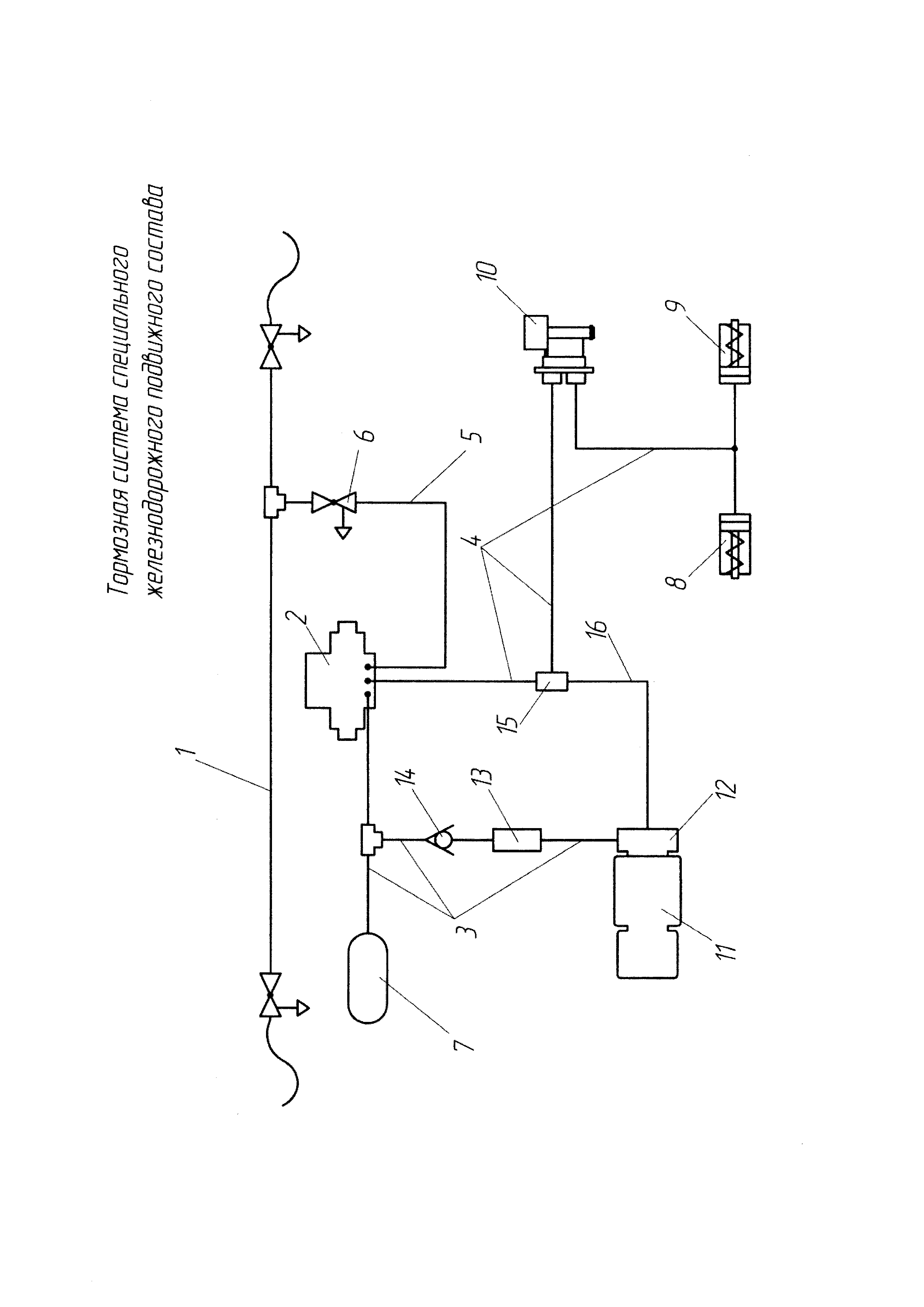
На чертеже схематически изображена тормозная система специального железнодорожного подвижного состава.

[15]

Тормозная система специального железнодорожного подвижного состава содержит тормозную магистраль 1, пневматический воздухораспределитель 2 грузового типа, соединенный воздухопроводами 3, 4, 5 через разобщительный кран 6 с тормозной магистралью 1, с запасным резервуаром 7 и с тормозными цилиндрами 8, 9 через, как минимум, один авторежим 10, электропневматический воздухораспределитель 11, установленный на отдельном кронштейне 12, соединенный посредством обратного клапана 13 и редуктора 14 с запасным резервуаром 7. Воздухораспределитель 2 грузового типа соединен с тормозными цилиндрами 8, 9 через, как минимум, один авторежим 10 посредством переключательного клапана 15, противоположный отросток которого соединен с воздухопроводом 16 тормозных цилиндров электропневматического воздухораспределителя.

[16]

Тормозная система специального железнодорожного подвижного состава работает следующим образом.

[17]

При установлении зарядного давления в тормозной магистрали 1 через пневматический воздухораспределитель 2 грузового типа происходит наполнение сжатым воздухом запасного резервуара 7, соединенного посредством обратного клапана 13 и редуктора 14 с электропневматическим воздухораспределителем 11.

[18]

При торможении автоматическим тормозом сжатый воздух из запасного резервуара 7 через пневматический воздухораспределитель 2 грузового типа по воздухопроводу 4, переключательный клапан 15 поступает на авторежим 10 и далее на тормозные цилиндры 8, 9, воздействующие на тормозные рычажные передачи соответствующих тележек (на чертеже не показаны).

[19]

При электропневматическом торможении сжатый воздух из запасного резервуара 7 через редуктор 13 и обратный клапан 14 по воздухопроводу 3 поступает через электропневматический воздухораспределитель 11, установленный на отдельном кронштейне 12 по воздухопроводу 16, через переключательный клапан 15 на авторежим 10 и далее на тормозные цилиндры 8, 9, воздействующие на тормозные рычажные передачи соответствующих тележек.

[20]

Редуктор 14 регулируется на величину максимального давления сжатого воздуха в тормозном цилиндре, при которой выполняется условие безъюзового торможения специального железнодорожного подвижного состава, т.е. торможения с максимальным тормозным нажатием, при котором не происходит заклинивание колесных пар тележек.

[21]

Таким образом, в тормозной системе специального железнодорожного подвижного состава технический результат достигается путем использования двух независимо работающих пневматического воздухораспределителя 2 грузового типа и электропневматического воздухораспределителя 11, подключенных к единому запасному резервуару 7.

[22]

Для наполнения сжатым воздухом тормозных цилиндров при всех видах торможений специального железнодорожного подвижного состава как при помощи пневматического воздухораспределителя грузового типа, так и с помощью электропневматического воздухораспределителя достаточно одного запасного резервуара. При этом не требуется применение ряда компонентов, используемых в существующих тормозных системах с электропневматическим торможением, таких как реле давления, питательные и ложные резервуары, что упрощает конструкцию тормозной системы специального железнодорожного подвижного состава и повышает его надежную и безопасную эксплуатацию.

[23]

Предложенная тормозная система специального железнодорожного подвижного состава позволяет применять ее как на самоходном, так и несамоходном специальном железнодорожном подвижном составе, созданном в том числе на базе грузовых или пассажирских вагонов с низким коэффициентом тары.

[24]

Тормозная система специального железнодорожного подвижного состава позволяет транспортировать его отдельным пассажирским локомотивом или в составе пассажирских поездов, где особенно требуется электропневматическое торможение, или грузовыми локомотивами в составе хозяйственных и грузовых поездов, что весьма востребовано на железнодорожной инфраструктуре.

[25]

Источники информации

[26]

1. RU, патент на изобретение №2073341 С1, «Тормозная система железнодорожного подвижного состава», МПК В60Т 13/26, опубл. 10.02.1997.

[27]

2. RU, патент на полезную модель №128586 U1, «Тормозная система железнодорожного вагона», МПК В61Н 11/02, опубл. 27.05.2013.

[28]

3. UA, патент на изобретение №93923 С2, «Тормозная система подвижного состава (варианты) и клапан ограничения давления зарядки запасного резервуара», МПК В60Т 17/04, опубл. 25.03.2011.

[29]

4. RU, патент на полезную модель №122960 U1, «Тормозная система грузового вагона», МПК В60Т 13/26, опубл. 20.12.2012.

Как компенсировать расходы
на инновационную разработку
Похожие патенты