патент
№ RU 2660172
МПК H02G7/08

СОЕДИНИТЕЛЬНЫЙ ПРЕССУЕМЫЙ ЗАЖИМ

Авторы:
Юданов Евгений Алексеевич
Номер заявки
2017133870
Дата подачи заявки
29.09.2017
Опубликовано
05.07.2018
Страна
RU
Как управлять
интеллектуальной собственностью
Чертежи 
1
Реферат

Изобретение относится к электроэнергетике, в частности к соединительным прессуемым зажимам, предназначенным для соединения неизолированных сталеалюминиевых проводов и тросов воздушных линий электропередачи. Зажим состоит из корпуса (1) и втулки (2). Корпус изготавливается из алюминия или алюминиевого сплава и выполняется в виде трубы круглой или овальной формы с лысками и конусной частью (3) по его концам. Во втулку вставляются способом внахлест навстречу друг другу стальные сердечники (4) сталеалюминиевого провода (5) и не менее двух вкладышей (6). Вкладыши (6)представляют собой стальные проволоки (не менее двух) одинакового диаметра или несколько (больше двух) проволок, но меньшего диаметра. Предлагаемый соединительный прессуемый зажим отличается низкими затратами при изготовлении и в монтаже за счет существенного снижения его металлоемкости и трудоемкости из-за значительного уменьшения длин втулки и корпуса при соединении распушенных проволок сердечников сталеалюминиевых проводов способом врасплет. 2 з.п. ф-лы, 3 ил.

Формула изобретения

1. Соединительный прессуемый зажим, предназначенный для соединения неизолированных сталеалюминиевых проводов и тросов воздушных линий электропередачи, стальной сердечник которых выполнен в виде одной круглой жилы или в виде многопроволочной жилы, состоящий из корпуса и втулки, отличающийся тем, что во втулке расположены, по меньшей мере, два вкладыша, при этом стальные сердечники соединяемых проводов расположены в свободной полости втулки внахлест навстречу друг другу, причем диаметр сквозного отверстия втулки принимается равным dотв.вт.=2dсерд.+(0,1÷5,0) мм, где dсерд. - диаметр сердечника, длина вкладыша втулки Lвкл.=(0,3÷2,0)Lвт. мм, где Lвт. - длина втулки, определяемая из соотношения: Lвт.=(8,0÷50,0)dсерд..

2. Зажим по п. 1, отличающийся тем, что корпус изготовлен из алюминия или алюминиевого сплава и выполнен в виде трубы круглой или овальной формы с лысками и конусной частью по его концам.

3. Зажим по п. 1, отличающийся тем, что втулка, выполненная в виде круглой трубы, опрессовывается, по меньшей мере, дважды последовательно шестигранной и круглой матрицами.

Описание

[1]

Изобретение относится к области электроэнергетики, а именно к соединительным прессуемым зажимам, предназначенным для соединения неизолированных сталеалюминиевых проводов и тросов воздушных линий электропередачи.

[2]

Известен безболтовой соединительный прессуемый зажим для проводов, характеризующийся тем, что содержит корпус, в верхней части которого выполнена открытая полость для размещения в ней провода неограниченной длины, в нижней части корпуса выполнено отверстие с прорезью для размещения в нем провода ограниченной длины, при этом на кромке верхней части полости выполнен выступ по всей ширине зажима [1].

[3]

В этом соединительном зажиме для возможности осуществления плотного контакта прессуемого зажима с проводом неограниченной длины на верхней части полости зажима предусматривается выступ, в который в процессе опрессовки упирается матрица, размещенная в силовой головке пресса, что существенно усложняет конструкцию зажима и, соответственно, сам процесс опрессования.

[4]

Наиболее близким техническим решением по отношению к предложенному является соединительный прессуемый зажим, предназначенный для соединения неизолированных сталеалюминиевых проводов и тросов воздушных линий электропередачи, стальной сердечник которых выполнен в виде одной круглой жилы или в виде многопроволочной жилы, состоящий из корпуса и втулки [2].

[5]

Такие зажимы предназначены для соединения сталеалюминиевых проводов сечением 185 мм2 и выше. Соединение стальной части проводов производится врасплет, когда стальные распушенные проволоки соединяемых сердечников вставляются во втулку с противоположных сторон до выхода из втулки, после чего производится опрессование матрицами на гидравлических прессах. Однако соединение методом врасплет сталеалюминиевых проводов, в которых стальной сердечник выполнен в виде одной проволоки невозможно и, как правило, в этом случае соединение сердечников производится методом встык, что имеет существенные недостатки, а именно большая металлоемкость и трудоемкость при изготовлении и монтаже, за счет длинных стальных втулок, в свою очередь ведущих к увеличению длины алюминиевого корпуса.

[6]

Заявитель ставил перед собой практическую задачу по разработке соединительного прессуемого зажима, стальной сердечник которых выполнен в виде одной круглой жилы или в виде многопроволочной жилы, характеризующегося небольшой металлоемкостью и трудоемкостью при изготовлении и в монтаже, уменьшенными длинами втулки и корпуса при соединении распушенных проволок сердечников сталеалюминиевых проводов способом врасплет. Данный положительный технический результат был достигнут за счет совокупности существенных признаков соединительного прессуемого зажима, представленной в нижеследующей формуле изобретения: «соединительный прессуемый зажим, предназначенный для соединения неизолированных сталеалюминиевых проводов и тросов воздушных линий электропередачи, стальной сердечник которых выполнен в виде одной круглой жилы или в виде многопроволочной жилы, состоящий из корпуса и втулки; во втулке расположены, по меньшей мере, два вкладыша, при этом стальные сердечники соединяемых проводов расположены в свободной полости втулки внахлест навстречу друг другу, причем диаметр сквозного отверстия втулки принимается равным dотв.вт.=2dсерд.+(0,1÷5,0) мм, где dсерд. - диаметр сердечника, длина вкладыша втулки Lвкл.=(0,3÷2,0)Lвт. мм, где Lвт. - длина втулки, определяемая из соотношения: Lвт.=(8,0÷50,0)dсерд.; корпус изготовлен из алюминия или алюминиевого сплава и выполнен в виде трубы круглой или овальной формы с лысками и конусной частью по его концам; втулка, выполненная в виде круглой трубы, опрессовывается, по меньшей мере, дважды последовательно шестигранной и круглой матрицами».

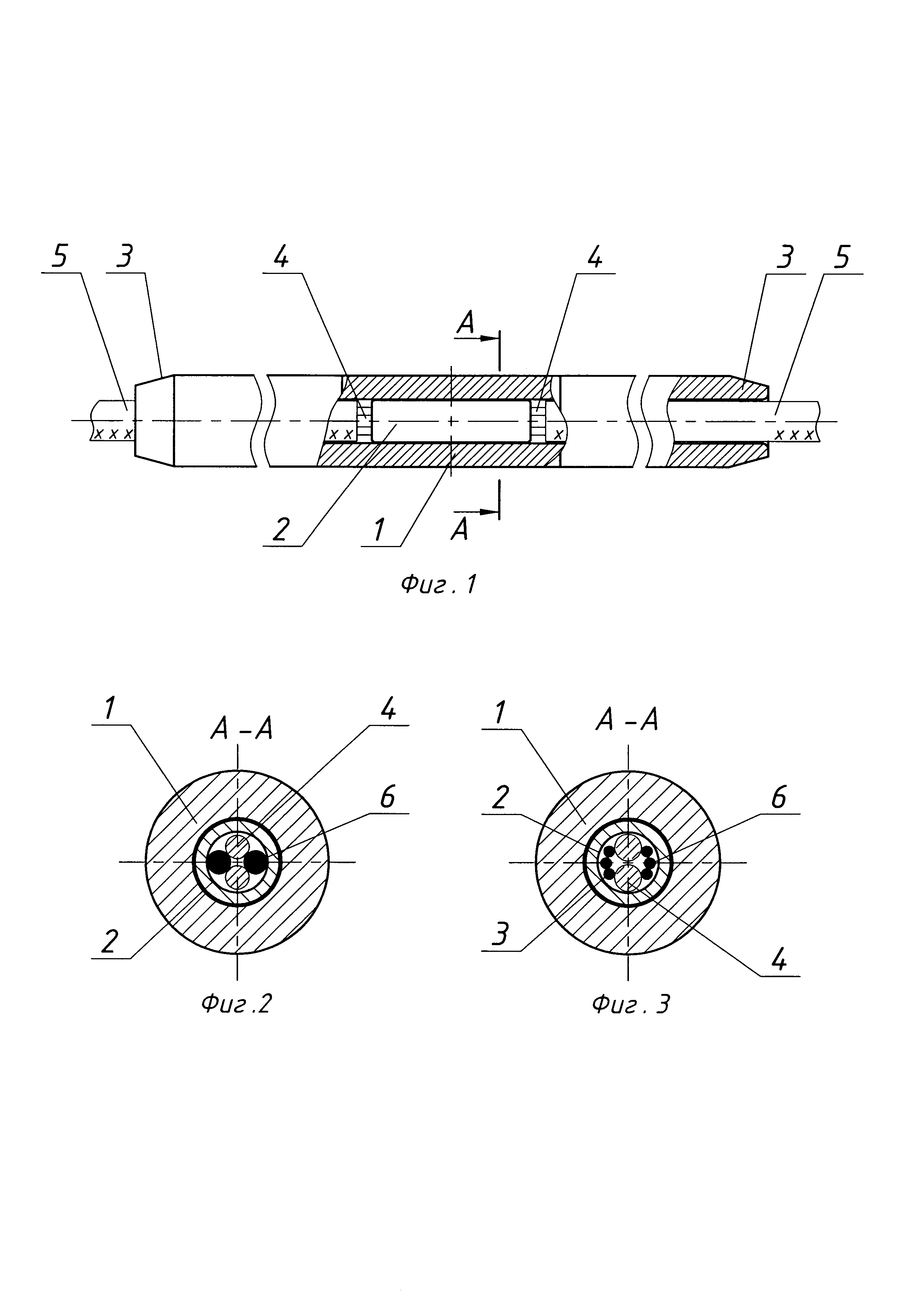
[7]

Сущность изобретения поясняется чертежами, где на фиг. 1 представлен общий вид соединительного прессуемого зажима, выполненного согласно настоящему изобретению, вид спереди перпендикулярно проводу воздушной линии электропередачи; на фиг. 2 - вид по стрелке А-А на фиг. 1, вариант с двумя вкладышами во втулке; на фиг. 3 - то же, что на фиг. 2, вариант с числом вкладышей во втулке большим, чем два вкладыша.

[8]

Заявляемый соединительный прессуемый зажим, предназначенный для соединения неизолированных сталеалюминиевых проводов и тросов воздушных линий электропередачи, стальной сердечник которых выполнен в виде одной круглой жилы или в виде многопроволочной жилы, состоит из корпуса 1 и втулки (стальной) 2. Корпус 1 изготавливается из алюминия или алюминиевого сплава и выполняется в виде трубы круглой или овальной формы с лысками и конусной частью 3 по его концам. Во втулку 2 вставляются способом внахлест навстречу друг другу стальные сердечники 4 сталеалюминиевого провода 5 и не менее двух вкладышей 6. Вкладыши 6 представляют собой стальные проволоки (не менее двух) одинакового диаметра или несколько (больше двух) проволок, но меньшего диаметра. Количество вставляемых во втулку 2 вкладышей 6 определяется условием их свободного без усилия вхождения в свободную полость отверстия втулки 2. Втулка 2 опрессовывается, по меньшей мере, дважды последовательно шестигранной и круглой матрицами зажима, что определяется исключительно маркой провода и конструкцией соединителя.

[9]

Диаметр сквозного отверстия втулки 2 принимается равным dотв.вт.=2dсерд.+(0,1÷5,0) мм, где dсерд. - диаметр сердечника, длина вкладыша втулки Lвкл.=(0,3÷2,0)Lвт. мм, где Lвт. - длина втулки, определяемая из соотношения: Lвт.=(8,0÷50,0)dсерд..

[10]

Изобретение работает следующим образом.

[11]

Монтаж соединительного прессуемого зажима производится в следующей последовательности. Перед монтажом на провод 5 в зоне соединения закрепляются бандажи, снимаются на определенной длине алюминиевые повивы соединяемых частей провода 5 и на стальной сердечник 4 одной из соединяемых частей провода 5 надвигается втулка 2 до упора в торцы алюминиевых повивов соединяемых частей провода 5. Сердечник 4 второй соединяемой части провода 5 вводится в отверстие втулки 2, предварительно навернув на провод 5 корпус 1. Затем вкладыши 6 зачищенными поверхностями вставляются в отверстие втулки 2 до упора в концы алюминиевых повивов соединяемых частей провода 5. Втулка 2 при этом сдвигается так, чтобы зазоры между ней и торцами алюминиевых повивов соединяемых частей провода 5 стали одинаковыми. После чего производят опрессование зажима, начиная от его середины. Алюминиевые повивы на определенной длине, а также внутренняя полость корпуса 1 зажима очищаются от грязи и смазки ветошью, смоченной в бензине. В конце монтажа поверхность провода 5 смазывается смазкой или техническим вазелином и зачищается до блеска металлической щеткой.

[12]

Предлагаемый соединительный прессуемый зажим, стальной сердечник которого выполняется в виде одной круглой жилы или в виде многопроволочной жилы, отличается низкими затратами при изготовлении и в монтаже за счет существенного снижения его металлоемкости и трудоемкости из-за значительного уменьшения длин втулки и корпуса при соединении распушенных проволок сердечников сталеалюминиевых проводов способом врасплет.

[13]

Источники информации

[14]

[1] Описание изобретения к патенту №2335416 «Безболтовой соединительный зажим», В60М 1/24, заявлено 02.02.2007, опубликовано 10.10.2008.

[15]

[2] Отраслевой каталог серийно выпускаемых изделий 2016-2017 «Изоляторы. Линейная арматура и монтажный инструмент для современных ВЛ», раздел «Арматура соединительная», стр. 195-206.

[16]

[3] Описание изобретения к патенту №2365008 «Соединительный плашечный зажим», H02G 7/05, заявлено 15.08.2008, опубликовано 20.08.2009.

[17]

[4] Описание изобретения к патенту №2372698 «Соединительный зажим для стальных канатов и стальных проводов», H02G 7/05, заявлено 14.10.2008, опубликовано 10.11.2009.

[18]

[5] Описание изобретения к авторскому свидетельству №976820 «Соединительный зажим», H01R 4/08, H01R 4/62, заявлено 18.06.1979, опубликовано 15.11.1984.

[19]

[6] Описание изобретения к патенту №2272343 «Соединительный зажим комбинированного типа», H01R 4/10, H02G 1/14, заявлено 03.08.2004, опубликовано 20.03.2006.

Как компенсировать расходы
на инновационную разработку
Похожие патенты