патент
№ RU 2455401
МПК C01B33/035

РЕАКТОР ДЛЯ ПОЛУЧЕНИЯ СТЕРЖНЕЙ ПОЛИКРИСТАЛЛИЧЕСКОГО КРЕМНИЯ

Авторы:
Сотников Павел Анатольевич Сарапулов Кирилл Борисович Гавриленко Ксения Валериевна
Все (5)
Номер заявки
2010151188/05
Дата подачи заявки
13.12.2010
Опубликовано
10.07.2012
Страна
RU
Как управлять
интеллектуальной собственностью
Чертежи 
4
Реферат

Изобретение относится к устройствам для выращивания поликристаллического кремния, преимущественно, путем осаждения из газовой фазы на подогреваемые стержневые подложки (основы). Реактор содержит охлаждаемый поддон 1, установленный на опорной конструкции, цилиндрический колпак 2, состоящий из внутренней рубашки охлаждения 3 и наружной рубашки охлаждения 4, направляющих ребер охлаждения 5. Наружная рубашка охлаждения 4 состоит из сегментов, которые жестко связаны между собой и посредством направляющих ребер 5 с внутренней рубашкой 3 сваркой. Конструкция снабжена средствами для подвода 7 и отвода 8 охлаждающей среды и шпангоутом 9 для крепления колпака к поддону 1. Между наружной 4, внутренней 3 рубашками охлаждения и направляющими ребрами 5 образованы кольцевые каналы, переходящие с одного уровня на другой по спирали. Технический результат изобретения заключается в уменьшении массы колпака реактора и улучшении условий охлаждения внутренней рубашки 3. 5 ил.

Формула изобретения

Реактор для получения стержней поликристаллического кремния, содержащий охлаждаемый поддон, цилиндрический колпак, состоящий из наружной и внутренней рубашек охлаждения и направляющих ребер между ними, средства для отвода и подвода охлаждающей среды и шпангоут для крепления колпака к поддону, отличающийся тем, что наружная рубашка охлаждения выполнена из сегментов, жестко связанных между собой и с внутренней рубашкой посредством направляющих ребер с образованием кольцевых каналов, переходящих с одного уровня на другой по спирали.

Описание

[1]

Изобретение относится к устройствам специально предназначенным для выращивания поликристаллического кремния, преимущественно путем осаждения из газовой фазы на подогреваемые стержневые подложки (основы).

[2]

Известен реактор для получения стержней поликристаллического кремния фирмы «Ваккер» (Германия), содержащий охлаждаемый поддон, цилиндрический колпак, состоящий из наружной и внутренней рубашек охлаждения, средства для отвода и подвода охлаждающей среды, шпангоут для крепления колпака к поддону (Фалькевич Э.С. «Технология полупроводникового кремния». М.: Металлургия, 1992, с.218-219).

[3]

В данном реакторе, учитывая высокое давление со стороны охлаждающей среды на внутреннюю рубашку охлаждения колпака реактора, она, для обеспечения прочности, выполняется толстостенной, что ведет к увеличению массы колпака реактора.

[4]

Кроме того, при циркуляции охлаждающей среды в едином межрубашечном пространстве образуются застойные зоны в нижней части колпака, способствующие местному перегреву внутренней рубашки охлаждения.

[5]

Наиболее близким аналогам является реактор для получения стержней поликристаллического кремния, содержащий охлаждаемый поддон, цилиндрический колпак, состоящий из наружной и внутренней рубашек охлаждения, направляющих ребер между ними и средства для отвода и подвода охлаждающей среды, шпангоут для крепления колпака к поддону (патент WO 2010083899, МПК С30В 33/035, 2010-07-29).

[6]

Установка направляющих ребер на наружной поверхности внутренней рубашки охлаждения увеличивает ее поверхность и значительно улучшает теплопередачу между охлаждающей жидкостью и поверхностью рубашки, обеспечивает более равномерное распределение охлаждающей среды, но не исключает образование застойных зон.

[7]

Давление на внутреннюю рубашку колпака реактора остается со стороны охлаждающей жидкости неизменным, и она остается толстостенной.

[8]

Техническим результатом, на достижение которого направлено предлагаемое изобретение, является уменьшение массы колпака реактора и улучшение условий охлаждения внутренней рубашки.

[9]

Технический результат достигается за счет того, что в реакторе для получения стержней поликристаллического кремния, содержащем охлаждаемый поддон, цилиндрический колпак, состоящий из наружной и внутренней рубашек охлаждения и направляющих ребер между ними, средства для отвода и подвода охлаждающей среды и шпангоут для крепления колпака к поддону, наружная рубашка охлаждения выполнена из сегментов жестко связанных между собой и с внутренней рубашкой посредством направляющих ребер с образованием кольцевых каналов, переходящих с одного уровня на другой по спирали.

[10]

Выполнение наружной рубашки из сегментов жестко связанных между собой и с внутренней рубашкой посредством направляющих ребер позволяет повысить прочность конструкции и за счет этого уменьшить толщину внутренней рубашки охлаждения и, соответственно, массу колпака.

[11]

Образование кольцевых каналов увеличивает интенсивность отвода тепла, а переход их с одного уровня на другой по спирали обеспечивает равномерное распределение охлаждающей среды в межрубашечном пространстве колпака реактора, исключая появление застойных зон, что улучшает условия охлаждения.

[12]

Описание предлагаемого реактора иллюстрируется чертежами, где

[13]

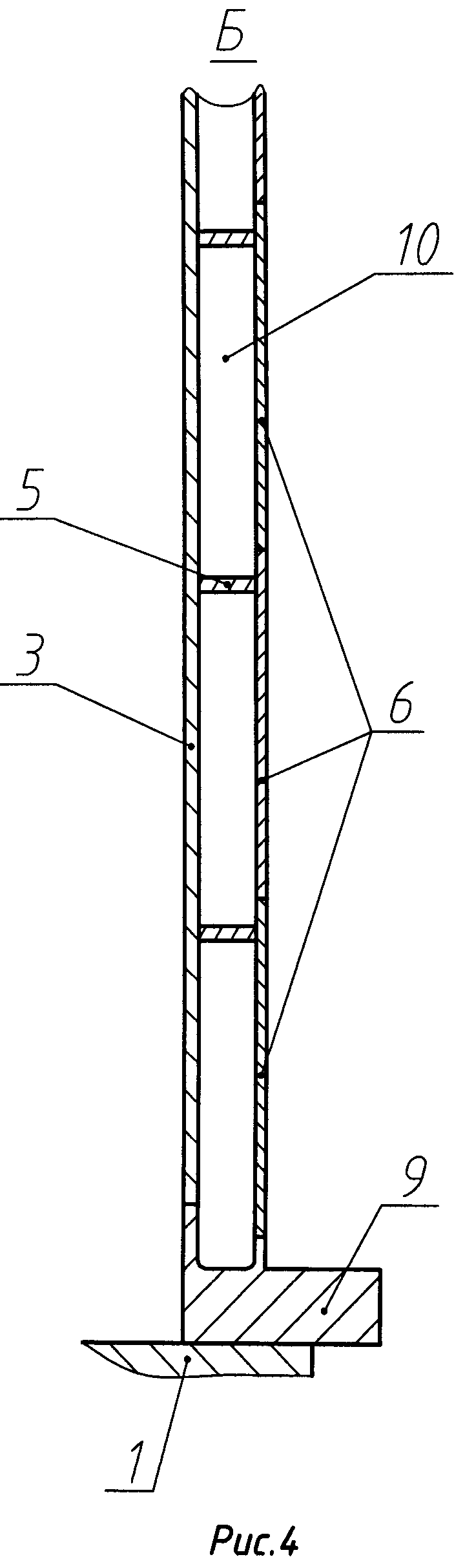
на рис.1 показан общий вид реактора; на рис.2 - вид сверху; на рис.3 - разрез по А-А на рис.2; на рис.4 - вид Б на рис.3; на рис.5 - схема движения охлаждающей среды.

[14]

Ректор для получения стержней поликристаллического кремния (рис.1, 2, 3) содержит охлаждаемый поддон 1, установленный на опорной конструкции, цилиндрический колпак 2, состоящий из внутренней рубашки охлаждения 3 и наружной рубашки охлаждения 4, направляющих ребер охлаждения 5. Наружная рубашка охлаждения состоит из сегментов 6. Сегменты 6 жестко связаны между собой и посредством направляющих ребер 5 с внутренней рубашкой 3 сваркой (рис.4). Конструкция снабжена средствами для подвода 7 и отвода 8 охлаждающей среды и шпангоутом 9 для крепления колпака к поддону 1. Между наружной, внутренней рубашками охлаждения и направляющими ребрами образованы кольцевые каналы 10, переходящие с одного уровня на другой по спирали (рис.5).

[15]

Реактор работает следующим образом. На поддон 1 устанавливается цилиндрический колпак 2 и крепится посредством шпангоута 9 к поддону. Через средство подвода 7 охлаждающей среды (например, воды) она поступает под давлением в цилиндрические каналы, образованные сегментами 6 наружной рубашки охлаждения 4, стенкой внутренней рубашки охлаждения 3 и направляющими ребрами охлаждения 5 и, пройдя по спирали, сливается через средство для отвода 8 охлаждающей среды.

Как компенсировать расходы
на инновационную разработку
Похожие патенты