патент
№ RU 2680161
МПК G01R31/28

СПОСОБ ТЕСТИРОВАНИЯ ГИС СВЧ

Авторы:
Посаднев Алексей Юрьевич Кошелев Сергей Валентинович Невокшенов Александр Владимирович
Все (7)
Номер заявки
2018115806
Дата подачи заявки
27.04.2018
Опубликовано
18.02.2019
Страна
RU
Как управлять
интеллектуальной собственностью
Чертежи 
3
Реферат

Использование: для тестирования ГИС СВЧ. Сущность изобретения заключается в том, что способ тестирования гибридной интегральной схемы (ГИС) СВЧ, имеющей контактные площадки, образованные, по меньшей мере, торцевой металлизацией, включает фиксацию ГИС СВЧ, последующее соединение ее заземляющей поверхности с экраном коаксиального СВЧ тракта, а каждой из упомянутых контактных площадок - с центральным проводником коаксиального СВЧ тракта посредством соответствующего щупа, ось которого параллельна поверхности подложки ГИС СВЧ, в котором осуществляют подведение и снятие СВЧ сигнала с коаксиального СВЧ тракта, а также подведение сигналов управления и питания к ГИС СВЧ посредством контактных элементов. Технический результат: обеспечение возможности тестирования ГИС СВЧ с высокой точностью, а также в обеспечении возможности тестирования ГИС СВЧ различных типоразмеров. 1 з.п. ф-лы, 6 ил.

Формула изобретения

1. Способ тестирования гибридной интегральной схемы (ГИС) СВЧ, имеющей контактные площадки, образованные, по меньшей мере, торцевой металлизацией, включающий фиксацию ГИС СВЧ, последующее соединение ее заземляющей поверхности с экраном коаксиального СВЧ тракта, а каждой из упомянутых контактных площадок - с центральным проводником коаксиального СВЧ тракта посредством соответствующего щупа, ось которого параллельна поверхности подложки ГИС СВЧ, в котором осуществляют подведение и снятие СВЧ сигнала с коаксиального СВЧ тракта, а также подведение сигналов управления и питания к ГИС СВЧ посредством контактных элементов.

2. Способ по п. 1, отличающийся тем, что оси контактных элементов перпендикулярны поверхности подложки ГИС СВЧ.

Описание

[1]

Изобретение относится к контрольно-измерительной технике и может быть использовано при тестировании гибридных интегральных схем (ГИС) СВЧ, в частности, интегральных функциональных устройств.

[2]

Известен способ тестирования печатных плат, включающий соединение проводящих элементов платы с внешней цепью контрольно-измерительного прибора посредством щупов в виде игл, оси которых расположены перпендикулярно поверхности платы (см. описание к авторскому свидетельству SU 1665553, опубл. 23.07.1991).

[3]

Недостатком известного способа является недостаточная точность тестирования, в частности, в случае использования известного способа для тестирования ГИС СВЧ, вследствие искажения СВЧ сигнала из-за описанного выше соединения проводящих элементов платы с внешней цепью контрольно-измерительного прибора.

[4]

Технической проблемой, решаемой настоящим изобретением, является создание способа тестирования ГИС СВЧ, лишенного указанных недостатков.

[5]

В результате достигается технический результат, состоящий в обеспечении тестирования ГИС СВЧ с высокой точностью, а также в обеспечении возможности тестирования ГИС СВЧ различных типоразмеров.

[6]

Конкретно, указанный технический результат достигается путем осуществления способа тестирования ГИС СВЧ, имеющей контактные площадки, образованные, по меньшей мере, торцевой металлизацией, включающий фиксацию ГИС СВЧ, последующее соединение ее заземляющей поверхности с экраном коаксиального СВЧ, а каждой из упомянутых контактных площадок - с центральным проводником коаксиального СВЧ тракта посредством соответствующего щупа, ось которого параллельна поверхности подложки ГИС СВЧ, в котором осуществляют подведение и снятие СВЧ сигнала с коаксиального СВЧ тракта, а также подведение сигналов управления и питания к тестируемой ГИС СВЧ посредством контактных элементов.

[7]

В частном варианте осуществления оси контактных элементов перпендикулярны поверхности подложки ГИС СВЧ.

[8]

На фиг. 1 показан общий вид устройства для реализации заявленного способа.

[9]

На фиг. 2а, 2б, 2в показана ГИС СВЧ, каждая из контактных площадок которой соединена с соответствующим щупом.

[10]

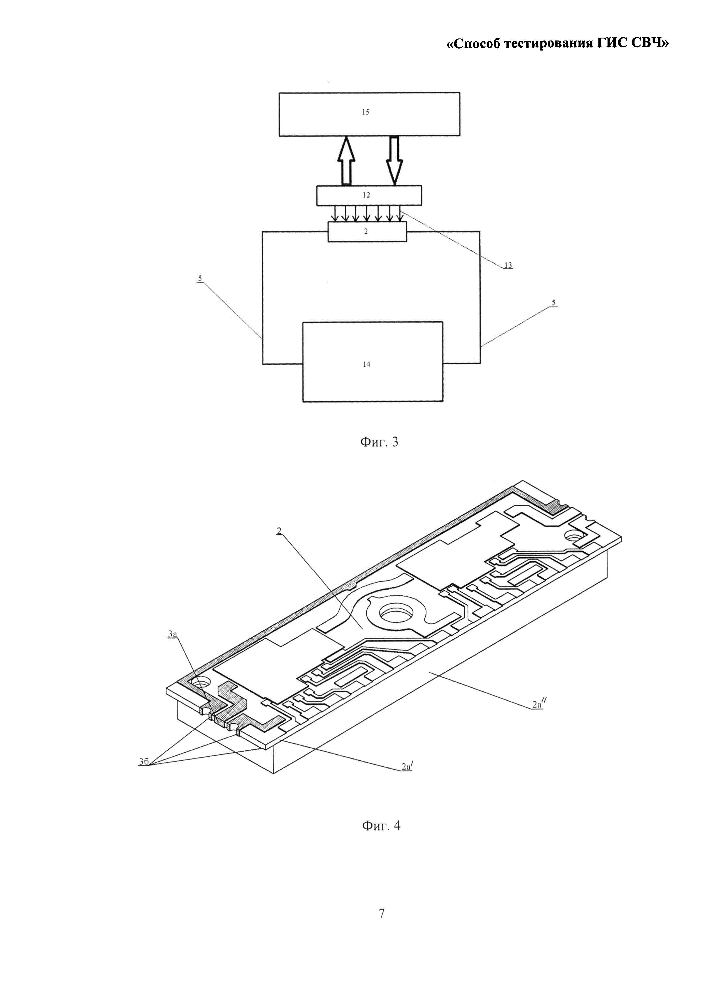
На фиг. 3 показана структурная схема стенда для проведения тестирования ГИС СВЧ.

[11]

На фиг. 4 показана тестируемая ГИС СВЧ.

[12]

Устройство для реализации заявленного способа, показанное на фиг. 1-3, включает в себя сменный ложемент 1, предназначенный для размещения ГИС СВЧ 2 (размер которого выбирается в соответствии с размером тестируемой ГИС СВЧ 2).

[13]

ГИС СВЧ, изображенная на фиг 4, состоит из подложки, включающей в себя плату 2а' и металлическое основание 2а'', и размещенных на плате 2а' проводников и радиоэлектронных элементов (не показаны).

[14]

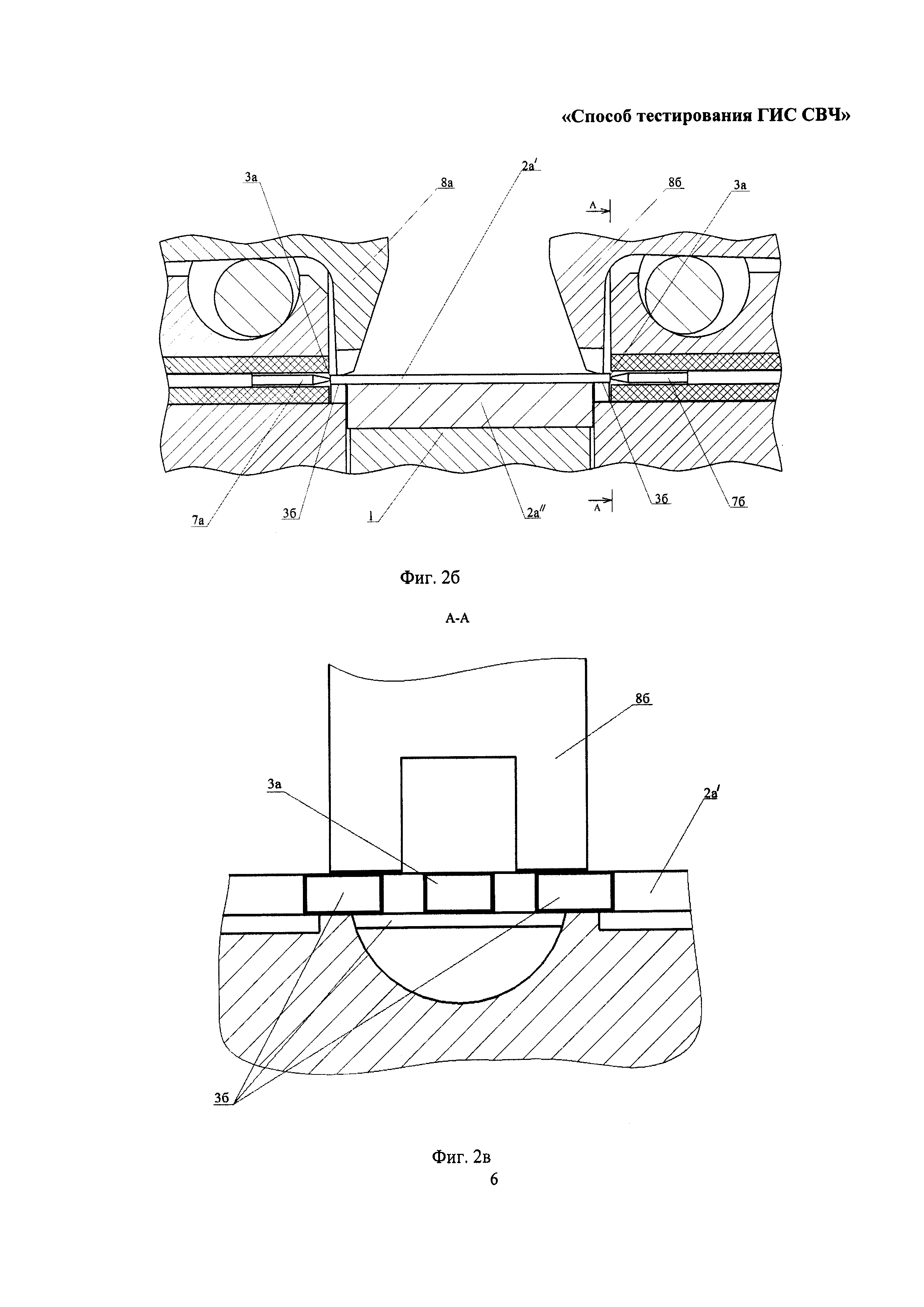
ГИС СВЧ 2 содержит контактные площадки 3а, образованные торцевой металлизацией, заземляющую поверхность 3б, образованную, как торцевой металлизацией, так и металлизацией, образованной на противоположной стороне платы 2а' (относительно стороны, на которой размещены проводники и радиоэлектронные элементы). С противоположных сторон ложемента 1 расположены контактирующие прижимы 4а и 4б.

[15]

Упомянутые контактирующие прижимы 4а и 4б, обеспечивают фиксацию ГИС СВЧ 2 и соединение заземляющей поверхности 3б ГИС СВЧ 2 с экраном (условно не показан), а каждой из контактных площадок 3а, образованных торцевой металлизацией - с центральным проводником коаксиального СВЧ тракта 5. Ложемент 1 выполнен с возможностью вертикального перемещения. Контактирующие прижимы 4а и 4б выполнены с возможностью перемещения вдоль поверхности подложки ГИС СВЧ 2, (посредством вращения рукояток 6а и 6б) и содержат щупы 7а и 7б, соответственно, обеспечивающие соединение каждой из контактных площадок 3а ГИС СВЧ 2 с соответствующим центральным проводником коаксиального СВЧ тракта 5. Фиксация и соединение заземляющей поверхности 3б ГИС СВЧ 2 с экраном коаксиального СВЧ тракта 5 осуществляется при помощи прижимов 8а и 8б, прижимаемых, например, плоскими пружинами (не показаны) и регулируемых с помощью рукояток 9а и 9б, соединенных, например, с кулачками (8в и 8 г).

[16]

Дополнительно устройство содержит рамку 10, закрепленную на направляющих 11а и 11б с возможностью перемещения в направлении, перпендикулярном поверхности подложки ГИС СВЧ. На рамке 10 закреплена сменная переходная плата 12 с установленными на ней контактными элементами 13. Коаксиальный СВЧ тракт 5 соединен с анализатором цепей 14, а контактные элементы 13 - с источником питания (не показан) и системой управления и контроля 15. Контактные элементы 13 устанавливают на сменной переходной плате 12 в местах, соответствующих топологии ГИС СВЧ 2 и обеспечивающих подведение сигналов управления и питания к соответствующим низкочастотным контактным площадками ГИС СВЧ 2.

[17]

Это позволяет (посредством изготовления сменной переходной платы 12 с нужным количеством и расположением контактных элементов 13) производить тестирование различных ГИС СВЧ.

[18]

В одном из возможных частных вариантов заявленный способ реализуют следующим образом.

[19]

Тестируемую ГИС СВЧ 2, имеющую контактные площадки 3а, образованные торцевой металлизацией и заземляющую поверхность 3б, фиксируют в контактирующем устройстве следующим образом. Устанавливают ГИС СВЧ 2 на ложемент 1 и рукояткой 17 регулируют положение ложемента 1 с установленной на нем ГИС СВЧ 2 по высоте таким образом, чтобы контактные площадки 3а, образованные торцевой металлизацией, располагались напротив щупов 7а и 7б, и фиксируют положение фиксатором 18. Далее, вращая рукоятки 6а и 6б, сводят контактирующие прижимы 4а и 4б до контакта щупов 7а и 7б с соответствующими контактными площадками 3а, образованными торцевой металлизацией, и фиксируют ее посредством прижимов 8а и 8б. Тем самым обеспечивается соединение заземляющей поверхности 3б ГИС СВЧ 2 с экраном, а каждой из контактных площадок 3а - с центральным проводником коаксиального СВЧ тракта (посредством щупов 7а и 7б).

[20]

Далее с помощью рычага кривошипно-шатунного механизма 19 опускают рамку до контакта контактных элементов 13 и соответствующих контактных площадок ГИС СВЧ 2, обеспечивая подведение сигналов управления и питания к ГИС СВЧ 2.

[21]

Кроме этого, подводят и снимают СВЧ сигнал с коаксиального СВЧ тракта.

Как компенсировать расходы
на инновационную разработку
Похожие патенты