патент
№ RU 2587313
МПК A61B6/02

УНИВЕРСАЛЬНЫЙ РЕНТГЕНОВСКИЙ КОМПЛЕКС

Авторы:
Сержан Александр Тадеушевич
Номер заявки
2015112112/14
Дата подачи заявки
03.04.2015
Опубликовано
20.06.2016
Страна
RU
Как управлять
интеллектуальной собственностью
Реферат

Изобретение относится к медицинской технике, а именно к телеуправляемым рентгеновским аппаратам. Комплекс содержит стол, штатив рентгеновского излучателя и штатив рентгеновского детектора. Стол установлен на неподвижном основании и включает в себя рентгенопрозрачную деку, установленную на раме, и подъемно-поворотный механизм, связывающий раму с неподвижным основанием; при этом рама соединена с подъемно-поворотным механизмом посредством продольной опоры, установленной вдоль рентгенопрозрачной деки, с одной из ее продольных сторон. Штатив рентгеновского излучателя выполнен в виде манипулятора, содержащего последовательно соединенные посредством узлов поворота штанги: 1-я ступень, 2-я ступень и 3-я ступень, и установлен на подвижном основании, выполненном с возможностью перемещения по продольной опоре вдоль рентгенопрозрачной деки. 1-я ступень с одного конца связана с подвижным основанием и содержит 1-й поворотный узел, а с другой стороны посредством 2-го поворотного узла соединена с концом 2-й ступени, противоположный конец которой соединен с концом 3-й ступени посредством 3-го поворотного узла, оси вращения 1-го, 2-го и 3-го поворотных узлов параллельны между собой и плоскостью рентгенопрозрачной деки, на противоположном конце 3-й ступени установлен кронштейн с рентгеновским излучателем. Штатив рентгеновского детектора выполнен в виде манипулятора, содержащего последовательно соединенные посредством поворотных узлов звенья: 1-е звено и 2-е звено, и установлен на подвижном основании, выполненном с возможностью перемещения по продольной опоре вдоль рентгенопрозрачной деки. 1-е звено через 7-й поворотный узел связано с подвижным основан

Формула изобретения

1. Универсальный рентгеновский комплекс, содержащий стол, штатив рентгеновского излучателя и штатив рентгеновского детектора, стол установлен на неподвижном основании и включает в себя рентгенопрозрачную деку, установленную на раме, и подъемно-поворотный механизм, связывающий раму с неподвижным основанием; при этом рама соединена с подъемно-поворотным механизмом посредством продольной опоры, установленной вдоль рентгенопрозрачной деки, с одной из ее продольных сторон; штатив рентгеновского излучателя выполнен в виде манипулятора, содержащего последовательно соединенные посредством узлов поворота штанги: 1-я ступень, 2-я ступень и 3-я ступень, штатив рентгеновского излучателя установлен на подвижном основании, выполненном с возможностью перемещения по продольной опоре вдоль рентгенопрозрачной деки, 1-я ступень с одного конца связана с подвижным основанием и содержит 1-й поворотный узел, а с другой стороны посредством 2-го поворотного узла соединена с концом 2-й ступени, противоположный конец которой соединен с концом 3-й ступени посредством 3-го поворотного узла, оси вращения 1-го, 2-го и 3-го поворотных узлов параллельны между собой и плоскостью рентгенопрозрачной деки, на противоположном конце 3-й ступени установлен кронштейн с рентгеновским излучателем; штатив рентгеновского детектора выполнен в виде манипулятора, содержащего последовательно соединенные посредством поворотных узлов звенья: 1-е звено и 2-е звено, и установлен на подвижном основании, выполненном с возможностью перемещения по продольной опоре вдоль рентгенопрозрачной деки, 1-е звено через 7-й поворотный узел связано с подвижным основанием, а с противоположного конца через 8-й поворотный узел связано с концом 2-го звена, на противоположном конце которого посредством 9-го поворотного узла установлен кронштейн с рентгеновским детектором, отличающийся тем, что в состав стола введена дополнительная продольная опора, расположенная параллельно первой продольной опоре под рентгенопрозрачной декой, подъемно-поворотный механизм установлен под рентгенопрозрачной декой между двух продольных опор, причем между дополнительной продольной опорой и рентгенопрозрачной декой имеется проем, выполненный с возможностью захода рентгеновского детектора под рентгенопрозрачную деку параллельно ей; штатив рентгеновского излучателя и штатив рентгеновского детектора расположены на независимых подвижных основаниях, установленных на разных продольных опорах с возможностью перемещения по ним, при этом подвижное основание штатива рентгеновского детектора установлено на дополнительной продольной опоре; 1-я ступень штатива рентгеновского излучателя связана с подвижным основанием посредством поворотной колонны, установленной перпендикулярно плоскости рентгенопрозрачной деки и выполненной с возможностью вращения вокруг своей оси; между концом 3-й ступени и 3-м поворотным узлом введен 4-й поворотный узел, выполненный с возможностью поворота 3-й ступени в плоскости, перпендикулярной оси вращения 3-го поворотного узла, при этом ось вращения 4-го поворотного узла перпендикулярна плоскости рентгенопрозрачной деки; между противоположным концом 3-й ступени и кронштейном с рентгеновским излучателем введен 5-й поворотный узел, который выполнен с возможностью вращения кронштейна с рентгеновским излучателем в плоскости, перпендикулярной плоскости рентгенопрозрачной деки, между 7-м поворотным узлом и подвижным основанием штатива рентгеновского детектора введен 6-й поворотный узел, который выполнен с возможностью поворота 1-го звена штатива рентгеновского детектора в плоскости, параллельной плоскости рентгенопрозрачной деки, 7-й поворотный узел выполнен с возможностью вращения 1-го звена в плоскости, перпендикулярной плоскости рентгенопрозрачной деки, ось 8-го поворотного узла параллельна оси 7-го поворотного узла, ось вращения 9-го поворотного узла перпендикулярна осям вращения 7-го и 8-го поворотных узлов.

2. Комплекс по п. 1, отличающийся тем, что на рентгенопрозрачной деке закреплена подножка.

3. Комплекс по п. 1, отличающийся тем, что штатив рентгеновского излучателя снабжен компрессионным устройством для съемки органов брюшной полости.

Описание

[1]

Область техники

[2]

Изобретение относится к медицинскому приборостроению, а именно к устройствам телеуправляемых рентгеновских аппаратов, и может быть использовано для проведения широкого спектра различных рентгеновских исследований пациентов.

[3]

Предшествующий уровень техники

[4]

В настоящее время существует множество универсальных рентгеновских комплексов различных конструкций, позволяющих проводить несколько видов рентгеновских исследований. Ввиду высокой стоимости упомянутых комплексов, больших габаритов и необходимости организации отдельного помещения в лечебно-профилактическом учреждении (ЛПУ) возникает необходимость в обеспечении возможности проведения практически всех видов рентгеновских исследований на одном устройстве. Большинство универсальных рентгеновских комплексов позволяет производить ограниченное число основных видов рентгеновских исследований, таких как:

[5]

- съемка пациента на рентгенопрозрачной деке стола в положении лежа,

[6]

- съемка пациента на наклонной рентгенопрозрачной деке стола,

[7]

- съемка пациента на рентгенопрозрачной деке стола в положении стоя,

[8]

- томография и томосинтез,

[9]

- съемка органов грудной клетки.

[10]

Еще одной существенной проблемой известных универсальных рентгеновских комплексов, обусловленной особенностями конструкций, является ограниченный доступ к пациенту, что усложняет перекладывание лежачих пациентов с каталки на рентгенопрозрачную деку, а также ряд исследований при положении пациента на рентгенопрозрачной деке, в том числе при рентгеноскопии.

[11]

Известен универсальный рентгеновский комплекс (заявка на изобретение Японии № JP 2010022510, опубл. 04.02.2010). Комплекс содержит колонну, установленную на неподвижном основании. Сбоку на колонне установлен стол. Стол включает в себя рентгенопрозрачную деку, установленную на раме, рама связана с колонной посредством подъемно-поворотного узла. Между рентгенопрозрачной декой и рамой стола вмонтирован рентгеновский детектор с возможностью перемещения вдоль рентгенопрозрачной деки. Посредством штатива, над столом установлен рентгеновский излучатель. Штатив выполнен с возможностью продольного и поперечного перемещения, а также вращения относительно рентгенопрозрачной деки стола.

[12]

Недостатком этой конструкции является ограниченный доступ к пациенту во время проведения исследования и конструктивные ограничения, не позволяющие проводить следующие виды рентгеновских исследований:

[13]

- съемка пациента на каталке,

[14]

- съемка пациента на рентгенопрозрачной деке стола в латеропроекции,

[15]

- съемка коленных чашечек,

[16]

- съемка основания черепа,

[17]

- съемка стопы под нагрузкой.

[18]

Известен универсальный рентгеновский комплекс (описание к патенту США № US 8475040, опубл. 02.07.2013). Данное устройство содержит колонну, установленную на неподвижном основании. Сбоку к колонне с возможностью перемещения по ней установлена каретка с направляющей.

[19]

Направляющая выполнена с возможностью поворота на заданный угол из горизонтального положения в вертикальное положение. Параллельно направляющей к ее краям прикреплена рама стола. На раме установлена рентгенопрозрачная дека стола. Между рентгенопрозрачной декой и рамой стола вмонтирован рентгеновский детектор с возможностью перемещения вдоль рентгенопрозрачной деки. Кронштейны выполнены с возможностью поперечного перемещения деки. Между столом и направляющей с возможностью перемещения по последней установлен телескопический штатив рентгеновского излучателя. В месте крепления к направляющей штатив снабжен поворотным узлом, который обеспечивает его наклон относительно рентгенопрозрачной деки стола.

[20]

Основные недостатки этой известной конструкции - ограниченный доступ к пациенту и возможность проведения не всех видов рентгеновских исследований, в частности:

[21]

- съемка пациента на рентгенопрозрачной деке стола в латеропроекции,

[22]

- съемка коленных чашечек,

[23]

- съемка основания черепа,

[24]

- съемка стопы под нагрузкой.

[25]

Стоит отметить, что в известной конструкции рентгенопрозрачная дека не опускается и для проведения съемки стопы под нагрузкой пациент должен стоять на достаточно большой высоте, что небезопасно. Поэтому проведение данного вида исследований для данной конструкции тоже можно считать невозможным.

[26]

Известен универсальный рентгеновский комплекс (патент Японии № JP 2001340332, опубл. 11.12.2001).

[27]

Универсальный рентгеновский комплекс содержит стол, штатив рентгеновского излучателя и штатив рентгеновского детектора. Стол пациента установлен на неподвижном основании и включает в себя рентгенопрозрачную деку, установленную на раме, и подъемно-поворотный механизм, связывающий раму с неподвижным основанием.

[28]

Рама соединена с подъемно-поворотным механизмом посредством продольной опоры, установленной вдоль рентгенопрозрачной деки с одной из ее продольных сторон.

[29]

Штатив рентгеновского излучателя и штатив рентгеновского детектора расположены на общем подвижном основании, установленном на продольной опоре и выполненном с возможностью перемещения по ней вдоль рентгенопрозрачной деки. Штатив рентгеновского излучателя выполнен в виде манипулятора, содержащего последовательно соединенные посредством узлов поворота штанги: первая ступень, вторая ступень и третья ступень. Штатив рентгеновского излучателя установлен на подвижном основании, выполненном с возможностью перемещения по продольной опоре вдоль рентгенопрозрачной деки. 1-я ступень с одного конца связана с подвижным основанием и содержит 1-й поворотный узел, а с другой стороны посредством 2-го поворотного узла соединена с концом 2-й ступени. Противоположный конец 2-й ступени соединен с концом 3-й ступени посредством 3-го поворотного узла. Оси вращения 1-го, 2-го и 3-го поворотных узлов параллельны между собой и плоскостью рентгенопрозрачной деки. На противоположном конце 3-й ступени установлен кронштейн с рентгеновским излучателем.

[30]

Штатив рентгеновского детектора выполнен в виде манипулятора, содержащего последовательно соединенные посредством поворотных узлов звенья: 1-е звено и 2-е звено, и установлен на том же подвижном основании, что и штатив рентгеновского излучателя, и выполнен с возможностью перемещения по продольной опоре вдоль рентгенопрозрачной деки. 1-е звено через 7-й поворотный узел связано с подвижным основанием, а с противоположного конца через 8-й поворотный узел связано с концом 2-го звена. На противоположном конце 2-го звена посредством 9-го поворотного узла установлен кронштейн с рентгеновским детектором. Рентгенопрозрачная дека и продольная направляющая, по которой перемещается штатив излучателя и детектора, закреплена на поворотной оси относительно неподвижного основания и выполнена с возможностью поворота на угол -90/+90 градусов и с возможностью подъема и опускания.

[31]

Оси вращения поворотных узлов штатива рентгеновского излучателя и рентгеновского детектора параллельны друг другу.

[32]

Недостатком этого известного устройства являются конструктивные ограничения, не позволяющие проводить следующие рентгеновские исследования:

[33]

- съемка пациента в латеропроекции на рентгенопрозрачной деке стола,

[34]

- съемка стопы под нагрузкой,

[35]

- томография (и томосинтез)

[36]

- съемка основания черепа

[37]

- съемка верхних конечностей (вне рентгенопрозрачной деки стола),

[38]

- съемка пациента на каталке (включая латеропроекции).

[39]

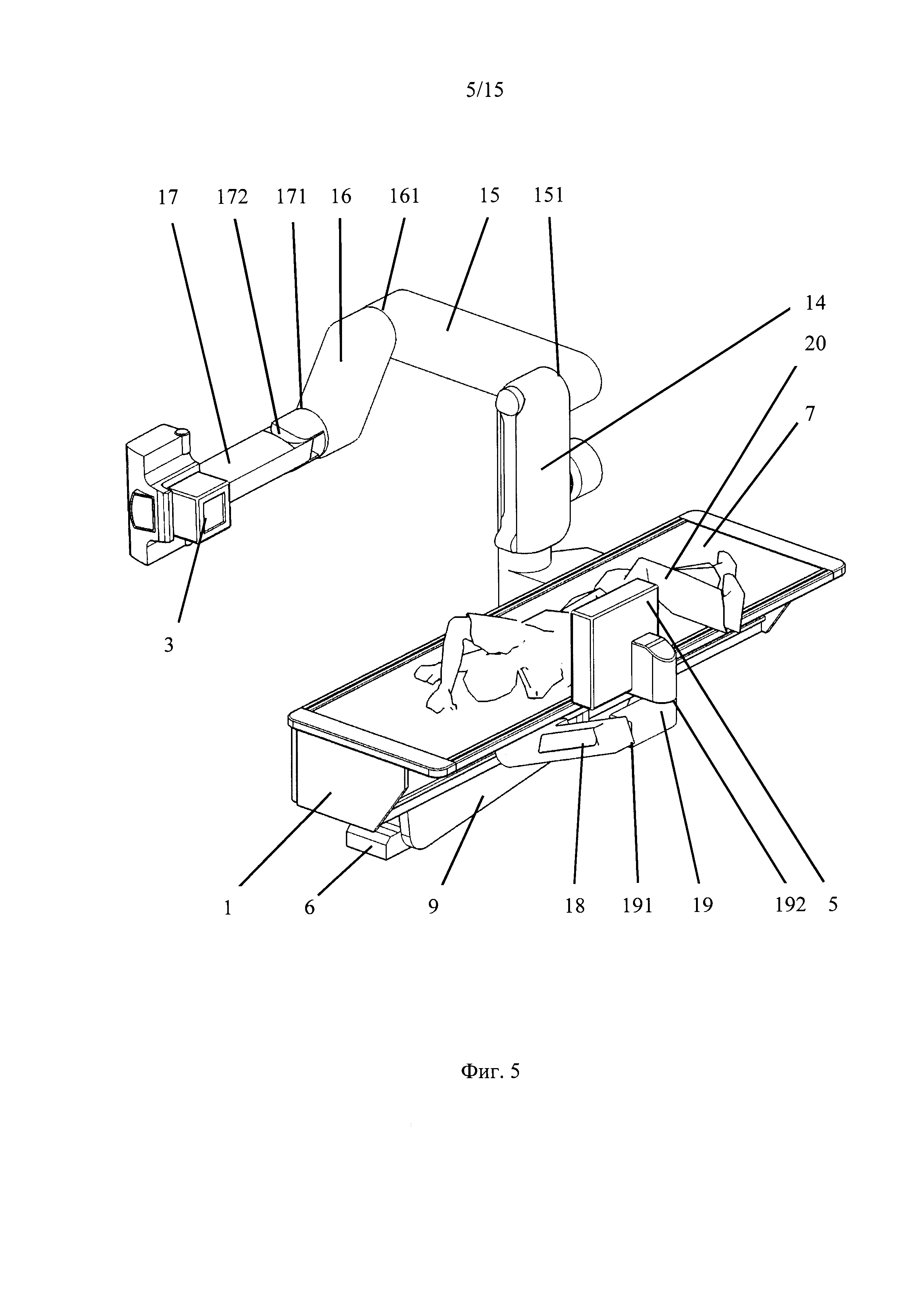
Конструкцию, описанную в данном патенте, можно считать наиболее близкой к заявляемой.

[40]

Раскрытие изобретения

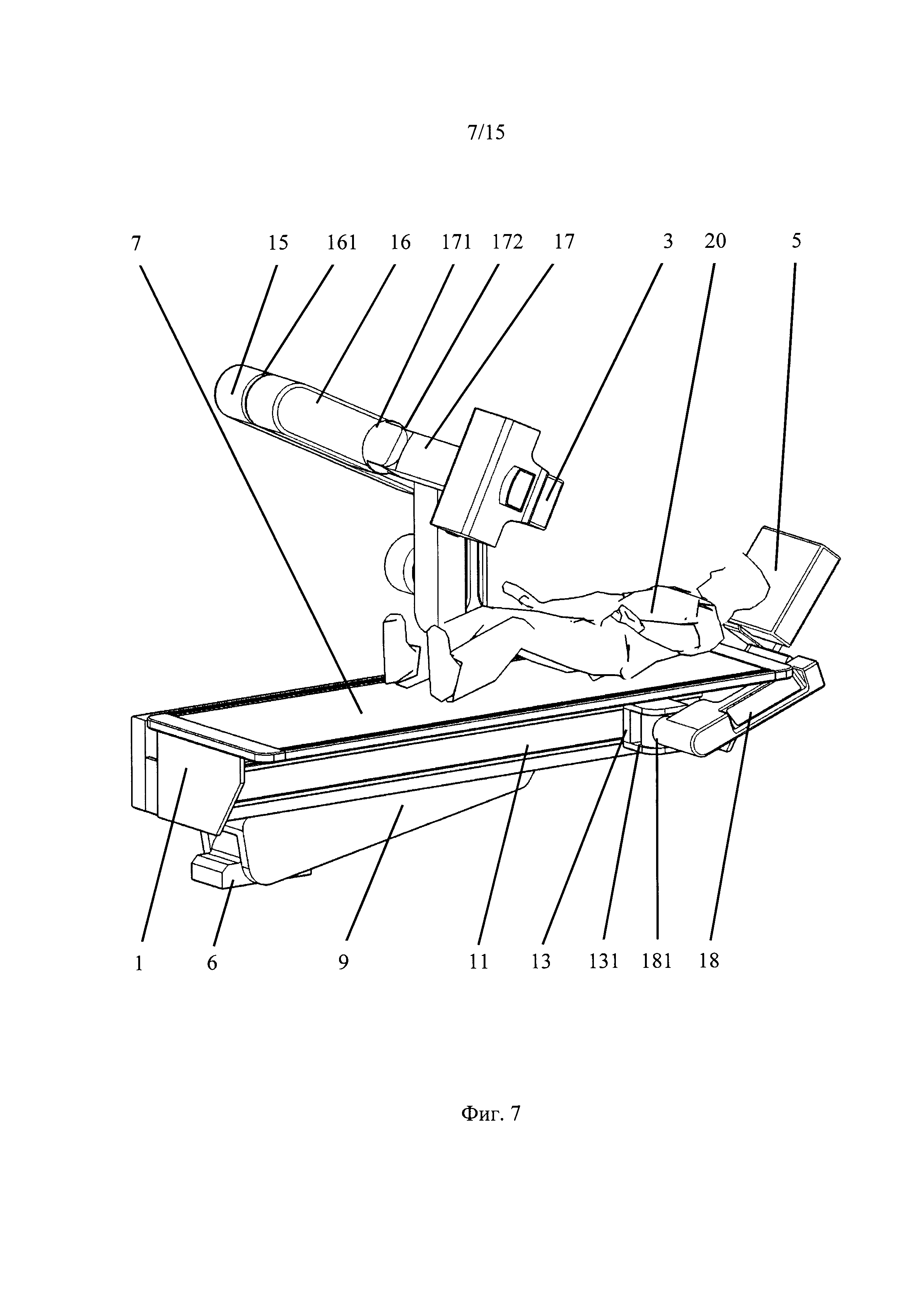
[41]

Задачей настоящего изобретения является создание универсального рентгеновского комплекса, который обеспечивает свободный доступ к пациенту, и выполнение всех основных видов рентгеновских исследований, в частности:

[42]

- съемка пациента на рентгенопрозрачной деке стола в положении лежа,

[43]

- съемка пациента в латеропроекции,

[44]

- съемка коленных чашечек,

[45]

- съемка основания черепа,

[46]

- съемка пациента на рентгенопрозрачной деке стола в положении стоя,

[47]

- съемка органов грудной клетки,

[48]

- съемки пациента на наклонной рентгенопрозрачной деке стола,

[49]

- съемка верхних конечностей (вне рентгенопрозрачной деки стола),

[50]

- съемка пациента на каталке (включая латеропроекции),

[51]

- съемка стопы под нагрузкой,

[52]

- съемка пациента в косых проекциях на рентгенопрозрачной деке стола,

[53]

- томография и томосинтез.

[54]

Технический результат - обеспечение свободного доступа к пациенту и обеспечение возможности выполнения всех основных видов рентгеновских исследований (универсальность).

[55]

Технический результат в универсальном рентгеновском комплексе, содержащем стол, штатив рентгеновского излучателя и штатив рентгеновского детектора, стол установлен на неподвижном основании и включает в себя рентгенопрозрачную деку, установленную на раме, и подъемно-поворотный механизм, связывающий раму с неподвижным основанием; рама соединена с подъемно-поворотным механизмом посредством продольной опоры, установленной вдоль рентгенопрозрачной деки с одной из ее сторон; штатив рентгеновского излучателя выполнен в виде манипулятора, содержащего последовательно соединенные посредством узлов поворота штанги: 1-я ступень, 2-я ступень и 3-я ступень, штатив рентгеновского излучателя установлен на подвижном основании, выполненном с возможностью перемещения по продольной опоре вдоль рентгенопрозрачной деки, 1-я ступень с одного конца связана с подвижным основанием и содержит 1-й поворотный узел, а с другой стороны посредством 2-го поворотного узла соединена с концом 2-й ступени, противоположный конец которой соединен с концом 3-й ступени посредством 3-го поворотного узла, оси вращения 1-го, 2-го и 3-го поворотных узлов параллельны между собой и плоскостью рентгенопрозначной деки, на противоположном конце 3-й ступени установлен кронштейн с рентгеновским излучателем; штатив рентгеновского детектора выполнен в виде манипулятора, содержащего последовательно соединенные посредством поворотных узлов звенья: 1-е звено и 2-е звено, и установлен на подвижном основании, выполненном с возможностью перемещения по продольной опоре вдоль рентгенопрозрачной деки, 1-е звено через 7-й поворотный узел связано с подвижным основанием, а с противоположного конца через 8-й поворотный узел связано с концом 2-го звена, на противоположном конце которого посредством 9-го поворотного узла установлен кронштейн с рентгеновским детектором, достигается тем, что в состав стола введена дополнительная продольная опора, расположенная параллельно первой продольной опоре под рентгенопрозрачной декой, подъемно-поворотный механизм установлен под рентгенопрозрачной декой между двух продольных опор, между дополнительной продольной опорой и рентгенопрозрачной декой имеется проем, выполненный с возможностью захода рентгеновского детектора под рентгенопрозрачную деку параллельно ей; штатив рентгеновского излучателя и штатив рентгеновского детектора расположены на независимых подвижных основаниях, установленных на разных продольных опорах с возможностью перемещения по ним, при этом подвижное основание штатива рентгеновского детектора установлено на дополнительной продольной опоре; 1-я ступень штатива рентгеновского излучателя связана с подвижным основанием посредством поворотной колонны, установленной перпендикулярно плоскости рентгенопрозрачной деки и выполненной с возможностью вращения вокруг своей оси; между концом 3-й ступени и 3-м поворотным узлом введен 4-й поворотный узел, выполненный с возможностью поворота 3-й ступени в плоскости, перпендикулярной оси вращения 3-го поворотного узла, при этом ось вращения 4-го поворотного узла перпендикулярна плоскости рентгенопрозрачной деки; между противоположным концом 3-й ступени и кронштейном с рентгеновским излучателем введен 5-й поворотный узел, выполненный с возможностью вращения кронштейна с рентгеновским излучателем в плоскости, перпендикулярной плоскости рентгенопрозрачной деки, между 7-м поворотным узлом и подвижным основанием штатива рентгеновского детектора введен 6-й поворотный узел, который выполнен с возможностью поворота 1-го звена штатива рентгеновского детектора в плоскости, параллельной плоскости рентгенопрозрачной деки; 7-й поворотный узел выполнен с возможностью вращения 1-го звена в плоскости, перпендикулярной плоскости ренгенопрозрачной деки, ось 8-го поворотного узла параллельна оси 7-го поворотного узла, ось вращения 9-го поворотного узла перпендикулярна осям вращения 7-го и 8-го поворотных узлов.

[56]

Возможен вариант осуществления изобретения, согласно которому на рентгенопрозрачной деке закреплена подножка.

[57]

Возможен вариант осуществления изобретения, согласно которому штатив рентгеновского излучателя снабжен компрессионным устройством для съемки органов брюшной полости.

[58]

Перечень фигур

[59]

Фиг. 1 - универсальный рентгеновский комплекс (вид спереди в аксонометрии);

[60]

фиг. 2 - универсальный рентгеновский комплекс (вид сзади);

[61]

фиг. 3 - универсальный рентгеновский комплекс (вид снизу в аксонометрии);

[62]

фиг. 4 - конфигурация универсального рентгеновского комплекса для съемки пациента на рентгенопрозрачную деку стола в положении лежа;

[63]

фиг. 5 - конфигурация универсального рентгеновского комплекса для съемки пациента в латеропроекции;

[64]

фиг. 6 - конфигурация универсального рентгеновского комплекса для съемки коленных чашечек;

[65]

фиг.7 - конфигурация универсального рентгеновского комплекса для съемки основания черепа;

[66]

фиг. 8 - конфигурация универсального рентгеновского комплекса для съемки основания черепа на каталке;

[67]

фин. 9 - конфигурация универсального рентгеновского комплекса для съемки плечевого сустава;

[68]

фиг. 10 - конфигурация универсального рентгеновского комплекса для съемки пациента на рентгенопрозрачной деке стола в положении стоя;

[69]

фиг.11 - конфигурация универсального рентгеновского комплекса для съемки органов грудной клетки;

[70]

фиг. 12 - конфигурация универсального рентгеновского комплекса для съемки пациента на наклонной рентгенопрозрачной деке стола;

[71]

фиг. 13 - конфигурация универсального рентгеновского комплекса для съемки верхних конечностей;

[72]

фиг. 14 - конфигурация универсального рентгеновского комплекса для съемки на каталке;

[73]

фиг. 15 - конфигурация универсального рентгеновского комплекса для съемки стопы под нагрузкой.

[74]

Осуществление изобретения

[75]

Универсальный рентгеновский комплекс содержит стол 1, штатив 2 рентгеновского излучателя 3 и штатив 4 рентгеновского детектора 5, стол 1 установлен на неподвижном основании 6 и включает в себя рентгенопрозрачную деку 7, установленную на раме 8, и подъемно-поворотный механизм 9, связывающий раму 8 с неподвижным основанием 6. Рама 8 стола 1 выполняется, например, из алюминиевых профилей и сварных стальных конструкций и, предпочтительно, имеет прямоугольную форму.

[76]

Рама 8 стола 1 соединена с неподвижным основанием 6 посредством подъемно-поворотного механизма 9 и выполнена с возможностью поворота на заданный угол относительно плоскости неподвижного основания 6 стола 1.

[77]

Ренгенопрозрачная дека 7 может быть выполнена, например, из углепластика или поликарбоната и, предпочтительно, имеет прямоугольную форму и соответственно содержит две длинные продольные и две короткие поперечные стороны.

[78]

Неподвижное основание 6 стола 1 жестко закреплено на полу, например, посредством винтового соединения.

[79]

Под рентгенопрозрачной декой 7 с одной из ее продольных сторон установлена продольная опора 10. Рама 8 соединена с подъемно-поворотным механизмом 9 посредством продольной опоры 10.

[80]

Параллельно продольной опоре 10 под рентгенопрозрачной декой 7 установлена дополнительная продольная опора 11. Продольные опоры 10 и 11 могут быть выполнены в виде экструдированного алюминиевого профиля с закрепленными на нем направляющими.

[81]

Подъемно-поворотный механизм 9 установлен под рентгенопрозрачной декой 7 между двух продольных опор 10 и 11. Между дополнительной продольной опорой 11 и рентгенопрозрачной декой 7 имеется проем, выполненный с возможностью захода рентгеновского детектора 5 под рентгенопрозрачную деку 7 параллельно ей. Подъемно-поворотный механизм 9 может быть реализован в виде рычага, на концах которого закреплены моторизированные шарниры.

[82]

Штатив 2 рентгеновского излучателя 3 и штатив 4 рентгеновского детектора 5 расположены на независимых подвижных основаниях 12 и 13, установленных на разных продольных опорах 10 и 11 с возможностью перемещения по ним. При этом подвижное основание 13 штатива 4 рентгеновского детектора 5 установлено на дополнительной продольной опоре 11, а подвижное основание 12 штатива 2 рентгеновского излучателя 3 установлено на продольной опоре 10.

[83]

Перемещение штативов 2 и 4 по продольным опорам 10 и 11 может быть реализовано, например, за счет установки линейных двигателей в местах соединения подвижных оснований 12 и 13 упомянутых штативов 2 и 4 с упомянутыми продольными опорами 10 и 11.

[84]

Штатив 2 рентгеновского излучателя 3 выполнен в виде манипулятора, содержащего последовательно соединенные посредством узлов поворота штанги: 1-я ступень 15, 2-я ступень 16 и 3-я ступень 17. Штатив 2 рентгеновского излучателя 3 установлен на подвижном основании 12, выполненном с возможностью перемещения по продольной опоре 10 вдоль рентгенопрозрачной деки 7. 1-я ступень 15 с одного конца связана с подвижным основанием 12 посредством поворотной колонны 14, установленной перпендикулярно плоскости рентгенопрозрачной деки 7 и выполненной с возможностью вращения вокруг своей оси, и содержит 1-й поворотный узел 151. С другой стороны посредством 2-го поворотного узла 161 1-я ступень 15 соединена с концом 2-й ступени 16, противоположный конец которой соединен с концом 3-й ступени 17 посредством 3-го поворотного узла 171. Оси вращения 1-го, 2-го и 3-го поворотных узлов (151, 161, 171) параллельны между собой и плоскостью рентгенопрозначной деки 7. На противоположном конце 3-й ступени 17 установлен кронштейн с рентгеновским излучателем 3.

[85]

Между концом 3-й ступени 17 и 3-м поворотным узлом 171 введен 4-й поворотный узел 172, выполненный с возможностью поворота 3-й ступени 17 в плоскости, перпендикулярной оси вращения 3-го поворотного узла 171, при этом ось вращения 4-го поворотного узла 172 перпендикулярна плоскости рентгенопрозрачной деки 7.

[86]

Между противоположным концом 3-й ступени 17 и кронштейном с рентгеновским излучателем 3 введен 5-й поворотный узел 173, выполненный с возможностью вращения кронштейна с рентгеновским излучателем 3 в плоскости, перпендикулярной плоскости рентгенопрозрачной деки 7.

[87]

Штатив 4 рентгеновского детектора 5 выполнен в виде манипулятора, содержащего последовательно соединенные посредством поворотных узлов звенья: 1-е звено 18 и 2-е звено 19, и установлен на подвижном основании 13, выполненном с возможностью перемещения по дополнительной продольной опоре 11 вдоль рентгенопрозрачной деки 7.

[88]

Первое звено 18 через 7-й поворотный узел 181 связано с подвижным основанием 13 посредством 6-го поворотного узла 131, который выполнен с возможностью поворота 1-го звена 18 штатива 4 рентгеновского детектора 5 в плоскости, параллельной плоскости рентгенопрозрачной деки 7.

[89]

С противоположного конца первое звено 18 через 8-й поворотный узел 191 связано с концом 2-го звена 19, на противоположном конце которого посредством 9-го поворотного узла 192 установлен кронштейн с рентгеновским детектором 5.

[90]

Седьмой поворотный узел 181 выполнен с возможностью вращения первого звена 18 в плоскости, перпендикулярной плоскости ренгенопрозрачной деки 7, ось 8-го поворотного узла 191 параллельна оси 7-го поворотного узла 181, ось вращения 9-го поворотного узла 192 перпендикулярна осям вращения 7-го 181 и 8-го 191 поворотных узлов.

[91]

Ступени (15, 16, 17) и звенья (18, 19) штативов 2 и 4 могут быть выполнены в виде отрезков стальных труб прямоугольного сечения, соединенных между собой поворотными шарнирами, выполненными в виде электромотора с волновым или планетарным редуктором, жестко установленных с одного конца трубы, так что выходная ось привода перпендикулярна продольной оси трубы. Каждая последующая ступень/звено жестко закреплена с другого конца к выходной оси привода предыдущей ступени/звена. Все оси приводов ступеней параллельны друг другу.

[92]

Поворотные узлы (131; 151; 161; 171; 172; 173; 181; 191; 192) могут быть выполнены, например, в виде электроприводов с волновым или планетарным редуктором.

[93]

Возможен вариант выполнения изобретения, по которому на рентгенопрозрачной деке 7 закреплена подножка 22 (фиг. 10). Штатив 2 рентгеновского излучателя 3 может быть снабжен компрессионным устройством 23 (фиг. 1-2) для съемки органов брюшной полости. Компрессионное устройство 23 может быть выполнено в виде тубуса, закрепленного на поворотной колонне 14 штатива 2 с возможностью складывания и раскладывания.

[94]

Универсальный рентгеновский комплекс работает следующим образом. В исходном положении рентгенопрозрачная дека 7 стола 1 установлена горизонтально, штатив 2 рентгеновского излучателя 3 расположен на уровне середины длины рентгенопрозрачной деки 7 стола 1. Рентгеновский детектор 5 заведен в проем между рамой 8 и рентгенопрозрачной декой 7. В зависимости от типа рентгеновского исследования оператор выставляет комплекс в начальное положение исследования, располагает пациента 20 (фиг. 4-15) на рентгенопрозрачной деке 7 либо подводит каталку 21 (фиг. 8, 14) с пациентом 20 (фиг. 4-15) параллельно рентгенопрозрачной деке 7. Затем оператор позиционирует рентгенопрозрачную деку 7, рентгеновский излучатель 3 и рентгеновский детектор 5 относительно пациента 20 (фиг. 4-15) для проведения выбранного типа исследования. Для рентгеновского излучателя 3 устанавливают параметры съемки, в частности тип исследования, экспозицию и др., затем производят съемку пациента 20 (фиг. 4-15). Рентгеновский детектор 5 передает полученное изображение на автоматизированное рабочее место (АРМ) оператора (на чертежах не показано). Затем универсальный рентгеновский комплекс позиционируют в начальное положение исследования, пациента 20 уводят, после чего комплекс переводят в исходное положение и он готов для приема следующего пациента.

[95]

Управление позиционированием стола 1, штатива 2 рентгеновского излучателя 3 и штатива 4 рентгеновского детектора 5 может осуществляться как удаленно с пульта оператора (на чертежах не показан), так и с панелей управления (на чертежах не показаны) на соответствующих частях универсального рентгеновского комплекса.

[96]

Рассмотрим варианты позиционирования универсального рентгеновского комплекса для проведения большинства основных видов рентгеновских исследований.

[97]

1) Конфигурация универсального рентгеновского комплекса для съемки на горизонтальной деке (фиг. 4)

[98]

Пациент 20 расположен на рентгенопрозрачной деке 7, стол 1 находится в горизонтальном положении на необходимой для оператора высоте. Рентгеновский детектор 5 заведен под рентгенопрозрачную деку 7 над дополнительной продольной опорой 11. Штатив 2 рентгеновского излучателя 3 расположен таким образом, что ось рентгеновского излучения направлена вертикально и проходит через рентгенопрозрачную деку 7.

[99]

2) Конфигурация универсального рентгеновского комплекса для съемки в латеропроекции (фиг. 5)

[100]

Пациент 20 расположен лежа на рентгенопрозрачной деке 7, стол 1 находится в горизонтальном положении на необходимой для оператора высоте. Рентгеновский детектор 5 выведен из под рентгенопрозрачной деки 7 и расположен перпендикулярно ей. 1-я ступень 15 штатива 2 повернута перпендикулярно поворотной колонне 14 от рентгенопрозрачной деки 7, параллельно ей. 2-я ступень 16 посредством 2-го поворотного узла 161 повернута вниз параллельно поворотной колонне 14. 3-я ступень 17 штатива 2 посредством 3-го поворотного узла 171 и 4-го поворотного узла 172 расположена перпендикулярно 2-й ступени 16. Рентгеновский излучатель 3 посредством 5-го поворотного узла 173 расположен перпендикулярно рентгенопрозрачной деке 7 и параллельно рентгеновскому детектору 5. Ось рентгеновского излучения направлена горизонтально параллельно короткой стороне рентгенопрозрачной деки 7 и проходит через пациента 20.

[101]

3) Конфигурация универсального рентгеновского комплекса для съемки коленных чашечек (фиг. 6)

[102]

Пациента 20 располагают лежа на рентгенопрозрачной деке 7, стол 1 находится в горизонтальном положении на необходимой для оператора высоте. Подвижное основание 13 штатива 4 передвинуто в крайнее положение по дополнительной продольной опоре 11. Рентгеновский детектор 5 выведен с короткой стороны рентгенопрозрачной деки 7 и расположен под углом к ней. Первое звено 18 штатива 4 расположено под углом к рентгенопрозрачной деке 7, второе звено 19 расположено перпендикулярно первому звену 18 и параллельно рентгенопрозрачной деке 7. Ноги пациента 20 согнуты в коленях, правая нога стоит на первом звене 18 штатива 4, а левая нога - на втором звене 19 штатива 4 рентгеновского детектора 5. Подвижное основание 12 штатива 2 передвинуто по продольной опоре 10 в среднюю ее часть. 1-я ступень 15 штатива 2 расположена под углом к рентгенопрозрачной деке 7, 2-я ступень 16 расположена параллельно 1-й ступени 15. 3-я ступень 17 посредством третьего поворотного узла 171 и 4-го поворотного узла 172 расположена перпендикулярно 2-й ступени 16 и параллельно рентгенопрозрачной деке 7. Рентгеновский излучатель 3 расположен над рентгенопрозрачной декой 7, ось рентгеновского излучения находится под углом к плоскости рентгенопрозрачной деки 7 и проходит через колени пациента 20.

[103]

4) Конфигурация универсального рентгеновского комплекса для съемки основания черепа (фиг. 7)

[104]

Пациента 20 располагают лежа на рентгенопрозрачной деке 7, стол 1 находится в горизонтальном положении на необходимой для оператора высоте. Подвижное основание 13 штатива 4 передвинуто почти в крайнее положение по дополнительной продольной опоре 11. Рентгеновский детектор 5 выведен с короткой стороны рентгенопрозрачной деки 7 и расположен под углом к ней. 1-е звено 18 штатива 4 расположено под углом к рентгенопрозрачной деке 7, 2-е звено 19 расположено перпендикулярно 1-му звену 18 и параллельно рентгенопрозрачной деке 7. Голова пациента 20 расположена на рабочей поверхности рентгеновского детектора 5. Подвижное основание 12 штатива 2 передвинуто по продольной опоре 10 в среднюю ее часть. 1-я ступень 15 штатива 2 расположена под углом к рентгенопрозрачной деке 7, 2-я ступень 16 расположена параллельно 1-й ступени 15. 3-я ступень 17 посредством 3-го поворотного узла 171 и 4-го поворотного узла 172 расположена перпендикулярно 2-й ступени 16 и параллельно рентгенопрозрачной деке 7. Рентгеновский излучатель 3 расположен над рентгенопрозрачной декой 7, ось рентгеновского излучения находится под углом к плоскости рентгенопрозрачной деки 7 и проходит через голову пациента 20.

[105]

5) Конфигурация универсального рентгеновского комплекса для съемки основания черепа на каталке (фиг. 8)

[106]

Параллельно рентгенопрозрачной деке 7 стола 1 установлена каталка 21, на которой лежит пациент 20. Подвижное основание 13 штатива 4 передвинуто почти в крайнее положение по дополнительной продольной опоре 11. Рентгеновский детектор 5 выведен за пределы рентгенопрозрачной деки 7, 1-е звено 18 штатива 4 расположено перпендикулярно дополнительной продольной опоре 11 и параллельно рентгенопрозрачной деке 7. 2-е звено 19 установлено перпендикулярно 1-му звену 18, посредством 8-го поворотного узла 191 2-е звено 19 с рентгеновским детектором 5 развернуто по направлению от рентгенопрозрачной деки 7. Посредством 9-го поворотного узла 192 рентгеновский детектор 5 расположен вдоль короткой стороны каталки 21 под углом к плоскости каталки 21. Голова пациента 20 лежит на рабочей поверхности рентгеновского детектора 5.

[107]

Подвижное основание 12 штатива 2 передвинуто по продольной опоре 10 в сторону, противоположную от расположения подвижного основания 13 на дополнительной продольной опоре 11. 1-я ступень 15 штатива 2 расположена под углом к рентгенопрозрачной деке 7 над ней, 2-я ступень 16 расположена под прямым углом к 1-й ступени 15. 3-я ступень 17 посредством 3-го поворотного узла 171 и 4-го поворотного узла 172 расположена перпендикулярно поворотной колонне 14 и параллельно рентгенопрозрачной деке 7. Рентгеновский излучатель 3 расположен над каталкой 21, ось рентгеновского излучения находится под углом к плоскости каталки 21 и проходит через голову пациента 20.

[108]

6) Конфигурация универсального рентгеновского комплекса для съемки плечевого сустава (фиг. 9)

[109]

Пациент 20 расположен на ренгенопрозрачной деке 7 стола 1. Подвижное основание 13 штатива 4 передвинуто почти в крайнее положение по дополнительной - продольной опоре 11. Рентгеновский детектор 5 выведен за пределы рентгенопрозрачной деки 7, 1-е звено 18 штатива 4 расположено перпендикулярно дополнительной продольной опоре 11 и под углом к рентгенопрозрачной деке 7. 2-е звено 19 установлено перпендикулярно 1-му звену 18, посредством 8-го поворотного узла 191 2-е звено 19 с рентгеновским детектором 5 развернуто по направлению к рентгенопрозрачной деке 7. Посредством девятого поворотного узла 192 рентгеновский детектор 5 частично расположен над рентгенопрозрачной декой 7 перпендикулярно ей. Плечо пациента 20 прижато к рабочей поверхности рентгеновского детектора 5.

[110]

Подвижное основание 12 штатива 2 передвинуто по продольной опоре 10 в сторону, противоположную от расположения подвижного основания 13 на дополнительной продольной опоре 11. 1-я ступень 15 штатива 2 расположена под углом к рентгенопрозрачной деке 7 над ней, 2-я ступень 16 расположена под углом к 1-й ступени 15. 3-я ступень 17 посредством 3-го поворотного узла 171 и 4-го поворотного узла 172 расположена перпендикулярно поворотной колонне 14 и параллельно рентгенопрозрачной деке 7 над последней. Рентгеновский излучатель 3 расположен над рентгенопрозрачной декой 7 и частично выходит за ее пределы, ось рентгеновского излучения находится под углом к плоскости рентгенопрозрачной деки 7 и проходит через плечо пациента 20.

[111]

7) Конфигурация универсального рентгеновского комплекса для съемки на вертикальную деку (фиг. 10)

[112]

Стол 1 находится в вертикальном положении посредством подъемно-поворотного механизма 9. Пациент 20 стоит на подножке 22, установленной на рентгенопрозрачной деке 7, и опирается спиной на рентгенопрозрачную деку 7. Рентгеновский детектор 5 заведен в проем между рентгенопрозрачной декой 7 и дополнительной продольной опорой 11. Штатив 2 расположен таким образом, что ось рентгеновского излучения направлена горизонтально и проходит через рентгенопрозрачную деку 7.

[113]

8) Конфигурация универсального рентгеновского комплекса для съемки органов грудной клетки (фиг. 11)

[114]

Стол 1 находится в вертикальном положении посредством подъемно-поворотного механизма 9. Подвижное основание 13 штатива 4 передвинуто почти посередине дополнительной продольной опоры 11 (в зависимости от роста пациента 20). Рентгеновский детектор 5 выведен за пределы рентгенопрозрачной деки 7, 1-е звено 18 штатива 4 расположено перпендикулярно дополнительной продольной опоре 11 параллельно к рентгенопрозрачной деке 7. Второе звено 19 установлено перпендикулярно первому звену 18, посредством 8-го поворотного узла 191 2-е звено 19 с рентгеновским детектором 5 развернуто по направлению от рентгенопрозрачной деки 7. Посредством 9-го поворотного узла 192 рентгеновский детектор 5 расположен вертикально параллельно рентгенопрозрачной деке 7. Пациент 20 стоит перед рентгеновским детектором 5, грудная клетка пациента 20 прижата к рабочей поверхности рентгеновского детектора 5.

[115]

Подвижное основание 12 штатива 2 передвинуто по продольной опоре 10 напротив подвижного основания 13 штатива 4. 1-я ступень 15 штатива 2 расположена под углом к рентгенопрозрачной деке 7 над ней, 2-я ступень 16 расположена параллельно 1-й ступени 15. 3-я ступень 17 посредством 3-го поворотного узла 171 и 4-го поворотного узла 172 расположена параллельно рентгенопрозрачной деке 7 и вынесена за ее пределы. Рентгеновский излучатель 3 расположен напротив рентгеновского детектора 5, ось рентгеновского излучения расположена горизонтально и проходит через грудную клетку пациента 20.

[116]

9) Конфигурация универсального рентгеновского комплекса для съемки на наклонную деку (фиг. 12)

[117]

Стол 1 установлен под углом относительно его неподвижного основания 6 посредством подъемно-поворотного механизма 9. Пациент 20 расположен на рентгенопрозрачной деке 7 головой вниз. Рентгеновский детектор 5 заведен в проем между дополнительной продольной опорой 11 и рентгенопрозрачной декой 7.

[118]

Штатив 2 рентгеновского излучателя 3 расположен таким образом, что 2-я ступень 16 штатива 2 расположена вдоль длинной стороны рентгенопрозрачной деки 7, 3-я ступень 17 расположена перпендикулярно 2-й ступени и параллельно рентгенопрозрачной деке 7. Рентгеновский излучатель 3 расположен над рентгенопрозрачной декой 7, ось рентгеновского излучения проходит через рентгенопрозрачную деку 7.

[119]

10) Конфигурация универсального рентгеновского комплекса для съемки верхних конечностей (фиг. 13)

[120]

Пациент 20 сидит на стуле 24, подвижное основание 12 штатива 2 установлено напротив подвижного основания 13 штатива 4. Рентгеновский детектор 5 выведен за пределы рентгенопрозрачной деки 7, первое звено 18 штатива 4 расположено перпендикулярно дополнительной продольной опоре 11 и параллельно рентгенопрозрачной деке 7. 2-е звено 19 установлено перпендикулярно 1-му звену 18, посредством 8-го поворотного узла 191, 2-е звено 19 с рентгеновским детектором 5 развернуто по направлению от рентгенопрозрачной деки 7. Посредством 9-го поворотного узла 192 рентгеновский детектор 5 расположен параллельно плоскости рентгенопрозрачной деки 7. Верхняя конечность (рука) пациента 20 расположена на рабочей поверхности рентгеновского детектора 5.

[121]

1-я ступень 15 штатива 2 расположена под углом к рентгенопрозрачной деке 7 над ней, 2-я ступень 16 расположена параллельно 1-й ступени 15. 3-я ступень 17 посредством 3-го поворотного узла 171 и 4-го поворотного узла 172 расположена параллельно рентгенопрозрачной деке 7 и вынесена за ее пределы. Рентгеновский излучатель 3 расположен напротив рентгеновского детектора 5, ось рентгеновского излучения расположена перпендикулярно рентгенопрозрачной деке 7 и проходит через верхнюю конечность пациента 20.

[122]

11) Конфигурация универсального рентгеновского комплекса для съемки на каталке в латеропроекции (фиг. 14)

[123]

Стол 1 переведен в вертикальное положение посредством подъемно-поворотного механизма 9. Перпендикулярно рентгенопрозрачной деке 7 стола 1 установлена каталка 21, на которой расположен пациент 20. Подвижное основание 13 штатива 4 передвинуто по дополнительной продольной опоре 11 на необходимую высоту для выполнения съемки пациента 20. Рентгеновский детектор 5 выведен за пределы рентгенопрозрачной деки 7, 1-е звено 18 штатива 4 расположено перпендикулярно дополнительной продольной опоре 11 параллельно рентгенопрозрачной деке 7. 2-е звено 19 установлено перпендикулярно первому звену 18 посредством 8-го поворотного узла 191, 2-е звено 19 расположено перпендикулярно каталке 21. Посредством 9-го поворотного узла 192 рентгеновский детектор 5 развернут по направлению от рентгенопрозрачной деки 7 параллельно ей и перпендикулярно каталке 21 вдоль длинной стороны каталки 21.

[124]

Подвижное основание 12 штатива 2 передвинуто по продольной опоре 10 напротив подвижного основания 13 на дополнительной продольной опоре 11. 1-я ступень 15 штатива 2 расположена под углом к рентгенопрозрачной деке 7 над ней, 2-я ступень 16 расположена под прямым углом к 1-й ступени 15. 3-я ступень 17 посредством 3-го поворотного узла 171 и 4-го поворотного узла 172 расположена перпендикулярно поворотной колонне 14 параллельно длинной стороне каталки 21. Рентгеновский излучатель 3 расположен перпендикулярно каталке 21 напротив рентгеновского детектора 5, ось рентгеновского излучения направлена горизонтально параллельно короткой стороне каталки 21 и проходит через пациента 20.

[125]

12) Конфигурация универсального рентгеновского комплекса для съемки стопы под нагрузкой (фиг. 15)

[126]

Стол 1 переведен в вертикальное положение посредством подъемно-поворотного механизма 9. Перпендикулярно рентгенопрозрачной деке 7 стола 1 под короткой ее стороной установлена рентгенопрозрачная тумба 25. Исследуемая стопа пациента 20 стоит на рентгенопрозрачной тумбе 25, вторая стопа поднята. Спиной пациент 20 опирается на рентгенопрозрачную деку 7. Подвижное основание 13 штатива 4 передвинуто по дополнительной продольной опоре 11 в крайнее нижнее положение. Рентгеновский детектор 5 выведен с короткой стороны рентгенопрозрачной деки 7, расположен перпендикулярно ей и заведен под рентгенопрозрачную тумбу 25. 1-е звено 18 штатива 4 расположено под углом к рентгенопрозрачной деке 7, 2-е звено 19 расположено перпендикулярно первому 18 и параллельно короткой стороне рентгенопрозрачной деки 7. Подвижное основание 12 штатива 2 передвинуто по продольной опоре 10 в среднюю ее часть. 1-я ступень 15 штатива 2 расположена под углом к рентгенопрозрачной деке 7, 2-я ступень 16 расположена параллельно 1-й ступени 15. 3-я ступень 17 посредством 3-го поворотного узла 171 и 4-го поворотного узла 172 расположена перпендикулярно 2-й ступени 16, параллельно рентгенопрозрачной деке 7 и рентгенопрозрачной тумбе 25. Рентгеновский излучатель 3 расположен над рентгенопрозрачной тумбой 25, ось рентгеновского излучения находится под углом к плоскости рентгенопрозрачной тумбы 25 и проходит через исследуемую стопу пациента 20.

Как компенсировать расходы
на инновационную разработку
Похожие патенты