патент
№ RU 2154890
МПК H02N11/00

РЕЛЬСОТРОННЫЙ УСКОРИТЕЛЬ

Авторы:
Полтанов А.Е. Рындин В.Н. Кондратенко А.К.
Все (4)
Номер заявки
98123735/06
Дата подачи заявки
22.12.1998
Опубликовано
20.08.2000
Страна
RU
Как управлять
интеллектуальной собственностью
Чертежи 
8
Реферат

[30]

Ускоритель может быть применен для разгона твердого тела (якоря) относительно большой массы. Ускоритель содержит N пар рельсов, установленных с изоляционными промежутками друг над другом и N - 1 неподвижную токопроводную перемычку. Оптимизировано соотношение величин геометрических размеров конструкции и технических характеристик. Кроме того, введены дополнительные неподвижные перемычки, подключенные параллельно существующим и установленные в одной плоскости с соответствующими существующими неподвижными перемычками по внешнему периметру поперечного сечения канала рельсотронного ускорителя. Половина четного числа неподвижных перемычек установлена по свободному внешнему полупериметру в одной плоскости попарно с перемычками другой половины. Изоляторы рельсов и якоря имеют сопрягающиеся развитые поверхности. Электропроводные перемычки якоря становлены на изоляторе якоря с возможностью смещения в плоскости пар рельсов, перпендикулярно направлению движения якоря. Изобретение обеспечивает повышение надежности. 5 з.п.ф-лы, 9 ил.

Формула изобретения

1. Рельсотронный ускоритель, содержащий электроизоляционный корпус, якорь и несколько N пар токопроводных параллельных рельсов, образующих канал ускорителя и закрепленных в корпусе так, что первые рельсы всех пар и вторые рельсы всех пар разделены изоляционными промежутками, якорь включает электрически изолированные друг от друга электропроводные перемычки по числу рельсов N, установленные на общем изоляторе с возможностью скольжения по рельсам, со стороны входа канала вторые рельсы i-й пары соединены с первыми рельсами i + 1 пары (где i = 1 ... N - 1) посредством неподвижных электропроводных перемычек, а первый рельс первой пары и второй рельс N-й пары выведены для подключения к источнику питания, отличающийся тем, что параметры рельсотронного ускорителя связаны следующим соотношением

Lп > m • v2 /(Iд2 • x),
Lп = 2 • 10-7 • N2 • {[(D + b)/b + 1]2 • Lп (D + C + 2 • b) + [(D + b)/b - 1]2 • Lп (D + C) - 2 • [(D + b)/b]2 • Lп (D + C + b) - 2 • Lп (C + b)},
где Lп - погонная индуктивность рельсотронного ускорителя, н;
m - масса якоря, кг;
Um - максимально допустимое напряжение на входных зажимах рельсотронного ускорителя, В;
R - общее активное сопротивление токопроводных элементов рельсотронного ускорителя, Ом;
Iд - действующее значение тока рельсотронного ускорителя, А;
X - длина канала рельсотронного ускорителя, м;
V - максимальная скорость якоря, м/с;
N - число пар рельсов рельсотронного ускорителя;
D - расстояние между скользящими контактными поверхностями одной перемычки якоря, м;
b - ширина рельса, м;
C - общая высота набора N рельсов и изоляционных промежутков между ними, м.

2. Рельсотронный ускоритель по п.1, отличающийся тем, что длина канала определяется следующим математическим выражением
X = m • V3/[Iд • (Um - R • Iд)].

3. Рельсотронный ускоритель по пп.1 и 2, отличающийся тем, что введены дополнительные неподвижные электропроводные перемычки, подключенные параллельно существующим неподвижным электропроводным перемычкам, при этом существующие и дополнительные перемычки установлены попарно по внешнему периметру в одной плоскости поперечного сечения рельсотронного ускорителя.

4. Рельсотронный ускоритель по пп.1 и 2, отличающийся тем, что половина четного числа неподвижных электропроводных перемычек установлена попарно по внешнему периметру в одной плоскости поперечного сечения рельсотрона с перемычками другой половины.

5. Рельсотронный ускоритель по пп.1 - 4, отличающийся тем, что электроизоляция между одноименными рельсами соседних пар и электроизоляция между перемычками якоря имеют развитые сопрягаемые друг с другом поверхности.

6. Рельсотронный ускоритель по пп.1 - 4, отличающийся тем, что электропроводные перемычки якоря установлены на изоляторе якоря с возможностью смещения в плоскости пар рельсов, перпендикулярно направлению движения якоря.

Описание

[1]

Изобретение относится к линейным электрическим двигателям и может быть применено для разгона твердого тела (якоря) относительно большой массы.

[2]

Известен рельсотронный ускоритель, содержащий канал, образованный тремя парами электрически изолированных параллельных рельсов и якорь, содержащий три электрически изолированных друг от друга токопроводные перемычки, каждая из которых имеет скользящий электрический контакт с соответствующей парой рельсов. Якорь установлен с возможностью перемещения вдоль канала. Отдельные пары рельсов подключены к разным источникам электрической энергии. Использование трех пар рельсов позволяет получить необходимую ускоряющую силу при меньших значениях тока в каждой паре рельсов и соответствующих перемычках якоря, а следовательно снижает потери на активных сопротивлениях рельсов и перемычках якоря [1].

[3]

Недостатком такого устройства является усложнение конструкции источника электрической энергии и токопроводов для передачи электрической энергии от источников к ускорительному каналу.

[4]

Наиболее близким по технической сущности и достигаемому техническому результату и выбранный за прототип, является рельсотронный ускоритель, содержащий ускорительный канал, образованный N одинаковыми парами электрически изолированных токопроводящих параллельных рельсов, установленных неподвижно в электроизоляционном корпусе так, что первые рельсы всех пар и вторые рельсы всех пар расположены с изоляционными промежутками соответственно друг над другом, якорь, содержащий N электрически изолированных друг от друга электропроводных перемычек, каждая из которых установлена неподвижно на изоляторе якоря и с возможностью скольжения по соответствующей паре рельсов. Кроме того, содержатся N-1 неподвижные электропроводные перемычки, соединяющие со стороны входа вторые рельсы i-ой пары с первыми рельсами i+1 пары (где i=1.. . N-1) и огибающие по внешнему полупериметру поперечного сечения рельсотронного ускорителя, а первый рельс первой пары и второй рельс N-ой пары выведены для подключения источника электрической энергии. Таким образом, N пар рельсов соединены последовательно неподвижными перемычками. В данном рельсотронном ускорителе используется один источник электрической энергии, что позволяет упростить конструкцию токопровода и снизить потери электрической энергии при передаче ее от источника к ускорителю.

[5]

Недостатком такого рельсотронного ускорителя является его относительно низкая надежность в связи с необходимостью использования более высоковольтного источника электрической энергии. Это связано с высоким значением начальной входной, а также погонной индуктивности. Входная индуктивность определяется индуктивностью неподвижных перемычек и начальным участком рельсов, а погонная индуктивность пропорциональна N2. На начальной входной индуктивности возникают опасные перенапряжения при включении источника питания, высокая погонная индуктивность требует высокого напряжения источника при большой скорости якоря. Простое увеличение изоляционных промежутков повышает электрическую прочность, но приводит к снижению погонной индуктивности, а следовательно и ускоряющий якорь силы. Следовательно, для повышения надежности требуется оптимизировать соотношение основных технических характеристик и основных геометрических размеров конструкции и в рамках оптимизирующих ограничений, принять дополнительные меры для повышения электрической прочности рельсотронного ускорителя.

[6]

Техническим результатом настоящего изобретения является повышение надежности путем оптимизации геометрических размеров конструкции рельсотронного ускорителя, снижения начальной входной индуктивности, повышения электрической прочности изоляционных промежутков, повышения надежности скользящих контактов.

[7]

Для достижения указанного технического результата предложено усовершенствовать рельсотронный ускоритель, содержащий ускорительный канал, образованный N одинаковыми парами электрически изолированных токопроводных параллельных рельсов, установленных неподвижно в элекроизолированном корпусе (неподвижном электроизоляторе) так, что первые рельсы всех пар и вторые рельсы всех пар расположены с изоляционными промежутками соответственно друг над другом, якорь, содержащий N электрически изолированных друг от друга электропроводных перемычек, каждая из которых установлена на общем электроизоляторе якоря с возможностью скольжения по рельсам соответствующей пары и N-1 неподвижные электропроводные перемычки, соединяющие со стороны входа вторые рельсы i-ой пары с первыми рельсами i+1 пары (где i=1... N-1). Усовершенствование заключается в том, что соотношение величин технических характеристик (действующие напряжение и ток, активное сопротивление, скорость и масса якоря) и геометрических размеров рельсотронного ускорителя (длина канала X, размеры калибра D и C и ширина рельса b) определяется математическими выражениями:

Lп > m • V2 /(Iд2 • X) (2)
Lп = 2•10-7 • N2 • {[(D+b)/b+1]2 • Lп(D+C+2 • b)+[(D+b)/b-1]2 • Lп (D+C) - 2[(D+b)/b]2 • Ln (D+C+b)-2 • Lп(C+b)} (3)
где Lп - погонная индуктивность рельсотронного ускорителя Гн;
m - масса якоря, кг;
Um - максимально допустимое напряжение на входных зажимах рельсотронного ускорителя, B;
R - общее активное сопротивление токопроводных элементов рельсотронного ускорителя, Ом;
Iд - действующее значение тока рельсотронного ускорителя, A;
X - длина канала рельсотронного ускорителя, м;
V - максимальная скорость якоря, м/с;
N - число пар рельсов рельсотронного ускорителя;
D - расстояние между скользящими контактными поверхностями одной перемычки якоря, м;
b - ширина рельса, м;
C - общая высота набора N рельсов и изоляционных промежутков между ними, м.

[8]

Оптимальная длина канала рельсотронного ускорителя определяется следующими математическим выражением:
X = m • V3/[Iд • (Um - RIд)] (4)
Для снижения начального напряжения путем уменьшения входной индуктивности, введены дополнительные неподвижные электропроводные перемычки, подключенные параллельно существующим неподвижным электропроводным перемычкам. Указанные существующие и дополнительные перемычки установлены попарно в одной плоскости по внешнему периметру поперечного сечения рельсотронного ускорителя.

[9]

В предпочтительном варианте конструкции рельсотронного ускорителя половина четного числа неподвижных электропроводных перемычек установлены по свободному внешнему полупериметру поперечного сечения рельсотронного ускорителя с перемычками другой половины попарно в одной плоскости.

[10]

Электроизоляция между одноименными рельсами соседних пар имеет развитую поверхность, сопрягаемую с развитой поверхностью изолятора якоря.

[11]

Электропроводные перемычки якоря установлены на изоляторе якоря с возможностью смещения в плоскости пар рельсов перпендикулярно направлению движения якоря по направляющим изоляторам якоря.

[12]

Сущность предложенного изобретения поясняется прилагаемыми чертежами. На фиг. 1, 2, 3 показан чертеж рельсотронного ускорителя, содержащего N (в данном примере N= 3) пар рельсов в трех проекциях. На фиг. 4 и 5 показаны две проекции предпочтительного варианта конструкции входа рельсотронного ускорителя. На фиг. 6 и 7 показаны сопрягаемые поверхности изоляторов. На фиг. 8 и 9 показана конструкция якоря в двух проекциях.

[13]

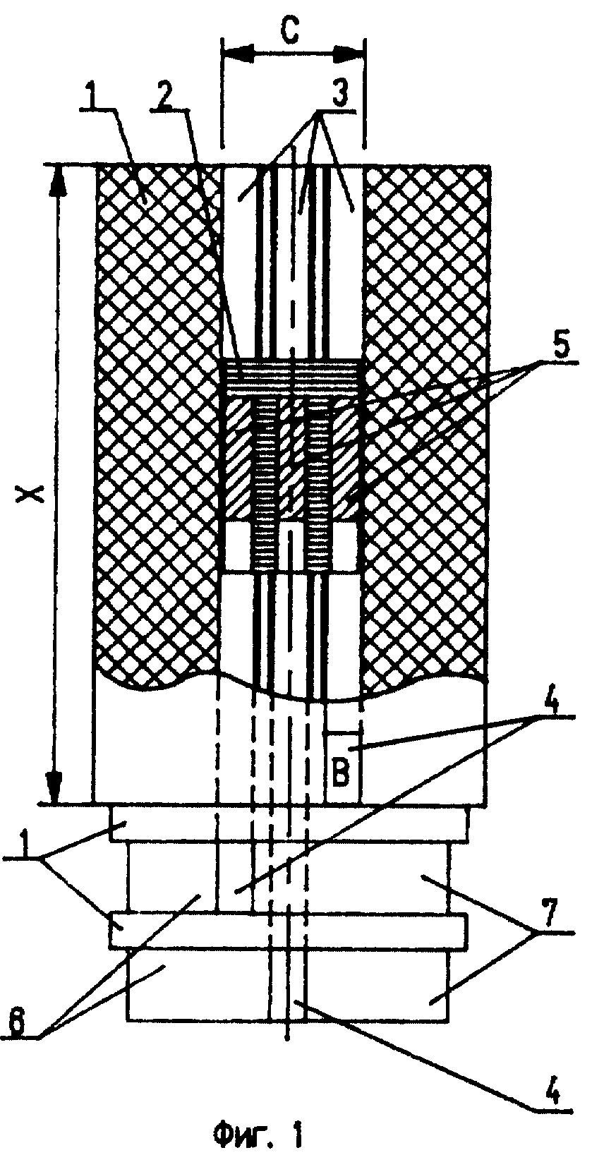
На фиг. 1 показан вид рельсотронного ускорителя сбоку. Наклонной двойной штриховкой выделен в сечении неподвижный электроизолятор 1, а горизонтальной штриховкой сечение электроизолятора 2 подвижного якоря. Первые токопроводные рельсы 3 и вторые токопроводные рельсы 4 (в сечении не показаны) установлены параллельно с изоляционными промежутками друг над другом. Три токопроводные перемычки 5 якоря установленные на изоляторе 2 якоря с возможностью скольжения по вышеуказанным рельсам. Две неподвижные токопроводные перемычки 6 соединены со стороны входа канала ускорителя соответственно со вторыми рельсами 4 первой и второй пары и первыми рельсами 3 второй и третьей пары. Перемычки 6 установлены по внешнему полупериметру поперечного сечения рельсотронного ускорителя. Дополнительные неподвижные токопроводные перемычки 7 соединены параллельно с перемычками 6, и установлены по свободному внешнему полупериметру поперечного сечения рельсотронного ускорителя в одной плоскости с соответствующими неподвижными перемычками 6. Кроме того, на чертеже обозначено: X - длина канала рельсотронного ускорителя, C - общая высота набора N рельсов и изоляционных промежутков между ними.

[14]

На фиг. 2 показан вид рельсотронного ускорителя сверху. Наклонной двойной штриховкой выделен в сечении неподвижный электроизолятор 1, а вертикальной штриховкой электроизоляция 2 подвижного якоря. Как и на фиг. 1 обозначены токопроводные рельсы 3 и 4, токопроводные перемычки 5 якоря, изолятор 2 якоря, неподвижные перемычки 6 и дополнительные неподвижные перемычки 7. Литерами A и B отмечены выводы рельса 3 первой пары и рельса 4 третьей пары, предназначенные для подключения источника электрической энергии. Кроме того, обозначено: D - расстояние между скользящими контактными поверхностями одной перемычки якоря, b - ширина рельса.

[15]

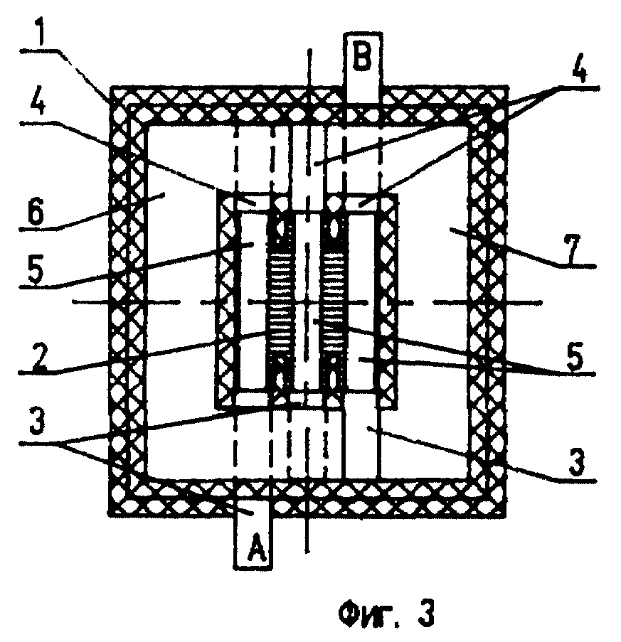
На фиг. 3 показан вид рельсотронного ускорителя со стороны входа. Наклонной двойной штриховкой выделены, для наглядности, видимые неподвижные электроизоляционные части 1, а горизонтальной штриховкой электроизолятор 2 подвижного якоря. Как и на фиг. 1 обозначены токопроводные рельсы 3 и 4, токопроводные перемычки 5 якоря, неподвижная токопроводная перемычка 6 и дополнительная неподвижная токопроводная перемычка 7.

[16]

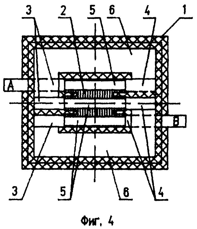
На фиг. 4 показан вид со стороны входа предпочтительного исполнения рельсотронного ускорителя, в котором обозначены неподвижный электроизолятор 1, электроизолятор 2 якоря, токопроводные рельсы 3 и 4, токопроводные перемычки 5 якоря и неподвижные токопроводные перемычки 6.

[17]

На фиг. 5 показан вид сбоку входной части предпочтительного исполнения рельсотронного ускорителя, в котором обозначены неподвижный изолятор 1 и неподвижные токопроводные перемычки 6, установленные попарно в одной плоскости поперечного сечения канала.

[18]

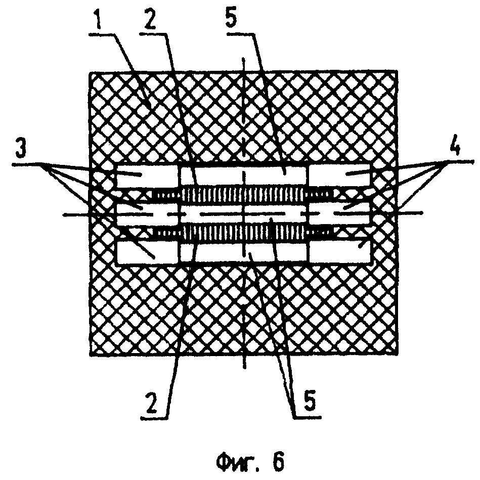
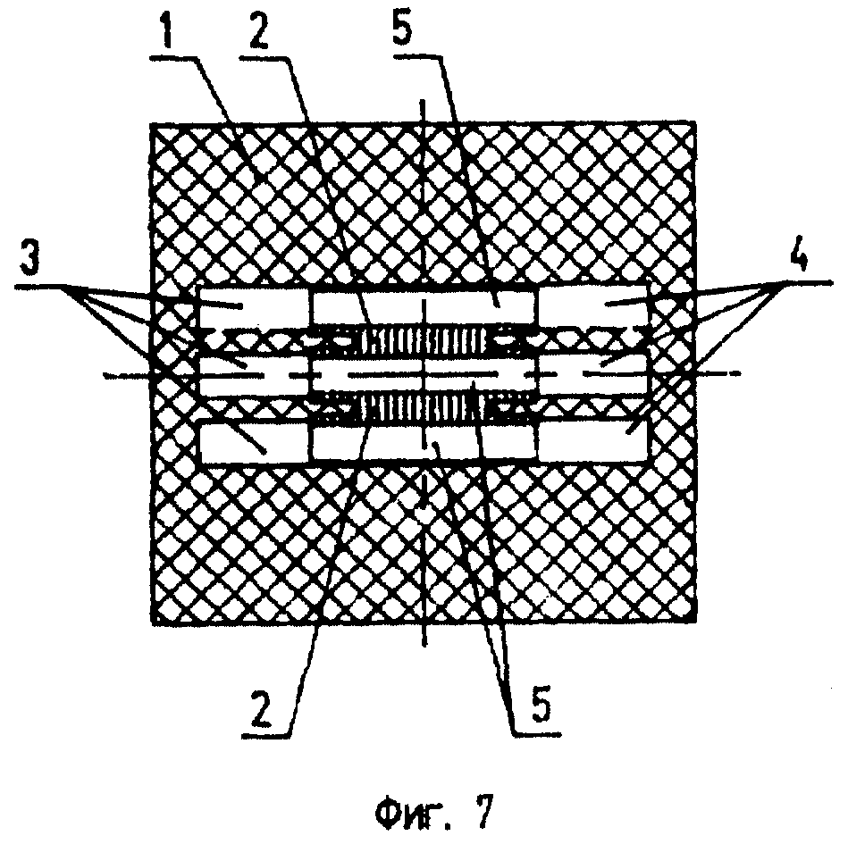
На фиг. 6 и 7 показаны неподвижный изолятор 1, изолятор 2 якоря, пары токопроводных рельсов 3 и 4 и токопроводные перемычки 5 якоря.

[19]

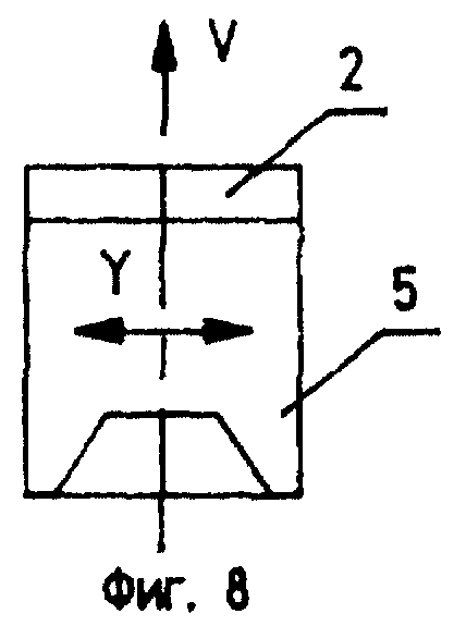
На фиг. 8 и 9 показан изолятор 2 якоря, а также токопроводные перемычки 5 якоря. Стрелкой V показано направление движения якоря при разгоне, а стрелкой Y показано направление возможного перемещения перемычек 5 якоря по изолятору 2 якоря.

[20]

Рабочий ток выбирается из условий допустимых потерь энергии на активном сопротивлении рельсов и перемычек. По неравенствам (1), (2) и уравнению (3), задавая значения максимально допустимого рабочего напряжения Um, рабочего тока Iд, требуемой скорости якоря V и массы якоря m определяет соотношение геометрических размеров рельсотронного ускорителя: необходимую длину канала X, размеры "калибра" D и C и ширину рельса b. При этом выполнение неравенства (2) обеспечивает достижение требуемой скорости якоря V, а выполнение неравенства (1) обеспечивает электрическую прочность конструкции, так как при этом напряжение на входе не превысит допустимого рабочего напряжения Um. Таким образом, технические характеристики рельсотронного ускорителя связаны с конструктивными характеристиками приведенными математическими выражениями, что обеспечивает требуемую надежность при достижении заданных технических характеристик.

[21]

Оптимальное значение геометрических размеров получается при выборе длины канала X по формуле (4). Используя полученное значение X, по неравенствам (1) и (2) определяем необходимую величину погонной индуктивности Lп. Затем для полученной величины погонной индуктивности по выражению (3) получаем соотношение величин числа пар рельсов ускорителя N, и основных размеров сечения канала рельсотрона. При заданном калибре якоря, определяемом размерами D и C, можно однозначно определить величину b для различного числа пар рельсов N. Соотношение размеров b, C и D может быть определено при задании их конкретных значений по другим критериям. Например, величины b и C могут быть выбраны из условий ограничений по плотности тока, а величина D по предложенным выше математическим выражениям.

[22]

Работа рельсотронного ускорителя, показанного на фиг. 1, 2, 3 осуществляется следующим образом. В исходном положении якорь расположен на входе рельсотронного ускорителя, а источник электрической энергии (не показан) подключен к выводам A и B токопроводных рельсов 3 и 4. При подаче электрической энергии на выводах A и B появляется напряжение, относительно низкое благодаря пониженной величине входного импеданса, что достигнуто наличием дополнительных неподвижных перемычек 7. Общий входной импеданс уменьшен благодаря тому, что индуктивность неподвижных перемычек в данной конструкции понижена более чем в два раза. По цепи, состоящей из начальных участков рельсов 3 и 4 перемычек 5 якоря каждой пары рельсов, соединенных последовательно неподвижными перемычками 6 и дополнительными перемычками 7 протекает электрический ток. В результате взаимодействия магнитных полей тока рельсов и перемычек якоря, возникает сила Ампера, равная:
F = 0,5 • Lп • Iд2 (6)
Под воздействием этой силы якорь ускоренно перемещается вдоль рельсов по стрелке. При этом действующее напряжение на входе рельсотронного ускорителя равно:
Uд = (Lп • V+R)•Iд (7)
При постоянном токе источника электрической энергии, что обеспечивает постоянную ускоряющую якорь силу Ампера, напряжение на рельсотронном ускорителе возрастает пропорционально скорости якоря и распределяется по электроизоляционным промежуткам между соседними одноименными рельсами 3 и 4 и электроизоляционными промежутками между токопроводными перемычками 5 якоря, благодаря развитой поверхности указанной изоляции достигается повышенное напряжение поверхностного пробоя и, тем самым, обеспечивается повышенное допустимое рабочее напряжение.

[23]

Предпочтительный вариант исполнения устройства фиг. 4, 5 по принципу действия соответствует рассмотренному выше, кроме того, что при подаче электрической энергии начальное перенапряжение на входе между выводами A и Б ниже чем в предыдущем конструкции. Это достигается тем, что входной импеданс данного варианта ниже в связи с пониженной величиной индуктивности более коротких выводов начальных участков рельсов 3 и 4 для подключения неподвижных перемычек 6.

[24]

Показанные на фиг. 6 и 7 варианты выполнения развитой поверхности неподвижной изоляции 1 между соседними рельсами 3, а также между рельсами 4 и сопрягаемой с ней поверхности изолятора 2 якоря между токопроводными перемычками 5 якоря обеспечивают повышенное напряжение электрического пробоя по поверхности изоляторов при относительно тонкой изоляции непосредственно между этими токопроводными элементами. Повышенное напряжение электрического пробоя позволяет поднять величину допустимого рабочего напряжения и тем самым увеличить достижимую скорость якоря. Повышенное напряжение электрического пробоя повышает надежность устройства.

[25]

Вариант изоляции, показанной на фиг. 7, где неподвижная изоляция 1 развита вглубь изоляции 2 якоря, является предпочтительной. В этом варианте изоляция 1 надежнее работает при сжимающих усилиях, возникающих при протекании рабочего тока по рельсам благодаря меньшим деформациям изолятора 1, а следовательно, меньшему трению по сопрягаемым поверхностям.

[26]

Особенность работы якоря, показанного в двух проекциях на фиг. 8 и 9, заключается в следующем. При движении под действием сил Ампера вдоль канала, в направлении стрелки V токопроводные перемычки 5 якоря скользят по рельсам рельсотронного ускорителя. Так как указанные перемычки установлены на изоляторе 2 якоря с возможностью поперечного перемещения относительно друг друга и изолятора 2, в направлении Y, то при прохождении участков с неровностями или при скольжении по рельсам, установленным с погрешностями в положении, например при смещенном положении пар рельсов относительно друг друга, отдельные перемычки 5 якоря перемещаются в поперечном направлении Y, не вызывая при этом перекосов, заклинивания, нарушения электрического контакта у других перемычек. Направляющими для поперечного перемещения являются поверхности изолятора 2 нормальные вектору продольного перемещения якоря вдоль рельсов по стрелке V.

[27]

Данное техническое решение позволяет повысить надежность рельсотронного ускорителя путем повышения электрической прочности конструкции. Это достигается выбором оптимальных геометрических размеров для заданных технических характеристик по приведенным математическим выражениям, снижением входного импеданса, путем снижения индуктивности неподвижных перемычек, установленных на входе ускорителя, создания развитой поверхности изоляторов, обеспечивающей электрическую прочность при допустимом рабочем напряжении. Надежный электрический контакт между перемычками якоря и рельсами снижает вероятность возникновения перенапряжений в результате его нарушения, а также уменьшает эрозию контактной поверхности при возникновении плазменного контакта.

[28]

Литература
1. Antonios Chаllita, Brian L. Maas, Daviа P, Bauer and Mark Heyse, IEEE Transactions on Magnetics vol. 29, N 1, January, 1993, p.793.

[29]

2. James G. Moldenhauer and Gene E. Hauze, IEEE Transactions in Magnetics vol. MAG-20, N 2, January, 1984, p.283.

Как компенсировать расходы
на инновационную разработку
Похожие патенты