патент
№ RU 2216771
МПК G06F13/14

ИНТЕРФЕЙС ПОЛЬЗОВАТЕЛЯ

Авторы:
Ян Д.Е. Андреев С.Г. Анисимович К.В.
Все (4)
Номер заявки
2001128010/09
Дата подачи заявки
16.10.2001
Опубликовано
20.11.2003
Страна
RU
Как управлять
интеллектуальной собственностью
Чертежи 
1
Реферат

[33]

Изобретение относится к вычислительной технике, в частности к системам отображения информации на компьютере. Технический результат заключается в расширении функциональных возможностей. Интерфейс содержит средство памяти пакета документов, средства памяти изображения, блоков текста и распознанного текста, средство отображения пакета документов, средство отображения страницы, средство отображения текста, средство памяти изображения крупным планом, средство отображения крупного плана и синхронизатор. 16 з.п. ф-лы, 1 ил.

Формула изобретения

1. Интерфейс пользователя, содержащий средство памяти пакета документов, к выходу которого подключены средства памяти изображения, блоков текста и распознанного текста, средство отображения пакета документов, подключенное к выходу средства памяти пакета документов, средство отображения страницы, подключенное к выходам средств памяти изображения и блоков текста, средство отображения текста, подключенное к выходам средств памяти блоков текста и распознанного текста, отличающийся тем, что к выходу средства памяти пакета документов подключено средство памяти изображения крупным планом, к выходам средств памяти блоков текста и изображения крупным планом подключено средство отображения крупного плана, к управляющим входам всех средств памяти подключен синхронизатор.

2. Интерфейс пользователя по п. 1, отличающийся тем, что синхронизатор осуществляет при изменении блоков текста в средстве памяти блоков текста изменение содержимого средства памяти распознанного текста, при изменении координат крупного плана изменение отображения крупного плана в средстве отображения крупного плана, при изменении номера активного символа в средстве памяти распознанного текста изменение координаты активного символа в средстве памяти изображения крупным планом, при изменении номера текущей страницы изменение содержимого средств памяти и загрузку данных текущей страницы.

3. Интерфейс пользователя по п. 1 или 2, отличающийся тем, что все средства памяти выполнены в виде соответствующих средств памяти компьютера.

4. Интерфейс пользователя по п. 1 или 2, отличающийся тем, что средство памяти пакета документов выполнено в виде оперативного запоминающего устройства компьютера.

5. Интерфейс пользователя по п. 1 или 2, отличающийся тем, что средство памяти пакета документов выполнено в виде жесткого диска компьютера.

6. Интерфейс пользователя по п. 1 или 2, отличающийся тем, что средство памяти пакета документов выполнено в виде соответствующего элемента памяти, по крайней мере, одного компьютера компьютерной сети.

7. Интерфейс пользователя по п. 1 или 6, отличающийся тем, что средство памяти пакета документов выполнено в виде соответствующего элемента памяти, по крайней мере, одного компьютера, подключенного к сети "Интернет".

8. Интерфейс пользователя по одному из пп. 1-7, отличающийся тем, что средство отображения пакета документов содержит уменьшенные изображения страниц документов.

9. Интерфейс пользователя по одному из пп. 1-7, отличающийся тем, что средство отображения пакета документов содержит иконки страниц.

10. Интерфейс пользователя по п. 8 или 9, отличающийся тем, что средство отображения пакета документов выполнено с возможностью показа дополнительной информации.

11. Интерфейс пользователя по одному из пп. 1-7, отличающийся тем, что средства отображения представляют собой последовательно соединенные контроллер дисплея и дисплей компьютера, на котором активизированы окно пакета документов, окно страницы, окно текста и окно крупного плана.

12. Интерфейс пользователя по п. 11, отличающийся тем, что окно текста снабжено меню текстового редактора.

13. Интерфейс пользователя по п. 11 или 12, отличающийся тем, что синхронизатор осуществляет синхронизацию окна крупного плана с окном текста и окном страницы.

14. Интерфейс пользователя по п. 13, отличающийся тем, что синхронизатор осуществляет синхронизацию активного символа в окне текста с выделенным символом в окне крупного плана.

15. Интерфейс пользователя по п. 14, отличающийся тем, что изображение символа в окне крупного плана выделено рамкой.

16. Интерфейс пользователя по п. 15, отличающийся тем, что рамка закрашена цветом отличным от цвета окружающего фона.

17. Интерфейс пользователя по п. 14, отличающийся тем, что изображение символа в окне крупного плана выделено цветом.

Описание

[1]

Настоящее изобретение относится к вычислительной технике, в особенности к системам отображения информации, в частности к системам отображения информации на компьютере
Предшествующий уровень техники
На настоящий момент известны различные системы, в которых интерфейс пользователя содержит средство памяти пакета документов, к выходу которого подключены средства памяти изображения, блоков текста и распознанного текста, средство отображения пакета документов, подключенное к выходу средства памяти пакета документов, средство отображения страницы, подключенное к выходам средств памяти изображения и блоков текста, средство отображения текста, подключенное к выходам средств памяти блоков текста и распознанного текста (см. , например, патент США 6272484, МПК G 06 F 017/30, опубл. 07.08.01).

[2]

Недостатком данного интерфейса является относительно узкие функциональные возможности.

[3]

Сущность изобретения
Техническим результатом данного изобретения является расширение функциональных возможностей за счет обеспечения отображения части изображения с текущим символом крупным планом.

[4]

Указанный технический результат достигнут за счет того, что интерфейс пользователя содержит средство памяти пакета документов, к выходу которого подключены средства памяти изображения, блоков текста и распознанного текста, средство отображения пакета документов, подключенное к выходу средства памяти пакета документов, средство отображения страницы, подключенное к выходам средств памяти изображения и блоков текста, средство отображения текста, подключенное к выходам средств памяти блоков текста и распознанного текста, к выходу средства памяти пакета документов подключено средство памяти изображения крупным планом, к выходам средств памяти блоков текста и изображения крупным планом подключено средство отображения крупного плана, к управляющим входам всех средств памяти подключен синхронизатор.

[5]

Указанный технический результат достигнут за счет того, что синхронизатор осуществляет при изменении блоков текста в средстве памяти блоков текста изменение содержимого средства памяти распознанного текста, при изменении координат крупного плана изменение отображения крупного плана в средстве отображения крупного плана, при изменении номера активного символа в средстве памяти распознанного текста изменение координаты активного символа в средстве памяти изображения крупным планом, при изменении номера текущей страницы изменение содержимого средств памяти и загрузку данных текущей страницы.

[6]

Указанный технический результат достигнут за счет того, что все средства памяти выполнены в виде соответствующих средств памяти компьютера.

[7]

Указанный технический результат достигнут за счет того, что средство памяти пакета документов выполнено в виде оперативного запоминающего устройства компьютера.

[8]

Указанный технический результат достигнут за счет того, что средство памяти пакета документов выполнено в виде жесткого диска компьютера.

[9]

Указанный технический результат достигнут за счет того, что средство памяти пакета документов выполнено в виде соответствующего элемента памяти, по крайней мере, одного компьютера компьютерной сети.

[10]

Указанный технический результат достигнут за счет того, что средство памяти пакета документов выполнено в виде соответствующего элемента памяти, по крайней мере, одного компьютера сети Интернет.

[11]

Указанный технический результат достигнут за счет того, что средство отображения пакетов содержит уменьшенные изображения страниц документов.

[12]

Указанный технический результат достигнут за счет того, что средство отображения пакетов содержит иконки страниц.

[13]

Указанный технический результат достигнут за счет того, что средство отображения пакетов выполнено с возможностью показа дополнительной информации.

[14]

Указанный технический результат достигнут за счет того, что средства отображения представляют собой последовательно соединенные центральный процессор, контроллер дисплея и дисплей компьютера, на котором активизированы окно пакета документов, окно страницы, окно текста и окно крупного плана.

[15]

Указанный технический результат достигнут за счет того, что окно текста снабжено меню текстового редактора.

[16]

Указанный технический результат достигнут за счет того, что синхронизатор осуществляет синхронизацию окна крупного плана с окном текста и окном страницы.

[17]

Указанный технический результат достигнут за счет того, что синхронизатор осуществляет синхронизацию активного символа в окне текста с выделенным символом в окне крупного плана.

[18]

Указанный технический результат достигнут за счет того, что изображение символа в окне крупного плана выделено рамкой.

[19]

Указанный технический результат достигнут за счет того, что рамка закрашена цветом, отличным от цвета окружающего фона.

[20]

Краткое описание чертежей
Особенности и преимущества настоящего изобретения поясняются в нижеследующем описании, иллюстрируемом чертежом, где в соответствии с изобретением представлен интерфейс пользователя.

[21]

Сведения, подтверждающие возможность осуществления изобретения
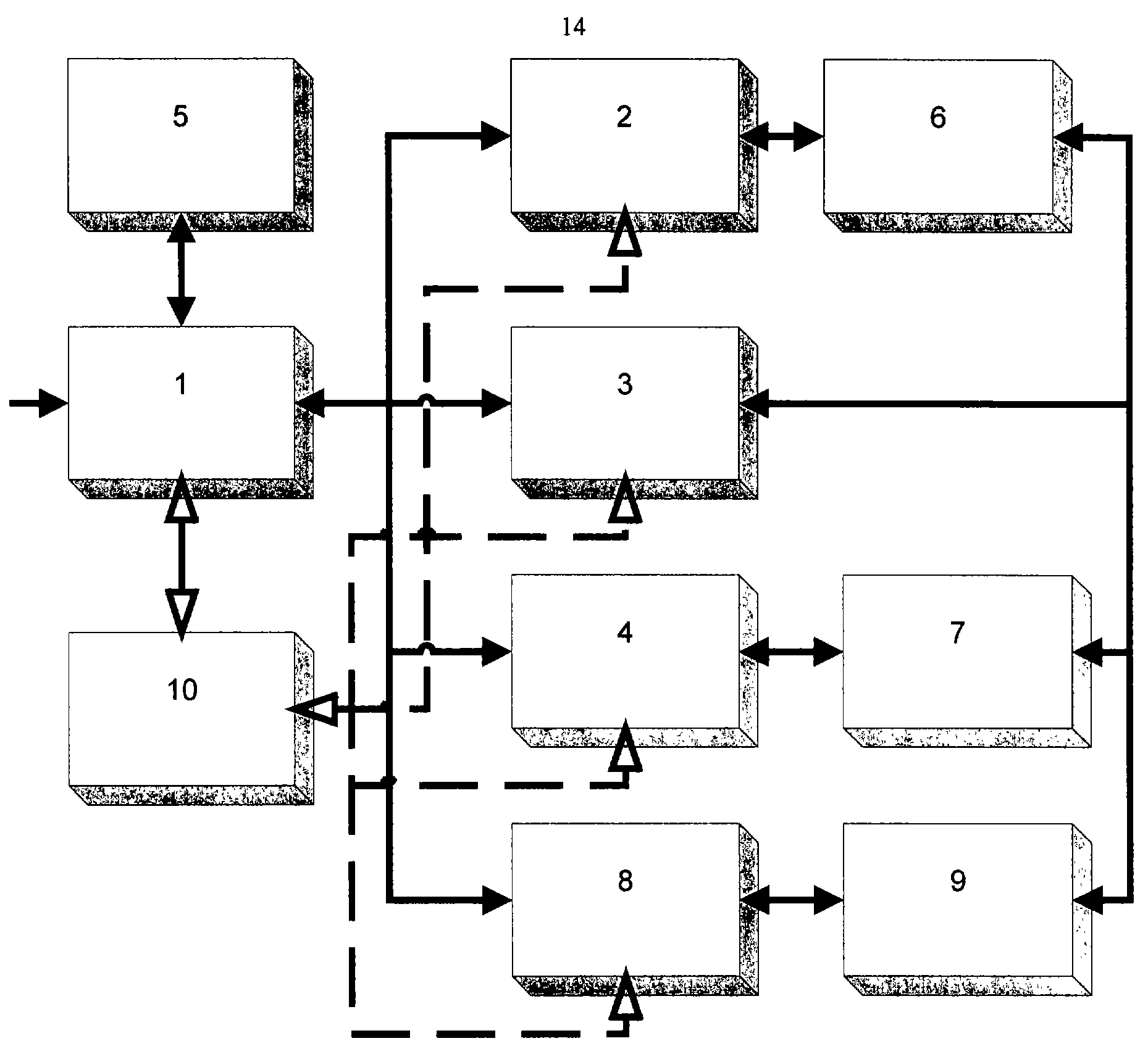
Одно из возможных инженерных решений представлено на чертеже, где показан интерфейс пользователя, который содержит средство памяти пакета документов 1, к выходу которого подключены средства памяти изображения 2, блоков текста 3 и распознанного текста 4, средство отображения пакета документов 5, подключенное к выходу средства памяти пакета документов 1, средство отображения страницы 6, подключенное к выходам средств памяти изображения 2 и блоков текста 3, средство отображения текста 7, подключенное к выходам средств памяти блоков текста 3 и распознанного текста 4, к выходу средства памяти пакета документов 1 подключено средство памяти изображения крупным планом 8, к выходам средств памяти блоков текста 3 и изображения крупным планом 8 подключено средство отображения крупного плана 9, к управляющим входам всех средств памяти подключен синхронизатор 10.

[22]

Функционирование интерфейса пользователя происходит следующим образом. Данные документа, представленного в электронном виде, записываются в средство памяти пакета документов 1, в котором постоянно хранится весь пакет документов в виде страниц с атрибутами и номер текущей страницы. Данные изображения, блоков текста, распознанного текста и изображения крупным планом переписываются из средства памяти пакета документов 1 соответственно в средства памяти изображения 2, блоков текста 3 и распознанного текста 4, изображения крупным планом 8. Таким образом, в средстве памяти изображения 2 хранятся растровое изображение текущей страницы и координаты изображения крупным планом. В средстве памяти блоков текста 3 хранятся список описания координат блоков на изображении, дополнительные атрибуты для каждого блока и номер активного блока. В средстве памяти распознанного текста 4 хранятся коды распознанных символов, координаты символов и номер текущего символа. В средстве памяти изображения крупным планом 8 хранятся растровое изображение выделенной области текущей страницы и координаты активного символа.

[23]

Данные со всех средств памяти под управлением от синхронизатора 10 поступают в соответствующие средства отображения. Средство отображения пакета документов 5, подключенное к выходу средства памяти пакета документов 1, осуществляет отображение всех страниц пакета, причем каждая страница может быть отображена соответствующей пиктограммой и дополнительной информацией о странице. Может быть активизирована любая по выбору страница. Данные от средств памяти изображения 2 и блоков текста 3, поступающие в средство отображения страницы 6 позволяют в нем осуществить растровое отображение страницы и отображение границ блоков текста, отображение активного блока текста и дополнительную информацию о блоке текста, такую как, например, информацию о цвете блока текста, номере блока текста и.т.д.

[24]

Данные, поступающие от средств памяти блоков текста 3 и распознанного текста 4 в средство отображения текста 7, позволяют отобразить в нем графически распознанные символы и позволяют, в случае необходимости, осуществить их редактирование, может быть выделена часть изображения, соответствующая текущему символу. Данные, поступающие от средств памяти блоков текста 3 и изображения крупным планом 8, поступающие в средство отображения крупного плана 9, позволяют в последнем отобразить увеличенное растровое изображение только части страницы, границы блоков текста и активного блока текста, при этом в активном блоке текста символ может быть выделен рамкой, а сама рамка может быть закрашена цветом, отличным от цвета окружающего фона.

[25]

Все средства памяти (1, 2, 3, 4 и 8) могут быть выполнены самым различным образом, в том числе, в виде соответствующих средств памяти компьютера.

[26]

Средство памяти пакета документов 1 может быть выполнено также либо в виде оперативного запоминающего устройства компьютера, либо в виде жесткого диска компьютера, либо в виде соответствующего элемента памяти, по крайней мере, одного компьютера компьютерной сети, либо в виде соответствующего элемента памяти, по крайней мере, одного компьютера сети Интернет.

[27]

Средство отображения пакетов 5 может содержать либо уменьшенные изображения страниц документов, либо иконки страниц, а также может быть выполнено с возможностью показа дополнительной информации, например, атрибутов страниц.

[28]

Средства отображения 5, 6, 7 и 9 могут представлять собой последовательно соединенные центральный процессор, контроллер дисплея и дисплей компьютера, на котором одновременно активизированы соответственно окно пакета документов, окно страницы, окно текста и окно крупного плана.

[29]

Окно текста может быть снабжено меню текстового редактора.

[30]

Синхронизатор 10, подключенный к управляющим входам всех средств памяти, обеспечивает: при изменении блоков текста в средстве памяти блоков текста 3 изменение содержимого средства памяти распознанного текста 4; при изменении координат крупного плана изменение отображения крупного плана в средстве отображения крупного плана 9; при изменении номера активного символа в средстве памяти распознанного текста 4 изменение координаты активного символа в средстве памяти изображения крупным планом 8; при изменении номера текущей страницы изменение содержимого средств памяти 2, 3, 4 и 8 и загружает данные текущей страницы. Кроме того, синхронизатор осуществляет синхронизацию окна крупного плана с окном текста и окном страницы.

[31]

Таким образом, за счет введения в интерфейс пользователя средств памяти изображения крупным планом и отображения крупного плана и синхронизатора с их связями и функциями достигается расширение его функциональных возможностей, а именно интерфейс может одновременно обеспечить показ в окнах пакета документов, страницу документа, текст блока документа и часть текста блока документа крупным планом, а также их атрибуты, при этом текущий символ может быть выделен, например, цветом.

[32]

Для специалистов в указанной области и других областей при ознакомлении с настоящим описанием будут ясны другие возможные модификации данного изобретения. Такие модификации могут включать другие известные по предшествующему уровню техники признаки. Описанный выше вариант не исчерпывает все их многообразие, которое можно осуществить в соответствии с нижеследующей формулой изобретения.

Как компенсировать расходы
на инновационную разработку
Похожие патенты