патент
№ RU 2373132
МПК B66B7/00

СПОСОБ ЗАМЕНЫ ТЯГОВОГО КАНАТА КАБИНЫ ЛИФТА В ШАХТЕ

Авторы:
Золкин Анатолий Алексеевич Травина Елена Григорьевна Рожков Алексей Александрович
Все (6)
Правообладатель:
Номер заявки
2008108182/11
Дата подачи заявки
04.03.2008
Опубликовано
20.11.2009
Страна
RU
Как управлять
интеллектуальной собственностью
Чертежи 
4
Реферат

Изобретение относится к области подъемных устройств. Способ замены в шахте тягового каната лифта характеризуется использованием стопорного устройства, которое выполнено с возможностью удержания противовеса на направляющей в шахте лифта. При осуществлении способа с каждой стороны верхней балки противовеса освобождают отверстия от болтов крепления верхних башмаков и монтируют стопорные устройства с возможностью закрепления противовеса на соответствующих направляющих. Стопорное устройство содержит каркас, выполненный с возможностью разъемного соединения с балкой противовеса, неподвижный упор, неподвижную колодку со скосом, клин с одним скосом и механизм перемещения клина. Противолежащие поверхности клина и неподвижного упора выполнены с возможностью контакта с соответствующими поверхностями направляющей. Изобретение направлено на повышение удобства для работы электромехаников и сокращение срока работ по замене канатов. 3 з.п. ф-лы, 4 ил.

Формула изобретения

1. Способ замены в шахте тягового каната кабины лифта, включающего кабину, имеющую ловители и установленную на первых направляющих, противовес, имеющий балку и установленный на вторых направляющих, по меньшей мере два тяговых каната, соответствующие концы которых имеют соединение с кабиной и противовесом, и канатоведущий шкив лебедки, заключающийся в том, что фиксируют положение кабины на первых направляющих ловителями, при расположении напротив кабины закрепляют противовес на вторых направляющих, демонтируют соединения концов по меньшей мере одного старого тягового канат и монтируют соединения концов по меньшей мере одного нового каната, отличающийся тем, что с каждой стороны верхней балки противовеса освобождают отверстия от болтов крепления верхних башмаков и монтируют стопорные устройства с возможностью закрепления противовеса на вторых направляющих.

2. Способ по п.1, отличающийся тем, что стопорное устройство содержит каркас, выполненный с возможностью разъемного соединения с балкой противовеса, неподвижный упор, неподвижную колодку со скосом, клин с одним скосом и механизм перемещения клина, при этом противолежащие поверхности клина и неподвижного упора выполнены с возможностью контакта с соответствующим поверхностями соответствующей направляющей.

3. Способ по п.2, отличающийся тем, что каркас стопорного устройства включает первый швеллер, между полок которого закреплена неподвижная колодка со скосом, второй швеллер, между полок которого закреплен неподвижный упор, накладку, соединяющую соответствующие одни полки первого и второго швеллеров, и основание, выполненное с возможностью крепления к балке противовеса и соединяющее соответствующие другие полки первого и второго швеллеров.

4. Способ по п.2, отличающийся тем, что механизм перемещения клина стопорного устройства включает двуплечий рычаг, первое плечо которого соединено подвижно с подвижным клином, а второе плечо которого расположено с возможностью перемещения по меньшей мере одним нажимным винтом, который установлен посредством кронштейна на накладке каркаса.

Описание

[1]

Изобретение относится к области подъемных устройств.

[2]

Известен способ замены тягового каната лифта в шахте, заключающийся в использовании настила на лифт, струбцин канатоведущего шкива, подставки под противовес, с верхним машинным помещением и балансирной подвеской, он состоит в том, что фиксируют противовес, установленный на направляющей, и фиксируют лифт на клиньях ловителей, демонтируют по меньшей мере один тяговой канат с дефектом и монтируют другой соответствующий канат /Процедура замены тяговых канатов лифта, EHS-20-052, 2002, стр.94-108/.

[3]

При реализации способа в качестве вспомогательного средства необходимо использовать неудобные для монтажа настил и подставки под противовес на нижнем этаже, а кабину необходимо установить с возможностью выхода на крышу с верхней этажной площадки.

[4]

Недостатком известного способа является то, что в процессе замены изношенного каната при пропускании нового каната в талевую систему во многих случаях происходит продольное смещение прядей каната относительно друг друга, что обусловливает потерю конструктивной плотности каната с дальнейшим его разрушением.

[5]

Задача настоящего изобретения состоит в повышении удобства для работы электромехаников и сокращении срока работ по замене канатов.

[6]

Для решения задачи предложен способ замены в шахте тягового каната кабины лифта, включающего кабину, имеющую ловители и установленную на первых направляющих, противовес, имеющий балку и установленный на вторых направляющих, по меньшей мере два тяговых каната, соответствующие концы которых имеют соединение с кабиной и противовесом, и канатоведущий шкив лебедки.

[7]

Способ заключается в том, что фиксируют положение кабины на первых направляющих ловителями, закрепляют противовес на вторых направляющих, демонтируют соединения концов по меньшей мере одного старого тягового каната и монтируют соединения концов по меньшей мере одного нового каната.

[8]

Способ характеризуется тем, что закрепляют противовес на вторых направляющих по меньшей мере одним стопорным устройством при расположении противовеса напротив кабины, а затем демонтируют и монтируют соединения соответствующих концов соответствующего каната.

[9]

Стопорное устройство содержит каркас, выполненный с возможностью разъемного соединения с балкой противовеса, неподвижный упор, неподвижную колодку со скосом, клин с одним скосом и механизм перемещения клина, при этом противолежащие поверхности клина и неподвижного упора выполнены с возможностью контакта с соответствующими поверхностями соответствующей направляющей.

[10]

Каркас стопорного устройства включает первый швеллер, между полок которого закреплена неподвижная колодка со скосом, второй швеллер, между полок которого закреплен неподвижный упор, накладку, соединяющую соответствующие одни полки первого и второго швеллеров, и основание, выполненное с возможностью крепления к балке противовеса и соединяющее соответствующие другие полки первого и второго швеллеров.

[11]

Механизм перемещения клина стопорного устройства включает двуплечий рычаг, первое плечо которого соединено подвижно с подвижным клином, а второе плечо которого расположено с возможностью перемещения по меньшей мере одним нажимным винтом, который установлен посредством кронштейна на накладке каркаса.

[12]

Изобретение поясняется чертежами.

[13]

На фиг.1 - Расположение в шахте противовеса напротив кабины.

[14]

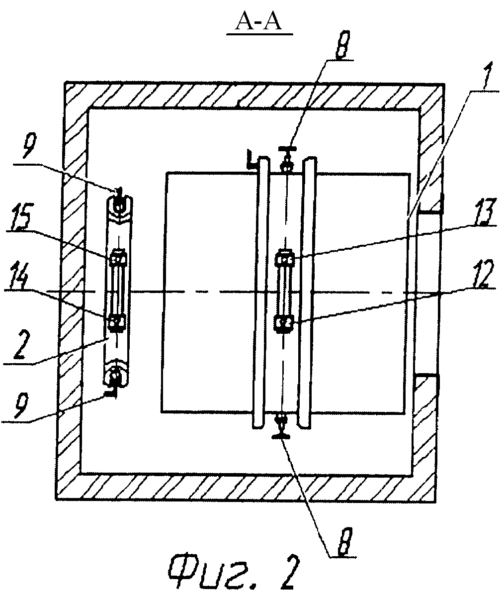
На фиг.2 - Сечение А-А на фиг.1.

[15]

На фиг.3 - Клиновое устройство на противовесе.

[16]

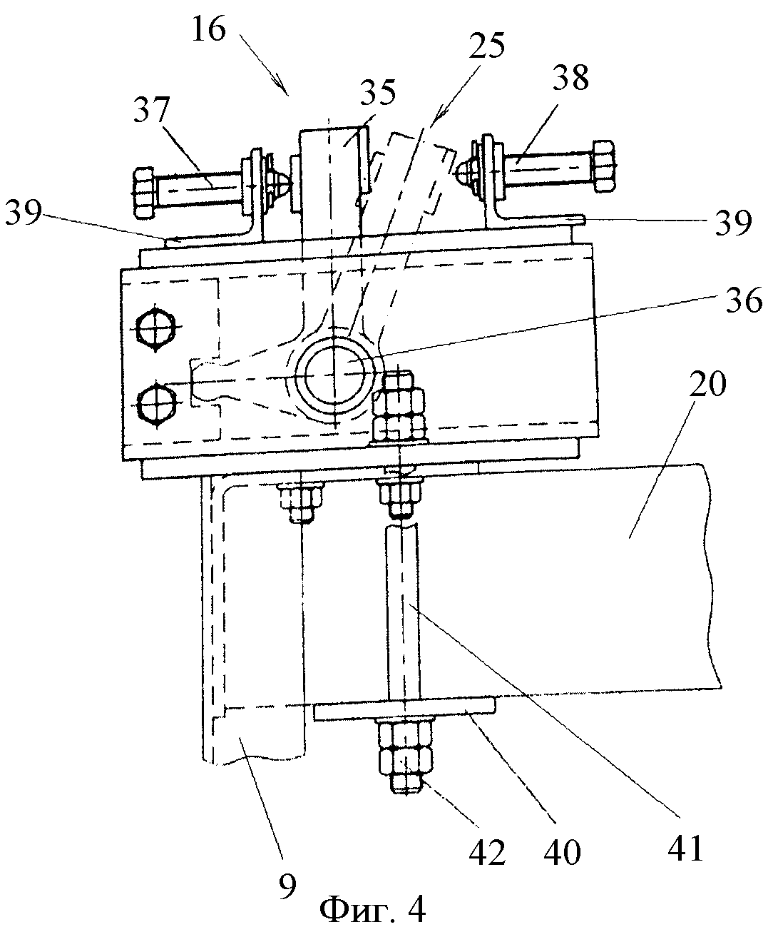
На фиг.4 - Клиновое устройство. Вид сбоку.

[17]

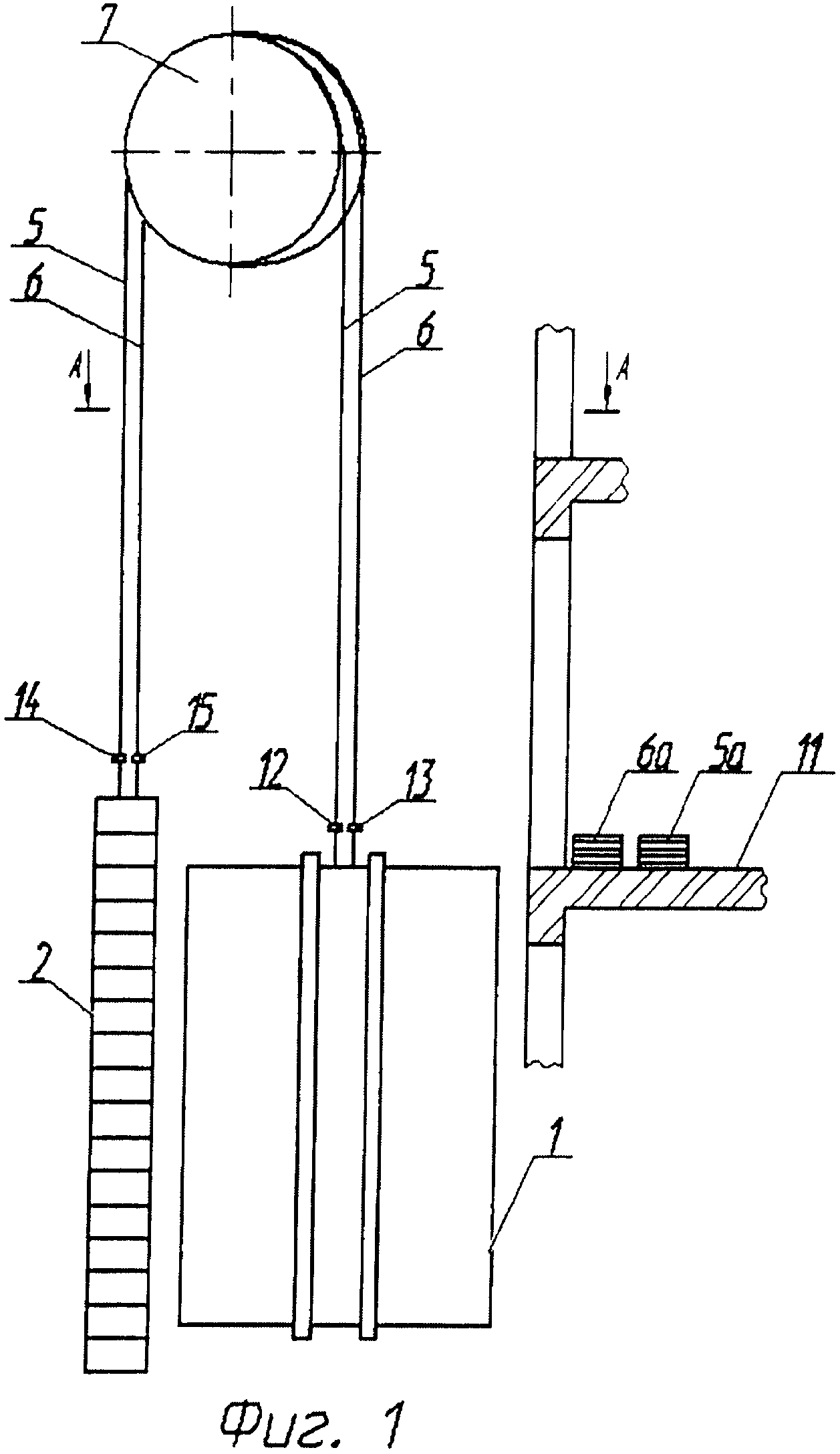
Лифт, как стационарный подъемник периодического действия, содержит (фиг.1, 2) установленные в шахте кабину 1 и противовес 2, который соединен с кабиной 1 параллельно работающими тяговыми канатами 5 и 6, установленными на канатоведущем шкиве 7 лебедки.

[18]

Подвешенная на канатах кабина 1 перемещается в проходящей через здание шахте, имеющей выход на каждой этажной площадке 11. Лебедка с канатоведущим шкивом 7 установлена в верхней части здания выше верхней этажной площадки. Равномерное натяжение канатов 5 и 6 обеспечивает балансирная подвеска кабины 1.

[19]

Кабина 1 имеет клиновые ловители системы ограничения скорости движения и установлена на первых вертикальных жестких направляющих 8.

[20]

Противовес 2 имеет скользящие башмаки, которые установлены на вторых вертикальных жестких направляющих 9.

[21]

Соответствующие концы двух тяговых канатов 5, 6 соединены зажимами 12, 13 с кабиной 1 и соответственно зажимами 14,15 с противовесом 2.

[22]

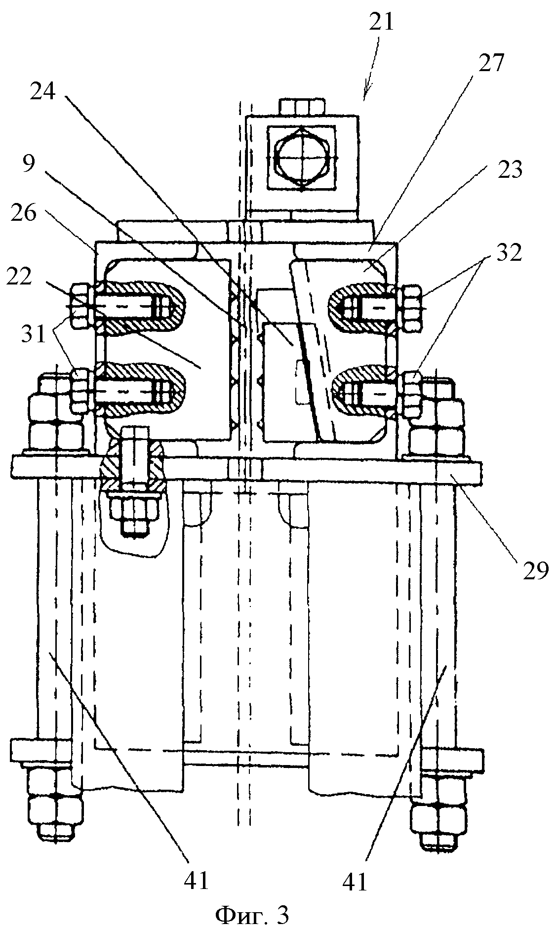
Для стопорения верхней балки 20 противовеса 2 на вторых вертикальных жестких направляющих 9 в шахте лифта предложено стопорное устройство 16, которое содержит каркас 21, неподвижный упор 22, неподвижную колодку 23 со скосом и подвижный плоский клин 24 и механизм 25 для перемещения клина 24.

[23]

Каркас 21 состоит из первого швеллера 26 и второго швеллера 27, полки которого расположены навстречу полкам первого швеллера 26 относительно продольной плоскости симметрии, а также накладки 28 и основания 29, которые соответственно соединены с противоположными полками первого швеллера 26 и второго швеллера 27.

[24]

Неподвижный упор 22 прикреплен двумя болтами 31 к стойке между полками первого швеллера 26, а неподвижная колодка 23 со скосом прикреплена двумя болтами 32 к стойке между полками второго швеллера 27.

[25]

Подвижный клин 24 выполнен в виде усеченной четырехугольной пирамиды и расположен внутри каркаса 21 между неподвижным упором 22 и неподвижной колодкой 23 со скосом с возможностью перемещения вдоль продольной плоскости симметрии каркаса 21.

[26]

Механизм 25 перемещения клина 24 состоит из двуплечего рычага 35, расположенного на оси 36, концы которой установлены в стойках соответственно первого швеллера 26 и второго швеллера 27.

[27]

Одно короткое плечо рычага 35 связано подвижно с клином 24, а другое длинное плечо расположено между нажимных винтов 37 и 38, установленных посредством кронштейнов 39 на накладке 28 над полкой второго швеллера 27.

[28]

Основание 29 выполнено в виде плиты с отверстиями для крепления к верхней балке 20 противовеса 2 посредством планки 40, шпилек 41 и гаек 42.

[29]

Способ замены двух тяговых канатов 5, 6 на два новых каната 5а,6а реализуется с использованием клинового устройства 16 следующим образом.

[30]

Размещают (фиг.2) на этажной площадке, соответствующей середине высоты шахты, два новых каната 5а, 6а, свернутых в бухту.

[31]

Устанавливают в шахте лифта противовес 2 напротив кабины 1 на середине высоты шахты с возможностью выхода с этажной площадки 11 на крышу кабины 1.

[32]

Стопорят кабину 1 на первых направляющих 8 ловителями посредством изменения положения рычага, предназначенного для взаимодействия с ограничителем скорости движения кабины лифта в шахте.

[33]

Вводят прокладки между балансирной подвеской и верхней балкой кабины 1 для удобства демонтажа зажимов 12-15 концов старых канатов 5, 6 и монтажа зажимов 12-15 на концах новых канатов 5а, 6а.

[34]

С крыши кабины 1 с каждой стороны верхней балки противовеса 2 освобождают отверстия от болтов крепления верхних башмаков и монтируют стопорные устройства 16 (фиг.4) с использованием планок 40 и шпилек 41 с гайками 42.

[35]

Вращают соответствующий нажимной винт 37, который воздействует на второе длинное плечо двуплечего рычага 35 так, что первое плечо перемещает клин, поверхность которого прижимает направляющую 9 к поверхности неподвижного упора 22, обеспечивая величину силы трения, достаточную для неподвижного соединения противовеса 2 с направляющей 9.

[36]

Демонтируют зажим 13 соединения конца старого тягового каната 6 на балансире подвески кабины 1 и зажим 15 соединения конца старого тягового каната 6 с балкой противовеса 2.

[37]

Соединяют зажимом 15 конец старого тягового каната 6 с концом нового каната 6а для его размещения на канатоведущем шкиве, а затем монтируют зажимы 12 соединения концов нового тягового каната 6а с балкой противовеса 2 и соответственно на балансире подвески кабины 1.

[38]

Соединяют зажимом 15 конец старого тягового каната 5 с концом нового каната 5а для его размещения на канатоведущем шкиве, а затем монтируют зажимы 12 соединения концов нового тягового каната 5а с балкой противовеса 2 и соответственно на балансире подвески кабины 1.

[39]

Удаляют прокладки между балансирной подвеской и верхней балкой кабины 1 и освобождают кабину 1 на первых направляющих посредством изменения положения рычага ловителей.

[40]

Кабина 1, так же как и противовес 2, готова для работы с новыми канатами 5а, 6а.

Как компенсировать расходы
на инновационную разработку
Похожие патенты