патент
№ RU 2549182
МПК G21C1/00

ЯДЕРНАЯ УСТАНОВКА И СПОСОБ ЕЕ ЭКСПЛУАТАЦИИ

Авторы:
ИОНОВ ВАЛЕРИЙ СЕРГЕЕВИЧ
Номер заявки
2013142327/07
Дата подачи заявки
17.09.2013
Опубликовано
20.04.2015
Страна
RU
Как управлять
интеллектуальной собственностью
Чертежи 
2
Реферат

Изобретение относится к ядерной энергетике в частности к энергетическим реакторам типа PWR. Энергетическая реакторная установка имеет два заменяемых горизонтально располагаемых ядерных реактора с перемещаемым отражателем. Один реактор при эксплуатации является рабочим, другой либо удаляется, либо находится в готовности к эксплуатации. Реакторы поочередно подключаются к контуру циркуляции. Активная зона каждого реактора размещается в корпусе по всей его длине. Перемещаемый отражатель нейтронов охватывает корпус рабочего реактора для обеспечения реакции деления в области энерговыработки его активной зоны и значительно короче активной зоны. В рабочем реакторе при эксплуатации возобновление запаса реактивности, теряемого в процессе выгорания топлива на участке энерговыработки активной зоны, обеспечивается перемещением отражателя на примыкающий участок активной зоны со «свежим» топливом и вовлечением «свежего» топлива в процесс деления. Теплосъем осуществляется прокачиванием теплоносителя через активную зону в корпусе работающего реактора. Технический результат - непрерывная на много лет эксплуатация установки без перегрузок. 2 н. и 2 з.п. ф-лы, 3 ил., 1 табл.

Формула изобретения

1. Ядерная установка, включающая корпус ядерного реактора с перемещаемым отражателем нейтронов, сформированную активную зону в полости корпуса ядерного реактора из средств тепловыделения, неподвижный (стационарный) и перемещаемый относительно активной зоны отражатель нейтронов, контур циркуляции теплоносителя, систему управления и защиты, отличающаяся тем, что установка снабжена, по меньшей мере, одним, дополнительным ядерным реактором, имеющим корпус, активную зону, контур циркуляции теплоносителя, перемещаемый отражатель нейтронов имеет возможность взаимодействия с активной зоной дополнительного реактора, причем контур циркуляции теплоносителя ядерной установки выполнен с возможностью подключения реактора со свежим топливом и/отключения реактора с отработавшим топливом от общего контура циркуляции теплоносителя ядерной установки с обеспечением ввода «холодного» и вывода «горячего» теплоносителя через соответствующие патрубки, расположенные совместно на торце корпуса каждого из ядерных реакторов, при этом перемещаемый отражатель установлен с возможностью охвата снаружи корпуса каждого из ядерных реакторов и с возможностью перемещения и независимого взаимодействия с активной зоной каждого из ядерных реакторов.

2. Ядерная установка по п.1, отличающаяся тем, что средством тепловыделения является ядерное топливо сформированной активной зоны, размер которой в направлении перемещения отражателя превышает размер перемещаемого отражателя.

3. Ядерная установка по п.1, отличающаяся тем, что введенные в устройство рабочие органы и приводы систем управления и защиты размещены на перемещаемом отражателе для обеспечения регулирования мощности и реактивности.

4. Способ эксплуатации ядерной установки, заключающийся в том, что в полости корпуса ядерного реактора из средств тепловыделения формируют и размещают с возможностью взаимодействия с имеющимися перемещаемым и неподвижным отражателями нейтронов активную зону, отличающийся тем, что в ядерной установке размещают, по меньшей мере, один, дополнительный ядерный реактор, активную зону каждого из ядерных реакторов формируют размером, превышающим размер перемещаемого отражателя, в направлении его перемещения, при исчерпании запаса реактивности в топливе на участке взаимодействия между перемещаемым отражателем соответствующего участка энерговыработки активной зоны, перемещаемый отражатель смещают в направлении участка топлива, не взаимодействовавшего до этого с перемещаемым отражателем, при этом энерговыработку из средств тепловыделения осуществляют за счет реакции деления топлива на нейтронах.

Описание

[1]

Изобретение относится к ядерной энергетике, в частности к энергетическим реакторам типа PWR. Предлагается техническое решение для создания и эксплуатации одной энергетической реакторной установки с двумя заменяемыми горизонтально располагаемыми ядерными реакторами с перемещаемым отражателем. Один реактор при эксплуатации является рабочим, другой либо удаляется, либо находится в готовности к эксплуатации. Реакторы поочередно подключаются к контуру циркуляции. Активная зона каждого реактора размещается в корпусе по всей его длине. Перемещаемый отражатель нейтронов охватывает корпус рабочего реактора для обеспечения реакции деления в области энерговыработки его активной зоны и значительно короче активной зоны. В рабочем реакторе при эксплуатации возобновление запаса реактивности, теряемого в процессе выгорания топлива на участке энерговыработки активной зоны, обеспечивается перемещением отражателя на примыкающий участок активной зоны со «свежим» топливом и вовлечением «свежего» топлива в процесс деления. Каждый реактор обеспечивает непрерывную на много лет эксплуатацию без перегрузок и после выработки ресурса активной зоны заменяется на новый реактор. Продолжительность кампании топлива реактора зависит от длины активной зоны. Теплосъем осуществляется прокачиванием теплоносителя через активную зону в корпусе работающего реактора.

[2]

Известно техническое решение:

[3]

RU (11) 2176826 (13) C2

[4]

(51) МПК 7 G21C 1/00

[5]

(12) ОПИСАНИЕ ИЗОБРЕТЕНИЯ К ПАТЕНТУ

[6]

Статус: по данным на 30.01.2012 - действует

[7]

(21), (22) Заявка: 98104447/06,14.08.1996

[8]

(54) ЯДЕРНЫЙ РЕАКТОР (ВАРИАНТЫ), СПОСОБ ЭКСПЛУАТАЦИИ АКТИВНОЙ ЗОНЫ ЯДЕРНОГО РЕАКТОРА (ВАРИАНТЫ) И АКТИВНАЯ ЗОНА ЯДЕРНОГО РЕАКТОРА (ВАРИАНТЫ)

[9]

(57) Реферат:

[10]

Изобретение относится к конструкциям легководных ядерных реакторов, в которых в качестве топлива применяется торий. Активные зоны ядерного реактора, содержащие запальную зону и зону воспроизводства, применяются для сжигания торцового топлива вместе с обычным реакторным топливом, включающим непролиферативный обогащенный уран, а также оружейный и реакторный плутоний. В первом варианте активная зона является полностью "непролиферативной", поскольку ни реакторное топливо, ни произведенные отходы не могут использоваться для изготовления ядерного оружия. Во втором варианте изобретения активная зона применяется для сжигания больших количеств оружейного плутония вместе с торием и обеспечивает подходящее средство, с помощью которого могут быть уничтожены накопленные запасы оружейного плутония и преобразована выделившаяся энергия в электрическую энергию. Активные зоны в обоих вариантах изобретения состоят из множества запально-воспроизводящих модулей, которые имеют центрально расположенные запальные зоны, окруженные круговыми зонами воспроизводства. Запальные зоны содержат урановые или плутониевые топливные стержни, а зоны воспроизводства содержат ториевые топливные стержни. Отношение объемов замедлителя к топливу и относительные размеры запальной зоны и зоны воспроизводства оптимизированы таким образом, чтобы ни в одном из вариантов изобретения не производились отходы, которые могут быть использованы для изготовления ядерного оружия. Для первого варианта изобретения применена также новая схема пополнения топлива для максимального увеличения утилизации топлива запальной зоны, а дополнительно при этом обеспечивается гарантия того, что отработанное ядерное топливо не сможет быть использовано для изготовления ядерного оружия.

[11]

Однако указанное решение не обеспечивает в полной мере создания энергетических ядерных установок с, по меньшей мере, двумя горизонтально располагаемыми реакторами типа PWR, для поддержания запаса реактивности, теряемого в процессе выгорания топлива на участке энерговыделения активной зоны, посредством взаимодействия отражателя нейтронов, с каждым из используемых реакторов, не обеспечены возможности удобного и бесперебойного вовлечения «свежего» топлива в процесс деления.

[12]

Также не обеспечены простота и оптимальность массогабаритных характеристик конструкции реакторной установки (энергоблока), что затрудняет транспортировку с загруженной активной зоной и оперативную замену реакторов на энергоблоке, соответственно, отсутствует возможность поочередной эксплуатации реакторов, подключаемых к контуру циркуляции, и обеспечение для не ядерной части энергоблока длительной эксплуатации вне зависимости от продолжительности кампании топлива каждого реактора.

[13]

Также известно решение:

[14]

(19) RU (11) 2006108460 (13) A

[15]

(51) МПК G21D 3/00 (2006.01)

[16]

(12) ЗАЯВКА НА ИЗОБРЕТЕНИЕ

[17]

(54) ЯДЕРНЫЙ РЕАКТОР ЭНЕРГЕТИЧЕСКОЙ УСТАНОВКИ ТЕПЛОСНАБЖЕНИЯ И СПОСОБ (ВАРИАНТЫ) АВТОРЕГУЛИРОВАНИЯ МОЩНОСТИ ЯДЕРНОЙ ЭНЕРГЕТИЧЕСКОЙ УСТАНОВКИ ТЕПЛОСНАБЖЕНИЯ

[18]

(57) Формула изобретения

[19]

1. Ядерный реактор энергетической установки теплоснабжения, включающий корпус, активную зону, теплоизолирующую обечайку, тяговую трубу, промежуточный теплообменник, органы авторегулирования реактором, при этом корпус реактора образован цилиндрической обечайкой, крышкой и днищем, снаружи к днищу приварена опора, а через крышку выведены трубы, подводящие и отводящие теплоноситель второго контура реакторной установки и теплоноситель контура потребителя, активная зона состоит из двух блоков центрального и наружного, центральный блок выполнен в виде сплошного цилиндра, состоящего из твэл, залитых в матрицу из алюминий-бериллиевого сплава, и примыкающих торцевых отражателей из алюминий-бериллиевого сплава, очехлован стальным листом снаружи и по торцам, наружный блок выполнен в виде цилиндра с внутренним отверстием, состоящего из твэл, залитых в матрицу из алюминий-бериллиевого сплава, и примыкающих торцевых и бокового отражателей из алюминий-бериллиевого сплава, очехлован стальным листом по наружной и внутренней поверхности цилиндра с внутренним отверстием и по торцам, центральный блок вставлен в наружный блок с зазором, оба блока опираются на днище через радиальные ребра, приваренные к днищу с внутренней стороны, в зазоре между центральным и наружным блоками расположены каналы регулирования, в каналах регулирования размещены органы авторегулирования реактором, выполненные с возможностью соединения с контуром потребителя, в зазоре между наружной боковой поверхностью активной зоны и внутренней поверхностью корпуса расположена теплоизолирующая обечайка, которая над активной зоной переходит в тяговую трубу, теплоизолирующая обечайка и тяговая труба выполнены многослойными со слоем тепловой изоляции внутри, в верхней части корпуса расположен промежуточный теплообменник между первым и вторым контурами охлаждения, теплообменная поверхность промежуточного теплообменника выполнена из труб, навитых в виде змеевиков, объединенных во входном и выходном коллекторах, таким образом, что входной коллектор соединен с трубой, подводящей теплоноситель второго контура, а выходной коллектор соединен с трубой, отводящей теплоноситель второго контура.

[20]

2. Реакторная установка по п.1, отличающаяся тем, что в качестве органа авторегулирования реактором использовано устройство регулирования мощности реактора по температуре теплоносителя в контуре потребителя.

[21]

3. Реакторная установка по п.2, отличающаяся тем, что в качестве устройства регулирования мощности реактора по температуре теплоносителя в контуре потребителя использован, по крайней мере, один регулятор мощности по температуре теплоносителя на входе в теплообменник потребителя.

[22]

4. Реакторная установка по п.2, отличающаяся тем, что в качестве устройства регулирования мощности реактора по температуре теплоносителя в контуре потребителя использован, по крайней мере, один регулятор мощности по температуре теплоносителя на выходе из теплообменника потребителя.

[23]

5. Реакторная установка по п.1, отличающаяся тем, что в качестве органа авторегулирования реактором использовано устройство регулирования мощности реактора по расходу теплоносителя в контуре потребителя.

[24]

6. Реакторная установка по п.1, отличающаяся тем, что в качестве топлива в твэл использован UO 2, обогащенный по изотопу U-235.

[25]

7. Реакторная установка по п.6, отличающаяся тем, что обогащение U по изотопу U-235 не превышает 20%.

[26]

8. Реакторная установка по п.1, отличающаяся тем, что доля бериллия в алюминий-бериллиевом сплаве составляет от 59 до 65%.

[27]

9. Способ авторегулирования мощности ядерной энергетической установки теплоснабжения (вариант 1), включающий выделение тепловой энергии в активной зоне реактора, передачу выделенной тепловой энергии теплоносителю в контуре потребителя и его нагрев через теплообменник потребителя, передачу тепловой энергии потребителю из контура потребителя, регулирование выделения тепловой энергии в активной зоне введением в канал регулирования различного количества поглотителя нейтронов, регулирование количества поглотителя нейтронов в канале регулирования температурным изменением объема жидкости, размещенной в емкости для жидкости вне активной зоны реактора, соединенной с каналом регулирования, отличающийся тем, что изменение температуры жидкости осуществляют в зависимости от температуры теплоносителя в контуре потребителя.

[28]

10. Способ по п.9, отличающийся тем, что изменение температуры жидкости осуществляют в зависимости от температуры теплоносителя в контуре потребителя на входе в теплообменник потребителя.

[29]

11. Способ по п.9, отличающийся тем, что изменение температуры жидкости осуществляют в зависимости от температуры теплоносителя в контуре потребителя на выходе из теплообменника потребителя.

[30]

12. Способ по п.9, отличающийся тем, что в качестве жидкости используют ртуть.

[31]

13. Способ по п.9 или 12, отличающийся тем, что в качестве поглотителя нейтронов используют кадмий, растворенный в ртути.

[32]

14. Способ по п.9, отличающийся тем, что поглотитель нейтронов используют в твердотельном состоянии.

[33]

15. Способ авторегулирования мощности ядерной энергетической установки теплоснабжения (вариант 2), включающий выделение тепловой энергии в активной зоне реактора, передачу выделенной тепловой энергии теплоносителю в контуре потребителя и его нагрев через теплообменник потребителя, передачу тепловой энергии потребителю из контура потребителя, регулирование выделения тепловой энергии в активной зоне введением в канал регулирования различного количества поглотителя нейтронов, отличающийся тем, что количество поглотителя нейтронов, вводимое в канал регулирования, изменяют в зависимости от расхода теплоносителя в контуре потребителя.

[34]

16. Способ по п.15, отличающийся тем, что в качестве поглотителя нейтронов используют кадмий, растворенный в ртути.

[35]

17. Способ по п.15, отличающийся тем, что поглотитель нейтронов используют в твердотельном состоянии.

[36]

Однако указанное решение также не обеспечивает создания энергетических ядерных установок с, по меньшей мере, двумя горизонтально располагаемыми реакторами типа PWR, для поддержания запаса реактивности, теряемого в процессе выгорания топлива на участке энерговыделения активной зоны, посредством взаимодействия отражателя нейтронов, с каждым из используемых реакторов, не обеспечены возможности удобного и бесперебойного вовлечения «свежего» топлива в процесс деления.

[37]

Также не обеспечены простота и оптимальность массогабаритных характеристик конструкции реакторной установки (энергоблока), что затрудняет транспортировку с загруженной активной зоной и оперативную замену реакторов на энергоблоке, соответственно, отсутствует возможность поочередной эксплуатации реакторов, подключаемых к контуру циркуляции и обеспечение для не ядерной части энергоблока длительной эксплуатации, вне зависимости от продолжительности кампании топлива каждого реактора.

[38]

Ближайшим техническим решением является решение согласно патенту:

[39]

(19) RU (11) 2317597 (13) C1

[40]

(51) МПК

[41]

G21C 1/04 (2006.01)

[42]

(54) ЯДЕРНЫЙ РЕАКТОР И СПОСОБ ЕГО ЭКСПЛУАТАЦИИ

[43]

(57) Реферат:

[44]

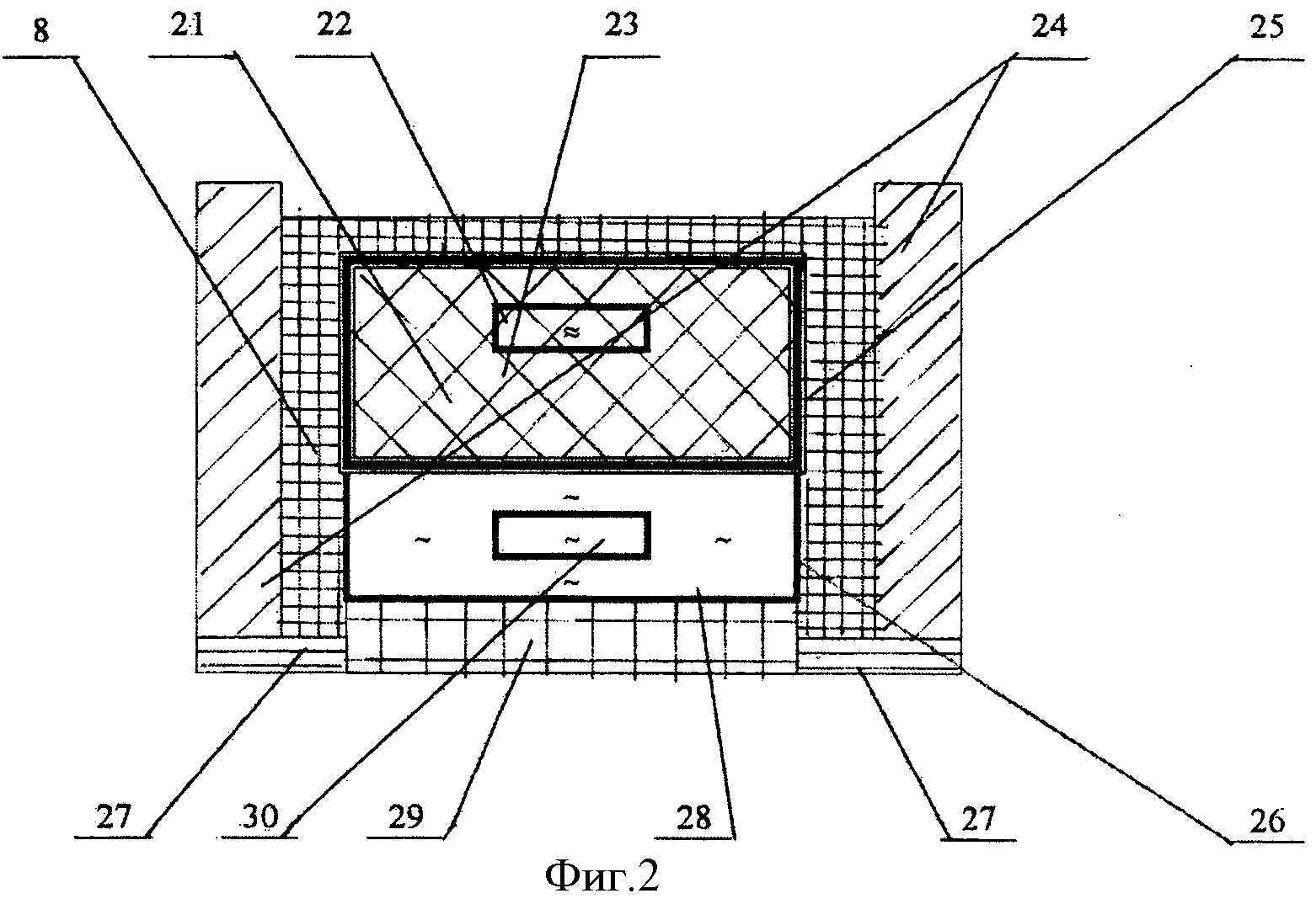
Группа изобретений относится к ядерной энергетике, в частности к реакторам с насыпной активной зоной. Ядерный реактор состоит из корпуса с размещенными внутри него боковым, нижним и верхним отражателями, насыпной активной зоной, контуром циркуляции теплоносителя, системой управления и защиты. Под активной зоной размещен теплоаккумулирующий материал с полостью, соединенной с активной зоной через отверстие в нижнем отражателе. Теплоаккумулирующий материал расположен в обечайке, закрепленной на корпусе реактора. В теплоаккумулирующем материале расположены каналы для теплоносителя. Нижний отражатель выполнен с возможностью перемещения по вертикали. Способ эксплуатации ядерного реактора заключается в том, что формируют насыпную активную зону из тепловыделяющих элементов между нижним, верхним и боковым отражателями и осуществляют циркуляцию теплоносителя снизу вверх через активную зону. При силе от потока теплоносителя, действующей на тепловыделяющие элементы, меньше силы тяжести твэлов, находящихся над отверстием в нижнем отражателе, осуществляют сброс твэлов из активной зоны через отверстие в нижнем отражателе в полость, сформированную теплоаккумулирующим материалом под активной зоной. 2 н. и 3 з.п. ф-лы, 6 ил.

[45]

Формула изобретения 2317597

[46]

1. Ядерный реактор, состоящий из корпуса с размещенными внутри него боковым, нижним и верхним отражателями, насыпной активной зоной, контуром циркуляции теплоносителя, системой управления и защиты, отличающийся тем, что под активной зоной размещен теплоаккумулирующий материал с полостью, соединенной с активной зоной через отверстие в нижнем отражателе.

[47]

2. Ядерный реактор по п.1, отличающийся тем, что теплоаккумулирующий материал расположен в обечайке, закрепленной на корпусе реактора.

[48]

3. Ядерный реактор по п.1, отличающийся тем, что в теплоаккумулирующем материале расположены каналы для теплоносителя.

[49]

4. Ядерный реактор по п.1, отличающийся тем, что нижний отражатель выполнен с возможностью перемещения по вертикали.

[50]

5. Способ эксплуатации ядерного реактора, заключающийся в том, что формируют насыпную активную зону из тепловыделяющих элементов между нижним, верхним и боковым отражателями и осуществляют циркуляцию теплоносителя снизу вверх через активную зону, отличающийся тем, что при силе от потока теплоносителя, действующей на тепловыделяющие элементы, меньше силы тяжести твэлов, находящихся над отверстием в нижнем отражателе, осуществляют сброс твэлов из активной зоны через отверстие в нижнем отражателе в полость, сформированную теплоаккумулирующим материалом под активной зоной.

[51]

Однако указанное решение не обеспечивает создания энергетических ядерных установок с, по меньшей мере, двумя горизонтально располагаемыми реакторами типа PWR, для поддержания запаса реактивности, теряемого в процессе выгорания топлива на участке энерговыделения активной зоны, посредством взаимодействия отражателя нейтронов, с каждым из используемых реакторов, не обеспечены возможности удобного и бесперебойного вовлечения «свежего» топлива в процесс деления.

[52]

Также не обеспечены простота и оптимальность массогабаритных характеристик конструкции реакторной установки (энергоблока), что затрудняет транспортировку с загруженной активной зоной и оперативную замену реакторов на энергоблоке, соответственно, отсутствует возможность поочередной эксплуатации реакторов, подключаемых к контуру циркуляции и обеспечение для не ядерной части энергоблока длительной эксплуатации, вне зависимости от продолжительности кампании топлива каждого реактора.

[53]

Техническая задача предложенного изобретения, состоит:

[54]

- в создании энергетической ядерной установки с, по меньшей мере, двумя горизонтально располагаемыми реакторами типа PWR, в которых поддержание запаса реактивности, теряемого в процессе выгорания топлива на участке энерговыделения активной зоны, обеспечивается перемещением отражателя нейтронов, расположенного вокруг корпуса одного, работающего в данное время реактора, на примыкающий участок со «свежим» топливом для вовлечения «свежего» топлива в процесс деления. Это должно упростить и облегчить конструкцию реакторов, что позволит транспортировать их с загруженной активной зоной и заменять реакторы на энергоблоке. Такая реакторная установка, используя поочередную эксплуатацию реакторов, подключаемых к контуру циркуляции, обеспечивает для не ядерной части энергоблока длительную эксплуатацию, которая не зависит от продолжительности кампании топлива каждого реактора. Физические основы в предложенном решении для обеспечения длительной эксплуатации двухреакторной ядерной установки используются ядерные реакторы, для каждого из которых сохраняются физические основы, применяемые для энергетических реакторов типа PWR.

[55]

Реализация указанного изобретательского замысла (технической задачи) позволяет получить технический результат, состоящий в следующем:

[56]

- обеспечивается возможность создания реакторной установки с двумя горизонтально расположенными ядерными реакторами, для которых в качестве регулятора мощности и средств, обеспечивающих безперегрузочную кампанию каждого реактора, является горизонтально перемещаемый отражатель нейтронов, охватывающий корпус работающего реактора,

[57]

что позволяет

[58]

создавать ядерную реакторную установку средней мощности с непрерывной многолетней эксплуатацией за счет отказа от перегрузок в течение расчетного срока эксплуатации каждого реактора и продолжительную непрерывную эксплуатацию реакторной установки за счет замены реакторов без традиционных перегрузок топлива,

[59]

обеспечивать повышенные требования ядерной безопасности,

[60]

эффективно использовать ядерное топливо

[61]

и, в частности,

[62]

обеспечивать загрузку топлива в корпуса активных зон и их комплектацию в «заводских» условиях вне площадки АЭС,

[63]

сокращать сроки строительства АЭС посредством монтажа и комплектования корпусов реактора вне площадки энергоустановки и отсутствия необходимости согласования сроков строительных работ и монтажа реактора в связи с поставкой в энергоблок скомплектованных реакторов,

[64]

продолжать эксплуатацию реакторной установки при авариях на работающем реакторе путем переноса эксплуатации на другой реактор и удаления аварийного реактора,

[65]

отказаться от движущихся элементов в активной зоне,

[66]

отказаться от использования поглотителей нейтронов и устранить потери нейтронов на торцах области энерговыделения активной зоны,

[67]

иметь текущий запас реактивности, минимально необходимый на участке энерговыработки,

[68]

иметь невысокую эффективность систем защиты и управления,

[69]

обеспечивать маневрирование мощностью при прохождении йодной ямы,

[70]

удалять перемещаемый отражатель за пределы корпуса активной зоны при нарушениях нормальной эксплуатации или длительных остановках,

[71]

исключить операции по обслуживанию свежего и отработавшего топлива в процессе эксплуатации,

[72]

отказаться от хранилищ свежего топлива,

[73]

обеспечивать повышение качества отработавшего топлива за счет его дожигания на участке «выгоревшего» топлива без извлечения из корпуса реактора в процессе эксплуатации.

[74]

исключить процедуры обслуживания топлива и доступ к свежему и отработавшему топливу,

[75]

использовать реакторное излучение на участках «выгоревшего» топлива работающих и закончивших эксплуатацию реакторах.

[76]

Технические результаты в предложенном изобретении также обеспечены вариантами компоновки реакторной установки двумя реакторами с использованием для реакторов в качестве регулятора мощности и длительности кампании перемещаемого отражателя нейтронов, инициирующего в активной зоне участок энерговыделения и располагаемого вне корпуса реактора,

[77]

что позволяет

[78]

- создавать реакторные установки средней мощности и продолжительной эксплуатации - обеспечивает эффективную и безопасную продолжительную эксплуатацию реакторной установки без традиционных перегрузок топлива в реакторах,

[79]

- эффективно использовать ядерное топливо за счет снижения потерь нейтронов при

[80]

отсутствии паразитных поглотителей в активной зоне (растворенные и/или твердые поглотители) и использования нейтронов торцевых утечек в области энерговыделения,

[81]

- обеспечивать эксплуатацию реакторной установки при необходимости отключения

[82]

работающего реактора,

[83]

а также, в частности, это обеспечивает

[84]

повышение коэффициента использования мощности реакторной установки,

[85]

снижение минимального текущего запаса реактивности в активной зоне, необходимого только на компенсацию эффектов реактивности на участке энерговыработки:

[86]

регулировку реактивности на участке энерговыработки для поддержания критического состояния в процессе эксплуатации,

[87]

удовлетворение повышенным требованиям ядерной безопасности при не высоких требованиях к эффективности защитных систем по реактивности,

[88]

уменьшение нагрузки на топливо при маневрировании,

[89]

возможность удаления перемещаемого отражателя за пределы активной зоны при нарушениях нормальной эксплуатации и длительных остановах,

[90]

упрощение конструкции активной зоны за счет отсутствия движущихся элементов в активной зоне,

[91]

снижение веса реактора и транспортировку реактора со свежей активной зоной,

[92]

отказ от специальных средств охлаждения «выгоревшего» топлива,

[93]

использование тепловыделения «выгоревшего» топлива на подогрев «холодного» теплоносителя,

[94]

повышение качества отработанного топлива в процессе эксплуатации,

[95]

отказ на атомной станции от хранилищ свежего и выгруженного топлива,

[96]

увеличение срока эксплуатации реакторной установки в целом при последовательных заменах реакторов с отработанным топливом,

[97]

длительное использование не ядерной части реакторной установки вне зависимости от времени эксплуатации каждого реактора,

[98]

возможность комплектования состава реактора, включая активную зону, вне территории атомной электростанции,

[99]

упрощение строительных конструкций энергоблока за счет горизонтального расположения реакторов и контура циркуляции,

[100]

упрощение проблемы не распространения ядерных материалов из-за отсутствия операций по обслуживанию топлива на энергоблоке.

[101]

Указанное обеспечено совокупностью существенных признаков.

[102]

Ядерная установка, включающая корпус ядерного реактора с перемещаемым отражателем нейтронов, сформированную активную зону в полости корпуса ядерного реактора из средств тепловыделения, неподвижный (стационарный) и перемещаемый относительно активной зоны отражатель нейтронов, контур циркуляции теплоносителя, систему управления и зашиты, при этом

[103]

установка снабжена, по меньшей мере, одним, дополнительным ядерным реактором, имеющим корпус, активную зону, контур циркуляции теплоносителя, перемещаемый отражатель нейтронов имеет возможность взаимодействия с активной зоной дополнительного реактора, причем контур циркуляции теплоносителя ядерной установки выполнен с возможностью подключения реактора со свежим топливом и/отключения реактора с отработавшим топливом от общего контура циркуляции теплоносителя ядерной установки с обеспечением ввода «холодного» и вывода «горячего» теплоносителя через соответствующие патрубки, расположенные совместно на торце корпуса каждого из ядерных реакторов, при этом

[104]

перемещаемый отражатель, установлен с возможностью охвата снаружи корпуса каждого из ядерных реакторов и с возможностью перемещения и независимого взаимодействия с активной зоной каждого из ядерных реакторов,

[105]

причем

[106]

- средством тепловыделения является ядерное топливо сформированной активной зоны, размер которой в направлении перемещения отражателя превышает размер перемещаемого отражателя;

[107]

- введенные в устройство рабочие органы и приводы систем управления и защиты размещены на перемещаемом отражателе для обеспечения регулирования мощности и реактивности.

[108]

Способ эксплуатации ядерной установки, заключающийся в том, что

[109]

в полости корпуса ядерного реактора из средств тепловыделения формируют и размещают с возможностью взаимодействия с имеющимися перемещаемым и неподвижным отражателями нейтронов, активную зону,

[110]

причем в ядерной установке размещают, по меньшей мере, один, дополнительный ядерный реактор, активную зону каждого из ядерных реакторов формируют размером, превышающим размер перемещаемого отражателя, в направлении его перемещения, при исчерпании запаса реактивности в топливе на участке взаимодействия между перемещаемым отражателем соответствующего участка энерговыработки активной зоны, перемещаемый отражатель смещают в направлении участка топлива, не взаимодействовавшего до этого с перемещаемым отражателем, при этом энерговыработку из средств тепловыделения осуществляют за счет реакции деления топлива на нейтронах.

[111]

Предложение поясняется графически на фиг.1, фиг.2 и фиг.3.

[112]

Фиг.1. Ядерная установка. Вид сверху. Принципиальная схема размещения зон основного оборудования реакторной установки с общим контуром циркуляции и средствами переключения для горячих и холодных ниток.

[113]

Фиг.2. Ядерная установка. Поперечное сечение работающего реактора в месте размещения перемещаемого отражателя. Принципиальная схема размещения оборудования перемещаемого отражателя, размещенного на участке энерговыделения при параллельном движении теплоносителя и перемещаемого отражателя, сечения активной зоны и корпуса реактора условно показаны прямоугольными.

[114]

Фиг.3 - схема на фиг.1 (увеличено, схема без разрезов).

[115]

На фиг.1, 2, 3 позициями обозначены

[116]

1 - холодная петля отключенного реактора,

[117]

2 - горячая петля отключенного реактора,

[118]

3 - патрубок холодной петли отключенного реактора,

[119]

4 - активная зона отключенного реактора,

[120]

5 - стартовые участки активной зоны,

[121]

6 - главный циркуляционный насос,

[122]

7 - участок отработанного топлива работающего реактора,

[123]

8 - перемещаемый отражатель,

[124]

9 - участок свежего топлива работающего реактора,

[125]

10 - патрубок холодного теплоносителя работающего реактора,

[126]

11, 12 - холодный теплоноситель работающего реактора,

[127]

13 - патрубок горячего теплоносителя работающего реактора,

[128]

14 - горячий теплоноситель работающего реактора,

[129]

15 - теплообменник,

[130]

16 - области распределения холодного теплоносителя для активной зоны,

[131]

17 - паропровод второго контура,

[132]

18 - горячая петля отключенного реактора,

[133]

19 - патрубок горячего теплоносителя отключенного реактора.

[134]

20 - средства подключения горячей и холодной петель,

[135]

21 - участок энерговыделения активной зоны,

[136]

22 - уровень горячего патрубка,

[137]

23 - область течения теплоносителя в активной зоне,

[138]

24 - область систем управления и зашиты на перемещаемо отражателе,

[139]

25 - периметр активной зоны,

[140]

26 - корпусы реакторов,

[141]

27 - область средств перемещения отражателя,

[142]

28 - область прокачки холодного теплоносителя,

[143]

29 - нижний отражатель,

[144]

30 - уровень патрубка холодного теплоносителя.

[145]

Техническое исполнение реакторов.

[146]

Двухреакторная установка. (Фиг.1, 2, 3) комплектуется из двух ядерных реакторов. Каждый реактор содержит: активную зону (4, 5, 7, 9), патрубки для ввода «холодного» (3, 10) и вывода «горячего» теплоносителя (13, 19). Реакторы устанавливаются на стационарном нижнем отражателе (29) и обращены один к другому торцевыми стенками, которые не имеют патрубков для теплоносителя. Реакторы независимы по управлению и теплообмену и могут монтироваться на рабочем месте автономно.

[147]

Перемещаемый отражатель (8) размещается на работающем реакторе и имеет возможность смещаться горизонтально вдоль обоих реакторов с возможностью размещения на каждом из реакторов, или может быть штатным для каждого реактора. В рабочем режиме перемещаемый отражатель (8) движется вдоль работающего реактора (правый реактор).

[148]

На месте второго реактора (Фиг.1 - отключенный (левый) реактор) ведутся работы по удалению реактора с «выгоревшим» топливом, установке нового реактора или ремонтные работы.

[149]

Участки со «свежим» и «выгоревшим» топливом должны быть подкритичны без перемещаемого отражателя.

[150]

Перемещаемый отражатель (8) содержит на внутренних стенках отражающие материалы, а снаружи размещаются средства систем управления и защиты, включая рабочие органы (РО СУЗ) (24). Эффективность перемещаемых отражателей (отражателя) должна быть достаточной для выведения в критическое состояние и поддержания реакции деления в области энерговыработки.

[151]

Эффективность по реактивности РО СУЗ перемещаемого отражателя должна превышать максимальное значение запаса реактивности, необходимого для энерговыработки, после каждого перемещения, с учетом запасов, необходимых для удовлетворения требований ядерной безопасности.

[152]

Системы перемещения отражателей (27) (на фиг. подробно не показаны).

[153]

Вариантами их конструкции могут быть шаговые реечная или храповиковая система. Приводы отражателей удалены от участков энерговыделения.

[154]

Рабочие органы систем управления и аварийной защиты (РО СУЗ и РО АЗ), их приводы располагаются в перемещаемом отражателе (8) и на конструкции перемещаемого отражателя.

[155]

Дожигатели - перемещаемые отражатели-дожигатели (на фиг. не показаны), предназначены для «дожигания» топлива на участке (отработанного («выгоревшего») топлива (7). Для отражателей-дожигателей обеспечивается автономный режим перемещения.

[156]

Деотражатели - перемещаемые поглотители или стимуляторы утечки (на фиг. не показаны) предлагаются как средство для защиты от избыточной критичности для участка «свежего» топлива и/или ограничения области деления на любом участке активной зоны.

[157]

Деотражатели должны иметь отрицательную эффективность в рабочем положении.

[158]

Величина (шаг) перемещения отражателя определяется необходимым запасом реактивности для энерговыработки, шириной и эффективностью отражателя. Необходимый запас реактивности, распределения энерговыделения и текущей глубины выгорания в области энерговыделения, достигаемые перед перемещением отражателя, оцениваются при нейтронно-физических расчетах. Ширина перемещаемого отражателя определяет его эффективность по реактивности и ядерной безопасности.

[159]

Отработанное топливо содержится на участках отработанного топлива до окончания эксплуатации работающего реактора. Глубина «выгорания» топлива оценивается с учетом эффективности дожигания топлива на участке отработанного топлива. Реакторы с отработанным топливом хранятся в течение срока, определяемого проектом атомной стации и фактическим состоянием активной зоны.

[160]

Контур циркуляции реакторной установки включает участки (Фиг.1, 2 и 3):

[161]

(1, 2, 3, 6, 10, 11, 12, 13, 14, 15, 17, 18, 19) и комплектуется из набора оборудования контуров циркуляции реакторов типа PWR. Контур циркуляции может иметь общее оборудование для циркуляции теплоносителя двух реакторов, как показано на фиг.1, и комплектуется узлами трубопроводов, необходимыми для подключения-отключения двух реакторов к циркуляционному насосу (6) и теплообменнику (15). Контуры циркуляции могут быть автономными для каждого реактора с подключениями к общему паропроводу второго контура (на фиг.1 и 3 не показаны). Теплоноситель контура циркуляции вводится и выводится через патрубки (10, 13) на торцах корпуса работающего реактора.

[162]

В корпусе реактора организуется прокачивание холодного и горячего теплоносителя. Параллельное движение отражателя и теплоносителя обеспечивает предварительный подогрев холодного теплоносителя за счет тепловыделения отработавшего топлива от участка распределения холодного теплоносителя в корпусе реактора до перемещаемого отражателя (7), нагревание теплоносителя в области перемещаемого отражателя (8) и охлаждение теплоносителя на участке свежего топлива (9). Встречное движение отражателя и теплоносителя обеспечивает нагревание теплоносителя в области перемещаемого отражателя (8) и дополнительный подогрев теплоносителя на участке отработанного топлива (7).

[163]

Топливо. Компоновка активной зоны возможна в виде блоков твэлов, например, типа ВВЭР. Размер, расположение и количество блоков должны определяться длительностью кампании и технологией загрузки и разгрузки активной зоны. Оценочные расчеты длительности эксплуатации топлива и мощности реактора проведены на основе характеристик топлива типа ВВЭР-1000 (см. таблицу).

[164]

Ядерная безопасность

[165]

Реакторы обладают свойствами для соответствия требованиям регламентирующих документов по ядерной безопасности.

[166]

Нормальная эксплуатация. Ядерная безопасность при нормальной эксплуатации обеспечивается за счет низкого текущего запаса реактивности в области энерговыделения.

[167]

На участках «свежего» топлива (9) в активной зоне, перед отражателем, процесс деления топлива должен быть невозможен. Для повышения безопасности возможно внесение покрытий из поглотителей на корпуса реактора, контроль подкритичности или применение деотражателей.

[168]

На участках «отработанного» топлива в активной зоне не допускается локальной критичности при использовании отражателей-дожигателей.

[169]

Тяжелые аварии. Специфические исходные события.

[170]

Течи или разрывы корпуса реактора.

[171]

Течи или разрывы трубопроводов контура циркуляции.

[172]

Повреждение топлива активной зоны.

[173]

Недостаточная эффективность или несрабатывание систем безопасности.

[174]

Нарушения инженерных и строительных конструкций энергоблока.

[175]

Затопление реакторов.

[176]

Во всех режимах эксплуатации и при тяжелых авариях топливо недоступно.

[177]

Нарушения нормальной эксплуатации.

[178]

Несанкционированное движение перемещаемых отражателей.

[179]

Несанкционированное размещение перемещаемых отражателей.

[180]

Отказ систем перемещения перемещаемых отражателей.

[181]

Заклинивание (застревание) отражателей при перемещениях.

[182]

Повторная критичность при потере мощности энерговыделения и/или при снижении температуры теплоносителя в области энерговыделения.

[183]

Неадекватный расход через область энерговыделения на мощности.

[184]

Компенсируемые течи из корпуса активной зоны и контура циркуляции.

[185]

Кипение или запаривание в корпусе реактора.

[186]

Заклинивание в отражателе рабочих органов систем управления и защиты.

[187]

Тепловые и гидравлические удары в корпусе реактора или контуре циркуляции.

[188]

Неадекватное распределение теплосъема на участке энерговыделения и/или в активной зоне.

[189]

Нарушение отвода избыточного тепловыделения от оборудования реактора.

[190]

Не соблюдение требований эксплуатационной документации при отключении или подключении реакторов.

[191]

Системы управления и защиты (24)

[192]

Системы нормальной эксплуатации.

[193]

Системы безопасности и аварийной защиты.

[194]

Подавление реактивности впрыском жидкого поглотителя.

[195]

Предупреждение повышения или понижения давления теплоносителя в контуре циркуляции.

[196]

Предупреждение кипения теплоносителя в области энерговыделения.

[197]

Помехи движению перемещаемых отражателей или РО СУЗ.

[198]

Аварийная защита

[199]

Рабочие органы аварийной защиты (РО АЗ) располагаются в отражателе, их срабатывание и эффективность регламентируются правилами ядерной безопасности.

[200]

Защита при стоянках

[201]

Покрытие корпуса реактора средствами, поглощающими нейтроны.

[202]

Вывод перемещаемых отражателей за границы активной зоны.

[203]

Ввод деотражателей на участок со «свежим» топливом (9).

[204]

Особенности технических исполнений

[205]

Комплектация реакторной установки двумя корпусами реакторов, располагаемых горизонтально (Фиг.1).

[206]

Не ограниченная по сроку и непрерывная эксплуатация реакторной установки.

[207]

Использование перемещаемых отражателей (8), располагаемых вне корпуса реактора (26) для регулирования энерговыработки и обеспечения безопасности.

[208]

Доступ к средствам области систем управления и защиты (24) на перемещаемом отражателе, вне корпуса реактора (26).

[209]

Использование избыточного тепла при охлаждении оборудования реакторов.

[210]

Реакторы со свежей и выгоревшей активными зонами подкритичны при отсутствии перемещаемых отражателей и могут обрабатываться автономно (хранение, теплосъем, загрузка-разгрузка, обслуживание) вне площадей энерговыработки.

[211]

Комплектация и строительные конструкции реакторной установки не меняются при замене реактора.

[212]

Сроки строительства энергоблока не зависят от сроков монтажа реакторов.

[213]

Комплектация каждого реакторов индивидуальными перемещаемыми отражателями и отдельными контурами циркуляции позволяет не ограничивать состав реакторной установки двумя реакторами.

[214]

Описание работы предложенного технического решения.

[215]

Начало эксплуатации для работающего реактора.

[216]

В готовности находится рабочий реактор (Фиг.1 и 3 правый реактор). Перед началом эксплуатации перемещаемый отражатель (8) размещается над стартовым участком активной зоны (5). Для начала энерговыделения перемещаемый отражатель сдвигается в сторону «свежего» топлива (9).

[217]

Режим энерговыработки работающего реактора осуществляется при неподвижном отражателе в области энерговыделения активной зоны под перемещаемым отражателем (8). Запас реактивности, достигнутый при перемещении отражателя в новое положение, последовательно расходуется на участке энерговыработки.

[218]

Возобновление запаса реактивности на участке энерговыработки производится перемещением отражателя (8) на участок «свежего» топлива (9).

[219]

Разгрузка мощности допускается как средство безопасности при нарушениях нормальной безопасности и при стояночных состояниях смещением рабочего отражателя на участок отработанного топлива (7) и/или ввод деотражателей на участок «свежего» топлива.

[220]

Долговременная остановка. Безопасность обеспечивается введением рабочих органов систем управления и/или смещение отражателя «назад» - на участок отработанного топлива (7) или за пределы корпуса реактора.

[221]

Дожигание на участке отработанного топлива (7) возможно при вводе отражателей-дожигателей на область (участок) отработанного топлива.

[222]

Эксплуатация работающего реактора с отработанным топливом после отключения от реакторной установки при разгрузках мощности или в стояночных режимах (на остаточном энерговыделении) обеспечивается циркуляцией теплоносителя через корпус реактора с целью снятия остаточного энерговыдления отработавшего топлива (7).

[223]

Переключение эксплуатации на соседний реактор.

[224]

Когда в процессе эксплуатации «рабочего» реактора (Фиг.1 правый реактор) все топливо в его активной зоне выработало свой ресурс и перемещаемый отражатель (8) достиг конца активной зоны, перемещаемый отражатель (8) смещается за корпус реактора и «рабочий» (правый) реактор отсекается (средствами 20) по холодному и горячему теплоносителю от контура циркуляции (10, 13). Если к этому времени соседний реактор (Фиг.1, 3 левый реактор) заменен на реактор со «свежим» топливом, то этот реактор подключается к контуру циркуляции (3, 9), и перемещаемый отражатель перемещается на этот реактор. Остановленный реактор удаляется в хранилище реакторов с отработанным топливом. Новый реактор со свежим топливом устанавливается на место удаленного и находится в ожидании подключения к эксплуатации.

[225]

Срок эксплуатации реакторной установки является суммой сроков эксплуатации всех реакторов с отработанным топливом.

[226]

Загрузка топлива и замена реакторов. Загрузка топлива в корпуса реакторов на весь срок эксплуатации каждого реактора проводятся вне энергоблока («заводская загрузка»).

[227]

- Установка корпуса реактора со «свежим» топливом осуществляется в процессе эксплуатации работающего реактора.

[228]

- Удаление корпусов реакторов с отработанным топливом с реакторной установки проводится после выдержки до снижения активности и энерговыделения.

[229]

- Подключение реактора со «свежим» топливом проводится после отключения реактора с отработанным топливом от контура циркуляции и подключения к удаляемому реактору средств охлаждения.

[230]

ПРИМЕР

[231]

Параметры одного реактора с горизонтальным перемещаемым отражателем для реакторной установки, выполненной из двух сменных горизонтальных реакторов, исходные данные: критический объем (горячий на мощности) - 1.3 м3; годовое потребление топлива - 20 т; удельная мощность - 100 МВт/м3; ширина отражателя - 1 м; сечение активной зоны - квадрат со стороной E[м].

[232]

Таблица
ДЛИНА АКТИВНОЙ ЗОНЫ
Срок Эксплуатации [лет]Е[м]
1.01.52.02.53.0
513.86.13.52.31.6
1026.311.76.64.23.0
2051.323.012.88.25.7
3076.334.019.112.28.5
Мощность[МВт]100225400625900

Как компенсировать расходы
на инновационную разработку
Похожие патенты