патент
№ RU 2686411
МПК B25B27/18

СЪЕМНИК

Авторы:
Вафин Ильдус Закеевич
Номер заявки
2018114346
Дата подачи заявки
18.04.2018
Опубликовано
25.04.2019
Страна
RU
Как управлять
интеллектуальной собственностью
Чертежи 
1
Реферат

Изобретение относится к нефтепромысловому оборудованию, в частности к съемнику для извлечения полой детали с оборванной резьбовой частью. Съемник содержит втулку, выполненную со сплошной цилиндрической поверхностью на наружной боковой стенке, при этом на коническом участке тяги просверлены четыре глухих отверстия, в каждое из которых запрессован одним концом отдельный штифт. Причем втулка имеет четыре элемента зацепления, которые выполнены в виде плашек для сцепления с внутренней стенкой извлекаемой детали, каждая из которых выполнена с конической, расширенной в сторону конического участка тяги, поверхностью на внутренней стенке. Каждая плашка установлена между двумя рядом расположенными упомянутыми штифтами, причем на наружной стенке плашек выполнен поперечный паз, в который установлено незамкнутое кольцо из пружинной проволоки, прижимающее плашки к тяге. Технический результат заключается в расширении технических возможностей и упрощении конструкции устройства. 3 ил.

Формула изобретения

Съемник для извлечения полой детали с оборванной резьбовой частью, содержащий втулку, выполненную с соосно расположенной цилиндрической выборкой, и снабженную элементами зацепления тягу, имеющую на одном конце наружную резьбу с гайкой и двумя лысками под ключ, а на другом конце - конический участок, расположенный напротив цилиндрической выборки втулки, при этом тяга выполнена с возможностью осевого перемещения внутри втулки, отличающийся тем, что втулка выполнена со сплошной цилиндрической поверхностью на наружной боковой стенке, при этом на коническом участке тяги просверлены четыре глухих отверстия, в каждое из которых запрессован одним концом отдельный штифт, причем втулка имеет четыре элемента зацепления, которые выполнены в виде плашек для сцепления с внутренней стенкой извлекаемой детали, каждая из которых выполнена с конической, расширенной в сторону конического участка тяги, поверхностью на внутренней стенке, причем каждая плашка установлена между двумя рядом расположенными упомянутыми штифтами, причем на наружной стенке плашек выполнен поперечный паз, в который установлено незамкнутое кольцо из пружинной проволоки, прижимающее плашки к тяге.

Описание

[1]

Изобретение относится к нефтепромысловому оборудованию, в частности к ручному инструменту, и может быть использовано при ремонте оборудования нефтяных и газовых скважин, например, для извлечения оборванной резьбовой части патрубка из планшайбы.

[2]

Известен съемник для извлечения резьбовых элементов (Патент SU 1184661, МПК В25В 27/067, опубл. 15.10.1985, Бюл. №38), содержащий стержень с резьбовым отверстием на конце и установленный на нем с возможностью перемещения груз, при этом стержень выполнен со сквозным продольным пазом и дополнительным резьбовым отверстием на свободном конце, а съемник снабжен фиксатором положения груза в пазу. Известный съемник позволяет извлекать только резьбовые неполые элементы с наружной резьбой, такие как - болт и шпилька.

[3]

Также известен съемник (А. свид. SU 1269987 В25В 27/00, опубл. 15.11.1986), содержащий коаксиально установленные втулку, выполненную в виде цанги, на лепестках которой расположены зубья, и тягу, снабженную коническим наконечником. Тяга имеет возможность осевого перемещения внутри цанги. Цанга внутренней поверхностью лепестков взаимодействует с коническим наконечником. В такой конструкции захват извлекаемой детали осуществляется внедрением в нее зубьев лепестков цанги и при извлечении деталей вращением цанги может произойти разрушение лепестков.

[4]

Наиболее близким к предлагаемому является съемник (Патент RU 99740, МПК В25В 27/00, опубл. 27.11.2010, Бюл. №33), содержащий втулку, выполненную с соосно расположенной цилиндрической выборкой, и снабженную элементами зацепления, тягу, имеющую на одном конце наружную резьбу с гайкой и двумя лысками под ключ, а на другом конце - конический участок, расположенный напротив цилиндрической выборки втулки, при этом тяга выполнена с возможностью осевого перемещения внутри втулки.

[5]

Недостаток прототипа состоит в том, что он не обеспечивает извлечение из резьбовой выборки полого элемента с наружной резьбой, так как элементы зацепления выполнены в нем в виде бойков. Бойки установлены на втулке радиально и имеют малую площадь контакта со стенкой извлекаемого элемента. При повороте съемника бойки скользят по стенке извлекаемого элемента. При сильном прижатии бойков к стенке, они деформируют стенку и резьбу этого элемента, препятствуя извлечению полого элемента с наружной резьбой. Также прототип имеет сложную конструкцию из-за наличия в тяге продольного паза и втулки сложной формы. Наружная боковая стенка втулки выполнена четырехступенчатой и в этой втулке выполнены радиальные отверстия для бойков, выполнено резьбовое отверстие для штифта, на одном конце наружной боковой стенки имеется выступ с продольными сквозными отверстиями, а на другом конце - нарезана резьба.

[6]

Технической задачей изобретения является расширение технических возможностей и упрощение конструкции.

[7]

Поставленная задача решается тем, что в съемнике, содержащем втулку, выполненную с соосно расположенной цилиндрической выборкой, и снабженную элементами зацепления, тягу, имеющую на одном конце наружную резьбу с гайкой и двумя лысками под ключ, а на другом конце -конический участок, расположенный напротив цилиндрической выборки втулки, при этом тяга выполнена с возможностью осевого перемещения внутри втулки, новым является то, что втулка выполнена со сплошной цилиндрической поверхностью на наружной боковой стенке, при этом на коническом участке тяги просверлены четыре глухих отверстия, которые в поперечном сечении тяги расположены под прямым углом друг от друга, причем в каждое глухое отверстие тяги запрессован одним концом отдельный штифт, причем элементы зацепления выполнены в количестве четырех штук и в виде плашек, каждая из которых выполнена с конической, расширяющейся в сторону конического участка тяги, поверхностью на внутренней стенке, причем каждая плашка установлена между двумя рядом расположенными штифтами, причем на наружной стенке плашек выполнен поперечный паз, причем в эти пазы установлено незамкнутое кольцо из пружинной проволоки, прижимающее плашки к тяге.

[8]

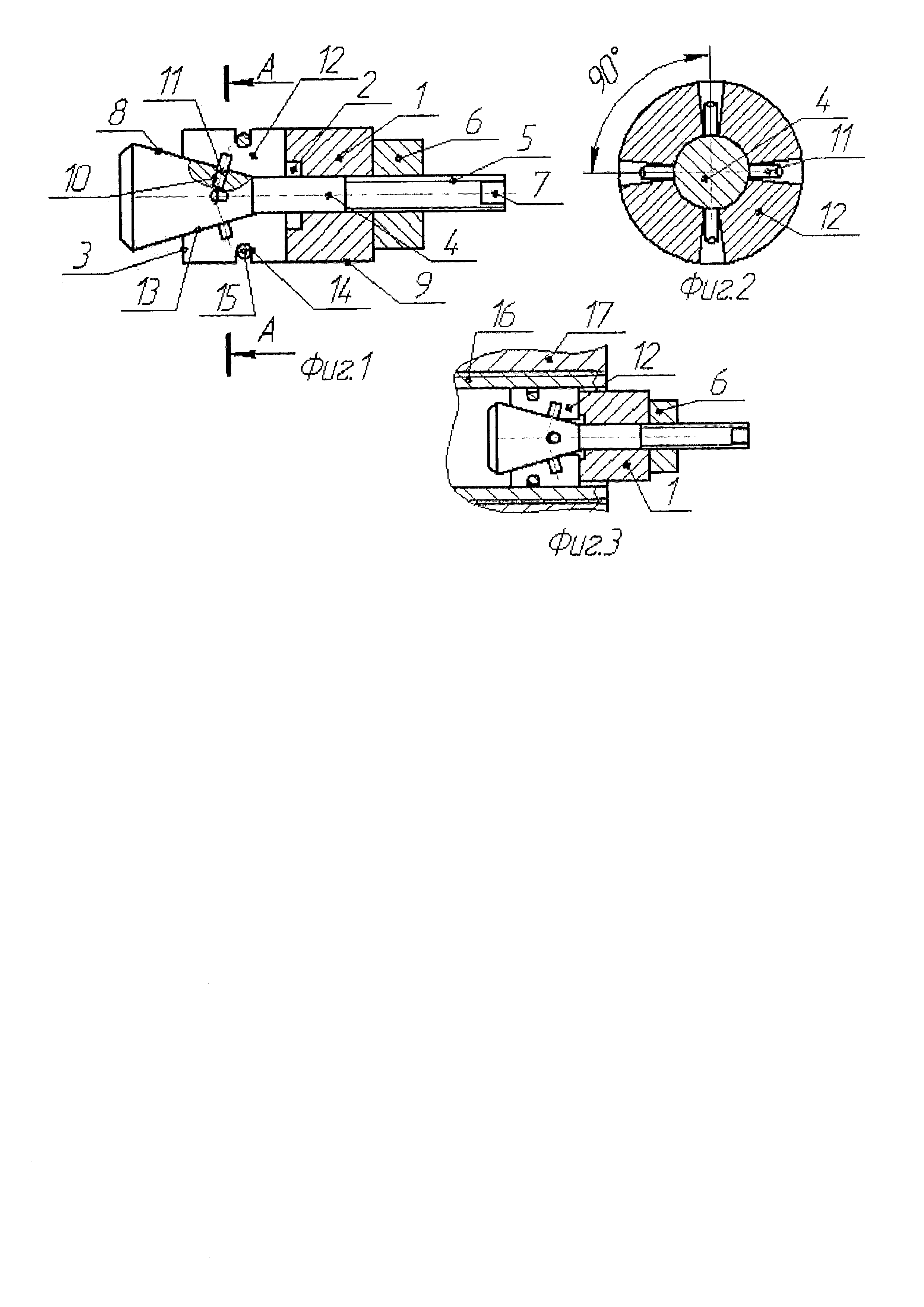
На фиг. 1 изображен предлагаемый съемник в разрезе; на фиг. 2 - разрез А-А фиг. 1; на фиг. 3 - вид на съемник, поясняющий принцип его работы.

[9]

Съемник для извлечения полой детали с оборванной резьбовой частью, содержит втулку 1, выполненную с соосно расположенной цилиндрической выборкой 2, и снабженную элементами зацепления 3, тягу 4, имеющую на одном конце наружную резьбу 5 с гайкой 6 и двумя лысками 7 под ключ, а на другом конце - конический участок 8, расположенный напротив цилиндрической выборки 2 втулки 1. При этом тяга 4 выполнена с возможностью осевого перемещения внутри втулки 1. Втулка 1 выполнена со сплошной цилиндрической поверхностью на наружной боковой стенке 9. На коническом участке 8 тяги 4 просверлены четыре глухих отверстия 10, которые в поперечном сечении тяги расположены под прямым углом друг от друга. В каждое глухое отверстие 10 тяги запрессован одним концом отдельный штифт 11. Элементы зацепления 3 выполнены в количестве четырех штук и в виде плашек 12, каждая из которых выполнена с конической, расширяющейся в сторону конического участка 8 тяги 4, поверхностью 13 на внутренней стенке. Каждая плашка 12 установлена между двумя рядом расположенными штифтами 11. На наружной стенке плашек 12 выполнен поперечный паз 14. В эти пазы установлено незамкнутое кольцо 15 из пружинной проволоки, прижимающее плашки к тяге 4, и удерживающее таким образом плашки в устройстве. Благодаря штифтам 11 плашки 12 располагаются на тяге 4 на одинаковых расстояниях друг от друга.

[10]

Съемником для извлечения полой детали с оборванной резьбовой частью пользуются следующим образом. В исходном положении устройства плашки 12 незамкнутым кольцом 15 прижаты к тяге 4 и расстояние между наружными стенками двух, расположенных друг против друга плашек, минимальное. В таком положении левую часть съемника вводят во внутреннюю полость извлекаемой детали 16, например, оборванной резьбовой части патрубка планшайбы 17 нефтяной скважины. Затем, удерживая тягу 4 за лыски 7 гаечным ключом, вращением гайки 6 производится перемещение втулки 1 влево относительно тяги 4. При этом втулка 1 перемещает влево плашки 12. Эти плашки коническими поверхностями 13 взаимодействуют с коническим участком 8 тяги 4 и перемещаются от тяги в радиальном направлении. Из-за этого расстояние между наружными стенками двух, расположенных друг против друга плашек 12 увеличивается и плашки фиксируют съемник внутри извлекаемой детали 16. Далее за лыски 7 тяги 4 гаечным ключом поворачивают съемник против часовой стрелки. При этом, связанная с плашками 12, извлекаемая деталь 16 откручивается и выходит из резьбовой выборки базовой детали, например, планшайбы 17.

[11]

В предложенном съемнике для извлечения полой детали с оборванной резьбовой частью элементы зацепления выполнены в виде плашек. Они, благодаря значительной площади их наружных стенок, надежно сцепляются с внутренней стенкой извлекаемой детали. Это позволяет извлекать вращением съемника из резьбовой выборки полую деталь с наружной резьбой. Из-за этого расширяются технические возможности предложенного съемника. В прототипе в тяге имеется продольный паз, а втулка имеет сложную форму с четырехступенчатой наружной боковой стенкой. В предложенном устройстве в тяге отсутствует продольный паз, а втулка выполнена с гладкой наружной боковой стенкой. Поэтому по сравнению с прототипом упрощается конструкция предложенного устройства.

[12]

Перечень использованной информации

[13]

Патент SU 1184661, МПК В25В 27/067, опубл. 15.10.1985, Бюл. №38

[14]

А. свид. SU 1269987 В25В 27/00, опубл. 15.11.1986

[15]

Патент RU 99740, МПК В25В 27/00, опубл. 27.11.2010, Бюл. №33

Как компенсировать расходы
на инновационную разработку
Похожие патенты