патент
№ RU 2690217
МПК H03B15/00

СПИНТРОННОЕ УСТРОЙСТВО ГЕНЕРИРОВАНИЯ СВЕРХВЫСОКОЧАСТОТНЫХ КОЛЕБАНИЙ

Авторы:
Капранов Михаил Владимирович Удалов Николай Николаевич Митрофанов Александр Александрович
Все (4)
Номер заявки
2018118058
Дата подачи заявки
16.05.2018
Опубликовано
31.05.2019
Страна
RU
Как управлять
интеллектуальной собственностью
Чертежи 
2
Реферат

Изобретение относится к устройствам генерирования и формирования СВЧ радиосигналов. Технический результат - увеличение мощности и стабильности выходных колебаний. Для этого в устройство генерирования СВЧ колебаний, содержащее спин-трансферный генератор 1, состоящий из последовательно закрепленных друг на друге первого электрода 11, адгезионного слоя 12, антиферромагнитного слоя 13, первого ферромагнитного слоя 14, изолирующего слоя 15, второго ферромагнитного слоя 16, промежуточного слоя 17, свободного слоя 18 и второго электрода 19, введены усилитель мощности 2, мост 3, первый делитель частоты 4, фазовый детектор 5, фильтр 6, источник тока 7, опорный кварцевый генератор 8 и второй делитель частоты 9. При этом спин-трансферный генератор 1 через последовательно соединенные усилитель мощности 2, мост 3 и первый делитель частоты 4 подключен к фазовому детектору 5. К фазовому детектору 5 через второй делитель частоты 9 подключен опорный кварцевый генератор 8. При этом выход фазового детектора 5 через последовательно подключенные фильтр 6 и источник тока 7 подключен к спин-трансферному генератору 1. 2 з.п. ф-лы, 4 ил.

Формула изобретения

1. Устройство генерирования СВЧ колебаний, содержащее спин-трансферный генератор, состоящий из последовательно закрепленных друг на друге первого электрода, адгезионного слоя, антиферромагнитного слоя, первого ферромагнитного слоя, изолирующего слоя, второго ферромагнитного слоя, промежуточного слоя, свободного слоя и второго электрода, отличающееся тем, что в устройство введены усилитель мощности, мост, первый делитель частоты, фазовый детектор, фильтр низких частот, источник тока, опорный кварцевый генератор и второй делитель частоты, при этом спин-трансферный генератор через последовательно соединенные усилитель мощности, мост и первый делитель частоты подключен к фазовому детектору, к которому через второй делитель частоты подключен опорный кварцевый генератор, при этом выход фазового детектора через последовательно подключенные фильтр низких частот и источник тока подключен к спин-трансферному генератору.

2. Устройство по п. 1, отличающееся тем, что в качестве источника тока используют прецизионный источник тока с малым шагом перестройки.

3. Устройство по п. 1, отличающееся тем, что перестроечная характеристика источника тока соответствует нелинейной регулировочной характеристике спин-трансферного генератора.

Описание

[1]

Изобретение относится к устройствам генерирования и формирования СВЧ радиосигналов и может быть использовано, например, в качестве перестраиваемого генератора в синтезаторах частот.

[2]

Известно устройство спин-трансферный генератор [1], состоящее из трех слоев: ферромагнитного слоя с фиксированной намагниченностью, промежуточного немагнитного слоя и ферромагнитного слоя со свободной намагниченностью. Протекающий через это устройство постоянный ток высокой плотности за счет эффекта спинового переноса момента поляризуется по спину и приводит к прецессии намагниченности ферромагнитного слоя со свободной намагниченностью. Прецессия намагниченности за счет эффекта гигантского магнетосопротивления приводит к осцилляциям сопротивления трехслойной структуры в СВЧ диапазоне.

[3]

Недостаток этого устройства заключается в низкой мощности колебаний, вызванной низким переменным сопротивлением спин-трансферного генератора. Мощность составляет порядка нескольких нановатт.

[4]

Известно также спин-волновое устройство [2], которое содержит первый электрод, адгезионный слой, антиферромагнитный слой, первый ферромагнитный слой, изолирующий слой, второй ферромагнитный слой, промежуточный слой, свободный слой и второй электрод. Дополнительные слои необходимы для повышения сопротивления спин-волнового устройства.

[5]

Это устройство выбрано в качестве прототипа предложенного решения.

[6]

Первый недостаток этого устройства заключается в низкой мощности колебаний. Максимальная мощность может достигать нескольких микроватт.

[7]

Второй недостаток заключается в низкой стабильности колебаний, вызванных неравномерной плотностью тока, протекающего через спин-трансферный генератор.

[8]

Технический результат предполагаемого изобретения заключается в увеличении мощности и стабильности выходных колебаний.

[9]

Указанный технический результат достигается за счет того, что в устройство генерирования СВЧ колебаний, содержащее спин-трансферный генератор, состоящий из последовательно закрепленных друг на друге первого электрода, адгезионного слоя, антиферромагнитного слоя, первого ферромагнитного слоя, изолирующего слоя, второго ферромагнитного слоя, промежуточного слоя, свободного слоя и второго электрода, введены усилитель мощности, мост, первый делитель частоты, фазовый детектор, фильтр низких частот, источник тока, опорный кварцевый генератор и второй делитель частоты. При этом спин-трансферный генератор через последовательно соединенные усилитель мощности, мост и первый делитель частоты подключен к фазовому детектору. К фазовому детектору через второй делитель частоты подключен опорный кварцевый генератор. При этом выход фазового детектора через последовательно подключенные фильтр низких частот и источник тока подключен к спин-трансферному генератору.

[10]

Существует вариант, в котором в качестве источника тока используют прецизионный источник тока с малым шагом перестройки.

[11]

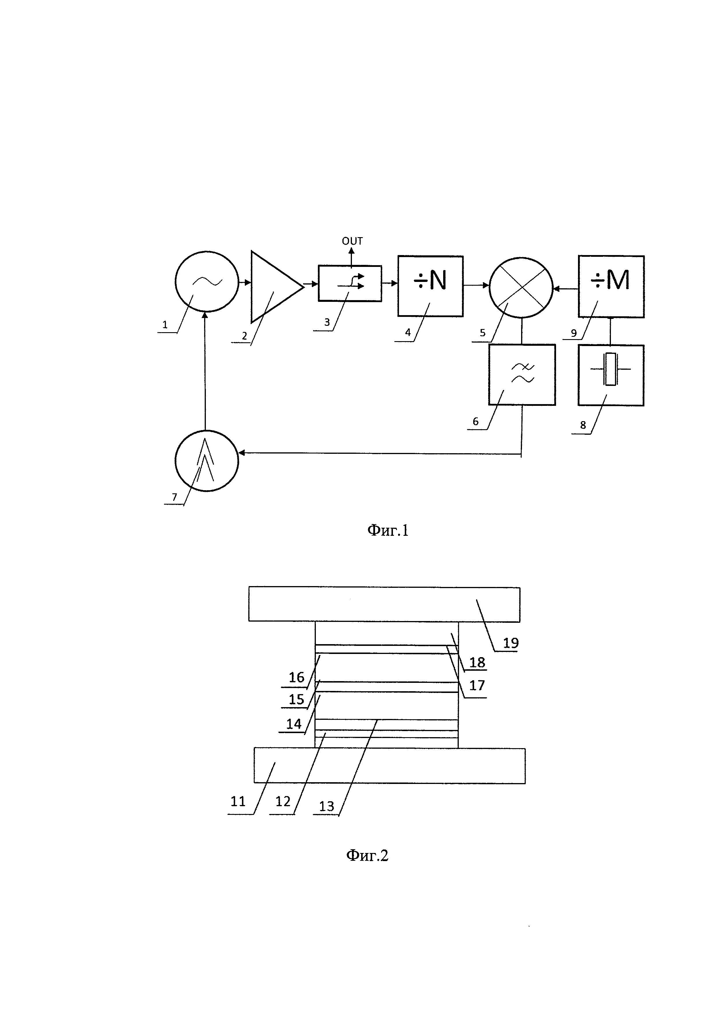
Существует вариант, в котором перестроечная характеристика источника тока соответствует нелинейной регулировочной характеристике спин-трансферного генератора. Устройство генерирования СВЧ колебаний содержит спин-трансферный генератор 1 (фиг. 1), который включен в цепь фазовой автоподстройки с усилителем мощности 2, состоящей из моста 3, первого делителя частоты 4, фазового детектора 5, фильтра низких частот 6, источника тока 7, опорного кварцевого генератора 8 и второго делителя частоты 9. Первый делитель частоты 4 и второй делитель частоты 9 могут представлять собой микросхемы, выполненные по технологии ТТЛ КМОП, с задающимися оператором коэффициентами деления [3]. Опорный кварцевый генератор 8 термокомпенсирован или термостатирован, его частота может быть выбрана порядка 10 МГц [4]. Выход опорного кварцевого генератора 8 через второй делитель частоты 9 подключен к фазовому детектору 5, который представляет собой комбинацию умножающих и смешивающих диодов, реализованных в виде одной микросхемы [3]. Выход фазового детектора 5 подключен к фильтру низких частот 6, который является фильтром нижних частот. Выход фильтра 6 подключен к источнику тока 7. Источник тока 7 подключен к спин-трансферному генератору 1, который через усилитель мощности 2, мост 3 и первый делитель частоты 4 подключен к фазовому детектору 5. Усилитель мощности 2 представляет собой трехкаскадную схему усиления с высоким входным сопротивлением, выполненной по технологии КМОП. Мост 3 содержит два выхода, первый подключен к входу фазового детектора 5, второй служит для подключения полезной нагрузки. Спин-трансферный генератор 1, представляющий собой многослойную структуру типа «наностолб» с диаметром 50-200 нм [5], состоит из последовательно закрепленных друг на друге первого электрода 11 (фиг. 2), адгезионного слоя 12, антиферромагнитного слоя 13, первого ферромагнитного слоя 14, изолирующего слоя 15, второго ферромагнитного слоя 16, промежуточного слоя 17, свободного слоя 18, второго электрода 19. К первому электроду 11 подключается выход источника тока 7, второй электрод 20 подключается к входу усилителя мощности 2. Первый электрод 11 и второй электрод 20 выполнены из проводящего материала, например, меди. Толщина электродов 10-100 нм, площадь неограниченна. Адгезионный слой 12 имеет толщину 1-5 нм и выполнен, например из тантала. Антиферромагнитный слой 13 выполнен из сплава платины с марганцом (PtMn) или иридия с марганцем (IrMn). Его толщина составляет 10-30 нм. Первый ферромагнитный слой 14 и второй ферромагнитный слой 16 имеют толщину 10-20 нм. Первый ферромагнитный слой 14 выполнен из сплава кобальта с железом (CoFe), второй ферромагнитный слой 16 выполнен из сплава кобальт-железо-бор (CoFeB). Изолирующий слой 15 имеет толщину 1-5 нм и выполнен из немагнитного материала, например рутения (Ru). Промежуточный слой 17 выполнен из оксида магния (MgO), его толщина составляет 1-5 нм. Свободный слой 18 выполнен из ферромагнитного материала, например сплава кобальт-железо-бор, его толщина составляет от 3 до 15 нм. Спин-трансферный генератор 1 получают методом напыления, травления, литографии и планаризации.

[12]

Устройство работает следующим образом. Включают источник тока 7, при этом на вход спин-трансферного генератора 1 поступает постоянный ток. Таким образом, задается рабочая точка спин-трансферного генератора 1. В спин-трансферном генераторе 1 за счет эффекта гигантского магнетосопротивления и эффекта спинового переноса тока генерируются СВЧ колебания, обладающие малой стабильностью. Эти колебания попадают на вход усилителя мощности 2, где происходит усиление их мощности. Далее колебания попадают на вход моста 3, где сигнал делится на две равные части. Первая является полезным выходным сигналом, а вторая попадает на вход первого делителя частоты 4, где через заданный оператором коэффициент деления приводится к частоте сравнения, равной частоте колебаний опорного кварцевого генератора 8, деленной на значение коэффициента деления во втором делителе частоты 9. В фазовом детекторе 5 происходит сравнение текущих фаз двух колебаний на частоте сравнения - колебаний опорного кварцевого генератора 8 и колебаний спин-трансферного генератора 1. На выходе фазового детектора 5 создается постоянное напряжение, пропорциональное разности фаз опорного кварцевого генератора 8 и спин-трансферного генератора 1. Зависимость выходного напряжения от разности фаз определена типом детекторной характеристики фазового детектора 5. Подключенный к фазовому детектору 5 фильтр низких частот 6 блокирует все высокочастотные составляющие напряжения. Источник тока 7 по заданной характеристике (фиг. 3) преобразует входное напряжение в выходной ток, который может быть больше, или меньше тока в рабочей точке. Новое значение тока попадает на вход спин-трансферного генератора 1 и меняет его частоту (фиг. 4). Таким образом, происходит подстройка частоты спин-трансферного генератора 1 к частоте опорного кварцевого генератора 8. Это приводит к увеличению стабильности выходного колебания.

[13]

Введение цепи фазовой автоподстройки с усилителем позволяет перераспределить энергию выходных колебаний спин-трансферного генератора и максимизировать ее значение на выбранной частоте. Перераспределение энергии также приводит к увеличению стабильности колебаний.

[14]

ЛИТЕРАТУРА

[15]

1. Патент США 8,174,798 Spin-torque oscillator, a magnetic sensor and a magnetic recording system (аналог)

[16]

2. Патент США 8,476,724 Spin wave device (прототип)

[17]

3. Л.А. Белов. Радиоэлектроника. Формирование стабильных частот и сигналов. - М.: Издательство Юрайт.2018. - 242 с.

[18]

4. Л.А. Белов. Опорные генераторы. Электроника: наука, технология, бизнес.2010. №6. С. 38-44.

[19]

5. Т. Chen Т., R.K. Dumas, A. Eklund, Р.K. Muduli, A. Houshang, А.A. Awad, , В.G. Malm, A. Rusu, and . Spin-torque and spin-hall nano-oscillators // Proc. of IEEE. 2016. Vol. 104. No. 10. pp. 1919-1945.

Как компенсировать расходы
на инновационную разработку
Похожие патенты