Изобретение относится к области нефтегазодобывающей промышленности и может быть применено для гидравлического разрыва пласта (ГРП) в добывающей скважине при наличии попутной и/или подошвенной воды. Способ включает выполнение перфорации в интервале пласта скважины, ориентированной в направлении главного максимального напряжения, спуск колонны насосно-компрессорных труб - НКТ с пакером в скважину, посадку пакера, проведение ГРП закачиванием гидроразрывной жидкости по колонне НКТ с пакером через интервал перфорации в продуктивный пласт с образованием и последующим креплением трещины проппантом, стравливание давления из скважины. Для выполнения перфорации в скважину до интервала подошвы пласта спускают гидромеханический перфоратор на колонне НКТ, выполняют пары перфорационных отверстий по периметру скважины от подошвы к кровле пласта со смещением на угол 30° при выполнении каждой пары перфорационных отверстий, после выполнения перфорации колонну НКТ с перфоратором извлекают из скважины, затем в скважину спускают колонну НКТ с пакером и производят посадку пакера в скважине, перед проведением ГРП последовательно определяют объемы гидроразрывной жидкости для образования трещины, эластомера, добавляемого в гидроразрывную жидкость, проппанта для крепления трещины, далее производят ГРП, при этом в качестве гидроразрывной жидкости применяют гелированную нефть, объем гелированной нефти делят на две равные порции, причем первой порцией закачивают первую половину объема гелированной нефти и проводят ГРП с образованием трещины, а второй порцией закачивают вторую половину объема гелированной нефти с добавлением
Способ гидравлического разрыва пласта - ГРП, включающий выполнение перфорации в интервале пласта скважины, ориентированной в направлении главного максимального напряжения, спуск колонны насосно-компрессорных труб - НКТ с пакером в скважину, посадку пакера, проведение ГРП закачиванием гидроразрывной жидкости по колонне НКТ с пакером через интервал перфорации в продуктивный пласт с образованием и последующим креплением трещины проппантом, стравливание давления из скважины, отличающийся тем, что для выполнения перфорации в скважину до интервала подошвы пласта спускают гидромеханический перфоратор на колонне НКТ, выполняют пары перфорационных отверстий по периметру скважины от подошвы к кровле пласта со смещением на угол 30° при выполнении каждой пары перфорационных отверстий, после выполнения перфорации колонну НКТ с перфоратором извлекают из скважины, затем в скважину спускают колонну НКТ с пакером и производят посадку пакера в скважине, перед проведением ГРП последовательно определяют объемы гидроразрывной жидкости для образования трещины, эластомера, добавляемого в гидроразрывную жидкость, проппанта для крепления трещины, далее производят ГРП, при этом в качестве гидроразрывной жидкости применяют гелированную нефть, объем гелированной нефти делят на две равные порции, причем первой порцией закачивают первую половину объема гелированной нефти и проводят ГРП с образованием трещины, а второй порцией закачивают вторую половину объема гелированной нефти с добавлением гранулированного водонабухающего эластомера для создания водоизолирующего экрана по всей поверхности трещины из гранулированного водонабухающего эластомера, затем производят крепление трещины закачкой жидкости-носителя сшитого геля с проппантом сначала мелкой фракции 20/40 меш в количестве 55-60% от общей массы проппанта, а затем крупной фракции 16/20 меш в количестве 40-45% от общей массы проппанта со ступенчатым увеличением концентрации проппанта на 100 кг/м3, начиная от 200 кг/м3 до 1200 кг/м3.
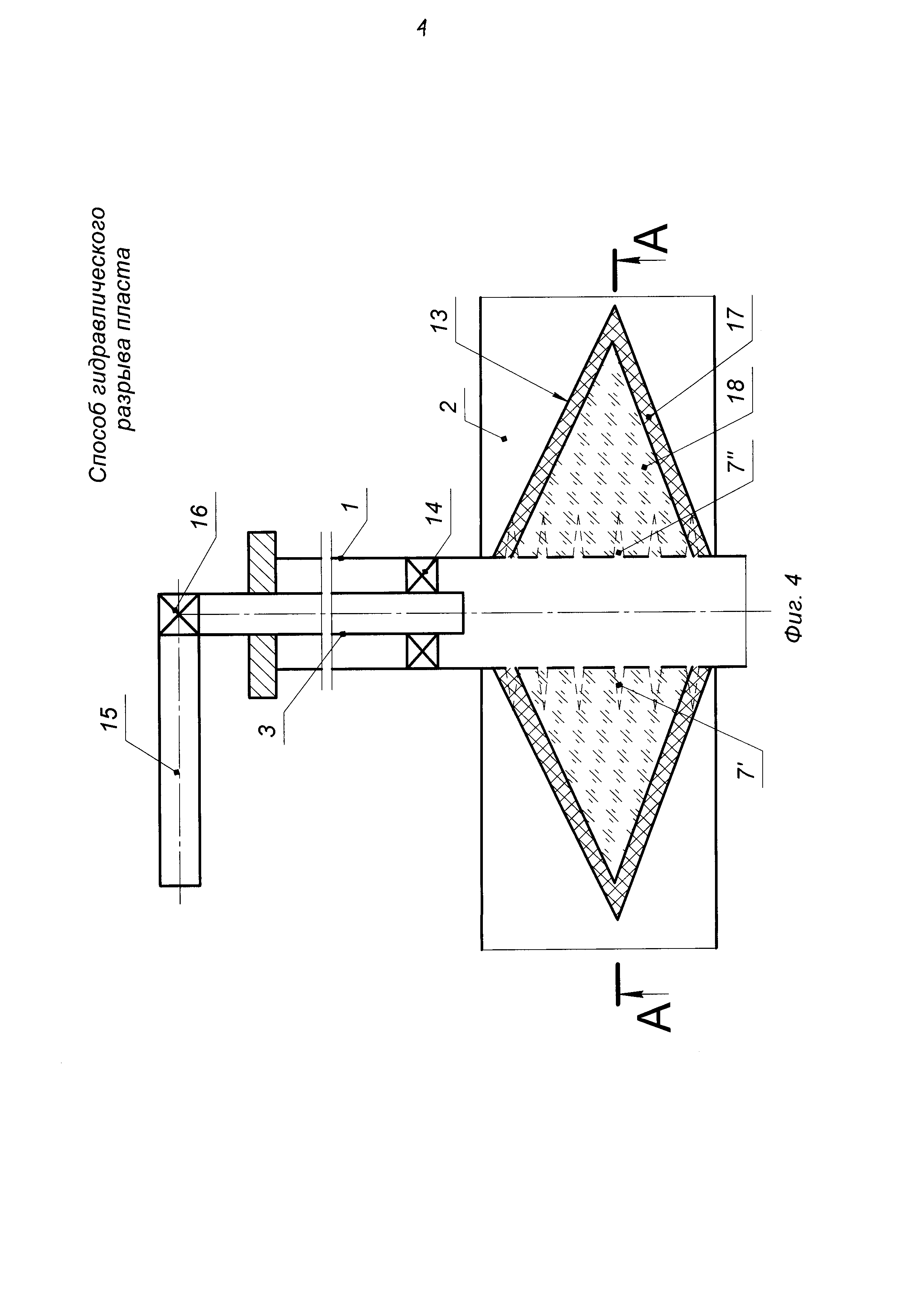
Изобретение относится к области нефтегазодобывающей промышленности, в частности, оно используется для гидравлического разрыва пласта (ГРП) в добывающей скважине при наличии попутной и/или подошвенной воды. Известен способ гидроразрыва пласта (патент RU №2170818, МПК Е21В 43/26, опубл. 20.07.2001 г., бюл. №20), предусматривающий образование в пласте с подошвенной водой трещины гидроразрыва, при этом в насосно-компрессорные трубы (НКТ) и ниже них спускают гибкие трубы (ГТ) до нижних отверстий интервала перфорации для прокачки по ним проппанта в смеси с водоизолирующим цементом в количестве, достаточном для заполнения смесью нижней части трещины до уровня выше водонефтяного контакта с заполнением части трещины в зоне подошвенной воды в части трещины внизу нефтенасыщенной зоны, при этом одновременно по колонне НКТ подают жидкость-песконоситель с проппантом в количестве, достаточном для заполнения верхней части вертикальной трещины. Недостатки данного способа: - во-первых, ГРП осуществляют перед водоизоляцией, что в карбонатных породах может привести к образованию трещин по всей высоте пласта от подошвы до кровли и нет гарантии того, что при проведении последующей водоизоляции подошвенной части их полностью удастся изолировать (перекрыть канал поступления воды в продуктивную часть пласта), что снижает эффективность ГРП и вызывает быстрое обводнение скважины при последующей эксплуатации карбонатного пласта; - во-вторых, после образования трещин в пласте закачкой жидкости разрыва по колонне НКТ в колонну НКТ спускают ГТ и на проведение этой операции затрачивается определенное количество времени, в течение которого трещины частично смыкаются, затем производят одновременно водоизоляцию цементом по ГТ подошвенной части пласта и закачку жидкости-песконосителя по кольцевому пространству между колоннами НКТ и ГТ для уплотнения уже начавшей смыкаться трещины, что усложняет технологический процесс осуществления способа и снижает проницаемость образуемых трещин; - в-третьих, необходимо привлекать дорогостоящее оборудование (пескосмеситель) и насосные агрегаты высокого давления для продавки жидкости-песконосителя с проппантом в пласт. Наиболее близким по технической сущности является способ ГРП продуктивного пласта с глинистым прослоем и подошвенной водой (патент RU №2566542, МПК Е21В 43/26, опубл. 27.10.2015 г., бюл. №30), включающий спуск колонны НКТ с пакером в скважину, посадку пакера, проведение ГРП закачиванием гидроразрывной жидкости по колонне НКТ с пакером через интервал перфорации в продуктивный пласт с образованием и последующим креплением трещины проппантом, стравливание давления из скважины. При этом до спуска в скважину колонны НКТ с пакером геофизическими методами определяют ориентацию главного максимального напряжения в продуктивном пласте, затем в верхней половине продуктивного пласта осуществляют перфорацию, ориентированную в направлении главного максимального напряжения, затем отсекают нижнюю половину продуктивного пласта скважины, спускают колонну НКТ с пакером в скважину так, чтобы нижний конец колонны НКТ находился на уровне кровли продуктивного пласта, производят посадку пакера, осуществляют ГРП закачкой по колонне НКТ гидроразрывной жидкости, в качестве которой используют линейный гель с расходом 0,3 м3/мин с созданием трещины в продуктивном пласте, затем производят крепление трещины в продуктивном пласте в четыре цикла чередующейся закачкой по колонне НКТ через интервал ориентированной перфорации продуктивного пласта равными порциями линейного геля с облегченным проппантом 20/40 меш и равными порциями сшитого геля с добавлением соли NaCl с концентрацией 400 кг/м3. Причем равные порции сшитого геля по объему в два раза меньше равных порций линейного геля, а количество равных порций сшитого геля на одну порцию меньше равных порций линейного геля. Концентрацию облегченного проппанта 20/40 меш в линейном геле ступенчато увеличивают на 100 кг/м3 с первой по третью порции в каждом цикле, начиная с концентрации 100 кг/м3, в последнем четвертом цикле производят закачку одной порции линейного геля, содержащего облегченный проппант 16/20 меш с концентрацией 400 кг/м3, а затем производят закачку и продавку 15% водного раствора соляной кислоты в трещину продуктивного пласта в объеме, равном половине суммы объемов линейного и сшитого гелей, закачанных в трещину в процессе крепления трещины. Недостатками данного способа являются: - во-первых, низкая проводимость трещины, обусловленная тем, что в процессе крепления трещины в качестве жидкости-носителя проппанта попеременно со сшитым гелем используется линейный гель, выпадающий в осадок в процессе транспортировки проппанта. Это приводит к преждевременному выпадению проппанта, т.е. жидкость-носитель не обеспечивает транспортировку проппанта до конца трещины и способствует неравномерному заполнению трещины. В результате образуются пустоты, которые затем смыкаются, что резко ухудшает проводимость трещины; - во-вторых, низкая надежность реализации способа, связанная с преждевременным выпадением проппанта из жидкости-носителя линейного геля в процессе транспортировки по колонне НКТ, что приводит к резкому скачку давления в колонне НКТ, аварийной остановке процесса и недостижению проектных параметров трещины; - в-третьих, низкая эффективность изоляции трещины от перетока по ней в скважину попутной и/или подошвенной воды, что вызывает резкое обводнение скважины; - в-четвертых, затраты, связанные с привлечением геофизической партии для определения направления главного максимального напряжения в пласте; - в-пятых, длительный технологический процесс реализации способа, связанный с многократными циклами закачки порций линейного геля с проппантом, чередующихся с порциями сшитого геля с добавлением соли NaCl и продавкой 15% водного раствора соляной кислоты. Техническими задачами изобретения являются повышение проводимости трещины и эффективности изоляции трещины, а также повышение надежности способа, снижение затрат на его реализацию, сокращение длительности технологического процесса реализации способа. Поставленные технические задачи решаются способом гидравлического разрыва пласта - ГРП, включающим выполнение перфорации в интервале пласта скважины, ориентированной в направлении главного максимального напряжения, спуск колонны насосно-компрессорных труб - НКТ с пакером в скважину, посадку пакера, проведение ГРП закачиванием гидроразрывной жидкости по колонне НКТ с пакером через интервал перфорации в продуктивный пласт с образованием и последующим креплением трещины проппантом, стравливание давления из скважины. Новым является то, что для выполнения перфорации в скважину до интервала подошвы пласта спускают гидромеханический перфоратор на колонне НКТ, выполняют пары перфорационных отверстий по периметру скважины от подошвы к кровле пласта со смещением на угол 30° при выполнении каждой пары перфорационных отверстий, после выполнения перфорации колонну НКТ с перфоратором извлекают из скважины, затем в скважину спускают колонну НКТ с пакером и производят посадку пакера в скважине, перед проведением ГРП последовательно определяют объемы гидроразрывной жидкости для образования трещины, эластомера, добавляемого в гидроразрывную жидкость, проппанта для крепления трещины, далее производят ГРП, при этом в качестве гидроразрывной жидкости применяют гелированную нефть, объем гелированной нефти делят на две равные порции, причем первой порцией закачивают первую половину объема гелированной нефти и проводят ГРП с образованием трещины, а второй порцией закачивают вторую половину объема гелированной нефти с добавлением гранулированного водонабухающего эластомера для создания водоизолирующего экрана по всей поверхности трещины из гранулированного водонабухающего эластомера, затем производят крепление трещины закачкой жидкости-носителя сшитого геля с проппантом сначала мелкой фракции 20/40 меш в количестве 55-60% от общей массы проппанта, а затем крупной фракции 16/20 меш в количестве 40-45% от общей массы проппанта со ступенчатым увеличением концентрации проппанта на 100 кг/м3, начиная от 200 кг/м3 до 1200 кг/м3. На фиг. 1 схематично изображен процесс перфорации интервала пласта в скважине. На фиг. 2 схематично изображена развертка интервала перфорации пласта. На фиг. 3 схематично изображены устьевой фланец с метками и колонна труб с риской в процессе проведения ГРП. На фиг. 4 схематично изображен процесс ГРП. На фиг. 5 схематично изображено направление развития трещины. В скважину 1 (см. фиг. 1 и 2) до подошвы пласта 2 на колонне НКТ 3 спускают гидромеханический перфоратор 4, например используют гидромеханический перфоратор ПГМ-168 конструкции института «ТатНИПИнефть». Перфорируют интервал пласта 2 выполнением шести пар отверстий (прямоугольного сечения) 5' и 5'', 6' и 6'', 7' и 7'', 8' и 8'', 9' и 9'', 10' и 10'' снизу вверх с подъемом и поворотом колонны труб на 30° при каждом последующем проколе. Высоту 1 подъема колонны НКТ 3 между парами отверстий 5' и 5'', 6' и 6'', 7' и 7'', 8' и 8'', 9' и 9'', 10' и 10'' определяют как высоту пласта 2, разделенную на семь равных частей. Например, при высоте пласта hпл=3,5 м высота подъема колонны НКТ 3 между парами отверстий 5' и 5'', 6' и 6'', 7' и 7'', 8' и 8'', 9' и 9'', 10' и 10'', а также от кровли и подошвы пласта 2 будет равна: l=hпл/7=3,5 м/7=0,5 м. В процессе реализации способа необходимо получить шесть пар отверстий: 5' и 5'', 6' и 6'', 7' и 7'', 8' и 8'', 9' и 9'', 10' и 10'' с равным углом поворота 30° между ближайшими парами. Например, между парой отверстий 7' и 7'' (см. фиг. 3) угол поворота снизу относительно отверстий 6' и 6" и выше относительно отверстий 8' и 8" составляет 30°. С этой целью применяют устьевой фланец (на фиг. 3 показан условно), имеющий насечки 11', 11", 11''', 11'''', 11''''', 11'''''' по периметру с углом 30° (см. фиг. 2 и 3), соответствующие каждой паре отверстий 5' и 5'', 6' и 6'', 7' и 7'', 8' и 8'', 9' и 9'', 10' и 10''. На поверхности колонны НКТ 3 наносят одну риску 12 (см. фиг. 1 и 3), например, длиной 10-50 мм и глубиной 2 мм. Размещают риску 12 колонны НКТ 3 напротив отметки 11' устьевого фланца. В таком положении без вращения колонны НКТ 3 с гидромеханическим перфоратором 4 на конце приподнимают колонну НКТ 3 от подошвы пласта 2 на высоту l=0,5 м. Выполняют пару отверстий 5' и 5'' в интервале пласта 2 скважины 1 с помощью гидромеханического перфоратора 4 (за счет радиального выдвижения двух резцов, размещенных относительно друг друга под углом 180°) согласно инструкции по его эксплуатации. Затем вновь приподнимают колонну НКТ 3 с гидромеханическим перфоратором 4 вверх на высоту l=0,5 м, при этом поворачивают колонну НКТ 3 до размещения ее риски 12 напротив метки 11'' на устьевом фланце, например, по часовой стрелке, и производят выполнение с помощью гидромеханического перфоратора 4 пары отверстий 6' и 6'' в интервале пласта 2 скважины 1. Далее аналогичным образом, поворачивая колонну НКТ 3 (см. фиг. 2 и 3) по часовой стрелке на 30° и последовательно совмещая риску 12 колонны НКТ 3 с метками 11''', 11'''', 11''''', 11'''''', выполняют еще четыре соответствующих пары отверстий 7' и 7", 8' и 8", 9' и 9", 10' и 10" в интервале пласта 2 скважины 1. Направление перфорации снизу вверх в скважине 1 выбирают с целью исключения прихвата резцов (на фиг. 1 показаны условно) гидромеханического перфоратора 4 при их выдвижении ранее выполненными парами отверстий 5' и 5'', 6' и 6'', 7' и 7'', 8' и 8'', 9' и 9'', 10' и 10'' (см. фиг. 2). Таким образом, в интервале пласта 2 (см. фиг. 1) скважины 1 получают перфорационные отверстия 5' и 5'', 6' и 6'', 7' и 7'', 8' и 8'', 9' и 9'', 10' и 10''. Выполнение пар отверстий 5' и 5'', 6' и 6'', 7 и 7'', 8' и 8'', 9' и 9'', 10' и 10'' с поворотом 30° позволяет создать направление образования трещины 13 (см. фиг. 5) в пласте 2 при последующем проведении ГРП в направлении главного максимального напряжения пород (σmax) в пласте 2 (см. фиг. 2 и 5). Например, направление пары отверстий 7' и 7'' в интервале продуктивного пласта 2 совпадает с направлением главного максимального напряжения пород (σmax) в пласте 2, что исключает затраты, связанные с привлечением геофизической партии для определения направления главного максимального напряжения в пласте, так как применяют гидромеханический перфоратор, с помощью которого выполняют парные перфорационные отверстия под углом 30°. Кроме того, применение гидромеханического перфоратора для перфорации в сравнении с кумулятивной перфорацией повышает надежность проведения ГРП, так как в процессе перфорации образуются пары отверстий 5' и 5'', 6' и 6'', 7' и 7'', 8' и 8'', 9' и 9'', 10' и 10'', при этом каждое из отверстий имеет прямогольную форму с минимальным размером 10 на 20 мм. Этого размера вполне достаточно для продавки в трещину 13 проппанта любой фракции, что исключает резкий скачок давления в колонне НКТ, аварийную остановку процесса и недостижение проектных параметров трещины 13. Далее извлекают из скважины 1 колонну НКТ 3 с гидромеханическим перфоратором 4 и приступают к проведению ГРП. В качестве гидроразрывной жидкости при образовании трещины 13 применяют гелированную нефть. В отличие от линейного геля, который готовится на водной основе, как описано в прототипе, гелированная нефть не вступает в реакцию с гранулированным водонабухающим эластомером в процессе закачки. Перед проведением ГРП последовательно определяют: 1. Объем проппанта для крепления трещины по формуле: где, с=2000-2500 - коэффициент перевода, кг/м, примем с=2200 кг/м; М - масса проппанта, кг; hпл - высота пласта, м, hпл=3,5 м; ρпр - насыпная плотность проппанта, ρпр=1570 кг/м3. 2. Объем эластомера, добавляемого в гелированную нефть, определяют по формуле где Vэл - объем эластомера, добавляемого к гелированной нефти, м3; Vпроп - объем планируемого к закачке проппанта, м3; m - пористость пласта, д. ед., m=0-1 д. ед., примем m=0,25 д. ед.; k - кратность увеличения объема эластомера, k=2. 3. Объем гелированной нефти для образования трещины по формуле где Vгн - объем гелированной нефти для проведения ГРП, м3. Подставив числовые значения в формулу (1), получим: М=с⋅hпл=2200 кг/м⋅3,5 м=7700 кг; Vпроп=М/ρпр=7700 кг/1570 кг=4,9 м3. Подставив числовые значения в формулу (2), получим: Подставляя числовые значения в формулу (3), получим: Далее спускают в скважину 1 колонну НКТ 3 с пакером 14. В качестве пакера применяют любой известный пакер. Производят посадку пакера 14 в скважине 1, например, на 5 м выше кровли пласта 2, и осуществляют герметизацию заколонного пространства колонны НКТ 3. Нижний конец колонны НКТ 3 размещают выше верхней пары перфорационных отверстий 10' и 10'' пласта 2 на расстоянии, например, а=1 м. Расстояние а=1 м позволяет исключить прихват колонны НКТ 3 в случае преждевременного получения резкого скачка давления в процесс крепления трещины 13. Гелированную нефть готовят на устье скважины путем добавления в нефть любого известного загеливающего агента. Например, приготовленного на основе фосфатного эфира в малогорючем растворителе и предназначенного для создания гелированнной нефти с концентрацией 5 л/м3=0,005 м3/м3. Таким образом, для приготовления гелированной нефти в объеме Vгн=2,45 м3 необходимо загеливающего агента: 2,45 м3 - (2,45 м3 ⋅ 0,005 м3)=2,45 м3 - 0,01225 м3=2,43775 м3. На устье скважины в емкость (на фиг. 1-5 не показана) заливают нефть в объеме 2,43775 м3 и добавляют 0,01225 м3 загеливающего агента и перемешивают. Тогда Vгн=2,43775 м3 + 0,01225 м3=2,45 м3. Далее объем гелированной нефти делят на две равные порции: Vгн1=Vгн2=Vгн/2=2,45 м3/2=1,225 м3. С помощью насосных агрегатов по нагнетательной линии 15 (см. фиг. 4) через открытую задвижку 16 в скважину 1 по колонне НКТ 3 через отверстия 5' и 5'', 6' и 6'', 7' и 7'', 8' и 8'', 9' и 9'', 10' и 10'' пласта 2 закачивают первую порцию (половину объема) гелированной нефти Vгн1=1,225 м3 и проводят ГРП с образованием трещины 13. Не прерывая закачку, закачивают вторую порцию (вторую половину объема) гелированной нефти Vгн2=1,225 м3 с добавлением объема гранулированного водонабухающего эластомера Vэл=0,6125 м3, т.е. (Vгн2+Vэл)=1,225 м3 + 0,6125 м3=1,8375 м3 для создания водоизолирующего экрана 17 (см. фиг. 4) по всей поверхности трещины 13 из гранулированного водонабухающего эластомера. В результате создания водоизолирующего экрана по всей поверхности трещины из гранулированного водонабухающего эластомера повышается эффективность изоляции трещины от перетока по ней в скважину попутной и/или подошвенной воды, что исключает обводнение скважины. Далее производят крепление трещины закачкой жидкости-носителя сшитого геля с проппантом сначала мелкой фракции 20/40 меш в количестве 55-60% от общей массы проппанта, а затем крупной фракции 16/20 меш в количестве 40-45% от общей массы проппанта со ступенчатым увеличением концентрации проппанта на 100 кг/м3, начиная от 200 кг/м3 до 1200 кг/м3. В качестве сшитого геля применяют любой известный состав сшитого геля. Сшитый гель имеет низкие потери давления на трение в трубах и высокую вязкость в пласте, что обеспечивает создание широких, глубоко проникающих трещин с хорошим заполнением расклинивающим материалом. При деструкции не образует осадка, не повреждает пласт и набивку, что способствует образованию высокопроводящей трещины. Повышается надежность реализации способа, так как исключается преждевременное выпадение проппанта из жидкости-носителя за счет использования сшитого геля в процессе транспортировки проппанта по колонне НКТ и использования гидромеханического перфоратора, выполняющего прямоугольное отверстие размером 10 на 20 мм, что полностью исключает скачок давления в колонне НКТ, аварийную остановку процесса ГРП и недостижение проектных параметров трещины. Общая масса проппанта: M=с⋅hпл=2200 кг/м ⋅ 3,5 м=7700 кг (см. формулу 1). Таким образом, мелкая фракция 20/40 меш проппанта в количестве 55-60% от общей массы проппанта (М=7700 кг): М20/40=(55-60%)/100% ⋅ 7700 кг=4235-4620 кг. Примем 4400 кг. Крупная фракции 16/20 меш проппанта в количестве 40-45% от общей массы проппанта (М=7700 кг): M16/20=(40-45%)/100% ⋅ 7700 кг=3080-3465 кг. Примем 3300 кг. Далее производят крепление трещины 13 со ступенчатым увеличением концентрации проппанта на 100 кг/м3, начиная с концентрации 200 кг/м3 до 1200 кг/м3, т.е. фракция проппанта 20/40 меш: 200 кг/м3; 300 кг/м3; 400 кг/м3; 500 кг/м3; 600 кг/м3; 700 кг/м3; 800 кг/м3; 900 кг/м3; фракция проппанта 16/20 меш: 1000 кг/м3; 1100 кг/м3; 1200 кг/м3, при этом используют 11 м3 сшитого геля, т.е. по 1 м3 для каждой концентрации проппанта. С помощью насосных агрегатов по нагнетательной линии 15 (см. фиг. 4) через открытую задвижку 16 в скважину 1 по колонне НКТ 3 через отверстия 5' и 5'', 6' и 6'', 7' и 7'', 8' и 8'', 9' и 9'', 10' и 10'' в трещину 13 закачивают жидкость-носитель (сшитый гель) с проппантом 18, начиная с концентрации 200 кг/м3 (фракция 20/40 меш); 300 кг/м3 (фракция 20/40 меш); 400 кг/м3 (фракция 20/40 меш); 500 кг/м3 (фракция 20/40 меш); 600 кг/м3 (фракция 20/40 меш); 700 кг/м3 (фракция 20/40 меш); 800 кг/м3 (фракция 20/40 меш); 900 кг/м3 (фракция 20/40 меш); 1000 кг/м3 (фракция 16/20 меш); 1100 кг/м3 (фракция 16/20 меш); 1200 кг/м3 (фракция 16/20 меш). Повышается проводимость трещины 13, поскольку крепление трещины осуществляют на жидкости-носителе (сшитом геле) с постепенным увеличением концентрации и фракции проппанта от мелкой к крупной, что позволяет равномерно заполнить и закрепить проппантом всю трещину, начиная от конца трещины и до интервала перфорации скважины, при этом закачка крупной фракции за мелкой фракцией снижает вынос проппанта из трещины и увеличивает проводимость трещины. Таким образом, производят крепление трещины 13 проппантом 18. По окончании крепления трещины стравливают давление из скважины, распакеровывают пакер 14 и извлекают его с колонной НКТ из скважины. Процесс ГРП закончен. Сокращается длительность технологического процесса реализации способа, так как одновременно с образованием трещины на ее поверхности образуется экран из гранулированного водонабухающего эластомера 17, после чего производится крепление трещины проппантом, а это исключает многократные циклы закачки порций линейного геля с проппантом, чередующихся с порциями сшитого геля с добавлением соли NaCl и продавкой 15% водного раствора соляной кислоты. Предлагаемый способ ГРП позволяет: - исключить обводнение добывающей скважины через трещину; - повысить проводимость трещины и надежность реализации способа; - снизить затраты, отказавшись от привлечения геофизической партии; - сократить длительность технологического процесса ГРП.



