патент
№ RU 2654558
МПК F04B47/00

СКВАЖИННЫЙ ШТАНГОВЫЙ НАСОС

Авторы:
Файзуллин Расих Нафисович Дульский Олег Александрович Хамидуллин Радик Рафикович
Все (4)
Номер заявки
2017126817
Дата подачи заявки
25.07.2017
Опубликовано
21.05.2018
Страна
RU
Как управлять
интеллектуальной собственностью
Чертежи 
1
Реферат

Изобретение относится к области нефтедобывающей промышленности и предназначено для добычи нефти из скважин. Насос содержит полый плунжер с нагнетательным клапаном, цилиндр с всасывающим клапаном в нижней части и кольцевым выступом в средней части. На кольцевом выступе размещены уплотнительные кольца, взаимодействующие с боковой стенкой плунжера. Между боковыми стенками цилиндра и плунжера расположена, навитая из полоски, цилиндрическая пружина. Она упирается нижним концом на кольцевой выступ цилиндра и обхватывает своими витками наружную боковую стенку плунжера. Наружные кромки витков пружины упираются на внутреннюю стенку цилиндра, а широкие стенки витков наклонены вверх. Витки пружины широкими стенками прилегают друг к другу, причем внутренние тонкие стенки витков выполнены цилиндрическими. Внутренний диаметр пружины выбран меньше наружного диаметра плунжера. На плунжер надето пластинчатое кольцо, выполненное в форме конической шайбы и расположенное выпуклой частью наверху. Пластинчатое кольцо упирается на верхний виток пружины. Напротив этого кольца с наружной боковой стенки цилиндра выполнены радиальные цилиндрические выборки, снабженные граверной шайбой. Со дна каждой цилиндрической выборки выполнена радиальная резьбовая выборка, в которую завернут установочный винт. Установочный винт проходит через граверную шайбу и выполнен с цилиндрической головкой и с коническим концом, взаимодействующим с верхней конической стенкой пластинчатого кольца. Упрощается конструкция и повышается КПД. 3 ил.

Формула изобретения

Скважинный штанговый насос, содержащий полый плунжер с нагнетательным клапаном, цилиндр с всасывающим клапаном в нижней части и кольцевым выступом в средней части, где размещены уплотнительные кольца, взаимодействующие с боковой стенкой плунжера, отличающийся тем, что между боковыми стенками цилиндра и плунжера расположена, навитая из полоски, цилиндрическая пружина, упирающаяся нижним концом на выступ цилиндра и обхватывающая своими витками наружную боковую стенку плунжера, причем наружные кромки витков пружины упираются на внутреннюю стенку цилиндра, а широкие стенки витков наклонены вверх, причем витки пружины широкими стенками прилегают друг к другу, причем внутренние тонкие стенки витков выполнены цилиндрическими, причем внутренний диаметр цилиндрической пружины выбран меньше наружного диаметра плунжера, причем на плунжер надето пластинчатое кольцо, выполненное в форме конической шайбы и расположенное выпуклой частью наверху, причем пластинчатое кольцо упирается на верхний виток цилиндрической пружины и напротив этого кольца с наружной боковой стенки цилиндра выполнены радиальные цилиндрические выборки, снабженные граверной шайбой, причем со дна каждой цилиндрической выборки выполнена радиальная резьбовая выборка, в которую завернут установочный винт, проходящий через граверную шайбу и выполненный с цилиндрической головкой и с коническим концом, взаимодействующим с конической стенкой пластинчатого кольца.

Описание

[1]

Изобретение относится к отрасли нефтедобывающей промышленности и предназначено для добычи нефти из скважин.

[2]

Известен скважинный штанговый насос (авт. свид. СССР 800420, МПК F04B 47/02, F04B 21/06, опубл. 30.01.1981), содержащий рабочую пару плунжер-цилиндр со штоком и узлы нагнетательного и всасывающего клапанов. В известном насосе при ходе плунжера вверх в зазор между плунжером и цилиндром попадают механические примеси, которые изнашивают плунжерную пару и снижают срок его службы.

[3]

Наиболее близким к предлагаемому техническому решению является скважинный штанговый насос (патент RU №2369775, МПК F04B 47/00, опубл. 10.10.2009), содержащий полый плунжер с нагнетательным клапаном, цилиндр с всасывающим клапаном в нижней части и кольцевым выступом в средней части, где размещены уплотнительные кольца, взаимодействующие с боковой стенкой плунжера. Недостатком прототипа является то, что он имеет сложную конструкцию и низкий КПД. Между плунжером и цилиндром имеется насос смазывающей жидкости, который потребляет энергию и тем самым снижает КПД прототипа. Наличие насоса смазывающей жидкости, масляного бака, каналов, сообщающих замкнутую полость цилиндра с этим насосом и масляным баком, а также наличие узлов и деталей соединений каналов усложняют конструкцию прототипа.

[4]

Технической задачей изобретения является упрощение конструкции и повышение КПД устройства.

[5]

Поставленная техническая задача решается тем, что в скважинном штанговом насосе, содержащем полый плунжер с нагнетательным клапаном, цилиндр с всасывающим клапаном в нижней части и кольцевым выступом в средней части, где размещены уплотнительные кольца, взаимодействующие с боковой стенкой плунжера, новым является то, что между боковыми стенками цилиндра и плунжера расположена, навитая из полоски, цилиндрическая пружина, упирающаяся нижним концом на выступ цилиндра и обхватывающая своими витками наружную боковую стенку плунжера, причем наружные короткие стенки витков пружины упираются на внутреннею стенку цилиндра, а широкие стенки витков наклонены вверх, причем витки пружины широкими стенками прилегают друг к другу, причем внутренние короткие стенки витков выполнены цилиндрическими, причем внутренний диаметр цилиндрической пружины выбран меньше наружного диаметра плунжера, причем на плунжер надето пластинчатое кольцо, выполненное в форме конической шайбы и расположенное выпуклой частью наверху, причем пластинчатое кольцо упирается на верхний виток цилиндрической пружины и напротив этого кольца с наружной боковой стенки цилиндра выполнены радиальные цилиндрические выборки, снабженные граверной шайбой, причем со дна каждой цилиндрической выборки выполнена радиальная резьбовая выборка, в которую завернут установочный винт, проходящий через граверную шайбу и выполненный с цилиндрической головкой и с коническим концом, взаимодействующим с конической стенкой пластинчатого кольца.

[6]

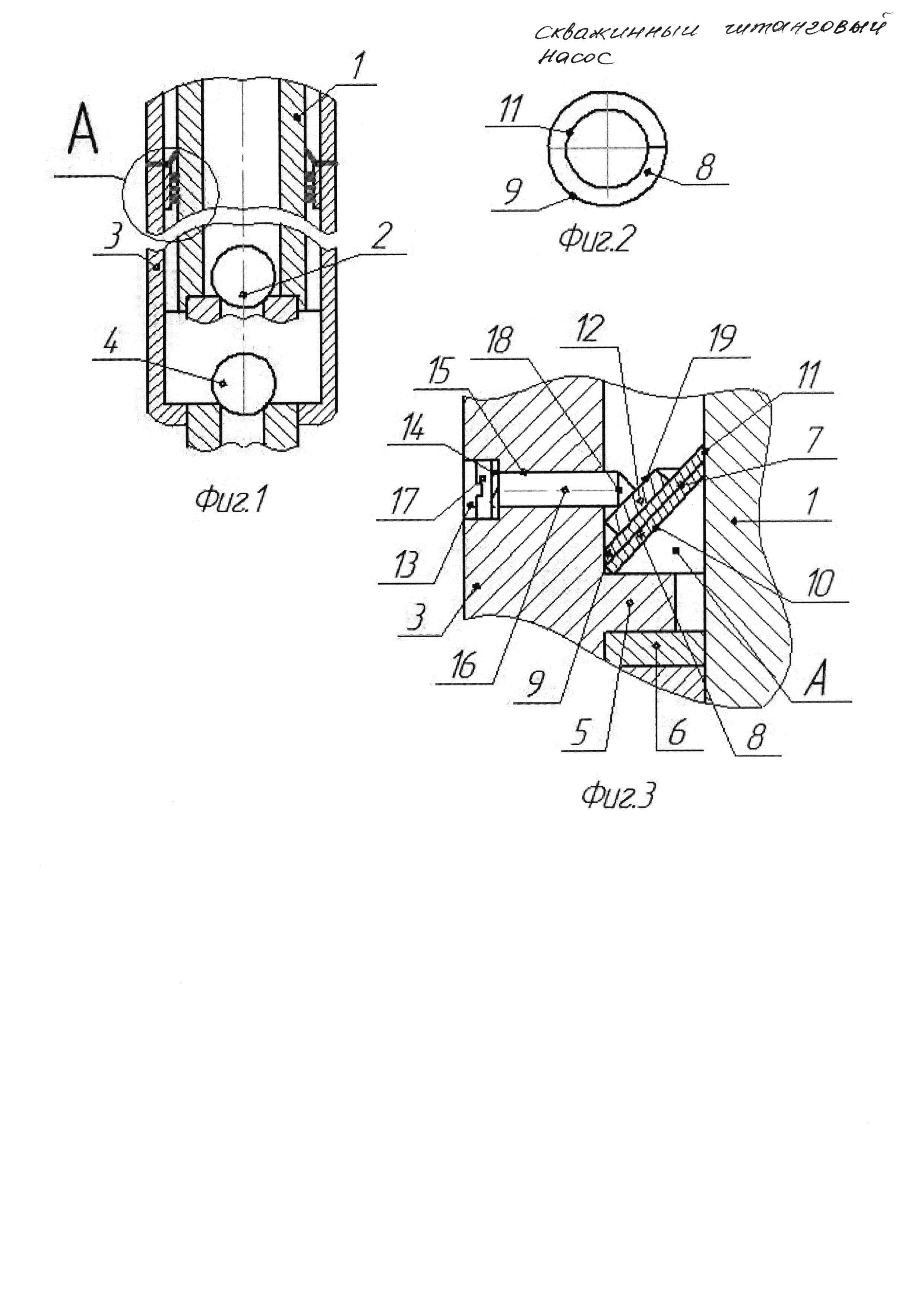
На фиг. 1 изображен скважинный штанговый насос в продольном разрезе; на фиг. 2 - вид сверху на цилиндрическую пружину; на фиг. 3 - вид А фиг. 1.

[7]

Скважинный штанговый насос содержит полый плунжер 1 (фиг. 1) с нагнетательным клапаном 2, цилиндр 3 с всасывающим клапаном 4 в нижней части и кольцевым выступом 5 в средней части, где размещены уплотнительные кольца 6. Между боковыми стенками цилиндра 3 и плунжера 1 расположена, навитая из полоски, цилиндрическая пружина 7. Она упирается нижним концом на кольцевой выступ 5 цилиндра и обхватывает своими витками 8 наружную боковую стенку плунжера 1. Наружные кромки 9 витков пружины упираются на внутреннюю стенку цилиндра, а широкие стенки 10 витков наклонены вверх. Витки 8 пружины широкими стенками 10 прилегают друг к другу. Внутренние тонкие стенки 11 витков 7 выполнены цилиндрическими. Внутренний диаметр пружины выбран меньше наружного диаметра плунжера 1, чтобы цилиндрические стенки витков пружины 7 плотно прилегали к наружной боковой стенке плунжера 1. На плунжер надето пластинчатое кольцо 12, выполненное в форме конической шайбы и расположенное выпуклой частью наверху. Пластинчатое кольцо 12 упирается на верхний виток 8 пружины. Напротив этого кольца 12 с наружной боковой стенки цилиндра 3 выполнены радиальные цилиндрические выборки 13, снабженные граверной шайбой 14. Со дна каждой цилиндрической выборки 13 выполнена радиальная резьбовая выборка 15, в которую завернут установочный винт 16. Установочный винт проходит через граверную шайбу 14 и выполнен с цилиндрической головкой 17 и с коническим концом 18, взаимодействующим с верхней конической стенкой 19 пластинчатого кольца 12. Граверная шайба 14, расположенная между дном цилиндрической выборки 13 и головкой 17 винта, предотвращает самопроизвольное откручивание винта 16.

[8]

Принцип работы скважинного штангового насоса заключается в следующем.

[9]

При движении плунжера 1 по полости цилиндра 3 вверх, а также при движении вниз, падающие под собственным весом вниз, механические примеси пластовой жидкости встречаются с конической стенкой верхнего витка 8 пружины 7 и не проходят в полость А над верхним уплотнительными кольцом 6. Пружина 7 обхватывает своими витками 8 боковую стенку плунжера 1 и внутренний диаметр пружины выбран меньше наружного диаметра плунжера. Поэтому цилиндрические стенки 11 витков 7 плотно прижимаются к боковой стенке 7 плунжера и препятствуют проникновению механических примесей в трущиеся стенки уплотнительных колец 6 и плунжера. Из-за этого рабочие стенки уплотнительных колец 6 и плунжера при работе устройства изнашиваются незначительно.

[10]

В предлагаемом скважинном штанговом насосе, в отличие от прототипа, отсутствует насос смазывающей жидкости. Этим повышается КПД предлагаемого устройства. Для предотвращения попадания механических примесей в трущиеся стенки уплотнительных колец и плунжера в предлагаемом устройстве имеются: цилиндрическая пружина, пластинчатое кольцо в форме конической шайбы и несколько стандартных деталей - граверных шайб и установочных винтов, завернутых в резьбовые выборки цилиндра. Из-за отсутствия насоса смазывающей жидкости, масляного бака, каналов, узлов соединения каналов и крепежных деталей масляного бака и насоса смазывающей жидкости упрощается конструкцию предлагаемого устройства.

[11]

Перечень использованной информации

[12]

1. Авт. свид. СССР 800420, МПК F04B 47/02, F04B 21/06, опубл. 30.01.1981.

[13]

2. Патент RU 2369775, МПК F04B 47/00, опубл. 10.10.2009.

Как компенсировать расходы
на инновационную разработку
Похожие патенты