патент
№ RU 2638101
МПК G01C21/18

ОПОРА КАРДАНОВА ПОДВЕСА ГИРОСТАБИЛИЗАТОРА

Авторы:
Хомич Евгений Андреевич Иванов Борис Иванович Межирицкий Ефим Леонидович
Все (5)
Номер заявки
2016146631
Дата подачи заявки
28.11.2016
Опубликовано
11.12.2017
Страна
RU
Как управлять
интеллектуальной собственностью
Чертежи 
3
Реферат

Изобретение относится к области навигационного приборостроения и может быть использовано для создания прецизионных систем инерциальной навигации подвижных объектов. Опора карданова подвеса гиростабилизатора содержит стабилизирующий двигатель, преобразователь координат, цапфу оси подвеса, шарикоподшипник, редуктор, корпус, токоподвод коллекторного типа. Особенность конструкции опоры карданова подвеса гиростабилизатора состоит в том, что в нее введены: косозубое люфтовыбирающее колесо с фланцем, четыре люфтовыбирающие пружины, дополнительный фланец опоры, при этом шарикоподшипник выполнен в виде дуплексного шарикоподшипника, цапфа выполнена с косозубым зубчатым венцом, редуктор представляет собой два конических зубчатых колеса и червяк, который находится в зацеплении с косозубым венцом цапфы и косозубым венцом люфтовыбирающего колеса, токоподвод расположен внутри цапфы. Техническим результатом является повышение точности разворота рамок карданова подвеса, уменьшение массы и габаритов конструкции опоры, улучшение технологичности конструкции опоры карданова подвеса гиростабилизатора. 3 ил.

Формула изобретения

Опора карданова подвеса гиростабилизатора, содержащая стабилизирующий двигатель, преобразователь координат, цапфу оси подвеса, шарикоподшипник, редуктор, корпус, токоподвод коллекторного типа, отличающаяся тем, что в конструкцию опоры введены: косозубое люфтовыбирающее колесо с фланцем, четыре люфтовыбирающие пружины, дополнительный фланец опоры, при этом шарикоподшипник выполнен в виде дуплексного шарикоподшипника, цапфа выполнена с косозубым зубчатым венцом с посадочными местами для установки внутреннего кольца дуплексного шарикоподшипника и статора преобразователя координат, редуктор представляет собой два конических зубчатых колеса и червяк, который находится в зацеплении с косозубым венцом цапфы и косозубым венцом люфтовыбирающего колеса, корпус с крышкой и прикрепленной к ней планкой, на корпусе имеются посадочные места для наружных колец дуплексного шарикоподшипника, токоподвод расположен внутри цапфы.

Описание

[1]

Изобретение относится к области навигационного приборостроения и может быть использовано для создания прецизионных систем инерциальной навигации подвижных объектов.

[2]

Одной из составляющих инерциальных навигационных систем является гиростабилизатор, имеющий стабилизированную платформу с выставленными на ней гироскопами и акселерометрами. Стабилизированная платформа установлена в карданов подвес с расположенными на его осях датчиками угла и датчиками момента, имеющий одну, две или более рамок в зависимости от количества степеней свободы гиростабилизатора.

[3]

Необходимая точность вращения, надежность и долговечность гироскопических устройств достигается с помощью опор карданова подвеса, качество изготовления которых влияет на инструментальные погрешности гиростабилизатора.

[4]

Наибольшее распространение в гиростабилизаторах получили шарикоподшипниковые опоры карданова подвеса. Конструктивные схемы опор описаны в общедоступном литературном источнике: Гироскопические системы (элементы гироскопических приборов) Никитин Е.А., Шестов С.А., Матвеев В.А. Под ред. Пельпора Д.С. М., Высшая школа, 1988 г., с. 180-187. Недостатком этих опор является низкая точность разворота карданова подвеса.

[5]

Известна типовая конструкция узла сочленения подвеса, описанная в общедоступном литературном источнике: Гиростабилизаторы ракет. Назаров Б.И., Хлебников Г.А., М., Воениздат, 1975 г., рис. 1.25, с. 59, принятая за прототип. Она представляет собой шарикоподшипниковую опору, содержащую стабилизирующий двигатель, коллекторный токоподвод, цапфу оси подвеса, шарикоподшипник, датчик команд (преобразователь сигналов), корпус прибора.

[6]

Недостатками данной конструкции являются:

[7]

- отсутствие устройства для выборки люфтов в редукторе, что приводит к недостаточной точности разворота рамок карданова подвеса;

[8]

- невозможность производить выставку зацепления и регулировку опоры в собранном состоянии до установки в карданов подвес.

[9]

Задачей настоящего изобретения является повышение точности разворота рамок карданова подвеса, уменьшение массы и габаритов конструкции опоры, улучшение технологичности конструкции, заключающееся в том, что опора может дополнительно регулироваться в собранном состоянии до установки в карданов подвес.

[10]

Поставленная задача достигается тем, что в конструкцию опоры карданова подвеса гиростабилизатора, содержащую стабилизирующий двигатель, преобразователь координат, цапфу оси подвеса, шарикоподшипник, редуктор, корпус, токоподвод коллекторного типа, согласно изобретению введены: косозубое люфтовыбирающее колесо с фланцем, четыре люфтовыбирающие пружины, дополнительный фланец, при этом шарикоподшипник выполнен в виде дуплексного шарикоподшипника, цапфа выполнена с косозубым зубчатым венцом с посадочными местами для установки внутреннего кольца дуплексного шарикоподшипника и статора преобразователя координат, редуктор представляет собой два конических зубчатых колеса и червяк, который находится в зацеплении с косозубым венцом цапфы и косозубым венцом люфтовыбирающего колеса, корпус с крышкой и прикрепленной к ней планкой, на котором имеются посадочные местами для наружных колец дуплексного шарикоподшипника, токоподвод расположен внутри цапфы.

[11]

Предлагаемое устройство представлено на фи. 1-3.

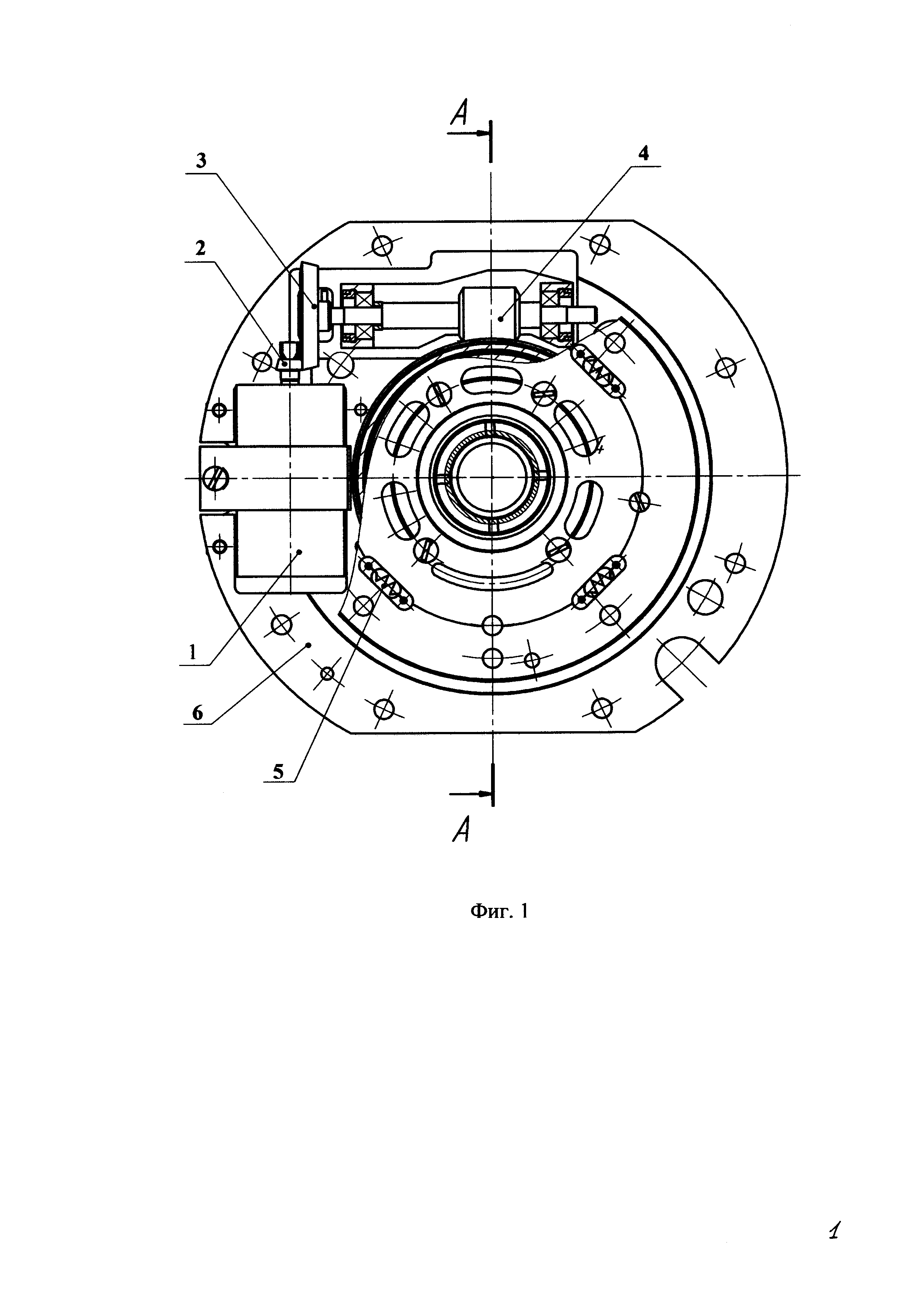
[12]

На фиг. 1 приведен вид спереди опоры карданова подвеса гиростабилизатора:

[13]

1 - стабилизирующий двигатель;

[14]

2 - первое коническое зубчатое колесо;

[15]

3 - второе коническое зубчатое колесо;

[16]

4 - червяк;

[17]

5 - люфтовыбирающая пружина (4 шт.);

[18]

6 - корпус.

[19]

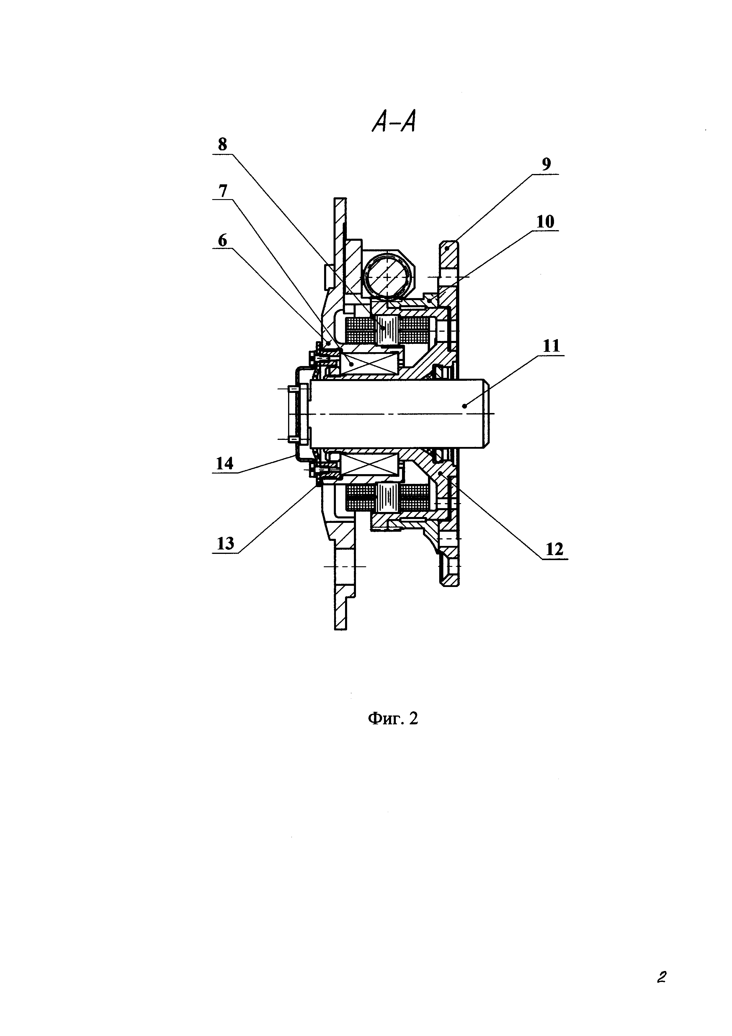
На фиг. 2 приведен разрез опоры карданова подвеса гиростабилизатора А-А:

[20]

6 - корпус;

[21]

7 - дуплексный шарикоподшипник;

[22]

8 - преобразователь координат;

[23]

9 - дополнительный фланец опоры;

[24]

10 - косозубое люфтовыбирающее колесо с фланцем;

[25]

11 - токоподвод коллекторного типа;

[26]

12 - цапфа оси подвеса;

[27]

13 - крышка;

[28]

14 - планка.

[29]

На фиг. 3 приведен вид сзади опоры карданова подвеса гиростабилизатора:

[30]

6 - корпус;

[31]

13 - крышка;

[32]

14 - планка.

[33]

Устройство работает следующим образом: при воздействии на гиростабилизатор возмущающего момента сигнал поступает на управляющую обмотку двигателя. Последний с помощью редуктора, червяк которого находится в зацеплении с цапфой и косозубым люфтовыбирающим колесом с фланцем, создает момент, противоположный по направлению и равный возмущающему моменту по величине, компенсируя тем самым его воздействие на платформу.

[34]

Для устранения люфта в выходной передаче опора подвеса выполнена сборной. На самой цапфе имеется зубчатый венец, рядом с которым стоит люфтовыбирающее колесо с такими же зубьями и фланцем. В нем находятся четыре люфтовыбирающие пружины, которые другим концом находятся в зацеплении с отверстиями, выполненными в дополнительном фланце опоры, чем достигается выборка люфта. Этот фланец крепится к рамке карданова подвеса.

[35]

При индивидуальной установке дуплексный шарикоподшипник устанавливается на вал цапфы и в корпус опоры с посадочным натягом, уменьшающим радиальный зазор за счет расширения внутреннего и сжатия наружного кольца. При этом уменьшаются возмущающие моменты. Для исключения осевого и радиального зазора в шарикоподшипнике создается предварительный осевой натяг (преднатяг).

[36]

Таким образом, заявлено устройство опоры карданова подвеса гиростабилизатора, содержащее стабилизирующий двигатель, преобразователь координат, цапфу оси подвеса, шарикоподшипник, редуктор, корпус, токоподвод коллекторного типа. Отличительной особенностью заявленного устройства является то, что в конструкцию опоры карданова подвеса введены: косозубое люфтовыбирающее колесо с фланцем, четыре люфтовыбирающие пружины, дополнительный фланец опоры, при этом шарикоподшипник выполнен в виде дуплексного шарикоподшипника, цапфа выполнена с косозубым зубчатым венцом с посадочными местами для установки внутреннего кольца дуплексного шарикоподшипника и статора преобразователя координат, редуктор представляет собой два конических зубчатых колеса и червяк, который находится в зацеплении с косозубым венцом люфтовыбирающего колеса, корпус с крышкой и прикрепленной к ней планкой, на корпусе имеются посадочные места для наружных колец дуплексного шарикоподшипника, токоподвод, расположенный внутри цапфы.

[37]

Техническим результатом является повышение точности разворота рамок карданова подвеса, уменьшение массы и габаритов конструкции опоры, улучшение технологичности конструкции опоры карданова подвеса гиростабилизатора за счет возможности регулировки зазора непосредственно в составе опоры, а не в сборке подвеса.

[38]

Технический результат достигается:

[39]

- регулировкой зубчатых зацеплений;

[40]

- выборкой люфтов в составе опоры;

[41]

- уменьшением возмущающих моментов при индивидуальной установке шарикоподшипника на вал цапфы и в корпус опоры с посадочным натягом, уменьшающим радиальный зазор в шарикоподшипнике за счет расширения внутреннего и сжатия наружного кольца;

[42]

- созданием предварительного осевого натяга (преднатяга), исключающего осевой и радиальный зазоры.

Как компенсировать расходы
на инновационную разработку
Похожие патенты