патент
№ RU 2581423
МПК H01L31/00

ВИДЕОСИСТЕМА НА КРИСТАЛЛЕ (ВАРИАНТЫ)

Авторы:
Адамов Денис Юрьевич Сомов Олег Анатольевич Лепендин Андрей Владимирович
Все (7)
Номер заявки
2015106261/28
Дата подачи заявки
24.02.2015
Опубликовано
20.04.2016
Страна
RU
Как управлять
интеллектуальной собственностью
Чертежи 
1
Реферат

Изобретение относится к устройствам регистрации видеоизображений. Видеосистема на кристалле содержит цветное фотоприемное устройство с функцией спектрального разделения светового потока в зависимости от глубины проникновения фотоэлектронов в кристалл. В первом варианте на этом же кристалле размещают блок коммутации, блок управления и блок построения изображения. Во втором варианте на кристалле размещают блок вычитания, арифметико-логическое устройство, блок управления, сумматор и блок логического «И». Технический результат - повышение помехоустойчивости и быстродействия видеосистемы, повышение отношения сигнал/шум для обнаружения малоконтрастных объектов, повышение достоверности классификации объектов по спектральным признакам. 2 н.п. ф-лы, 2 ил.

Формула изобретения

1. Видеосистема на кристалле, включающая цветное фотоприемное устройство, обладающее функцией спектрального разделения светового потока в зависимости от глубины проникновения фотоэлектронов в кристалл, отличающаяся тем, что в видеосистему на кристалле дополнительно введены блок коммутации, входы K1…KN которого соединены с соответствующими выходами цветного фотоприемного устройства, блок управления, один из выходов которого соединен с входом блока коммутации, а другой - с входом блока построения изображений, входы K1…KN которого соединены с соответствующими выходами блока коммутации, на выходе блока построения изображений формируется выходной видеосигнал.

2. Видеосистема на кристалле, включающая цветное фотоприемное устройство, обладающее функцией спектрального разделения светового потока в зависимости от глубины проникновения фотоэлектронов в кристалл, отличающаяся тем, что в видеосистему на кристалле дополнительно введены блок вычитания, входы K1…KN которого соединены с соответствующими выходами цветного фотоприемного устройства, арифметико-логическое устройство, входы K1-K2, K2-K3…KN-1-KN которого соединены с соответствующими выходами блока вычитания, блок управления, один из выходов которого соединен с входом арифметико-логического устройства, а другой - с входом сумматора, входы K1…KNкоторого соединены с соответствующими выходами цветного фотоприемного устройства, и блок логическое «И», вход Bi которого соединен с выходом арифметико-логического устройства, вход KΣ соединен с выходом сумматора, на выходе блока логическое «И» формируется выходной видеосигнал.

Описание

[1]

Изобретение относится к области телевидения и цифровой фотографии, в частности к устройствам регистрации видеоизображений.

[2]

Известно устройство, описанное в заявке на изобретение RU 2012137834 А (опубл. 10.03.2014) «Способ формирования спектрозональных видеокадров и устройство для его осуществления», включающее оптическую систему, в фокальной плоскости которой расположен переменный интерференционный фильтр, проекционную оптическую систему, в плоскости изображений которой расположена фоточувствительная поверхность цифровой телекамеры, запоминающее устройство исходных видеокадров, подключенное к выходу цифровой телекамеры. Устройство осуществляет последовательное формирование оптического изображения, разложение оптического изображения по спектральным зонам с помощью переменного интерференционного фильтра, перенос оптического изображения на матричное фотоприемное устройство цифровой телекамеры, получение цифровых видеокадров и их запоминание в запоминающем устройстве.

[3]

Недостатками известного устройства являются «грубая» дискретизация по времени и ограниченный спектральный диапазон работы телекамеры, так как разложение оптического изображения по спектральным зонам осуществляется переменным интерференционным светофильтром, расположенным в плоскости оптического изображения.

[4]

Также известно устройство, описанное в заявке на изобретение SU 1582924 А1 (опубл. 27.01.2003) «Цветная телевизионная камера», включающее твердотельный линейный приемник изображения с цветокодирующим фильтром, элементы которого размещены над фоточувствительными элементами приемника, а выход приемника подключен к входу блока разделения цветовых каналов. Цветокодирующий фильтр выполнен из повторяющихся элементов голубого, белого, желтого и белого цветов. В камеру дополнительно введены блоки цветокоррекции и коррекции неравномерности чувствительности, при этом вход блока цветокоррекции соединен с выходом приемника изображения, выход блока цветокоррекции соединен с входом блока коррекции неравномерности чувствительности, выход которого соединен с входом блока разделения цветовых каналов.

[5]

Недостатком известного устройства является «грубая» дискретизация по полю, вызванная использованием в телевизионной камере мозаичного кодирующего светофильтра для разделения цветовых каналов.

[6]

Наиболее близким по своей технической сути к заявляемому устройству является устройство, описанное в патенте на изобретение US 6632701 В2 (опубл. 14.10.2003) «Массив датчиков с вертикальным цветным фильтром», содержащее массив фотоприемных элементов, каждый из которых представляет собой три области, поглощающих синий, зеленый и красный цвета видимого спектра излучения, расположенных друг под другом в одном элементе; каждый элемент формирует три выходных сигнала фототока, меняющегося в зависимости от изменения интенсивности и спектрального состава светового потока. Синий цвет, имеющий самую короткую длину волны в видимом диапазоне, поглощается раньше других, и фотодетектор, поглощающий синий цвет, находится ближе всего к поверхности кристалла, красный цвет имеет самую большую длину волны в видимом диапазоне и проникает глубже остальных в кремний, поэтому фотодетектор, поглощающий красный цвет, находится глубже всех остальных, фотодетектор, поглощающий зеленый цвет, находится между красным и синим.

[7]

Недостатками прототипа являются ограниченный спектральный диапазон чувствительности датчика, т.к. отсутствуют инфракрасная и ультрафиолетовая области спектра, низкая помехоустойчивость системы, а также необходимость подключения дополнительных модулей для построения полноценной видеосистемы.

[8]

Техническим результатом заявляемого устройства является повышение помехоустойчивости и быстродействия видеосистемы, уменьшение собственных шумов элементов видеосистемы, повышение отношения сигнал/шум для обнаружения малоконтрастных объектов, повышение достоверности классификации объектов по спектральным признакам.

[9]

Другим техническим результатом является повышение степени интеграции микросхем на одном кристалле для упрощения и универсализации конструирования видеосистем.

[10]

Это достигается тем, что видеосистема на кристалле, содержащая цветное фотоприемное устройство, обладающее функцией спектрального разделения светового потока в зависимости от глубины проникновения фотоэлектронов в кристалл, отличается тем, что в видеосистему на кристалле дополнительно введены блок коммутации, входы K1…KN которого соединены с соответствующими выходами цветного фотоприемного устройства, блок управления, один из выходов которого соединен с входом блока коммутации, а другой - с входом блока построения изображений, входы K1…KN которого соединены с соответствующими выходами блока коммутации, выходной видеосигнал формируется на выходе блока построения изображений.

[11]

Во втором варианте это достигается тем, что видеосистема на кристалле, включающая цветное фотоприемное устройство, обладающее функцией спектрального разделения светового потока в зависимости от глубины проникновения фотоэлектронов в кристалл, отличается тем, что в видеосистему на кристалле дополнительно введены блок вычитания, входы K1…KN которого соединены с соответствующими выходами цветного фотоприемного устройства, арифметико-логическое устройство, входы K1-K2, K2-K3…KN-1-KN которого соединены с соответствующими выходами блока вычитания, блок управления, один из выходов которого соединен с входом арифметико-логического устройства, а другой - с входом сумматора, входы K1…KN которого соединены с соответствующими выходами цветного фотоприемного устройства, и блок логическое «И», вход Bi которого соединен с выходом арифметико-логического устройства, вход KΣ соединен с выходом сумматора, выходной видеосигнал формируется на выходе блока логическое «И».

[12]

Представленные чертежи поясняют суть предлагаемого технического решения.

[13]

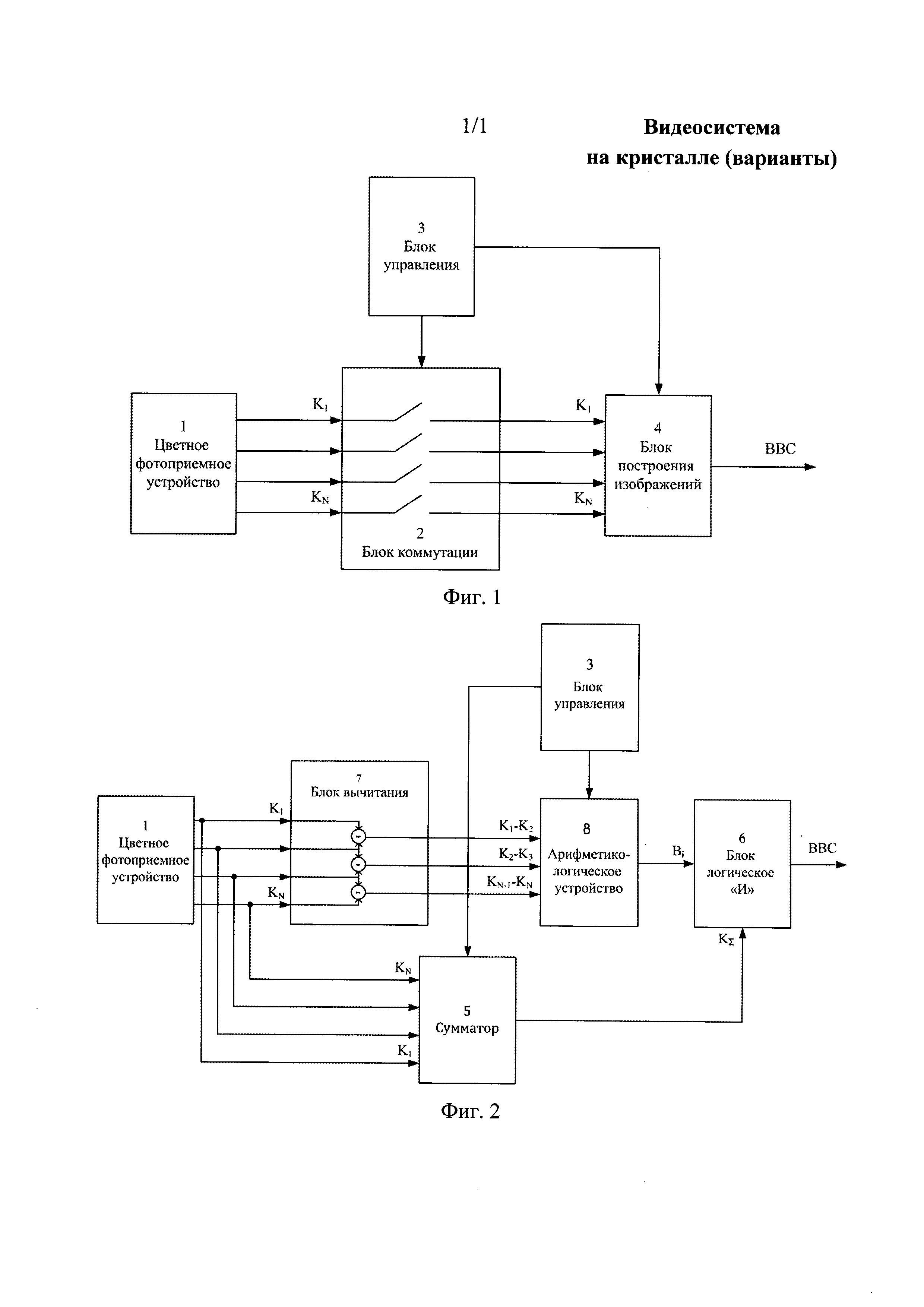
На Фиг. 1 изображена структурная схема видеосистемы на кристалле для обнаружения малоконтрастных объектов.

[14]

На Фиг. 2 изображен другой вариант видеосистемы на кристалле для классификации объектов по спектральным признакам.

[15]

Видеосистема на кристалле для обнаружения малоконтрастных объектов, изображенная на Фиг. 1, включает в себя цветное фотоприемное устройство 1, обладающее функцией спектрального разделения светового потока в зависимости от глубины проникновения фотоэлектронов в кристалл, блок 2 коммутации, входы K1…KN которого соединены с соответствующими выходами цветного фотоприемного устройства 1, блок 3 управления, один из выходов которого соединен с входом блока 2 коммутации, блок 4 построения изображений, входы K1…KN которого соединены с соответствующими выходами блока 2 коммутации, вход сигналов управления соединен с выходом блока 3 управления, а на выходе блока 4 построения изображений формируется выходной видеосигнал.

[16]

Видеосистема на кристалле для классификации объектов по спектральным признакам, изображенная на Фиг. 2, включает в себя цветное фотоприемное устройство 1, обладающее функцией спектрального разделения светового потока в зависимости от глубины проникновения фотоэлектронов в кристалл, блок 7 вычитания входы K1…KN которого соединены с соответствующими выходами цветного фотоприемного устройства 1, арифметико-логическое устройство 8, входы K1-K2, K2-K3…KN-1-KN которого соединены с соответствующими выходами блока 7 вычитания, блок 3 управления, один из выходов которого соединен со входом сигналов управления арифметико-логического устройства 8, сумматор 5, входы K1…KN которого соединены с соответствующими выходами цветного фотоприемного устройства, вход сигналов управления сумматора 5 соединен с выходом блока 3 управления, и блок 6 логическое «И», вход Bi которого соединен с выходом арифметико-логического устройства 8, вход КΣ соединен с выходом сумматора 5, а на выходе блока 6 логическое «И» формируется выходной видеосигнал.

[17]

В видеосистеме на кристалле для обнаружения малоконтрастных объектов (см. Фиг. 1) световой поток проецируется на цветное фотоприемное устройство 1, обладающее функцией спектрального разделения падающего светового потока по глубине проникновения фотонов в кристалл фотоприемника, за счет чего фотоприемное устройство формирует выходные сигналы K1…KN разных спектральных диапазонов без потери в цветовой разрешающей способности и без использования кодирующих светофильтров, включая ближние ультрафиолетовый и инфракрасный диапазоны. Видеосигналы K1…KN поступают на блок 2 коммутации, где с помощью блока 3 управления выбираются необходимые сигналы для построения видеоизображения, после чего выбранные сигналы поступают на блок 4 построения изображений, где после проведения требуемых операций преобразования и суммирования формируется выходной видеосигнал (ВВС). Данные для проведения операций задаются в блоке 3 управления, после чего поступают на блок 4 построения изображений. Блок 2 коммутации используется для выбора видеосигналов требуемого спектрального диапазона, в которых наблюдается максимальный контраст цели, а видеосигналы тех спектральных диапазонов, контраст цели в которых ниже порогового значения, отсеиваются, за счет чего в блоке 4 построения изображений формируется выходной мультиспектральный видеосигнал с максимально возможным контрастом изображения объекта.

[18]

В видеосистеме на кристалле для классификации объектов по спектральным признакам (см. Фиг. 2) световой поток проецируется на цветное фотоприемное устройство 1, как описано выше. Выходные сигналы фотоприемного устройства K1…KN разных спектральных диапазонов поступают на блок 7 вычитания. Разностные сигналы K1-K2, K2-K3…KN-1-KN поступают на арифметико-логическое устройство 8, где производится операция сравнения поступивших разностных сигналов с областью разрешенных сигналов, задающейся в блоке 3 управления. Арифметико-логическое устройство 8 проверяет наличие объекта заданного спектрального класса на изображении (параметры задаются в блоке 3 управления), на выходе формируется бинарный сигнал видеоизображения Bi. Бинарный сигнал Bi представляет собой последовательность кадров, состоящих из «0» и «1», причем в местах, где найден объект, формируются «1», а где объекта нет - «0». Выходные сигналы цветного фотоприемного устройства 1 K1…KNпоступают на сумматор 5, в котором складываются, и суммарный сигнал видеоизображения KΣ поступает на блок 6 логическое «И», где берется произведение сигнала видеоизображения КΣ с сигналом Bi, за счет чего области изображения, содержащие цель, остаются неизмененными, а остальные неинформативные области изображения считаются фоном и обнуляются. На выходе блока 6 логическое «И» формируется выходной видеосигнал (ВВС), представляющий собой последовательность изображений, содержащих яркостной сигнал целей на нулевом фоне.

[19]

Отличие заявленного устройства от прототипа заключается в том, что на одном кристалле, помимо многоцветного фотоприемного устройства с функцией спектрального разделения светового потока в зависимости от глубины проникновения фотоэлектронов в кристалл, дополнительно размещены блок коммутации, блок управления и блок построения изображения в первом варианте, блок вычитания, арифметико-логическое устройство, блок управления, сумматор и блок логическое «И» во втором варианте, в результате чего на одном кристалле размещается полноценная видеосистема, что позволяет существенно снизить собственные шумы видеосистемы, повысить помехоустойчивость и быстродействие видеосистемы, а за счет использования многоцветного фотоприемного устройства с функцией глубинного считывания фотоэлектронов - избежать использования кодирующих светофильтров, повысить цветовое разрешение мультиспектральных изображений, уменьшить цветовые искажения, повысить чувствительность видеосистемы, повысить отношение сигнал/шум при обнаружении малоконтрастных объектов и достоверность классификации объектов по спектральным признакам.

Как компенсировать расходы
на инновационную разработку
Похожие патенты