патент
№ RU 2293894
МПК F16J15/16
Номер заявки
2005120229/06
Дата подачи заявки
30.06.2005
Опубликовано
20.02.2007
Страна
RU
Как управлять
интеллектуальной собственностью
Чертежи 
3
Реферат

[30]

Изобретение относится к области машиностроения, в частности к устройствам для уплотнения зазора между подвижными относительно одна другой деталями, а именно к щеточным уплотнениям. Щеточное уплотнение зазора между выполненными с возможностью перемещения одна относительно другой деталями содержит установленный в одной из деталей узел, выполненный в виде гибких уплотняющих элементов, размещенных между пластинами и на части поверхности жестко связанных с последними. Уплотняющие элементы выполнены изогнутыми с образованием двух ветвей, разделенных расположенной между ними проставкой. Техническим результатом изобретения является улучшение уплотняющих свойств и повышение ресурса работы щеточного уплотнения. 9 з.п. ф-лы, 4 ил.

Формула изобретения

1. Щеточное уплотнение зазора между выполненными с возможностью перемещения одна относительно другой деталями, содержащее установленный в одной из деталей узел, выполненный в виде гибких уплотняющих элементов, размещенных между пластинами и на части поверхности жестко связанных с последними, отличающийся тем, что уплотняющие элементы выполнены изогнутыми с образованием двух ветвей, разделенных расположенной между ними проставкой.

2. Уплотнение по п.1, отличающееся тем, что уплотняющие элементы выполнены в виде пластин и/или волокон.

3. Уплотнение по п.1, отличающееся тем, что уплотняющие элементы выполнены металлическими.

4. Уплотнение по п.1, отличающееся тем, что длина ветвей уплотняющих элементов выполнена разной.

5. Уплотнение по п.4, отличающееся тем, что каждая из ветвей сопряжена с соответствующей поверхностью другой детали.

6. Уплотнение по п.1, отличающееся тем, что уплотняющие элементы выполнены в виде пакета, а толщина проставки составляет не менее двух толщин последнего.

7. Уплотнение по п.1, отличающееся тем, что профиль проставки выполнен U-образным.

8. Уплотнение по п.1, отличающееся тем, что профиль проставки в зоне изгиба уплотняющих элементов ограничен выпуклой кривой.

9. Уплотнение по п.1, отличающееся тем, что зазор между поверхностью другой детали и ответной поверхностью боковой пластины и/или проставки выполнен в виде щелевого уплотнения.

10. Уплотнение по п.1, отличающееся тем, что на поверхности боковой пластины и/или проставки, ответной поверхности другой детали, выполнены гребешки лабиринтного уплотнения.

Описание

[1]

Изобретение относится к области машиностроения, в частности к устройствам для уплотнения зазора между подвижными относительно одна другой деталями, а именно к щеточным уплотнениям.

[2]

Известно щеточное уплотнение зазора между статором и ротором, содержащее установленный в одной из деталей узел, выполненный в виде закрепленных в корпусе пучков проволоки из разных материалов (авт. свид. 1665136 А1, кл. F 16 J 15/16, опубл. 23.07.91). Такое уплотнение неэффективно из-за больших зазоров между пучками проволоки.

[3]

Известно щеточное уплотнение зазора между статором и ротором, содержащее установленный в одной из деталей узел, выполненный в виде гибких уплотняющих элементов, размещенных между пластинами, и на части поверхности жестко связанных с последними (патент RU 2206807 С2, кл. F 16 J 15/447, опубл. 20.06.2003). Это техническое решение является наиболее близким к предложенному. Уплотнение по указанному патенту содержит выполненные в роторе канавки для охлаждения поверхности ротора и рабочих участков уплотняющих элементов для увеличения ресурса работы и улучшения его уплотняющих свойств.

[4]

Однако и ресурс работы, и уплотняющие свойства этого устройства недостаточно высоки.

[5]

Для обеспечения требуемой герметичности разделяемых газовых полостей необходимо иметь определенное количество плотно уложенных гибких уплотняющих элементов, например, проволок в зазоре уплотняемой пары, то есть в одном узле они укладываются одна к другой в несколько слоев, что при большом количестве приводит к увеличению жесткости пакета, чрезмерному обжатию вала и быстрому износу сопрягаемых поверхностей. Кроме того, многослойная намотка как наилучший способ получения упорядоченной укладки при постоянном натяге проволоки теряет свою упорядоченность.

[6]

Техническим результатом заявленного изобретения является улучшение уплотняющих свойств и повышение ресурса работы щеточного уплотнения.

[7]

Указанный технический результат достигается в щеточном уплотнении зазора между выполненными с возможностью перемещения одна относительно другой деталями, содержащем установленный в одной из деталей узел, выполненный в виде гибких уплотняющих элементов, размещенных между пластинами, и на части поверхности жестко связанных с последними, причем уплотняющие элементы выполнены изогнутыми с образованием двух ветвей, разделенных расположенной между ними проставкой.

[8]

Уплотняющие элементы могут быть выполнены в виде пластин и/или волокон, что расширяет диапазон использования уплотнения.

[9]

Уплотняющие элементы могут быть выполнены металлическими, что увеличивает ресурс работы уплотнения.

[10]

Длина ветвей уплотняющих элементов может быть выполнена разной, что расширяет диапазон использования уплотнения.

[11]

Каждая из ветвей может быть сопряжена с соответствующей поверхностью другой детали, что позволяет уплотнять зазоры в ступенчатых деталях.

[12]

Уплотняющие элементы могут быть выполнены в виде пакета, а толщина проставки составлять не менее двух толщин последнего, что повышает уплотняющие свойства уплотнения.

[13]

Профиль проставки может быть выполнен U-образным, что облегчает конструкцию.

[14]

Профиль проставки в зоне изгиба уплотняющих элементов может быть ограничен выпуклой кривой, что повышает прочность уплотнения и оптимизирует технологию его изготовления.

[15]

Зазор между поверхностью другой детали и ответной поверхностью боковой пластины и/или проставки может быть выполнен в виде щелевого уплотнения, что улучшает уплотняющие свойства уплотнения.

[16]

На поверхности боковой пластины и/или проставки, ответной поверхности другой детали, могут быть выполнены гребешки лабиринтного уплотнения, что улучшает уплотняющие свойства уплотнения.

[17]

На фиг.1-4 показаны примеры выполнения уплотнения:

[18]

фиг.1 - узел уплотнения;

[19]

фиг.2 - уплотнение радиального зазора между ротором и статором;

[20]

фиг.3 - уплотнение осевого (торцового) зазора между ротором и статором;

[21]

фиг.4 - узел уплотнения с проставкой U-образного профиля.

[22]

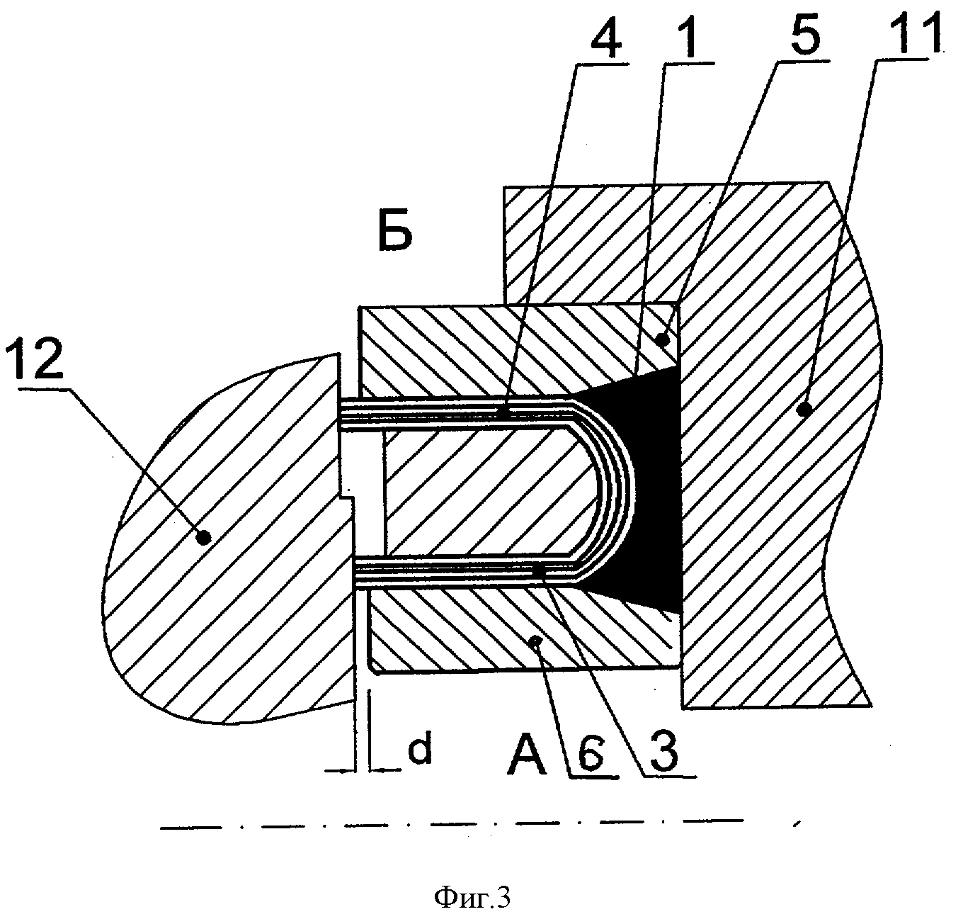
Щеточное уплотнение содержит узел 1, выполненный в виде гибких уплотняющих элементов 2, изогнутых с образованием двух ветвей 3 и 4 и размещенных между пластинами 5 и 6. Ветви 3 и 4 разделены расположенной между ними проставкой 7. Уплотняющие элементы 2 выполнены в виде металлической проволоки и на части поверхности жестко соединены с пластинами 5 и 6, например, при помощи сварки. При этом одна из пластин 5 или 6 или обе выполнены с превышением габаритов уплотняющих элементов 2 в зоне их изгиба для обеспечения большей прочности соединения и возможности использования для сварки материала пластин 5, 6.

[23]

Профиль проставки 7 в зоне изгиба уплотняющих элементов 2 ограничен выпуклой кривой, минимальный радиус r сопряжения которой составляет r=2b, где b - толщина проволоки. Толщина l проставки 7 составляет l=2,5t, где t - толщина пакета уплотняющих элементов 2.

[24]

В щеточном уплотнении (фиг.2) радиального зазора между статором 8 и ротором 9 узел 1 установлен в статоре 8 и разделяет полости А и Б высокого и низкого давления. На поверхности проставки 7 выполнены гребешки 10 лабиринтного уплотнения.

[25]

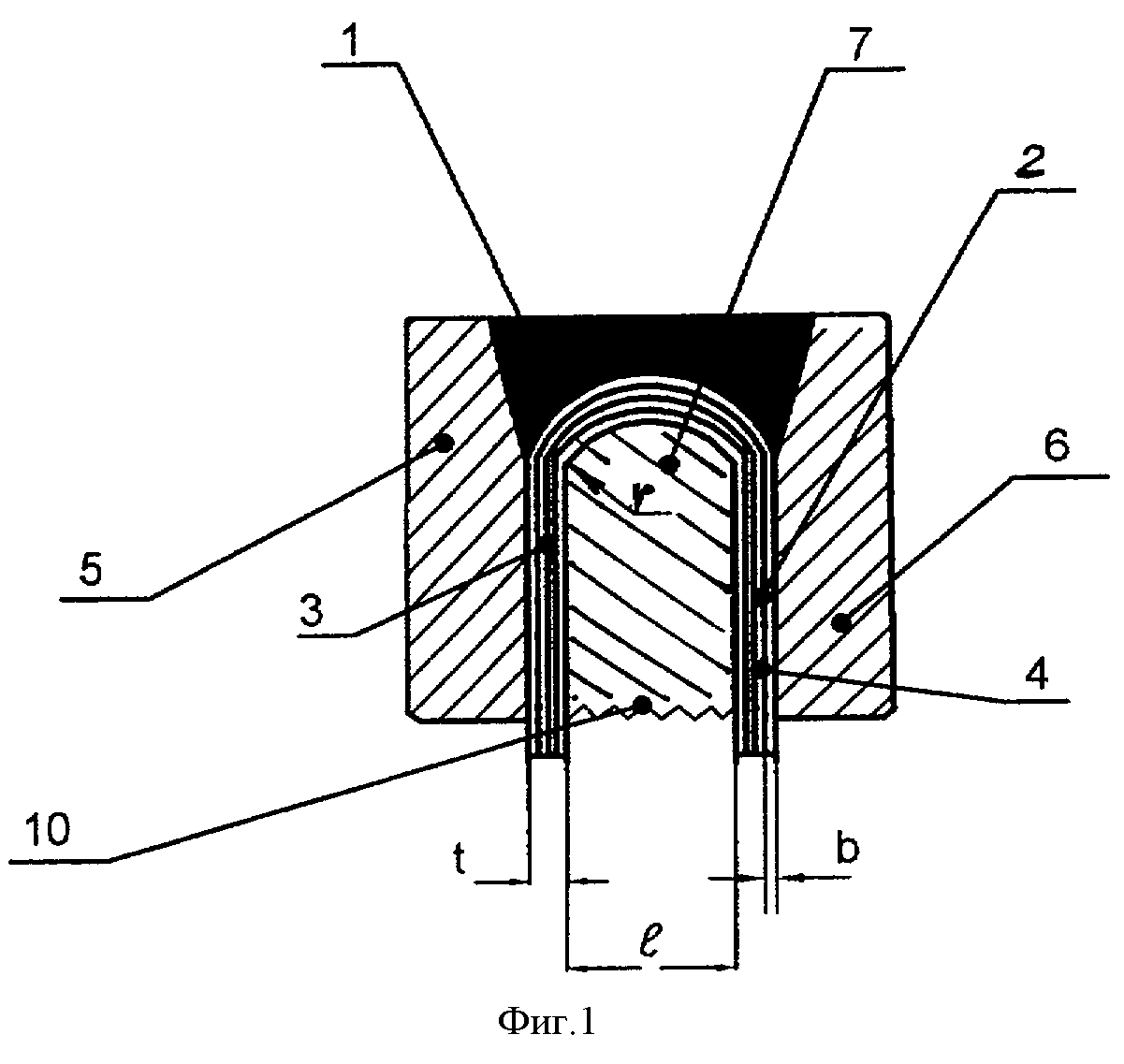
В щеточном уплотнении (фиг.3) осевого (торцового) зазора между статором 11 и ротором 12 в узле 1 длина ветвей 3, 4 выполнена разной и каждая из ветвей 3, 4 сопряжена с соответствующей поверхностью ротора 12. Зазор d между пластиной 6 и ротором 12 выполнен в виде щелевого уплотнения.

[26]

На фиг.4 показан узел 1, в котором проставка 7 имеет U-образный профиль.

[27]

Во время работы уплотнения гибкие уплотняющие элементы 2 обеспечивают плотное перекрытие зазора между статором 8 (12) и ротором 9 (11). Гибкость элементов 2 допускает некоторое смещение ротора, которое может возникать в эксплуатации от действия центробежных сил или тепловых расширений.

[28]

Выполнение лабиринтных гребешков 10 (фиг.2) или зазора d в виде щелевого уплотнения (фиг.3) делает уплотнение более эффективным.

[29]

Изобретение может быть использовано в различных отраслях машиностроения, в частности в авиационных и стационарных турбомашинах.

Как компенсировать расходы
на инновационную разработку
Похожие патенты