патент
№ RU 2669618
МПК A61B5/053

СИСТЕМА КОНТРОЛЯ СОСТАВА И ОБЪЕМОВ ТЕЛА ДЛЯ ФОРМИРОВАНИЯ ОЗДОРОВИТЕЛЬНЫХ МЕРОПРИЯТИЙ И ПРОГРАММ ПИТАНИЯ

Авторы:
Баландин Михаил Юрьевич Никитюк Дмитрий Борисович Чичуа Давид Тариэлович
Все (6)
Номер заявки
2017116621
Дата подачи заявки
12.05.2017
Опубликовано
12.10.2018
Страна
RU
Как управлять
интеллектуальной собственностью
Чертежи 
2
Реферат

Изобретение относится к медицинской технике, а именно к системе контроля состава и объемов тела для формирования оздоровительных мероприятий и программ питания. Система включает в себя электронный модуль. В электронном модуле заложен программный продукт. Электронный модуль связан беспроводной связью с мобильным блоком. Мобильный блок оснащен электродами. Мобильный блок выполнен в виде платформы с возможностью вращения, посредством привода, оснащен 3D сканером и блоком биоимпеданса. Электроды для ног установлены на платформе. Электроды для рук выполнены для размещения спереди или сзади пациента. Системный блок имеет возможность контакта с осветителями и камерами. Достигается получение максимально точных данных, включая данные 3D сканера, состояния тела человека и его опорно-двигательной системы с интерпретацией выявленных отклонений, для выработки рекомендаций коррекции питания, физической активности и оценки их эффективности в динамике. 2 ил.

Формула изобретения

Система контроля состава и объемов тела для формирования оздоровительных мероприятий и программ питания, включающая электронный модуль, связанный беспроводной связью с мобильным блоком, оснащенным электродами, отличающаяся тем, что в электронном модуле заложен программный продукт, мобильный блок выполнен в виде платформы с возможностью вращения, посредством привода, оснащенной 3D сканером и блоком биоимпеданса, электродами для ног, установленными на платформе, электродами для рук, выполненными для размещения спереди или сзади пациента, кроме того, системный блок имеет возможность контакта с осветителями и камерами.

Описание

[1]

Изобретение относится к области спорта, фитнеса, физической культуры и велнес процедур, в частности к измерениям, осуществляемым для диагностических целей с использованием электрической проводимости или сопротивления части тела, а именно предназначено для определения состава тела человека, а так же построение 3D модели тела человека по средствам специальной программной обработки видеозаписи вращения тела на специальной платформе для выработки рекомендаций по питанию, программ СПА, фитнес мероприятий.

[2]

Известны исследования биоимпедансного анализа состава тела человека, в которых описаны общие теоретические основы и практическое приложение использования его в клинической практике и скрининговых исследованиях. При этом используются активное и реактивное сопротивление электрической проводимости биологических тканей и на их основе расчеты характеристик состава тела, таких как жировая, тощая, клеточная и скелетно-мышечная масса, объем и распределение воды в организме (Биоимпедансный анализ состава тела человека / Д.В. Николаев, А.В. Смирнов, И.Г. Бобринская, С.Г. Руднев. - М.: Наука, 2009. - 392 с.).

[3]

Известны из сети интернет различные устройства типа «Танита», АВС-02 МЕДАСС, ручной жироанализатор, и иные, используемые для анализа состава тела с использованием импедансометрии (http://give.kz/index.php?route /cate=product gory&path=983; http://biosite.ru/catalog/l/24/39; http://inpox.ru/metod-bioelektricheskogo-soprotivleniya/; http://ferrum-body.ru/bioimpedans-kak-metod-analiza-sostava-tela-cheloveka.html).

[4]

Однако известные устройства и системы предлагают пользователям разрозненную информацию и не позволяют сочетать данные биоимпеданса и 3D сканера тела человека.

[5]

Известен прибор для измерения состава тела, содержащий средство измерения биоэлектрического сопротивления, средство измерения веса, средство ввода персональных физиологических данных, средство запоминания, средство вычисления значений состава тела, соединенные со средствами коммуникации для передачи результатов, причем упомянутое средство вычисления содержит средство сравнения, осуществляющее сравнение между последними измеренными значениями двух разных параметров состава тела человека и предыдущими значениями этих параметров, измеренными для этого же человека, в котором средства коммуникации содержат устройство графической или световой индикации, содержащее центральную зону и, по меньшей мере, одну периферическую зону индикации упомянутого сообщения, при этом средство вычисления содержит средство анализа двух результатов, поступающих от средства сравнения, для передачи на упомянутые средства коммуникации одного сообщения, отображающего совместное изменение этих двух параметров, либо путем освещения центральной зоны, либо путем освещения периферической зоны (Патент №2394483RU. Опубл. 20.07.2010 г.).

[6]

Однако известный прибор не оснащен 3D сканером тела человека.

[7]

Известен многочастотный измеритель биоимпеданса, содержащий последовательно соединенные измерительные электроды, инструментальный усилитель, блок детекторов, блок управляемых фильтров, второй вход которого подключен ко второму выходу блока детекторов, микроконтроллер, второй вход которого подключен ко второму выходу блока управляемых фильтров, а третий и четвертый выходы - к третьему и четвертому входам блока управляемых фильтров, и блок генераторов, второй вход которого подключен к второму выходу микроконтроллера, а два его выхода соединены со вторым и третьим входами блока детекторов, а также блок связи с ПЭВМ, подключенный к пятому выходу микроконтроллера, блок управления, предназначенный для управления режимами работы микроконтроллера и подключенный к третьему его входу, и токовые электроды, предназначенные для ввода зондирующего тока в исследуемый объект, в котором для стабилизации зондирующего тока в широком диапазоне частот в него дополнительно введены программируемый усилитель, первый вход которого соединен с первым выходом блока генераторов, а второй - с шестым выходом микроконтроллера, блок согласования, подключенный к выходу программируемого усилителя, вторым выходом соединенный с первым токовым электродом, сигнальный резистор, первый вывод которого соединен с первым выходом блока согласования, а второй - со вторым токовым электродом, преобразователь ток-напряжение, два входа которого подключены к выводам сигнального резистора, выпрямитель, вход которого подключен к выходу преобразователя ток/напряжение, а выход - к четвертому входу микроконтроллера, и два цифроаналоговых преобразователя, входы которых подключены к седьмому и восьмому выходам микроконтроллера, а выходы - к четвертому и пятому входам блока детекторов (Патент №2432900 RU. Опубл. 10.11.2011 г.).

[8]

Однако известный многочастотный измеритель биоимпеданса не оснащен 3D сканером тела человека.

[9]

Известно устройство для определения антропометрических параметров и состава тела, содержащее антропометрический блок, имеющий средство для определения объема тела субъекта, подлежащего измерению, выбранный из группы, состоящей из оптических средств, ультразвуковых средств и систем структурированного света; биоимпедансную систему; система для измерения массы тела; система управления и блок обработки данных (ЕР 1882447. Опубл. 30.01.2008 г.).

[10]

Однако известное устройство не оснащено 3D сканером тела человека для получения максимально уточненных данных. Кроме того, не обладает простотой использования.

[11]

Известна система для прогнозирования сердечного события пациента, включающая способ и устройство для индивидуализации физиологических параметров, которое прикреплено к пациенту для электронного измерения данных импеданса от пациента; механизм ввода для приема дескриптивных данных пациента, указывающих, по меньшей мере, одну описательную характеристику пациента; а также процессор и осязаемую память, читаемую процессором, в котором память хранит команды для получения данных об импедансе; получение описательных данных пациента, указывающие, по меньшей мере, одну характеристику пациента (US 20110245711. Опубл. 06.10.2011).

[12]

Однако известная система предназначена для использования данных импеданса для выявления сердечных событий у пациента. Кроме того, известная система не оснащена 3D сканером.

[13]

Известна биотехническая система контроля биоимпеданса, состоящая из ЭВМ и мобильного блока, содержащего активный и пассивный электроды и их токоподводы, электронный модуль, аккумуляторный блок питания и беспроводный интерфейс, подключенный к выходу электронного модуля и осуществляющий через радиоканал связь мобильного блока с ЭВМ, в которой корпус мобильного блока выполнен в виде полого цилиндра, закрытого с одной стороны конусообразным колпачком, а с другой стороны - цилиндрической крышкой, внутри которого расположены мембрана, закрепленная перпендикулярно продольной оси цилиндрического корпуса, в центре которой закреплен один из концов стержня активного электрода, при этом другой его конец установлен в осевое отверстие конусообразного колпачка, и электронный модуль; а на наружной поверхности корпуса установлены пассивный электрод, выполненный в виде токопроводящего кольца, кнопка, беспроводный интерфейс и аккумуляторный блок питания, общий провод которого подключен к пассивному электроду и первому выводу кнопки (Патент №2570071 RU. Опубл. 10.12.2015 г.).

[14]

Однако известная биотехническая система контроля биоимпеданса не позволяет сочетать данные биоимпеданса и 3D сканера тела человека, для получения максимально точных данных. Кроме того, не обладает простотой использования.

[15]

Задачей настоящего изобретения является расширение арсенала простых средств для оценки состояния тела и организма человека, результат которых проявляется в получении максимально точных данных, включая данные 3D сканера, состояния тела человека и его опорно-двигательной системы с интерпретацией выявленных отклонений, для выработки рекомендаций коррекции питания, физической активности и оценки их эффективности в динамике.

[16]

Поставленная задача достигается тем, что в системе биометрического контроля состава и объемов тела для формирования оздоровительных мероприятий и программ питания, включающей электронный модуль, связанный беспроводной связью с мобильным блоком оснащенным электродами, в электронном модуле заложен программный продукт, оснащенный алгоритмами, мобильный блок выполнен в виде платформы с возможностью вращения, посредством привода, оснащенной 3D сканером и блоком биоимпеданса, электродами для ног, установленными на платформе, электродами для рук, выполненными в виде варианта «а», для размещения спереди пациента, или в виде варианта «в», для размещения сзади пациента, кроме того, системный блок имеет возможность контакта с осветителями и камерами.

[17]

Настоящее изобретение поясняют подробным описанием, иллюстративным материалом, на котором:

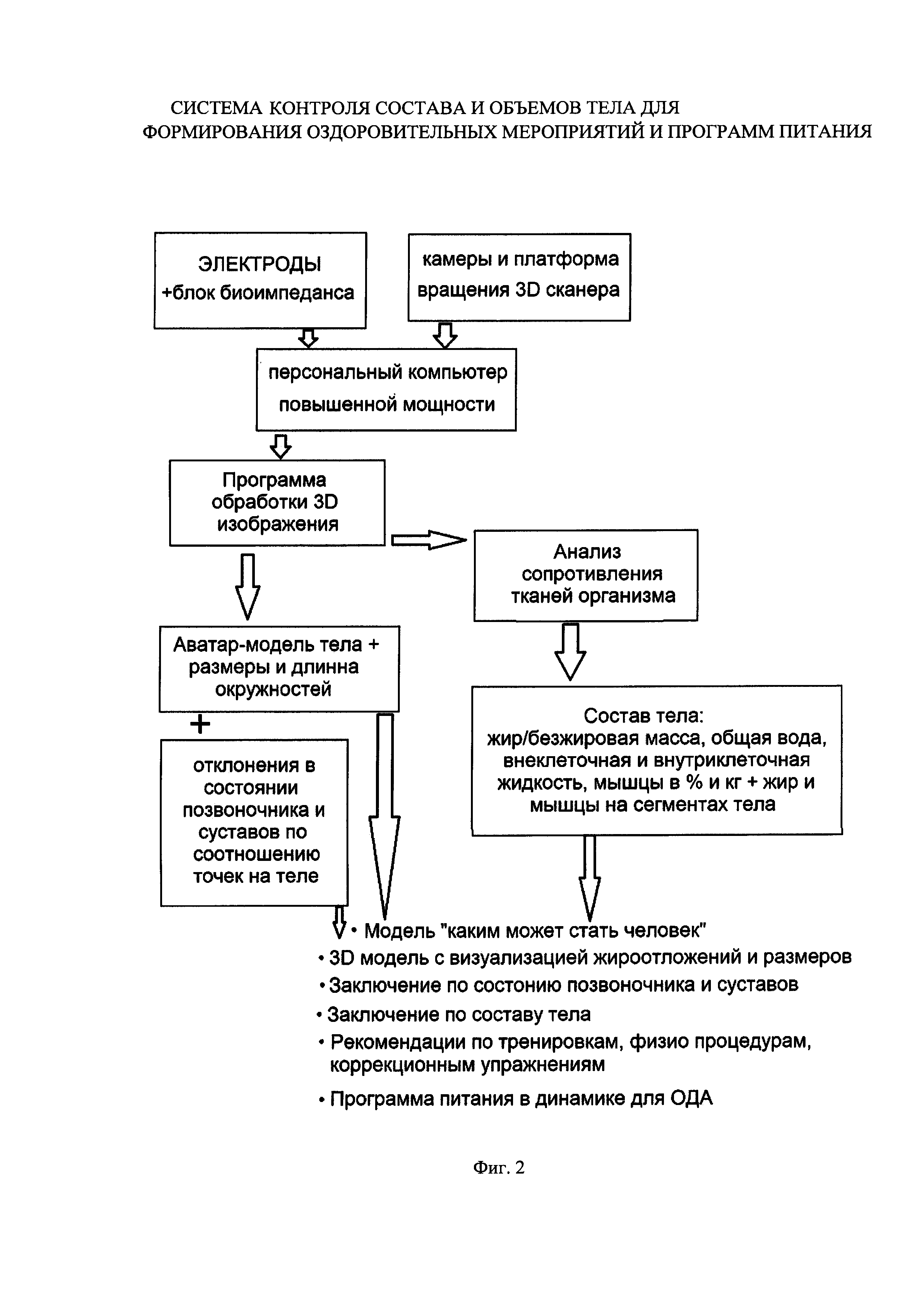
[18]

Фиг. 1 - характеризует схему взаимосвязи между электронным модулем, мобильным блоком и человеком (пациентом), согласно изобретению;

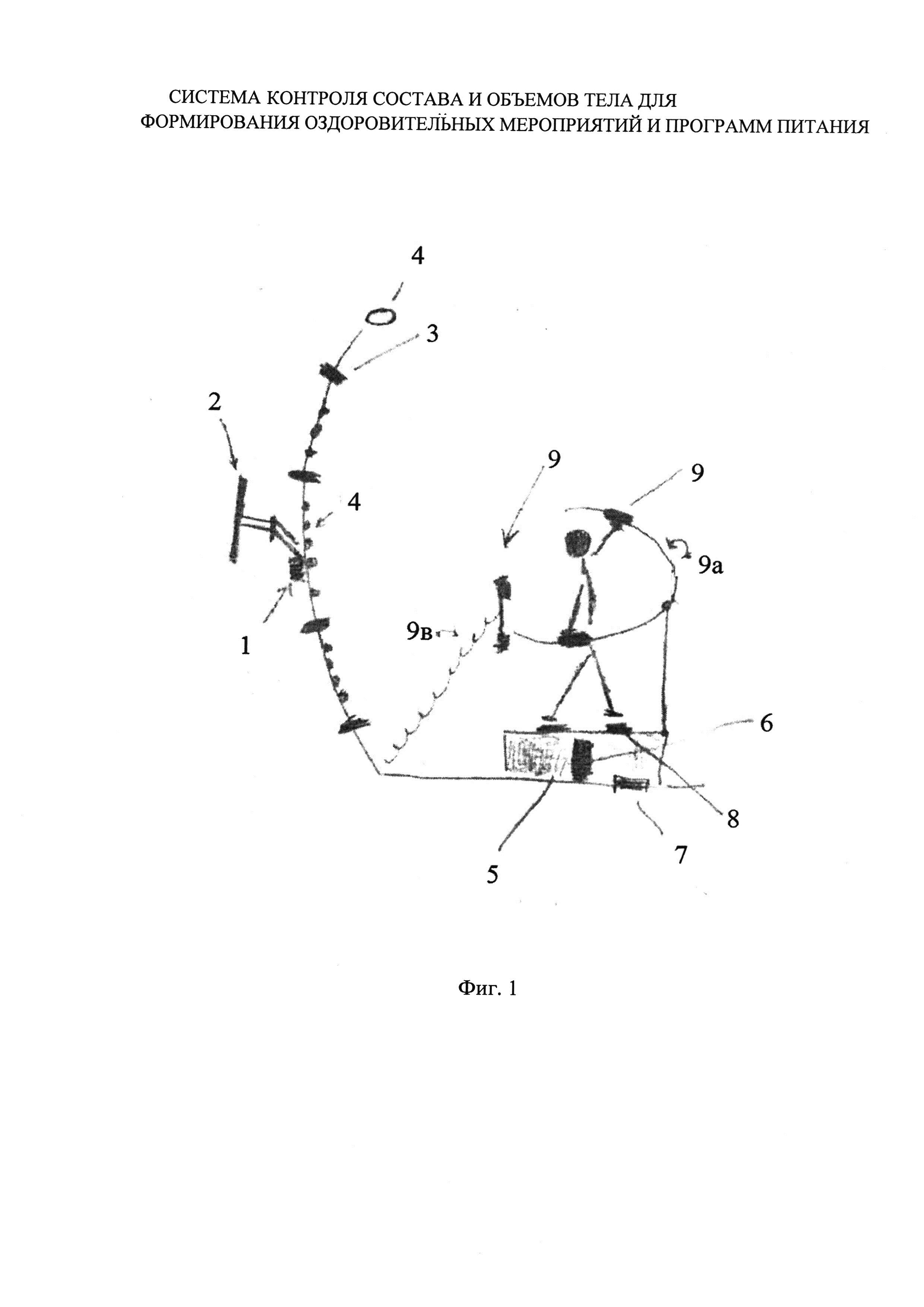
[19]

Фиг. 2 - представляет структурную схему с заложенными программными продуктами, в отношении модели «Каким может стать человек (пациент)».

[20]

Система биометрического контроля состава и объемов тела для формирования оздоровительных мероприятий и программ питания осуществляется следующим образом.

[21]

Для осуществления системы биометрического контроля состава и объемов тела для формирования оздоровительных мероприятий и программ питания использован электронный блок, включающий системный блок 1 связанный с монитором (экраном) 2 (Фиг. 1). При этом система оснащена камерами 3 и осветителями 4. Мобильный блок выполнен в виде платформы 5, установленной на основании с возможностью вращения посредством привода. Платформа 5 оснащена биоимпедансом и 3D сканером. Взаимосвязь между системным блоком 1 и человеком (пациентом) установленным на платформе 5 осуществляют электроды 8 для ног и 9 для рук биоимпеданса. Электроды 8 для ног расположены на платформе 5. Расположение электродов 9 для рук возможно в двух вариантах: для размещения спереди пациента - электроды 9а или для размещения сзади пациента электроды 9в.

[22]

Для получения модели: «Каким может стать человек», в системном блоке заложен программный продукт, оснащенный алгоритмами:

[23]

3D модель с визуализацией жироотложений и размеров человека (пользователя, пациента;

[24]

Заключение по состоянию позвоночника и суставов;

[25]

Заключение по составу тела;

[26]

Рекомендации по тренировкам, физиопроцедурам, коррекционным упражнениям;

[27]

Программа питания в динамике для ОДА.

[28]

В современной индустрии здорового образа жизни необходимо придерживаться тонкой настройки средств для достижения оздоровления с учетом индивидуальных особенностей каждого человека (пациента, пользователя). Многочисленные факторы, в частности жироотложение и размеры тела человека влияют на процесс оздоровления, требуют постоянной оптимизации с учетом обратной связи о состоянии человека на каждый момент времени. Алгоритмы, заложенные в программный продукт, осуществляют оценку жироотложений и размеров человека, интерпретацию выявленных отклонений.

[29]

3D моделирование системы биометрического контроля состава и объемов тела для формирования оздоровительных мероприятий и программ питания, с помощью аппаратно-программного комплекса выполняет в автоматизированном режиме измерения окружностей и длин сегментов человеческого тела, определяя его формы и объемы. Для этого человек (пациент, пользователь) встает ногами на электроды 8, которые устанавливают на платформе 5. Платформа 5, вращаясь с помощью привода 6, перемещает человека в пространстве вокруг его оси.

[30]

С помощью блока импеданса 7, электродов 9 (9а и 9в) осуществляют измерения компонентного состава сегментов тела человека, используя анализ сопротивления тканей его организма.

[31]

Предлагаемая система биометрического контроля состава и объемов тела для формирования оздоровительных мероприятий и программ питания позволяет расширить арсенала простых средств для оценки состояния тела и организма человека, в более короткие периоды времени, чем ручные измерения и расчеты.

[32]

Кроме того, предлагаемая система создает целевую индивидуальную модель состава и пропорций тела с учетом индивидуальных особенностей и отклика организма.

[33]

Предлагаемая система позволяет получить на комбинации 3D сканирования и биоимпеданса максимально точные данные о состоянии тела человека и его опорно-двигательной системы, осуществить интерпретацию выявленных отклонений, для выработки рекомендаций коррекции питания, физической активности и оценки их эффективности в динамике.

[34]

Кроме того, предлагаемая система мотивирует будущие занятия за счет использования динамики цифровых показателей, а именно за счет автоматизированного определения индивидуальных программ оздоровления и питания человека.

Как компенсировать расходы
на инновационную разработку
Похожие патенты