патент
№ RU 2646669
МПК F02M61/10

СПОСОБ УПРАВЛЕНИЯ ХАРАКТЕРИСТИКОЙ ВПРЫСКИВАНИЯ ТОПЛИВА

Авторы:
Голубков Леонид Николаевич Мальчук Валерий Иванович Синявский Владимир Викторович
Все (6)
Номер заявки
2017111833
Дата подачи заявки
07.04.2017
Опубликовано
06.03.2018
Страна
RU
Как управлять
интеллектуальной собственностью
Чертежи 
3
Реферат

Предлагается способ управления характеристикой впрыскивания топлива аккумуляторной топливной системой дизеля с электрогидравлическими форсунками с электромагнитным управлением, включающий воздействие на управляющие импульсы тока, подаваемые на управляющий электромагнитный клапан форсунки с возможностью обеспечения изменения формы характеристики впрыскивания. Топливо подается через две группы распиливающих отверстий форсунки, при этом распыливающие отверстия первой группы расположены на запирающем конусе корпуса распылителя, с осями, направленными под углом 70-85 градусов от вертикали, а распыливающие отверстия второй группы расположены ниже в подыгольном объеме распылителя форсунки, с осями, направленными под углом к вертикали на 4-8 градуса меньшим, чем оси отверстий первой группы. Изобретение обеспечивает равномерное распределение топлива при центральном расположении распылителя форсунки относительно камеры сгорания в поршне типа «глубокий Гессельман» при управлении параметрами впрыскивания по зонам камеры сгорания, а также дает возможность изменения формы характеристики впрыскивания топлива. 8 ил.

Формула изобретения

Способ управления характеристикой впрыскивания топлива аккумуляторной топливной системой дизеля с электрогидравлическими форсунками с электромагнитным управлением, включающий воздействие на управляющие импульсы тока, подаваемые на управляющий электромагнитный клапан с возможностью обеспечения изменения формы характеристики впрыскивания, отличающийся тем, что топливо подается через две группы распыливающих отверстий, при этом часть топлива проходит через входные кромки распыливающих отверстий первой группы, расположенной на запирающем конусе корпуса распылителя, с осями, направленными под углом 70-85 градусов от вертикали, а другая часть топлива - через входные кромки распыливающих отверстий второй группы, расположенной ниже в подыгольном объеме распылителя форсунки, с осями, направленными под углом к вертикали на 4-8 градуса меньшим, чем оси отверстий первой группы.

Описание

[1]

Изобретение относится к машиностроению, а именно к системам подачи топлива двигателей внутреннего сгорания, точнее к аккумуляторной топливной системе дизеля с электромагнитным управлением впрыскиванием топлива.

[2]

Известен распылитель топливной форсунки для двигателя внутреннего сгорания с воспламенением от сжатия (патент US 20080142622 А1 Распылитель форсунки опубликован 19 июня 2008). Предлагается распылитель с двумя рядами отверстий. Отверстия распылителя расположены так, что их плоскости разнесены как минимум на 2 мм, причем отверстия верхнего ряда впрыскивают топливо под меньшим углом к плоскости головки цилиндра, а отверстия второго ряда под большим углом, что позволяет равномерно заполнить камеру сгорания топливом. К недостаткам данного способа следует отнести отсутствие направленного воздействия на форму характеристики впрыскивания топлива.

[3]

Наиболее близким к заявленному способу является способ управления характеристикой впрыскивания топлива аккумуляторной топливной системой дизеля с электрогидравлическими форсунками с электромагнитным управлением, включающий воздействие на управляющие импульсы тока, подаваемые на управляющий электромагнитный клапан с возможностью обеспечения изменения формы характеристики впрыскивания (Пинский Ф.И., Давтян Р.И., Черняк Б.Я. Микропроцессорные системы управления автомобильными двигателями внутреннего сгорания - М.: «Легион-Автодата» 2001, 136 с.). Способ предусматривает изменение формы характеристики впрыскивания путем модуляции электрических импульсов, управляющих открытием управляющего электромагнитного клапана. К недостаткам рассмотренного способа управления следует отнести отсутствие направленного воздействия на передний фронт характеристики впрыскивания аккумуляторной топливной системы дизеля и невозможность управления параметрами впрыскивания по зонам камеры сгорания дизеля. Описанный способ принят в качестве прототипа.

[4]

Технической задачей предлагаемого изобретения является устранение указанных недостатков.

[5]

Достигаемым при использовании предлагаемого изобретения техническим результатом является способ управления характеристикой впрыскивания топлива аккумуляторной топливной системой дизеля с электрогидравлическими форсунками с электромагнитным управлением, включающий воздействие на управляющие импульсы тока, подаваемые на управляющий электромагнитный клапан с возможностью обеспечения изменения формы характеристики впрыскивания, при этом в нем топливо подается через две группы распыливающих отверстий, при этом часть топлива проходит через входные кромки распыливающих отверстий первой группы, расположенной на запирающем конусе корпуса распылителя, с осями, направленными под углом 70-85 градусов от вертикали, а другая часть топлива - через входные кромки распыливающих отверстий второй группы, расположенной ниже в подыгольном объеме распылителя форсунки, с осями, направленными под углом к вертикали на 4-8 градуса меньшим, чем оси отверстий первой группы.

[6]

Углы расположения осей отверстий первой группы в 70-85 градусов от вертикали и второй группы на 4-8 градуса меньшим, чем расположение осей отверстий первой группы выбраны по результатам проведенных расчетных исследований (Кулешов А.С. Развитие методов расчета и оптимизации рабочих процессов ДВС: Дисс. докт. техн. наук. М.: МВТУ, 2011. - 215 с. Табл. 17) по выбору камеры сгорания в поршне типа «глубокий Гессельман» при центральном расположении распылителя форсунки для обеспечения равномерного распределения топлива по камере сгорания, попадания на ее стенки меньшей доли впрыскиваемого топлива, сгорание которого будет затруднено, и тем самым обеспечения наилучшего удельного эффективного расхода топлива двигателя и снижения выброса им сажи.

[7]

Предлагаемое техническое решение позволяет обеспечить управление характеристикой впрыскивания топлива, включая обеспечение возможности изменения формы характеристики впрыскивания при одновременном обеспечении равномерного распределения топлива при центральном расположении распылителя форсунки относительно камеры сгорания в поршне типа «глубокий Гессельман».

[8]

Предлагаемое изобретение поясняется чертежами,

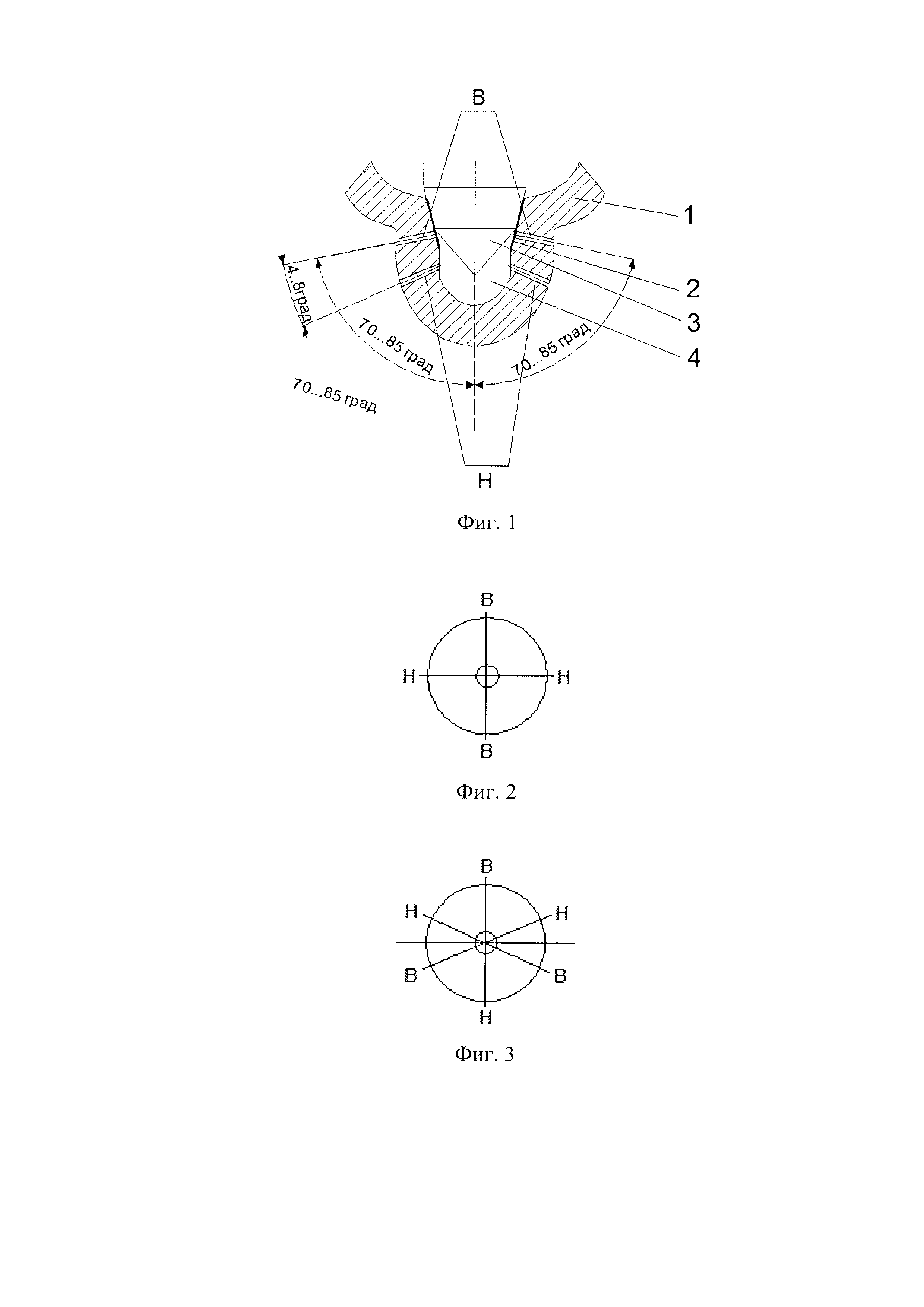
[9]

где на фиг. 1 приведена условная схема направления струй распыливающих отверстий распылителя;

[10]

на фиг. 2 приведена схема расположения распыливающих отверстий распылителя форсунки первой группы (В - верхние) и второй группы (Н - нижние) при общем количестве распыливающих отверстий 4;

[11]

на фиг. 3 приведена схема расположения распыливающих отверстий распылителя форсунки первой группы (В - верхние) и второй группы (Н - нижние) при общем количестве распыливающих отверстий 6;

[12]

на фиг. 4 приведена схема расположения распыливающих отверстий распылителя форсунки первой группы (В - верхние) и второй группы (Н - нижние) при общем количестве распыливающих отверстий 8;

[13]

на фиг. 5 приведена схема камеры сгорания в поршне типа «глубокий Гессельман» (камера сгорания в поршне типа «глубокий Гессельман» представлена в: Двигатели внутреннего сгорания, в 3-х кн. Кн. 1. Теория рабочих процессов / В.Н. Луканин и др. - 4-е изд. Изд.: Высшая школа, 2010-479 с. Рис. 3.34; Кулешов А.С. Развитие методов расчета и оптимизации рабочих процессов ДВС: Дисс. докт. техн. наук. М.: МВТУ, 2011. - 215 с. Табл. 17.);

[14]

на фиг. 6 приведена зависимость силы электромагнита от времени, позволяющая обеспечить заданную форму дифференциальной характеристики впрыскивания топлива;

[15]

на фиг. 7 приведены перемещения иглы распылителя и управляющего клапана;

[16]

на фиг. 8 приведена дифференциальная характеристика впрыскивания топлива заданной формы.

[17]

При реализации способа закрытое состояние форсунки между впрыскиваниями поддерживается равенством давлений в управляющей камере и объеме форсунки у иглы распылителя 3. При поступлении управляющего импульса тока от блока управления на электромагнит развиваемая им сила F(t), преодолевая усилие пружины, прижимающей управляющий клапан к его седлу, открывает управляющий клапан (величина подъема hк управляющего клапана возрастает), и топливо из управляющей камеры поступает на слив. В результате, давление в управляющей камере снижается. Образуется перепад между давлением в объеме форсунки у иглы распылителя 3 и давлением в управляющей камере. Игла распылителя 3 поднимается (величина подъема hи иглы распылителя возрастает) и происходит процесс впрыскивания топлива через обе группы распыливающих отверстий В и Н. В результате впрыскивания формируется дифференциальная характеристика впрыскивания q(t).

[18]

Из-за различий в положении входных кромок скорость истечения топлива и расход топлива через распыливающие отверстия первой группы В, входные кромки которых расположены на запирающем конусе 2, отличаются от скорости истечения и расхода топлива через распыливающие отверстия второй группы Н, входные кромки которых расположены в подыгольном объеме 4. С учетом того, что каждое распыливающее отверстие распылителя форсунки направлено в определенную зону камеры сгорания в поршне типа «глубокий Гессельман», происходит равномерное распределение топлива по камере сгорания и управление параметрами впрыскивания по зонам камеры сгорания.

[19]

После окончания управляющего импульса тока электромагнит выключается (F=0) и управляющий клапан опускается (величина hк снижается) под действием усилия пружины. Величина hк=0 соответствует посадке управляющего клапана на седло и прекращению слива топлива из управляющей камеры. Давление в управляющей камере возрастает. Игла распылителя 3 опускается (величина hи снижается). Величина hи=0 соответствует посадке иглы на седло корпуса распылителя 1 и прекращению впрыскивания топлива через распыливающие отверстия (q=0).

[20]

Если управляющий импульс тока состоит из двух и более предварительных и одного основного, то длительность первого предварительного управляющего импульса тока определяет амплитуду переднего фронта первого этапа ступенчатой характеристики впрыскивания q(t). Интервалы между первым и вторым, а также интервал между вторым и третьим и так далее предварительными управляющими импульсами тока, а также интервал между последним и предварительным управляющим импульсом и основным управляющим импульсом тока подбираются таким образом, чтобы обеспечить ступенчатое впрыскивание с заданной величиной колебаний амплитуды первого этапа ступенчатой характеристики впрыскивания, причем амплитуда первого этапа характеристики впрыскивания составляет 0,2…0,8 от амплитуды второго этапа ступенчатой характеристики впрыскивания топлива, а колебание амплитуды первого этапа ступенчатой характеристики впрыскивания составляет не более 0,10…0,15 от амплитуды второго этапа ступенчатой характеристики впрыскивания топлива.

[21]

Скорость истечения и расхода топлива через распыливающие отверстия первой и второй групп зависит величины hи, поэтому подбор интервалов между первым и вторым, а также интервал между вторым и третьим и так далее предварительными управляющими импульсами тока, а также интервалов между последним и предварительным управляющим импульсом и основным управляющим импульсом тока обеспечивает управление параметрами впрыскивания по зонам камеры сгорания.

[22]

Таким образом, заявленное техническое решение позволяет обеспечить равномерное распределение топлива при центральном расположении распылителя форсунки относительно камеры сгорания в поршне типа «глубокий Гессельман» при управлении параметрами впрыскивания по зонам камеры сгорания, а также дает возможность изменения формы характеристики впрыскивания топлива.

Как компенсировать расходы
на инновационную разработку
Похожие патенты