патент
№ RU 2601534
МПК G01M99/00

СПОСОБ И УСТРОЙСТВО ДЛЯ ПРОВЕДЕНИЯ ИСПЫТАНИЙ РАДИОТЕХНИЧЕСКИХ ИЗДЕЛИЙ

Авторы:
Дергачев Александр Анатольевич
Номер заявки
2015140260/28
Дата подачи заявки
22.09.2015
Опубликовано
10.11.2016
Страна
RU
Как управлять
интеллектуальной собственностью
Чертежи 
1
Реферат

Изобретение относится к технике проведения климатических испытаний различных изделий, в частности радиотехнических изделий. Способ для проведения испытаний радиотехнических изделий, включающий размещение испытуемого изделия в климатическом отсеке герметичной камеры с воздействием на него низкой температуры. При выявлении неисправности изделия в камере его элементы в разобранном виде вне камеры подвергают дополнительному точечному низкотемпературному воздействию с последующим выявлением неисправного элемента изделия и его заменой. При этом устройство для проведения испытаний радиотехнических изделий, выполненное в виде герметичной камеры с технологическим отверстием, содержащей климатический отсек и систему охлаждения. Камера при помощи сетчатой перегородки разделена на верхнюю часть камеры, которая содержит технологическое отверстие, и нижнюю часть камеры. Верхняя часть камеры снабжена гофрированным шлангом с теплоизоляцией. Один конец шланга вставлен в технологическое отверстие и жестко закреплен в корпусе камеры, а другой конец снабжен вентилятором с конической насадкой, которая содержит выходное отверстие малого диаметра для формирования низкотемпературного точечного воздействия на элементы изделия. Через шланг проходит трубка, один конец которой жестко закреплен с внешней стороны центральной части шланга, а другой размещен внутри нижней части камеры. Техническим результатом является обеспечение возможности выявления с повышенной точностью неисправных элементов и дефектов в радиотехнических изделиях при воздействии на них температурных факторов. 2 н.п. ф-лы, 1 ил.

Формула изобретения

1. Способ для проведения испытаний радиотехнических изделий, включающий размещение испытуемого изделия в климатическом отсеке герметичной камеры с воздействием на него низкой температуры, отличающийся тем, что при выявлении неисправности изделия в камере его элементы в разобранном виде вне камеры подвергают дополнительному точечному низкотемпературному воздействию с последующим выявлением неисправного элемента изделия и его заменой.

2. Устройство для проведения испытаний радиотехнических изделий, выполненное в виде герметичной камеры с технологическим отверстием, содержащей климатический отсек и систему охлаждения, отличающееся тем, что камера при помощи сетчатой перегородки разделена на верхнюю часть камеры, которая содержит технологическое отверстие, и нижнюю часть камеры, при этом верхняя часть камеры снабжена гофрированным шлангом с теплоизоляцией, один конец шланга вставлен в технологическое отверстие и жестко закреплен в корпусе камеры, а другой конец снабжен вентилятором с конической насадкой, которая содержит выходное отверстие малого диаметра для формирования низкотемпературного точечного воздействия на элементы изделия, через шланг проходит трубка, один конец которой жестко закреплен с внешней стороны центральной части шланга, а другой размещен внутри нижней части камеры.

Описание

[1]

Изобретение относится к технике проведения климатических испытаний различных изделий, в частности радиотехнических изделий.

[2]

При оценке качества любого изделия имеет смысл оценивать не только его функциональные и эксплуатационные показатели, но и степень воздействия факторов окружающей среды (например, температурное воздействие), при котором изделие продолжает соответствовать заявленным характеристикам.

[3]

Известен способ проведения испытаний радиотехнических изделий (патент RU №2419082, 2009 г.), который и был принят авторами за аналог.

[4]

Данный способ заключается в испытании радиотехнических изделий внутри герметичной камеры. Камера содержит климатический отсек и систему охлаждения. Также корпус камеры содержит технологическое отверстие, предназначенное для электрических соединений испытуемого изделия и измерительной аппаратуры. В камеру помещают испытуемое изделие. После этого изделие подвергается температурному воздействию с проверкой его работоспособности.

[5]

Однако во время проверки изделия на работоспособность возникают ситуации, когда изделие при нормальных условиях функционирует без замечаний, а при воздействии на него температурных факторов (например, пониженных температур) изделие может выходить из строя, при этом после возврата изделия в нормальные условия продолжает функционировать. Данный эффект может появиться, например, при наличии в элементах микросхем или плат микротрещин, мест некачественной пайки или иных дефектов, которые при применении разных материалов (с разными коэффициентами температурного расширения) приводят при температурном воздействии к разрыву цепи и, как следствие, к неисправности изделия.

[6]

Недостатками данного способа является то, что при определении неисправности радиотехнического изделия в камере, при воздействии на него температур возникает необходимость его замены или введения на корпус изделия теплоизоляции либо использования изделия в работе при более «мягких» условиях.

[7]

Целью данного изобретения является выявление с повышенной точностью неисправных элементов и дефектов в радиотехнических изделиях при воздействии на них температурных факторов.

[8]

Это достигается тем, что способ для проведения испытаний радиотехнических изделий, включающий размещение испытуемого изделия в климатическом отсеке герметичной камеры с воздействием на него низкой температуры. При выявлении неисправности изделия в камере его элементы в разобранном виде вне камеры подвергаются дополнительному точечному низкотемпературному воздействию с последующим выявлением неисправного элемента изделия. Устройство для проведения испытаний радиотехнических изделий, выполненное в виде герметичной камеры с технологическим отверстием, содержит климатический отсек и систему охлаждения. Камера при помощи сетчатой перегородки разделена на верхнюю часть камеры, которая содержит технологическое отверстие, и нижнюю часть камеры. Верхняя часть камеры снабжена гофрированным шлангом с теплоизоляцией. Один конец шланга вставлен в технологическое отверстие и жестко закреплен в корпусе камеры. Другой конец шланга снабжен вентилятором с конической насадкой, которая содержит выходное отверстие малого диаметра для формирования низкотемпературного точечного воздействия на элементы изделия. Через шланг проходит трубка. Один конец трубки жестко закреплен с внешней стороны центральной части шланга, а другой размещен внутри нижней части камеры.

[9]

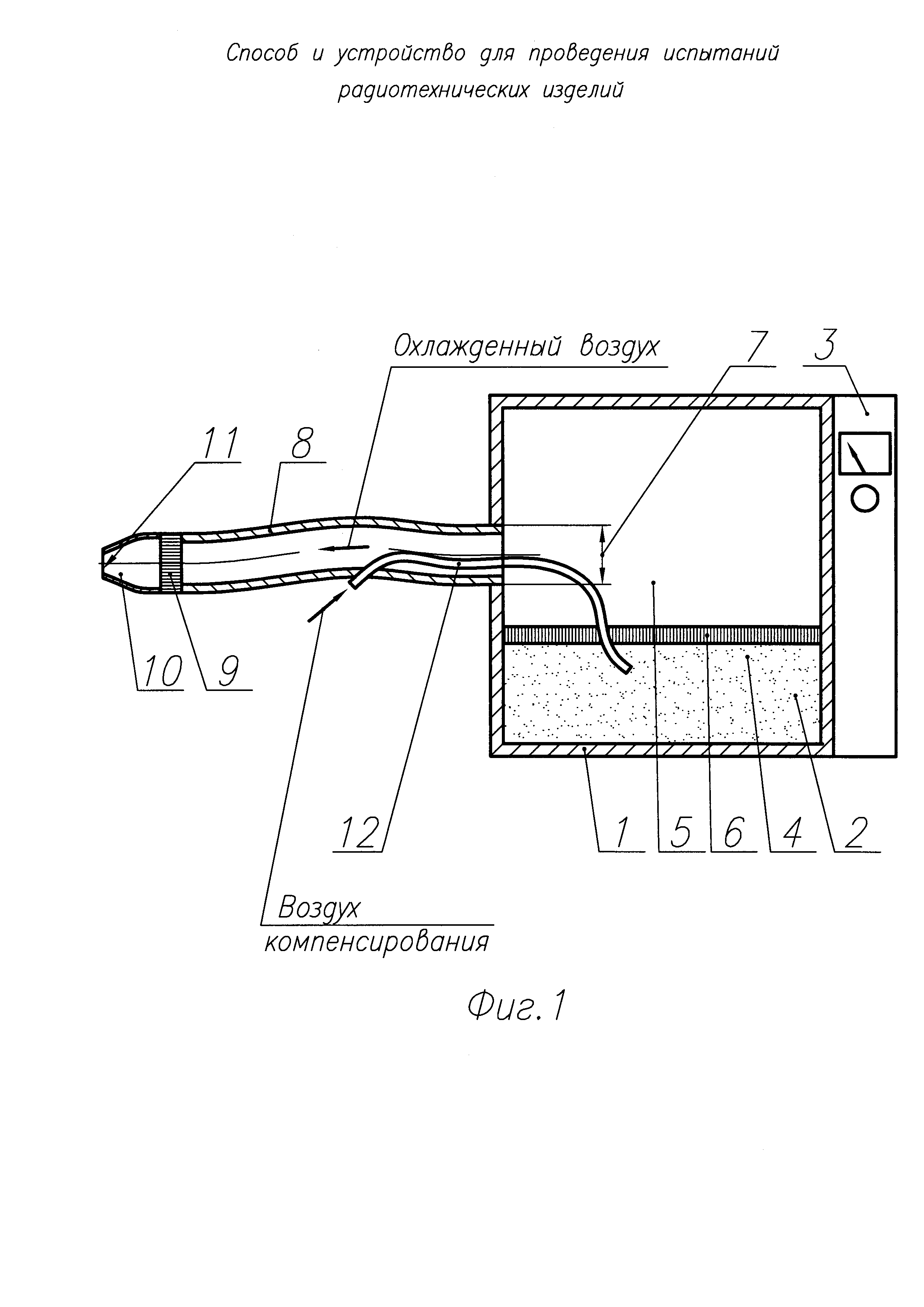
Предложенное техническое решение поясняется чертежом на примере способа проведения испытаний радиотехнических изделий фиг. 1, где изображен общий вид устройства для проведения испытаний радиотехнических изделий.

[10]

На фиг. 1 указаны позиции в следующем порядке:

[11]

1 - камера;

[12]

2 - климатический отсек;

[13]

3 - система охлаждения;

[14]

4 - нижняя часть камеры;

[15]

5 - верхняя часть камеры;

[16]

6 - сетчатая перегородка;

[17]

7 - технологическое отверстие;

[18]

8 - шланг;

[19]

9 - вентилятор;

[20]

10 - коническая насадка;

[21]

11 - отверстие;

[22]

12 - трубка.

[23]

Устройство для проведения испытаний радиотехнических изделий состоит из герметичной камеры (1), содержащей климатический отсек (2) и систему охлаждения (3). Камера (1) разделена на нижнюю (4) и верхнюю (5) части при помощи сетчатой перегородки (6), верхняя часть камеры снабжена технологическим отверстием (7) и гофрированным шлангом (8) с теплоизоляцией для уменьшения потерь холода и исключения запотевания шланга (8). Один конец шланга (8) вставлен в технологическое отверстие (7) и жестко закреплен в корпусе камеры (1). Другой конец шланга (8) снабжен мощным вентилятором (9), предназначенным для забора из камеры (1) охлажденного воздуха. Вентилятор (9) жестко соединен с конической насадкой (10), которая содержит выходное отверстие (11) малого диаметра для формирования точечного воздействия. Через шланг (8) проходит гибкая трубка (12), один конец которой жестко закреплен с внешней стороны центральной части шланга (8), а другой размещен внутри нижней части камеры (4). По трубке (12) внутрь камеры (1) подается наружный воздух, который необходим для компенсации разрежения внутреннего объема при работе электровентилятора (9). При попадании наружного воздуха внутрь камеры (1) с низкой температурой происходит снегообразование. Это кристаллизуется влага, содержащаяся в наружном воздухе. Поэтому возникла необходимость разделения камеры (1) на нижнюю (4) и верхнюю (5) части при помощи сетчатой перегородки (6), состоящей из мелкой капроновой сетки. Верхняя часть камеры (5) предназначена для забора вентилятором (9) охлажденного воздуха, а нижняя часть камеры (4) предназначена для попадания компенсирующего воздуха, при этом осуществляется вакуумирование герметичной камеры, одновременно обеспечивается снегоотделение.

[24]

Реализуется предлагаемый способ проведения испытаний радиотехнических изделий следующим образом.

[25]

Испытуемое изделие размещают в климатическом отсеке экранированной камеры (1) с воздействием на него низких температур. При выявлении неисправности изделия элементы изделия в разобранном виде подвергаются дополнительному точечному низкотемпературному воздействию вне камеры при помощи устройства точечного охлаждения (фиг. 1) для определения локальных неисправностей изделия с последующей заменой неисправного элемента изделия. Полученное таким образом устройство позволило обеспечить с помощью гибкого шланга (8) и встроенного в него вентилятора (9) подачу холодного воздуха из герметичной камеры (1) в точку, которое требуется охладить и одновременно с охлаждением производить контрольно-измерительные процедуры с испытуемым изделием вне камеры для локализации неисправности и определения дефекта. Также позволило осуществлять подачу в зону охлаждения чистого воздуха, используя разделение внутреннего объема камеры с помощью сетчатой перегородки (6) на верхнюю часть камеры (5) (зона забора чистого воздуха) и нижнюю часть камеры (4) (зона снегообразования), устраняя при этом вакуумирование герметичной камеры при помощи трубки (12), одновременно обеспечивая снегоотделение.

[26]

Таким образом, было созданы способ и устройство для проведения испытаний радиотехнических изделий при воздействии на них температурных факторов, с помощью которых можно выявлять неисправные элементы и дефекты путем точечного охлаждения изделия в разобранном виде вне камеры.

Как компенсировать расходы
на инновационную разработку
Похожие патенты